Листы асбестоцементные волнистые. Технические условия

Страница 1

Страница 2

Страница 3

Страница 4

Страница 5

Страница 6

Страница 7

Страница 8

Страница 9

Страница 10

Страница 11

Страница 12

Страница 13

Страница 14

Страница 15

Страница 16

Страница 17

Страница 18

Страница 19

Страница 20
ГОСТ 30340-95
МЕЖГОСУДАРСТВЕННЫЙ СТАНДАРТ
ЛИСТЫ АСБЕСТОЦЕМЕНТНЫЕ ВОЛНИСТЫЕ
ТЕХНИЧЕСКИЕ УСЛОВИЯ
МЕЖГОСУДАРСТВЕННАЯ НАУЧНО-ТЕХНИЧЕСКАЯ КОМИССИЯ ПО СТАНДАРТИЗАЦИИ И ТЕХНИЧЕСКОМУ НОРМИРОВАНИЮ В СТРОИТЕЛЬСТВЕ (МНТКС)
Москва
Предисловие
1 РАЗРАБОТАН Акционерным обществом «Стромкомпозит» Российской Федерации
ВНЕСЕН Минстроем России
2 ПРИНЯТ Межгосударственной научно-технической комиссией по стандартизации и техническому нормированию в строительстве (МНТКС) 19 апреля 1995 г.
За принятие голосовали:
|
Наименование государства |
Наименование органа государственного управления строительством |
|
Азербайджанская Республика |
Госстрой Азербайджанской Республики |
|
Республика Армения |
Госупрархитектуры Республики Армения |
|
Республика Казахстан |
Минстрой Республики Казахстан |
|
Киргизская Республика |
Госстрой Киргизской Республики |
|
Республика Молдова |
Минархстрой Республики Молдова |
|
Российская Федерация |
Минстрой России |
|
Республика Таджикистан |
Госстрой Республики Таджикистан |
|
Республика Узбекистан |
Госкомархитектстрой Республики Узбекистан |
3 ВВЕДЕН В ДЕЙСТВИЕ с 1 сентября 1996 г. в качестве государственного стандарта Российской Федерации Постановлением Минстроя России от 22 февраля 1996 г. № 18 — 12
4 ВЗАМЕН ГОСТ 20430-84 и ГОСТ 16233-77
ГОСТ 30340-95
МЕЖГОСУДАРСТВЕННЫЙ СТАНДАРТ
ЛИСТЫ АСБЕСТОЦЕМЕНТНЫЕ ВОЛНИСТЫЕ
Технические условия
Asbestos-cement corrugated sheets.
Specifications
Дата введения 1996—09—01
1 ОБЛАСТЬ ПРИМЕНЕНИЯ
Настоящий стандарт распространяется на асбестоцементные волнистые листы (далее — листы) и детали к ним, предназначенные для устройства кровель и стеновых ограждений зданий и сооружений.
Стандарт устанавливает обязательные требования, изложенные в разделах 6, 7, подразделах 4.2, 4.3, 8.2, пунктах 3.2, 3.4 — 3.7, 4.1.2 — 4.1.4, 4.4.2, 8.1.3 — 8.1.5.
2 НОРМАТИВНЫЕ ССЫЛКИ
В настоящем стандарте использованы ссылки на следующие стандарты:
ГОСТ 3282-74 Проволока стальная низкоуглеродистая общего назначения. Технические условия
ГОСТ 3560-73 Лента стальная упаковочная. Технические условия
ГОСТ 8747-88 Изделия асбестоцементные листовые. Методы испытаний
ГОСТ 10198-91 Ящики деревянные для грузов массой св. 200 до 20000 кг. Общие технические условия
ГОСТ 14192-77 Маркировка грузов
ГОСТ 15846-79 Продукция, отправляемая в районы Крайнего Севера и труднодоступные районы. Упаковка, маркировка, транспортирование и хранение
ГОСТ 22235-76 Вагоны грузовые магистральных железных дорог колеи 1520 мм. Общие требования по обеспечению сохранности при производстве погрузочно-разгрузочных и маневровых работ
ГОСТ 30244-94 Материалы строительные. Методы испытании на горючесть
ГОСТ 30301-95 Изделия асбестоцементные. Правила приемки
3 ФОРМА И ОСНОВНЫЕ РАЗМЕРЫ
3.1 По форме поперечного сечения (профилю, рисунок 1) листы изготавливают двух видов, определяемых высотой и шагом волны; обозначение профиля листа — 40/150; 54/200, где в числителе указана высота, а в знаменателе — шаг волны в миллиметрах.
А
Б
Рисунок 1 — Форма поперечного сечения волнистого листа
3.2 Основные размеры листов должны соответствовать указанным в таблице 1.
Таблица 1
В миллиметрах
|
Наименование размера |
Номин. размер листов профиля |
Пред. откл. |
|
|
40/150 |
54/200 |
||
|
Длина L |
1750 |
1750 |
± 15 |
|
Ширина В: |
|||
|
— 6-волнового листа |
— |
1125 |
|
|
— 7- волнового листа |
980 |
— |
+10 -5 |
|
— 8- волнового листа |
1130 |
— |
|
|
Толщина t |
5,8 |
6,0; 7,5 |
+1,0 -0,3 |
|
Высота волны: |
|||
|
— рядовой h |
40 |
54 |
+4 -3 |
|
— перекрывающей h1 |
40 |
54 |
+4 -5 |
|
— перекрываемой h2 |
32 |
45 |
+4 -6 |
|
Ширина перекрывающей кромки b1 |
43 |
60 |
±7 |
|
Ширина перекрывающей кромки b2* |
37 |
65 |
— |
|
Шаг волны s* |
150 |
200 |
— |
|
* Размеры приведены как справочные и не являются браковочными. |
|||
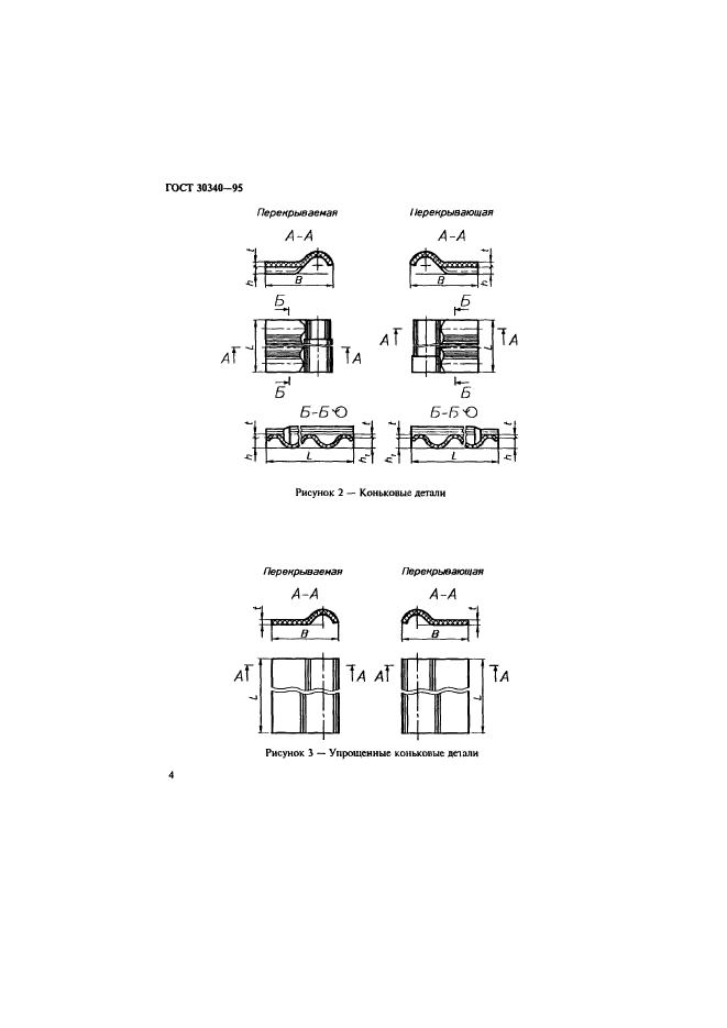
3.3 Форма деталей и их сокращенное обозначение приведены на рисунках 2 — 5 и в таблице 2.
Таблица 2
|
Наименование детали |
Сокращенное обозначение детали к листам профиля |
|
|
40/150 |
54/200 |
|
|
Коньковая перекрываемая |
КС-1 |
КУ-1 |
|
Коньковая перекрывающая |
КС-2 |
КУ-2 |
|
Упрощенная коньковая перекрываемая |
УКС-1 |
УКУ-1 |
|
Упрощенная коньковая перекрывающая |
УКС-2 |
УКУ-2 |
|
Равнобокая угловая |
PC |
РУ |
|
Лотковая |
ЛС |
ЛУ |
