Единая система конструкторской документации. Правила выполнения темплетов
На нашем сайте можно бесплатно скачать Руководящий документ ГОСТ 2.428-84 в удобном формате. Узнать актуальный статус документа «Единая система конструкторской документации. Правила выполнения темплетов» на 2016 год.
Скрыть дополнительную информацию
Страница 1

Страница 2

Страница 3

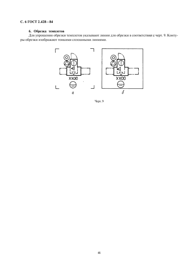
Страница 4

Страница 5

Страница 6

Страница 7

Страница 8

Страница 9

Страница 10

Страница 11

Страница 12
ГОСТ 2.428-84
(СТ СЭВ 4413-83)
Группа Т52
ГОСУДАРСТВЕННЫЙ СТАНДАРТ СОЮЗА ССР
ЕДИНАЯ СИСТЕМА КОНСТРУКТОРСКОЙ ДОКУМЕНТАЦИИ
ПРАВИЛА ВЫПОЛНЕНИЯ ТЕМПЛЕТОВ
Unified system for design documentation.
Rules of making tеmplets
ОКСТУ 0002
Дата введения 1986-01-01
ВВЕДЕН В ДЕЙСТВИЕ постановлением Государственного комитета СССР по стандартам от 1 ноября 1984 г. N 3840
ПЕРЕИЗДАНИЕ. Март 1988 г.
1. Настоящий стандарт устанавливает основные правила выполнения темплетов технологического оборудования, применяемых при проектировании во всех отраслях промышленности и строительства.
Стандарт полностью соответствует СТ СЭВ 4413-83.
2. Общие требования к выполнению темплетов
2.1. Изображение технологического оборудования на темплете, как правило, должно представлять вид сверху. При необходимости допускается использование других видов.
2.2. Если технологическое оборудование состоит из основного и дополнительных составных частей, размещаемых отдельно, как например устройств управления, обслуживания и питания, то их рекомендуется изображать на одном темплете.
2.3. На темплете технологического оборудования должны быть изображены и обозначены:
габаритные контуры оборудования в положении покоя;
контуры подвижных частей оборудования, если при перемещении они выходят за пределы габаритных контуров в положении покоя;
контуры опорной поверхности оборудования;
осевые линии;
места обслуживания оборудования и место обслуживающего персонала, с которого преимущественно осуществляется обслуживание;
места подвода и отвода сред, виды сред (см. справочное приложение 1);
высота оборудования, а также высота, требуемая для демонтажа частей оборудования, если она превышает 3000 мм от уровня пола;
длина, ширина и направление демонтажа частей оборудования в горизонтальном направлении;
обозначение технологического оборудования;
место выпуска отходов материалов.
2.4. В случае необходимости на темплете допускается дополнительно изображать и (или) обозначать:
ответственные функциональные части внутри габаритных контуров оборудования в положении покоя;
места подвода и отвода материалов, а также направление их движения;
контуры фундаментов и каналов;
точку для отсчета размера.
2.5. Примеры исполнения темплетов приведены в справочном приложении 2.
3. Масштабы
Темплеты технологического оборудования предпочтительно выполнять в масштабах 1:100 и 1:50.
4. Линии
4.1. Виды линий, применяемых при исполнении темплетов, должны соответствовать ГОСТ 2.303-68.
4.2. Применяемые виды линий и их назначение приведены в табл.1.
Таблица 1
|
Вид линии |
Назначение линии |
|
|
Сплошная толстая линия |
Габаритные контуры оборудования в положении покоя |
|
|
Сплошная тонкая линия |
Контуры ответственных функциональных частей оборудования (например, планшайбы), находящиеся внутри габаритных контуров оборудования в положении покоя. Условные графические обозначения |
|
|
Штриховая линия |
Контуры опорной поверхности основного оборудования и его составных частей. Контуры фундаментов и каналов* |
|
|
____________________ * Длина штрихов увеличивается в два раза по сравнению с изображением контуров опорной поверхности. |
||
|
Штрихпунктирная тонкая линия |
Осевые линии |
|
|
Штрихпунктирная линия с двумя точками, тонкая |
Контуры подвижных частей оборудования, временами перемещающихся с целью управления и технического обслуживания, если они во время перемещения выходят за пределы габаритных контуров в положении покоя. Длина и ширина демонтируемых частей для производства монтажных и ремонтных работ. |
|
|
Места подвода и отвода материалов за пределами габаритных контуров оборудования в положении покоя |
||
|
Штрихпунктирная линия с двумя точками, толстая |
Контуры подвижных частей оборудования, непрерывно движущихся в процессе работы, если они во время перемещения выходят за пределы габаритных контуров в положении покоя |
|
4.3. Толщина линий, в зависимости от масштаба темплета, должна соответствовать табл.2.
Таблица 2
мм
|
Наименование линии |
Толщина линий при масштабе |
|
|
1:100 |
1:50 |
|
|
Толстая линия |
0,50 |
1,00 |
|
Тонкая линия |
0,25 |
0,50 |
5. Надписи и обозначение (маркировка)
5.1. Надписи следует выполнять предпочтительно шрифтом типа Б без наклона по ГОСТ 2.304-81.
Номинальную высоту шрифта в зависимости от масштаба темплета выбирают по табл.3.
Таблица 3
|
мм |
|
|
Номинальная высота шрифта при масштабе |
|
|
1:100 |
1:50 |
|
1,8 |
3,5 |
5.2. Если технологическое оборудование имеет обозначение, то его, как правило, наносят на темплет. Обозначение наносят на вид сверху у главного места обслуживания вне (черт.1а) или внутри (черт.1б) габаритных контуров оборудования в положении покоя.
Черт.1
5.3. При изображении технологического оборудования на видах (кроме вида сверху) обозначение наносят в левом нижнем углу темплета (черт.2а, б). Для различных видов следует дополнительно указывать после обозначения типа:
«(1)» — для вида спереди; «(2)» — для вида справа; «3» — для вида слева.
Черт.2
5.4. Обозначение мест обслуживания и места обслуживающего персонала (как правило, у главного места обслуживания) следует в зависимости от применяемого масштаба изображения выполнять в соответствии с табл.4.
Таблица 4
мм
|
Наименование |
Условное графическое обозначение |
Размеры при масштабе |
|
|
1:100 |
1:50 |
||
|
Главное место обслуживания |
|
|
|
|
Второстепенное место обслуживания |
|
||
|
Место обслуживающего персонала |
|
|
|
5.5. Места подвода и отвода наиболее часто применяемых видов сред рекомендуется обозначать условными графическими обозначениями, приведенными в справочном приложении 1.
5.6. На темплеты оборудования высотой свыше 3000 мм от уровня пола и оборудования, для демонтажа частей которого требуется высота свыше 3000 мм, следует нанести в соответствующих местах обозначение в соответствии с табл.5.
Таблица 5
мм
|
Наименование |
Условное графическое обозначение |
Размеры при масштабе |
|
|
1:100 |
1:50 |
||
|
Высота оборудования свыше 3000 мм |
|
|
|
|
Высота для демонтажа свыше 3000 мм |
| ||
