Круги шлифовальные. Технические условия
Действие завершено 01.01.2009
Утратил силу в РФ
Заменяет

Страница 1

Страница 2

Страница 3

Страница 4

Страница 5

Страница 6

Страница 7

Страница 8

Страница 9

Страница 10

Страница 11

Страница 12

Страница 13

Страница 14

Страница 15

Страница 16

Страница 17

Страница 18

Страница 19

Страница 20

Страница 21

Страница 22

Страница 23

Страница 24

Страница 25

Страница 26

Страница 27

Страница 28

Страница 29

Страница 30

Страница 31

Страница 32

Страница 33

Страница 34

Страница 35

Страница 36

Страница 37

Страница 38

Страница 39
ГОСУДАРСТВЕННЫЙ СТАНДАРТ СОЮЗА ССР
КРУГИ ШЛИФОВАЛЬНЫЕ
ТЕХНИЧЕСКИЕ УСЛОВИЯ
ГОСТ 2424-83
ИПК ИЗДАТЕЛЬСТВО СТАНДАРТОВ
Москва
ГОСУДАРСТВЕННЫЙ СТАНДАРТ СОЮЗА ССР
|
КРУГИ ШЛИФОВАЛЬНЫЕ Технические условия Grinding wheels. Specifications |
ГОСТ |
Дата введения 01.01.85
Настоящий стандарт распространяется на шлифовальные круги общего применения на керамической (К), бакелитовой (Б), вулканитовой (В) связках, изготавливаемые для нужд народного хозяйства и экспорта.
Стандарт не распространяется на отрезные круги, обдирочные круги зернистостей 63 и более, круги типов 1 и 5 для ручных машин.
Требования настоящего стандарта в части разд. 1, 2 (кроме п. 2.2), 4, 5 и п. 3.4 являются обязательными, другие требования — рекомендуемыми.
Требования по безопасности изложены в п. 2.13.
(Измененная редакция, Изм. № 1, 2, 3, 4).
1. ТИПЫ И ОСНОВНЫЕ РАЗМЕРЫ
1.1. Круги должны изготовляться следующих типов:
1 — прямого профиля;
4 — с двусторонним коническим профилем;
3 — с коническим профилем;
5 — с выточкой;
23 — с конической выточкой;
7 — с двусторонней выточкой;
2 — кольцевые;
6 — чашечные цилиндрические;
11 — чашечные конические;
12 и 14 — тарельчатые;
36 — с запрессованными крепежными элементами;
10 — с двусторонней выточкой и ступицей;
26 — с двусторонней конической выточкой.
(Измененная редакция, Изм. № 2).
1.1а. Обозначения типов кругов и размеров кругов ранее действовавших и по настоящему стандарту должны соответствовать указанным в обязательном приложении 2.
1.1б. Обозначения профилей для кругов типов 1, 5, 7 должны соответствовать указанным в рекомендуемом приложении 3.
1.1a, 1.1б. (Введены дополнительно, Изм. № 2).
1.2. Размеры кругов должны соответствовать указанным на черт. 1 — 14 и в табл. 1 — 13.
Тип 1
Черт. 1
Таблица 1
мм
|
D |
Т |
H |
|
3 |
6,0; 8,0; 10,0 |
1,0 |
|
4 |
1,0; 1,3; 1,6; 2,0; 2,5; 3,2; 4,0; 5,0; 6,0; 8,0; 10,0 |
1,6 |
|
5 |
8,0 |
2,0 |
|
2,0 |
||
|
6 |
6,0; 8,0; 10,0 |
1,6 |
|
2,0; 2,5; 3,2; 4,0; 5,0; 6,0; 8,0; 10,0; 13,0 |
2,0 |
|
|
8 |
6,0; 8,0; 10,0; 13,0; (16,0) |
3,0 |
|
(6,0); (10,0); 16,0 |
4,0 |
|
|
10 |
3,2; 4,0; 5,0; 6,0; 8,0; 10,0; 13,0; 16,0; 20,0 |
3,0 |
|
(6,0); (10,0); 13,0; 16,0 |
4,0 |
|
|
13 |
3,2; 4,0; 5,0; 6,0; 8,0; 10,0; 13,0; 16,0; 20,0 |
|
|
10,0; 13,0; 16,0; 20,0 |
6,0 |
|
|
16 |
3,2; 4,0; 5,0; 6,0; 8,0; 10,0; 13,0; 16,0; 20,0; 25,0; 32,0; 40,0 |
|
|
20 |
4,0; 5,0; 6,0; 8,0; 10,0; 13,0; 16,0; 20,0; 25,0; 32,0; 40,0 |
|
|
(16,0); 25,0; 32,0 |
8,0 |
|
|
25 |
3,2; 4,0; 5,0; 6,0; 8,0; 10,0; 13,0; 16,0; 20,0; 25,0; 32,0; 40,0; |
6,0 |
|
13,0; 16,0; 20,0; 25,0; 32,0; 40,0 |
8,0 |
|
|
16,0; 20,0; 25,0; 32,0 |
10,0 |
|
|
32 |
6,0; 8,0; 10,0; 13,0; 16,0; 20,0; 25,0; 32,0; 40,0 |
|
|
2,5; 3,2; 4,0; 5,0; 6,0; 8,0; 10,0 |
6,0 |
|
|
(6,0); 8,0; 10,0; 13,0; 16,0; 20,0; 25,0; 32,0; 40,0 |
13,0 |
|
|
40 |
6,0; 8,0; 10,0 |
6,0 |
|
2,0; 2,5; 3,2; 4,0; 5,0; 6,0; 8,0; 10,0 |
8,0; 10,0 |
|
|
6,0; 8,0, 10,0; 13,0; 16,0; 20,0; 25,0; 32,0; 40,0 |
13,0 |
|
|
32,0; 40,0; 50,0; 63,0 |
16,0 |
|
|
50 |
4,0; 5,0 |
10,0 |
|
(6,0); (8,0); 10,0; 13,0; (16,0); (20,0); (25,0); (32,0); 40,0; (50,0) |
13,0 |
|
|
6,0; 8,0; 10,0; 13,0; 16,0; 20,0; 25,0; 32,0; 40,0; 50,0; 63,0 |
16,0 |
|
|
63 |
3,2; 4,0; 5,0; 6,0; 8,0; 10,0; 13,0 |
10,0 |
|
13,0 |
16,0 |
|
|
6,0; 8,0; 10,0; 13,0; 16,0; 20,0; 25,0; 32,0; 40,0; 50,0; 63,0 |
20,0 |
|
|
80 |
3,2; 4,0; 5,0; 6,0; 8,0; 10,0; 13,0; 16,0; 20,0; 25,0; 32,0; 40,0; 50,0; 63,0; 80,0; 100,0 |
|
|
3,2; 4,0; 5,0; 6,0; 8,0; 10,0; 13,0; 16,0; 20,0; 25,0; 32,0; 40,0; 50,0; 63,0 |
32,0 |
|
|
100 |
4,0; 5,0; 6,0; 8,0; 10,0 |
13,0 |
|
4,0; 5,0; 6,0; 8,0; 10,0; 13,0; 16,0; 20,0; 25,0; 32,0; 40,0; 50,0; 63,0; 80,0; 100,0 |
20,0 |
|
|
4,0; 5,0; 6,0; 8,0; 10,0; 13,0; 16,0; 20,0; 25,0; 32,0; 40,0; 50,0; 63,0; 80,0 |
32,0 |
|
|
125 |
4,0; 5,0; 6,0; 8,0; 10,0; 13,0; 16,0; 20,0; 25,0; 32,0; 40,0; 50,0; 63,0 |
32,0 |
|
(6,0); (8,0); (10,0); (13,0); (16,0); 20,0; (25,0); (32,0); (40,0); (50,0); (63,0) |
20,0 |
|
|
(6,0); (8,0); (10,0); (13,0); (16,0); (20,0); 25,0; 32,0; 40,0; 50,0; 63,0; 80,0; 100,0 |
51,0 |
|
|
150 |
4,0; 5,0; 6,0; 8,0; 10,0; 13,0; 16,0; 20,0; 25,0; 32,0; 40,0; 50,0; (63,0) |
20,0; 32,0 |
|
6,0; 8,0; 10,0; 13,0; 16,0; 20,0; 25,0; 32,0; 40,0; 50,0; 63,0; 80,0; 100,0 |
51,0 |
|
|
175 |
5,0; 6,0; 8,0; 10,0; 13,0; 16,0; 20,0; 25,0;32,0; 40,0; 50,0 |
32,0 |
|
200 |
3,2; 4,0; 5,0; 6,0; 8,0; 10,0; 13,0; 16,0; 20,0; 25,0; 32,0; 40,0; 50,0; 63,0; 80,0 |
|
|
6,0; 8,0; 10,0; 13,0; 16,0; 20,0; 25,0; (32,0); (40,0); (50,0); (63,0); (80,0); (100,0) |
51,0 |
|
|
4,0; 5,0; 6,0; 8,0; 10,0; 13,0; 16,0; 20,0; 25,0; 32,0; 40,0; 50,0; 63,0; 80,0; 100,0; 125,0; (150,0); 160,0; 200,0 |
76,0 |
|
|
250 |
6,0; 8,0; 10,0; 13,0; 16,0; 20,0; 25,0; 32,0; 40,0; 50,0; 63,0 |
32,0; 51,0 |
|
2,5; 3,2; 4,0; 5,0; 6,0; 8,0; 10,0; 13,0; 16,0; 20,0; 25,0; 32,0; 40,0; 50,0; 63,0; (80,0); (100,0); (125,0) |
76,0 |
|
|
2,5; 3,2; 4,0; 5,0; 6,0; 8,0; 10,0; 13,0; 16,0; 20,0; 25,0; 32,0; 40,0; 50,0; 63,0; 80,0; 100,0; 125,0; (150,0); 160,0 |
127,0 |
|
|
300 |
6,0; 8,0; 10,0; 13,0; 16,0; 20,0; 25,0; 32,0; 40,0; 50,0; 63,0; 80,0; 100,0; 125,0; (150,0); 160,0; 200,0 |
32,0; 76,0 |
|
2,5; 3,2; 4,0; 5,0; 6,0; 8,0; 10,0; 13,0; 16,0; 20,0; 25,0; 32,0; 40,0; 50,0; 63,0; 80,0; 100,0; 125,0; (150,0); 160,0; 200,0 |
127,0 |
|
|
350 |
32,0; 40,0; 50,0 |
76,0 |
|
5,0; 6,0; 8,0; 10,0; 13,0; 16,0; 20,0; 25,0; 32,0; 40,0; 50,0; 63,0; 80,0; 100,0; 125,0; (150,0); 160,0; 200,0 |
127,0 203,0 |
|
|
400 |
6,0; 8,0; 10,0; 13,0; 16,0; 20,0; 25,0; 32,0; 40,0; 50,0; 63,0; 80,0; 100,0; (125,0); (150,0); 160,0; 200,0 |
127,0 |
|
4,0; 5,0; 6,0; 8,0; 10,0; 13,0; 16,0; 20,0; 25,0; 32,0; 40,0; 50,0; 63,0; 80,0; 100,0; (125,0); (150,0); 160,0; 200,0 |
203,0 |
|
|
450 |
6,0; 8,0; 10,0; 13,0; 16,0; 20,0; 25,0; 32,0; 40,0; 50,0; 63,0; 80,0 |
127,0 |
|
6,0; 8,0; 10,0; 13,0; 16,0; 20,0; 25,0; 32,0; 40,0; 50,0; 63,0; 80,0; 100,0 |
203,0 |
|
|
500 |
10,0; 13,0; 16,0; 20,0; 25,0; 32,0; 40,0; 50,0; 63,0; 80,0; 100,0; 125,0; (150,0); 160,0; 200,0 |
|
|
8,0; 10,0; 13,0; 16,0; 20,0; 25,0; 32,0; 40,0; 50,0; 63,0; 80,0; 100,0; 125,0; (150,0); 160,0; 200,0; 250,0 |
305,0 |
|
|
600 |
10,0; 13,0; 16,0; 20,0; 25,0; 32,0; 40,0; 50,0; 63,0*; 80,0*; 100,0*; 125,0; (150,0); 160,0; 200,0; 250,0* |
|
|
10,0; 13,0; 16,0; 20,0; 25,0; 32,0; 40,0; 50,0; 63,0; 80,0; 125,0; 160,0; 200,0 |
203,0 |
|
|
750 |
16,0; 20,0; 25,0; 32,0; 40,0; 50,0; 63,0; 80,0; 100,0; 125,0; (150,0); 160,0; 200,0; (250,0) |
305,0 |
|
900 |
25,0; 32,0; 40,0; 50,0*; 63,0*; 80,0*; 100,0*; 125,0 |
|
|
1060 |
40,0*; 50,0*; 63,0*; 80,0*; 100,0*; 125,0* |
* Должны изготовляться на керамической связке классов точности АА или А.
Примечание. Размеры, заключенные в скобки, применять не рекомендуется.
Тип 4
Черт. 2
Таблица 2
Размеры, мм
|
D |
Т |
Н |
U ±1,0 |
α +2° |
D |
Т |
Н |
U ±1,0 |
α +2° |
|
250 |
10; 13; 16; 20 |
76 |
4 |
40° |
350 |
32 |
127 |
8 |
40 |
|
25 |
5; 9 |
400 |
16 |
4 |
|||||
|
300 |
20 |
127 |
5 |
||||||
|
25 |
6 |
60° |
20; 25; 32 |
5 |
|||||
|
32 |
8 |
||||||||
|
350 |
8 |
160 |
3 |
8; 10; 13 |
203 |
3 |
60° |
||
|
13; 25 |
127 |
5 |
40° |
500 |
32 |
8 |
40° |
Тип 3
* Размеры для справок.
Черт. 3
Таблица 3
Размеры, мм
|
D |
Т |
Н |
Р |
F ±1,5 |
U ±1,0 |
α +2° |
J |
||
|
Номин. |
Пред. откл. |
||||||||
|
63 |
10 |
10 |
20 |
+3,0 |
5 |
3,0 |
20° |
25 |
|
|
80 |
6 |
20 |
— |
— |
2,0 |
15° |
50 |
||
|
8 |
20° |
47 |
|||||||
|
10 |
30° |
53 |
|||||||
|
13 |
35° |
49 |
|||||||
|
100 |
6 |
10° |
55 |
||||||
|
8 |
15° |
55 |
|||||||
|
20° |
67 |
||||||||
|
25° |
75 |
||||||||
|
13 |
— |
— |
— |
3,0 |
20°; 25° |
45; 57 |
|||
|
36 |
+3,0 |
5 |
20° |
45 |
|||||
|
16 |
— |
— |
2,0 |
35° |
60 |
||||
|
10 |
51 |
65 |
4 |
77 |
|||||
|
125 |
8 |
32 |
— |
— |
10° |
57 |
|||
|
150 |
82 |
||||||||
|
10 |
35° |
127 |
|||||||
|
16 |
25° |
90 |
|||||||
|
20 |
5,5 |
18° |
61 |
||||||
|
13 |
51 |
80 |
5 |
2,0 |
20° |
90 |
|||
|
175 |
10; 13 |
32 |
— |
— |
— |
85; 50 |
|||
|
200 |
10 |
+3,0 |
8 |
10° |
110 |
||||
|
13 |
— |
— |
3,0 |
87 |
|||||
|
32; 51 |
+3,0 |
8 |
|||||||
|
16 |
25° |
145 |
|||||||
|
20 |
80 |
30° |
107 |
||||||
|
250 |
6 |
76 |
— |
— |
— |
45° |
238 |
||
|
8 |
234 |
||||||||
|
10 |
230 |
||||||||
|
13 |
224 |
||||||||
|
16 |
32 |
— |
3,0 |
10° |
176 |
||||
|
76 |
+3,0 |
15° |
153 |
||||||
|
125 |
5 |
4,0 |
161 |
||||||
|
20 |
— |
— |
2,5 |
20° |
154 |
||||
|
25 |
115 |
10 |
127 |
||||||
|
300 |
6 |
— |
— |
3,0 |
45° |
294 |
|||
|
8 |
290 |
||||||||
|
10 |
286 |
||||||||
|
25 |
115 |
10 |
20° |
179 |
|||||
|
32 |
17 |
141 |
|||||||
|
6 |
127 |
— |
15° |
278 |
|||||
|
8 |
45° |
290 |
|||||||
|
10 |
286 |
||||||||
|
13 |
15° |
226 |
|||||||
|
— |
45° |
274 |
|||||||
|
20 |
180 |
+4,0 |
5 |
3,0 |
30° |
241 |
|||
|
350 |
25 |
— |
— |
4,0 |
278 |
||||
|
40 |
76 |
115 |
17 |
20° |
152 |
||||
|
400 |
20 |
127 |
— |
— |
5,0 |
30° |
348 |
||
|
25 |
331 |
||||||||
|
40 |
279 |
||||||||
|
50 |
76 |
115 |
25 |
20° |
153 |
||||
|
— |
— |
||||||||
|
450 |
20 |
127 |
— |
— |
15° |
338 |
|||
|
25 |
301 |
||||||||
|
32 |
249 |
||||||||
|
500 |
32 |
203 |
30° |
407 |
|||||
Тип 5
* Размер для справок.
Черт. 4
Таблица 4
|
D |
Т |
Н |
Р |
F ±1,5 |
||
|
Номин. |
Пред. откл. |
|||||
|
10 |
13 |
3 |
5 |
+2,0 |
6 |
|
|
13 |
16 |
4 |
6 |
8 |
||
|
20 |
10 |
|||||
|
16 |
13 |
6 |
8 |
+2,0 |
6 |
|
|
(16) |
(10) |
(8) |
||||
|
20 |
8 |
10 |
||||
|
20 |
16 |
10 |
8 |
|||
|
20 |
10; (13) |
10 |
||||
|
25 |
(12); 13; 18 |
|||||
|
32 |
16 |
|||||
|
40 |
20 |
|||||
|
25 |
13 |
13 |
6 |
|||
|
16 |
6; (10) |
13; (16) |
8 |
|||
|
20 |
6 |
13 |
10 |
|||
|
25 |
(12); 13 |
|||||
|
32 |
16 |
|||||
|
32 |
16 |
10 |
16 |
8 |
||
|
20 |
10 |
|||||
|
25 |
(12); 13 |
|||||
|
32 |
6 |
16 |
||||
|
10 |
(16); 20 |
|||||
|
25 |
13 |
13 |
||||
|
32 |
||||||
|
40 |
25 |
20 |
+3,0 |
(12); 13 |
||
|
32 |
16 |
|||||
|
40 |
20 |
|||||
|
50 |
25 |
|||||
|
30 |
||||||
|
50 |
25 |
13; (16) |
25 |
(12); 13 |
||
|
40 |
13 |
20 |
||||
|
50 |
30 |
|||||
|
32 |
16 |
|||||
|
16 |
25 |
20 |
||||
|
32 |
16 |
|||||
|
63 |
25 |
13 |
31 |
13 |
||
|
32 |
20 |
32 |
16 |
|||
|
50 |
30 |
|||||
|
30 |
20 |
|||||
|
80 |
20 |
40; 50 |
7 |
|||
|
25 |
13 |
|||||
|
32 |
16 |
|||||
|
40 |
20 |
|||||
|
50 |
25 |
|||||
|
63; 80 |
30 |
|||||
|
100 |
25 |
50 |
13 |
|||
|
32 |
16 |
|||||
|
40 |
20; (32) |
50; (60) |
20 |
|||
|
50; 63 |
20 |
50 |
30 |
|||
|
125 |
20 |
32 |
65 |
10 |
||
|
25 |
20 |
62 |
13 |
|||
|
32 |
32 |
65 |
16 |
|||
|
50 |
30 |
|||||
|
150 |
25 |
20 |
75 |
13 |
||
|
32 |
85 |
(12); 13 |
||||
|
32 |
85; 100 |
16 |
||||
|
200 |
25 |
32 |
100 |
13 |
||
|
32 |
(32); 76 |
125 |
+4,0 |
16 |
||
|
40 |
76 |
20 |
||||
|
63; 80 |
30 |
|||||
|
250 |
40 |
150 |
13; 20 |
|||
|
300 |
127 |
200 |
||||
|
50 |
||||||
|
63 |
30 |
|||||
|
350 |
40; 50 |
127 |
200 |
13; 20 |
||
|
400 |
40 |
203 |
265 |
+6,0 |
20 |
|
|
50 |
25 |
|||||
|
450 |
50; 63 |
127 |
215 |
13 |
||
|
80 |
25 |
|||||
|
500 |
50; 63 |
203 |
265 |
13; 20 |
||
|
305 |
375 |
30 |
||||
|
80 |
||||||
|
100 |
203 |
|||||
|
600 |
50; 63; 80 |
305 |
||||
Примечание. Размеры, заключенные в скобки, применять не рекомендуется.
Тип 23
* Размеры для справок.
Черт. 5
Таблица 5
Размеры, мм
|
D |
Т |
Н |
Р |
U ±1,0 |
α +2° |
N |
F |
|
|
Номин. |
Пред. откл. |
|||||||
|
300 |
50 |
127 |
200 |
+4,0 |
25 |
20° |
18 |
1 |
|
350 |
265 |
+6,0 |
15 |
10 |
||||
|
500 |
203 |
375 |
15° |
17 |
8 |
|||
|
600 |
80 |
305 |
35 |
10° |
20 |
15 |
||
|
750 |
500 |
22 |
13 |
|||||
Тип 7
* Размер для справок.
Черт. 6
Таблица 6
мм
|
D |
Т |
H |
Р |
F ±1,5 |
G ±1,5 |
|
|
Номин |
Пред. откл. |
|||||
|
100 |
25 |
32 |
88 |
+3,0 |
8 |
8 |
|
125 |
40 |
109 |
16 |
16 |
||
|
200 |
25 |
184 |
+4,0 |
8 |
8 |
|
|
40 |
16 |
16 |
||||
|
250 |
80 |
76 |
150 |
20 |
20 |
|
|
(150); 160 |
40 |
35 |
||||
|
300 |
50; 100 |
127 |
200 |
13 |
13 |
|
|
125 |
25 |
25 |
||||
|
(150); 160 |
200; 250 |
40 |
35 |
|||
|
200 |
200 |
50; 85 |
||||
|
250 |
50 |
|||||
|
350 |
50 |
13 |
13 |
|||
|
80 |
20 |
20 |
||||
|
250 |
20; 25 |
20; 25 |
||||
|
100 |
200; 250 |
25 |
25 |
|||
|
(150); 160 |
40 |
20 |
||||
|
200 |
200 |
50 |
||||
|
250 |
200; 250 |
|||||
|
100 |
203 |
250 |
25 |
25 |
||
|
125 |
40 |
|||||
|
(150); 160 |
200; 250 |
35 |
||||
|
200 |
250 |
30; 35 |
||||
|
400 |
50; (63); (80) |
265 |
+6,0 |
13 |
13; (16); (20) |
|
|
450 |
50 |
13 |
||||
|
500 |
40 |
203; 305 |
265 (375) |
10 |
10; (20) |
|
|
(50); 63 80 |
16 |
(10); 16; (20) |
||||
|
600; 750 |
50 |
305 |
375 |
13 |
13 |
|
|
63; 80 |
16 |
16 |
||||
|
100 |
25 |
25 |
||||
|
900 |
63; 80 |
16 |
16 |
|||
|
100 |
25 |
25 |
||||
Примечание. Размеры, заключенные в скобки, применять не рекомендуется.
Тип 2
* Размер W для справок.
Черт. 7
Таблица 7
мм
|
D |
Т |
H |
W |
|
200 |
80 |
76; 125 |
62; 38 |
|
100 |
160; (150) |
20; 25 |
|
|
300 |
80; 160 |
203 |
48 |
|
100 |
250 |
25 |
|
|
400 |
63; 125 |
305 |
48 |
|
450 |
125; (150) |
250; 305; 380 |
100; 72; 35 |
|
500 |
100; 125; (150) |
400; 380 |
50; 60 |
|
600 |
100; (150) |
380; 480 |
110; 60 |
Примечание. Размеры, заключенные в скобки, применять не рекомендуется.
Тип 6
* Размеры для справок.
Черт. 8
Таблица 8
мм
|
D |
Т |
H |
Р |
F ±1,5 |
Е |
W |
||
|
Номин. |
Пред. откл. |
|||||||
|
40 |
25 |
13 |
32 |
±1,5 |
20 |
5 |
4 |
|
|
50 |
32 |
40 |
25 |
7 |
5 |
|||
|
80 |
40 |
20 (22) |
50; 65; (68) |
32 |
8 |
15; 7; 6 |
||
|
100 |
50 |
80; (84) |
25; 40 |
25; 10 |
10; 8 |
|||
|
125 |
63 |
(22); 32; 51; 76 |
100; (109) |
50 |
13 |
13; 8 |
||
|
150 |
80 |
125 |
±2,0 |
65 |
15 |
13 |
||
|
(175) |
115 |
96 |
145 |
±2,0 |
100 |
15 |
15 |
|
|
200 |
40 |
51 |
165 |
27 |
13 |
18 |
||
|
63 |
50 |
|||||||
|
32 |
||||||||
|
80 |
76 |
170 |
65 |
15 |
15 |
|||
|
250 |
100 |
125 |
48; 75 |
52; 25 |
62 |
|||
|
127 |
195 |
27 |
||||||
|
150 |
200 |
75 |
25 |
25 |
||||
|
300 |
127 |
250 |
25 |
|||||
Примечание. Размеры, заключенные в скобки, применять не рекомендуется.
* Размеры для справок.
Черт. 9
Таблица 9
Размеры, мм
|
D |
Т |
H |
Р |
F ±1,5 |
α ±1° |
α1 ±1° |
W |
K |
E |
J |
|
|
Номин. |
Пред. опт. |
||||||||||
|
50 |
25 |
13 |
40 |
±1,5 |
16 |
70° |
65° |
5 |
25 |
8 |
34 |
|
80 |
32 |
20 |
65; (68) |
22 |
8; 6 |
45; 48 |
10 |
57 |
|||
|
(22) |
65 |
8 |
45 |
||||||||
|
40 |
20 |
65 |
30 |
8 |
38 |
10 |
51 |
||||
|
100 |
25 |
80 |
15 |
50° |
45° |
10 |
50 |
10 |
57 |
||
|
40 |
84 |
25; 30 |
70° |
65° |
8 |
60; 55 |
16; 10 |
71 |
|||
|
125 |
32 |
100; 109 |
25; 32 |
13; 8 |
76; 85; 70; 79 |
16; 8 |
96 |
||||
|
32 |
70; 79 |
8 |
|||||||||
|
45 |
(22) |
100 |
13 |
70 |
13 |
92 |
|||||
|
32 |
100; (109) |
13; 8 |
70; 79 |
||||||||
|
50 |
20; (22) |
88 |
38 |
77° |
67° |
19 |
56 |
13 |
100 |
||
|
32 |
100 |
32 |
70° |
65° |
13 |
70 |
19 |
87 |
|||
|
150 |
40 |
120 |
25 |
50° |
45° |
16 |
70 |
16 |
83 |
||
|
50 |
130 |
+2,0 |
35 |
70° |
65° |
10 |
97 |
16 |
114 |
||
|
(175) |
63 |
140 |
45 |
50°; 60° |
60° |
19 |
88 |
19 |
71; 100 |
||
|
250 |
140 |
100 |
190 |
100 |
80° |
80° |
30 |
155 |
40 |
200 |
|
|
300 |
150 |
150 |
230 |
110 |
35 |
190 |
40 |
247 |
|||
Примечание. Размеры, заключенные в скобки, применять не рекомендуется.
Тип 12
* Размеры для справок.
Черт. 10
Таблица 10
мм
|
D |
Т |
H |
K |
N ±1,0 |
U ±1,0 |
W ±1,0 |
α ±2° |
Е |
J |
|
|
Номин. |
Пред. откл. |
|||||||||
|
80 |
8 |
13 |
30 |
+4,0 |
3 |
2 |
4 |
15° |
6 |
36 |
|
100 |
10; (13) |
20 |
40 |
4 |
6 |
6; 9 |
22 |
|||
|
125 |
13 |
32 |
50 |
5 |
3 |
9 |
50 |
|||
|
150 |
16 |
60 |
6 |
4 |
8 |
10 |
61 |
|||
|
(175) |
16; 20 |
75 |
+6,0 |
3 |
3 |
16 |
25° |
12; 17 |
120; 100 |
|
|
200 |
20 |
80 |
8 |
4 |
10 |
15° |
12 |
80 |
||
|
250 |
20; 25 |
100 |
8; 10 |
6 |
13 |
12; 15 |
80; 108 |
|||
Примечание. Размеры, заключенные в скобки, применять не рекомендуется.
Тип 14
* Размеры для справок.
Черт. 11
Таблица 11
Размеры, мм
|
D |
Т |
H |
K |
N ±1,0 |
U ±1,0 |
r |
α +2° |
α1 +2° |
Е |
J |
|
|
Номин. |
Пред. откл. |
||||||||||
|
100 |
10 |
20 |
40 |
+4,0 |
4 |
2; 3 |
3 |
15° |
10° |
6 |
40; 48 |
|
150 |
32 |
80 |
— |
2 |
30° |
7° |
10 |
122 |
|||
|
200 |
16 |
60 |
6 |
4 |
15° |
10° |
10 |
60 |
|||
|
20 |
80 |
+6,0 |
8 |
12 |
80 |
||||||
|
250 |
25 |
100 |
10 |
5; 6 |
15 |
100; 108 |
|||||
|
(280) |
40 |
105 |
7 |
4; 8 |
6° |
18 |
123; 153 |
||||
|
300 |
20; 25 |
127 |
185 |
— |
2 |
6 |
30° |
10° |
20; 25 |
238; 220 |
|
|
350 |
40 |
200 |
12 |
45° |
7° |
40 |
274 |
||||
Примечание. Размер, заключенный в скобки, применять не рекомендуется.
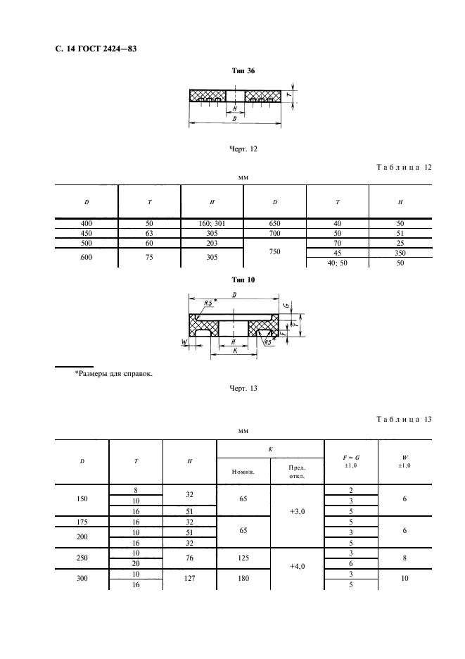
Тип 36
Черт. 12
Таблица 12
|
D |
Т |
H |
D |
Т |
H |
|
400 |
50 |
160; 301 |
650 |
40 |
50 |
|
450 |
63 |
305 |
700 |
50 |
51 |
|
500 |
60 |
203 |
750 |
70 |
25 |
|
600 |
75 |
305 |
45 |
350 |
|
|
40; 50 |
50 |
Тип 10
* Размеры для справок.
Черт. 13
Таблица 13
мм
|
D |
Т |
H |
K |
F = G ±1,0 |
W ±1,0 |
|
|
Номин. |
Пред. откл. |
|||||
|
150 |
8 |
32 |
65 |
+3,0 |
2 |
6 |
|
10 |
3 |
|||||
|
16 |
51 |
5 |
||||
|
175 |
16 |
32 |
65 |
+3,0 |
5 |
6 |
|
200 |
10 |
51 |
3 |
|||
|
16 |
32 |
5 |
||||
|
250 |
10 |
76 |
125 |
+4,0 |
3 |
8 |
|
20 |
6 |
|||||
|
300 |
10 |
127 |
180 |
3 |
10 |
|
|
16 |
5 |
|||||
Тип 26
* Размеры для справок.
Черт. 14
Пример условного обозначения круга типа 1 наружным диаметром D = 500 мм, высотой T = 50 мм, диаметром посадочного отверстия H = 305 мм, из белого электрокорунда марки 25А, зернистости 10-П, степени твердости С2, номером структуры 7, на керамической связке К1А с рабочей скоростью 35 м/с, класса точности А, 1-го класса неуравновешенности:
1 500´50´305 25А 10—П С2 7 К1А 35 м/с А 1 кл. ГОСТ 2424—83
(Измененная редакция, Изм. № 1, 2, 3, 4).















