(СТ СЭВ 5676-86) СПДС. Сети тепловые (тепломеханическая часть). Рабочие чертежи
На нашем сайте можно бесплатно скачать ГОСТ 21.605-82 (1997) в удобном формате. Узнать актуальный статус ГОСТА «(СТ СЭВ 5676-86) СПДС. Сети тепловые (тепломеханическая часть). Рабочие чертежи» на 2016 год.
Скрыть дополнительную информацию

Страница 1

Страница 2

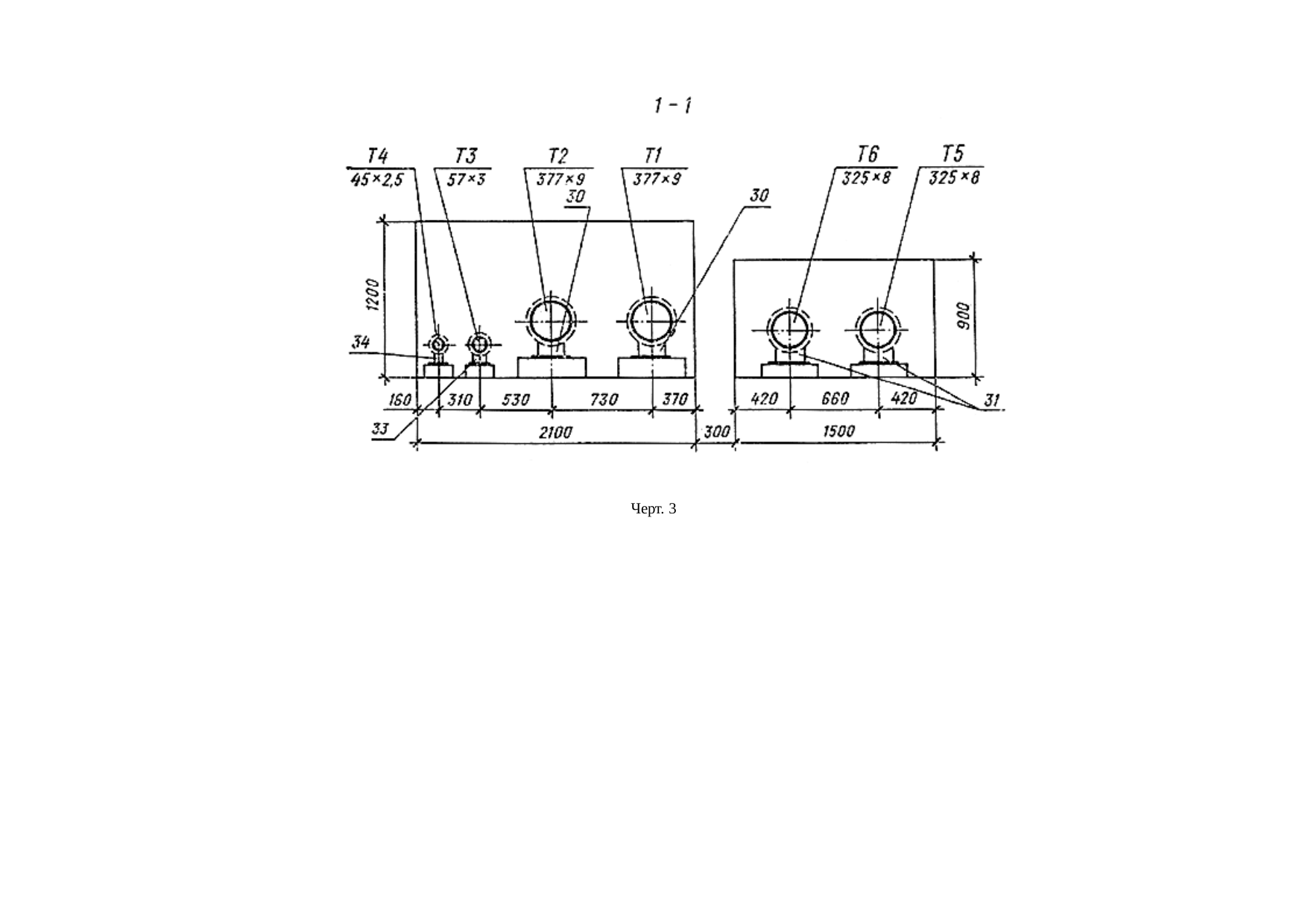
Страница 3

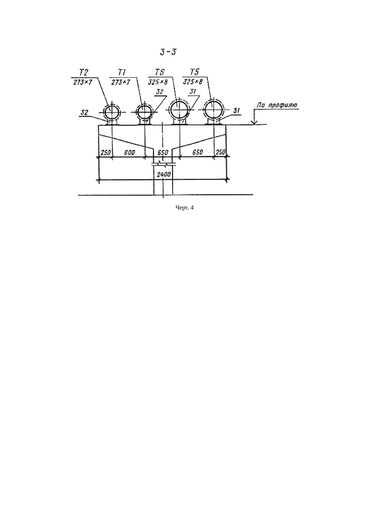
Страница 4

Страница 5

Страница 6

Страница 7

Страница 8

Страница 9

Страница 10

Страница 11

Страница 12

Страница 13

Страница 14
