Битумы и битуминозные вяжущие. Определение склонности к расслоению битуминозных эмульсий
На нашем сайте можно бесплатно скачать ГОСТ EN 12847-2013 в удобном формате. Узнать актуальный статус ГОСТА «Битумы и битуминозные вяжущие. Определение склонности к расслоению битуминозных эмульсий» на 2016 год.
Скрыть дополнительную информацию
Выберите формат отображения документа:

Страница 1

Страница 2

Страница 3

Страница 4

Страница 5

Страница 6

Страница 7

Страница 8

Страница 9

Страница 10

Страница 11

Страница 12

Страница 13

Страница 14

Страница 15

Страница 16
МЕЖГОСУДАРСТВЕННЫЙ СОВЕТ ПО СТАНДАРТИЗАЦИИ, МЕТРОЛОГИИ И СЕРТИФИКАЦИИ
(МГС)
INTERSTATE COUNCIL FOR STANDARDIZATION, METROLOGY AMD CERTIFICATION
(ISC)
МЕЖГОСУДАРСТВЕННЫЙ
СТАНДАРТ
гост
EN 12847-2013
БИТУМЫ И БИТУМИНОЗНЫЕ ВЯЖУЩИЕ
Определение склонности к расслоению битуминозных эмульсий
(EN 12847:2009, ЮТ)
Издание официальное
Москва Ста ндартин форм 2013
Предисловие
Цели, основные принципы и порядок проведения работ по межгосударственной стандартизации установлены ГОСТ 1.0-92 «Межгосударственная система стандартизации. Основные положения» и ГОСТ 1.2-2009 «Межгосударственная система стандартизации. Стандарты межгосударственные, правила и рекомендации по межгосударственной стандартизации. Правила разработки, принятия, применения, обновления и отмены»
Сведения о стандарте
1 ПОДГОТОВЛЕН Техническим комитетом по стандартизации ТК 160 «Продукция нефтехимического комплекса», Федеральным государственным унитарным предприятием «Всероссийский научно-исследовательский центр стандартизации, информации и сертификации сырья, материалов и веществ» (ФГУП «ВНИЦСМВ») на основе собственного аутентичного перевода на русский язык стандарта, указанного в пункте 4
2 ВНЕСЕН Федеральным агентством по техническому регулированию и метро
логии
3 ПРИНЯТ Межгосударственным советом по стандартизации, метрологии и сертиф икации по переписке (протокол № 58-П от 28 августа 2013 г.)
За принятие проголосовали:
|
Краткое наименование страны по МК (ИСО 3166)004-97 |
Код страны по МК (ИСО 3166) 004-97 |
Сокращенное наименование национального органа по стандартизации |
|
Армения |
AM |
Минэкономики Республики Армения |
|
Беларусь |
BY |
Госстандарт Республики Беларусь |
|
Казахстан |
К2 |
Госстандарт Республики Казахстан |
|
Кыргызстан |
KG |
Кыргызстандарт |
|
Молдова |
MD |
Мол до ва- Ст анда рт |
|
Российская Федерация |
RU |
Росстандарт |
|
Таджикистан |
TJ |
Т аджикстанда рт |
|
Узбекистан |
UZ |
Узстанда рт |
II
fOCTEN 12847-2013
4 Настоящий стандарт идентичен европейскому региональному стандарту EN 12847:2009 Bitumen and bituminous binders — Determination of settling tendency of bituminous emulsions (Битум и битуминозные вяжущие. Определение склонности к расслоению битуминозных эмульсий).
Европейский региональный стандарт разработан техническим комитетом CEN/TC 336 «Битуминозные вяжущие» Европейского комитета по стандартизации (CEN), секретариат которого ведет AFNOR.
Перевод с английского языка (еп).
Официальные экземпляры европейского регионального стандарта, на основе которого подготовлен настоящий межгосударственный стандарт, европейские региональные стандарты, на которые даны ссылки, имеются в Федеральном информационном фонде технических регламентов и стандартов.
Сведения о соответствии межгосударственных стандартов ссылочным европейским региональным стандартам приведены в дополнительном приложении ДА
Степень соответствия — идентичная (IDT)
5 Приказом Федерального агентства по техническому регулированию и метрологии от 28 августа 2013 г. № 745-ст межгосударственный стандарт
ГОСТ EN 12847-2013 введен в действие в качестве национального стандарта Российской Федерации с 1 января 2015 г.
6 ВВЕДЕН ВПЕРВЫЕ
Информация об изменениях к настоящему стандарту публикуется в ежегодно издаваемом информационном указателе « Национальные стандарты», а текст изменений и поправок — в ежемесячно издаваемом информационном указателе «Национальные стандарты». В случае пересмотра (замены) или отмены настоящего стандарта соответствующее уведомление будет опубликовано в ежемесяч-
rOCTEN 12847-2013
но издаваемом информационном указателе «Национальные стандарты». Соответствующая информация, уведомление и тексты размещаются также в информационной системе общего пользования — на официальном сайте Федерального агентства по техническому регулированию и метрологии в сети Интернет
© Стандартинф орм, 2013 В Российской Федерации настоящий стандарт не может быть полностью или частично воспроизведен,тиражирован и распространен в качестве официального издания без разрешения Федерального агентства по техническому регулированию и метрологии
fOCTEN 12847-2013
Содержание
1 Область применения……………………………………………………………………
2 Нормативные ссылки……………………………………………………………………
3 Термины и определения……………………………………………………………….
4 Сущность метода………………………………………………………………………..
5 Реактивы и материалы…………………………………………………………………
6 Аппаратура……………………………………………………………………………….
7 Отбор проб……………………………………………………………………………….
8 Проведение испытания…………………………………………………………………
9 Вычисления………………………………………………………………………………
10 Оформление результатов…………………………………………………………..
11 Прецизионность………………………………………………………………………..
12 Отчет……………………………………………………………………………………..
Библиография……………………………………………………………………………..
Приложение Д.А (справочное) Сведения о соответствии межгосударственных
стандартов ссылочным стандартам………………………………
V
МЕЖГОСУДАРСТВЕННЫЙ СТАНДАРТ
БИТУМЫ И БИТУМИНОЗНЫЕ ВЯЖУЩИЕ Определение склонности к расслоению битуминозных эмульсий
Bitumens and bituminous binders. Determination of settling tendency of bituminous emulsions
Дата введения — 2015 -01 — 01
1 Область применения
Настоящий стандарт устанавливает метод определения склонности к расслоению битуминозных эмульсий.
Предупреждение — Применение настоящего стандарта может быть связано с использованием опасных материалов, операций и оборудования. В настоящем стандарте не предусмотрено рассмотрение всех вопросов обеспечения безопасности, связанных с его использованием. Пользователь настоящего стандарта несет ответственность за установление соответствующих правил по техники безопасности и охране здоровья, а также определяет целесообразность применения законодательных ограничений перед его использованием.
2 Нормативные ссылки
Для применения настоящего стандарта необходимы следующие ссылочные документы. Для недатированных ссылок применяют последнее издание ссылочного документа (включая все его изменения).
EN 58 Bitumen and bituminous binders — Sampling bituminous binders (Битум и битуминозные вяжущие. Отбор проб битуминозных вяжущих)
Издание официальное
1
EN 1428 Bitumen and bituminous binders — Determination of water content in bitumen emulsions — Azeotropic distillation method (Битум и битуминозные вяжущее. Определение содержания воды в битуминозных эмульсиях. Метод азеотропной дистилляции)
EN 1431 Bitumen and bituminous binders — Determination of residual binder and oil distillate from bitumen emulsions by distillation (Битум и битуминозные вяжущие. Определение остаточного вяжущего и масляного дистиллята в битуминозных эмульсиях дистилляцией)
EN 12594 Bitumen and bituminous binders — Preparation of test samples (Битум и битуминозные вяжущие. Приготовление образцов для испытаний)
EN ISO 3696 Water for analytical laboratory use — Specification and test methods (Вода для лабораторного анализа. Спецификация и методы испытаний)
3 Термины и определения
В настоящем стандарте применен следующий термин с соответствующим определением:
3.1 склонность к расслоению (settling tendency): Различие в содержании воды в верхнем и нижнем слоях образца определенного объема после выдерживания в течение установленного времени при температуре окружающей среды.
4 Сущность метода
Образец выдерживают в течение установленного времени при температуре окружающей среды в мерном цилиндре, закрытом пробкой. Затем определяют содержание воды в верхнем и нижнем слоях по EN 1428 или EN 1431. Склонность к расслоению определяют как разность между содержанием воды в верхнем и нижнем слоях.
5 Реактивы и материалы
5.1 Общие положения
Используют реактивы класса ч. д. а. и воду, соответствующую классу 3 по
rOCTEN 12847-2013
EN ISO 3696.
52 Моющие вещества
Обычные лабораторные моющие вещества.
6 Аппаратура
Кроме обычной лабораторной аппаратуры и стеклянной посуды, используют.
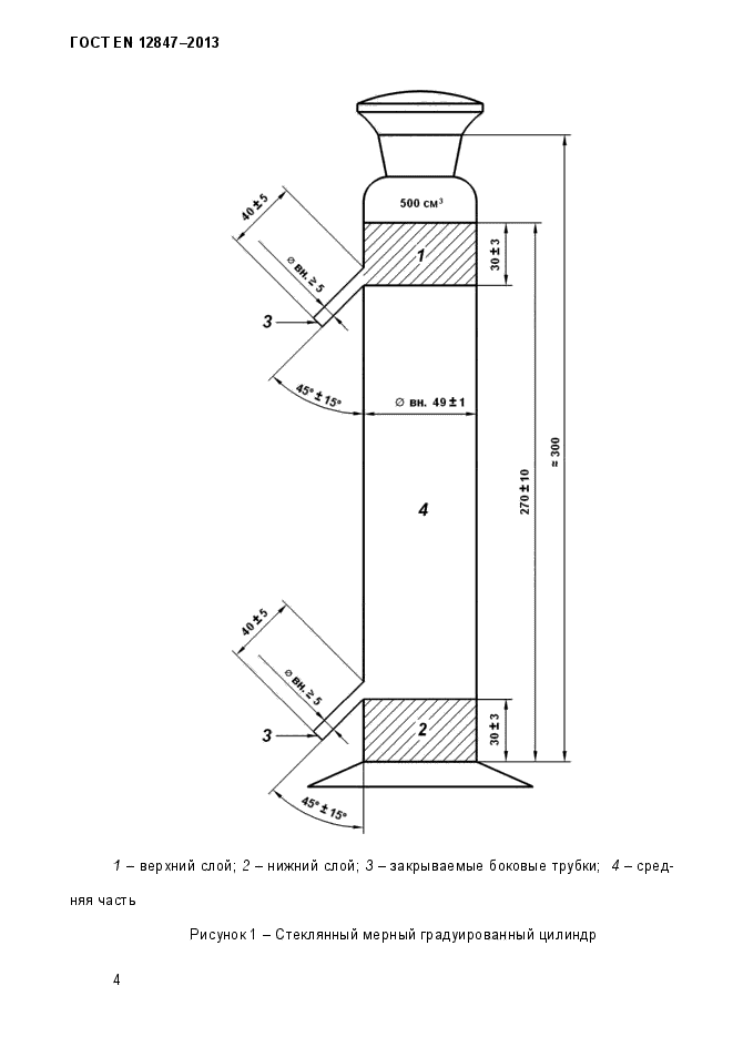
6.1 Стеклянный мерный градуированный цилиндр, закрывающийся пробкой, вместимостью 600 см3 с одним делением 500 см3. Цилиндр должен быть снабжен двумя боковыми трубками. Размеры приведены на рисунке 1.
Боковые трубки закрывают резиновой или стеклянной пробкой или резиновой трубой с зажимом.
6.2 Аппарат для дистилляции, приведенный в EN 1428 или EN 1431, в зависимости от выбранного метода определения содержания воды.
6.3 Лабораторные стаканы соответствующей вместимости.
3
ГОСТЕЙ 12847-2013
1 -верхний слой; 2-нижний слой; 3 — закрываемые боковые трубки; няя часть
Рисунок 1 — Стеклянный мерный градуированный цилиндр
— сред-
fOCTEN 12847-2013
7 Отбор проб
7.1 Пробу для испытания отбирают по EN 58 и готовят по EN 12594.
8 Проведение испытания
8.1 Общие положения
Испытание проводят при нормальных лабораторных условиях.
Примечание — Нормальные лабораторные условия означают диапазон температуры от 18 *С до 28 *С.
82 Проведение испытания
Количество цилиндров для испытания зависит от метода определения содержания воды (EN 1428 или EN 1431).
При использовании метода по EN 1428 достаточно одного цилиндра, при использовании метода по EN 1431 необходимы четыре цилиндра.
Закрывают обе боковые трубки мерного цилиндра (6.1).
Помещают испытуемый образец эмульсии в цилиндр до отметки 500 см3.
Плотно закрывают цилиндр и оставляют на установленное время (t± 4) ч.
При необходимости удаляют поверхностный слой перед внесением образца в цилиндр.
В конце отстаивания, не выводя из равновесия содержимое цилиндра, открывают верхнюю боковую трубку и отбирают приблизительно 55 см3 образца из верхнего слоя эмульсии в лабораторный стакан (6.3) для определения содержания воды. Сливают битумную эмульсию, прилипшую к стенкам цилиндра, в лабораторный стакан примерно в течение 5 мин. Если для определения содержания воды используют несколько цилиндров, повторяют процедуру, последовательно отбирая образцы из верхних слоев каждого цилиндра в тот же лабораторный стакан (6.3).
После окончания отбора образца (pi) стеклянной палочкой аккуратно переме-
5
шивают содержимое стакана до однородного состояния.
ГОСТЕЙ 12847-2013
Затем удаляют эмульсию из средней части цилиндра. Для этого открывают нижнюю боковую трубку и собирают эмульсию в контейнер для утилизации до прекращения течения.
Закрывают нижнюю боковую трубку.
Перемешивают оставшуюся эмульсию (объемом приблизительно 55 см3) так, чтобы отделить от стенок или основания цилиндра любой прилипший остаток. Если невозможна гомогенизация эмульсии, оставшейся в нижней части цилиндра, например из-за расслоения, испытание прекращают. Информацию об этом приводят в отчете.
Переносят остаток содержимого цилиндра во второй лабораторный стакан (6.3) для получения второго образца для определения содержания воды. Если для определения содержания воды используют содержимое нескольких цилиндров, повторяют операцию, последовательно перенося остаток содержимого каждого цилиндра во второй лабораторный стакан (6.3).
По окончании стеклянной палочкой аккуратно перемешивают до однородного состояния полученный образец (р2).
Определяют содержание воды в каждом образце по EN 1428 или EN 1431, в зависимости от выбранного метода.
9 Вычисления
Вычисляют склонность к расслоению ST, % масс., испытуемого образца по формуле
ST = a-b, (1)
где а-содержание воды в верхнем слое (первый образец pi),% масс.;
Ь-содержание воды в нижнем слое (второй образец р2), % масс.
Примечание — Отрицательные значения склонности к расслоению свидетель-ствуют о том, что битуминозная фаза поднимается к поверхности.
6
rOCTEN 12847-2013
10 Оформление результатов
Регистрируют установленное время отстаивания t (раздел 8), содержание воды в верхнем слое а и содержания воды в нижнем слое Ь (раздел 9).
Результат, полученный в соответствии с разделом 9, записывают с точностью до 0,1 % масс.
11 Прецизионность
Примечание — Прецизионность метода была определена в соответствии со стандартом [1].
11.1 Повторяемость
Расхождение между двумя последовательными результатами испытаний, полученными одним и тем же оператором на одном и том же аппарате с использованием идентичного испытуемого материала при нормальном и правильном проведении испытания, может превысить значения, приведенные в таблице 1, только в одном случае из двадцати.
Таблица 1- Повторяемость
В процентах по массе
|
Склонность к расслоению |
Повторяемость г |
|
От 0 до 8 включ. |
0,4 |
|
Св.8 |
5 |
11.2 Воспроизводимость
Расхождение ме>кцу двумя единичными и независимыми результатами, полученными разными операторами, работающими в разных лабораториях, на идентичном испытуемом материале при нормальном и правильном проведении испытания, может превысить значения, приведенные в таблице 2, только в одном случае из двадцати.
7
Таблица 2 — Воспроизводимость
В процентах по массе
|
Склонность к расслоению |
Воспроизводимость R |
|
От 0 до 8 включ. |
0,8 |
|
Св.8 |
10 |
12 Отчет
12.1 Отчет должен содержать:
a) тип и полную идентификацию испытуемого образца;
b) обозначение настоящего стандарта
c) результат испытания — склонность к расслоению, требуемое время отстаивания t, содержание воды в верхнем слое а и содержание воды в нижнем слое Ь (раздел Ю);
d) любое отклонение от метода настоящего стандарта
e) даты отбора проб, подготовки образца и проведения испытания. 8
8
rOCTEN 12847-2013
Библиография
[1] EN ISO 4259:2006 Petroleum products. Determination and application of precision data in relation to methods of test 9
9
Приложение Д.А (справочное)
Сведения о соответствии межгосударственных стандартов ссылочным стандартам
Т а б я и ц а Д.А.1
|
Обозначение и наименование ссылочного стандарта |
Степень со ответствия |
Обозначение и наименование межгосударственного стандарта |
|
EN 58:2004 Битум и битуминозные вяжущие. Отбор проб битуминозных вяжущих |
★ |
|
|
EN 1428:2000 Битум и битуминозные вяжущие. Определение содержания воды в битуминозных эмульсиях. Метод азеотропной дистилляции |
* |
|
|
EN 1431:2009 Битум и битуминозные вяжущие. Определение остаточного вяжущего и масляного дистиллята в битуминозных эмульсиях дистилляцией |
IDT |
ГОСТ EN 1431-2013 Битумы и битуминозные вяжущие. Определение вяжущих и масляного дистиллята методом дистилляции |
|
EN 12594: 2007 Битум и битуминозные вяжущие. Приготовление образцов для испытаний |
* |
|
|
ISO 3696:1995 Вода для лабораторного анализа. Спецификация и методы |
* |
|
|
‘Соответствующий межгосударственный стандарт отсутствует. До его утверждения рекомендуется использовать перевод на русский язык данного стандарта. Перевод данного стандарта находится в Федеральном информационном фонде технических регламентов и стандартов. Примечание -В настоящей таблице использовано следующее условное обозначение степени соответствия стандартов: IDT-идентичные стандарты. |
||
10
fOCTEN 12847-2013
УДК665.6.033:006.354 МКС 75.140 IDT
Ключевые слова: битумы, битуминозные вяжущие, склонность к расслоению, битуминозные эмульсии
Первый заместитель директора ФГУП «ВНИЦСМВ»
Начальник отдела 140
Е.И. Выбойченко
Р.С. Хартюнова
11
