Банки стеклянные для консервов. Основные параметры и размеры
Заменяет

Страница 1

Страница 2

Страница 3

Страница 4

Страница 5

Страница 6

Страница 7

Страница 8

Страница 9

Страница 10

Страница 11

Страница 12

Страница 13

Страница 14
ГОСТ 5717.2-2003
МЕЖГОСУДАРСТВЕННЫЙ СТАНДАРТ
БАНКИ СТЕКЛЯННЫЕ ДЛЯ КОНСЕРВОВ Основные параметры и размеры
Издание официальное
МЕЖГОСУДАРСТВЕННЫЙ СОВЕТ ПО СТАНДАРТИЗАЦИИ, МЕТРОЛОГИИ И СЕРТИФИКАЦИИ Минск
ГОСТ 5717.2-2003
Предисловие
Цели, основные принципы и основной порядок проведения работ по межгосударственной стандартизации установлены ГОСТ 1.0-92 «Межгосударственная система стандартизации. Основные положения» и ГОСТ 1.2-97 «Межгосударственная система стандартизации. Стандарты межгосударственные, правила и рекомендации по межгосударственной стандартизации. Порядок разработки, принятия, применения, обновления и отмены»
Сведения о стандарте
1 РЛЗРЛБОТЛН Техническим комитетом по стандартизации ГК 74 «Стеклянная тара»
2 ВНЕСЕН Госстандартом России
3 ПРИНЯТ Межгосударственным советом по стандартизации, метрологии и сертификации (протокол № 23 от 22 мая 2003 г.)
|
За принятие стандарта проголосовали: |
|||||||||||||||||||||||||||||||||
|
4 Настоящий стандарт соответствует международному стандарту ИСО 9100 —92 «Тара стеклянная с широкой горловиной под обжимную лепестковую крышку для вакуумной упаковки. Размеры» (ISO 9100:1992 «Wide-mouth glass containers — Vacuum lug finishes — Dimensions», NEQ) в части требований к размерам горловин стеклянной тары с широкой горловиной
5 Постановлением Государственного комитета Российской Федерации по стандартизации и метрологии от 16 декабря 2003 г. № 365-ст межгосударственный стандарт ГОСТ 5717.2-2003 введен в действие в качестве государственного стандарта Российской Федерации с 1 июля 2004 г.
6 ВЗАМЕН ГОСТ 5717-91 в части раздела 1
7 ПЕРЕИЗДАНИЕ
Информация о введении в действие (прекращении действия) настоящего стандарта публикуется в указателе •Национальные стандарты*
Информация об итенениях к настоящему стандарту публикуется в указателе •Национальные стандарты», а текст изменений — в информационных указателях «Националы/ые стандарты». В случае пересмотра u.iu отмены настоящего стандарта соответствующая информация будет опубликована в информационном указателе «Национальные стандарты»
В Российской Федерации настоящий стандарт не может быть полностью или частично воспроизведен, тиражирован и распространен в качестве официального издания без разрешения Федерального агентства по техническому регулированию и метрологии
II
ГОСТ 5717.2-2003
МЕЖГОСУДАРСТВЕННЫЙ СТАНДАРТ
БАНКИ СТЕКЛЯННЫЕ ДЛЯ КОНСЕРВОВ Основные параметры н размеры
Glass jars for canncd food. Basic parameters and dimensions
Дата введения — 2004—07—01
1 Область применения
Настоящий стандарт распространяется на стеклянные банки круглой формы для консервов и устанавливает их основные параметры и размеры.
2 Нормативные ссылки
В настоящем стандарте использованы нормативные ссылки наследующие межгосударственные стандарты:
ГОСТ 5717.1 — 2003 Банки стеклянные для консервов. Общие технические условия
ГОСТ 17527-2003 Упаковка. Термины и определения
Примечание — При пользовании настоящим стандартом целесообразно проверить действие ссылочных стандартов по указателю «Национальные стандарты», составленному по состоянию на 1 января текущего года, и по соответствующим информационным указателям, опубликованным в текущем году. Если ссылочный документ заменен (изменен), то при пользовании настоящим стандартом следует руководствоваться замененным (измененным) стандартом. Если ссылочный документ отменен без замены, то положение, в котором дана ссылка на него, применяется в части, не затрагивающей эту ссылку.
3 Термины и определения
В настоящем стандарте применены следующие термины с соответствующими определениями:
3.1 вместимость тары: Но ГОСТ 17527.
3.2 номинальная вместимость: Вместимость тары, определяющая заданный объем жидкости, который используют для маркировки тары.
3.3 полная вместимость: Вместимость тары, определяющая объел» жидкости, помещенной до верхней плоскости торца венчика горловины.
3.4 номинальный размер (высота, диаметр): По ГОСТ 17527.
3.5 предельный размер: По ГОСТ 17527.
3.6 предельное отклонение: Разность между предельным и номинальным размерами.
Издание официальное
I
ГОСТ 5717.2-2003
4 Основные параметры и размеры
4.1 Основные параметры н размеры банок должны соответствовать указанным на рисунке 1 и в таблице I.
|
|
||||||||||||||||||||||||||||||||||||||||||||||||||||
|
Номер венчика горловины |
Размеры, мм |
||
|
58 |
58.0 ± 0.6 |
51.0 |
54,0 |
|
82 |
83.0 *_% |
75.0 |
78,0 |
Рисунок 2 — Венчик типа I
4.2 Контролируемые размеры и параметры банок: общая высота банки //, наружный диаметр корпуса банки D. полная вместимость.
4.3 В зависимости от вида укупорки венчики горловин подразделяют на типы:
I — обкатной (рисунок 2);
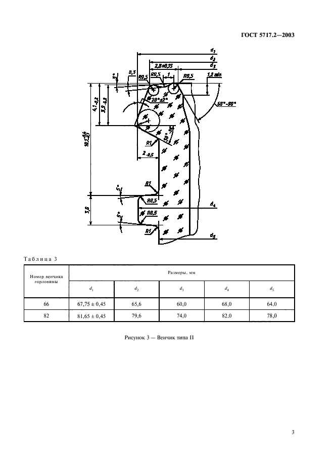
II — обжимной (рисунок 3);
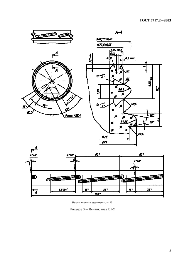
III — резьбовой (рисунки 4—11).
4.4 Условные обозначения и размеры венчиков горловины должны соответствовать указанным на рисунках 2—11 и в таблицах 2—9.
■>
ГОСТ 5717.2-2003
|
Таблица 3 |
|||||||||||||||||||||||
|
|||||||||||||||||||||||
|
Рисунок 3 — Венчик типа II |
|||||||||||||||||||||||
3
|
*•53′ |
|
|||||||||||||||||||||||||||||
|
Номер ВС II’I НКЦ юрловкны — 66. |
|||||||||||||||||||||||||||||
Рисунок 4— Венчик типа Ш-1
ГОСТ 5717.2-2003
4
ГОСТ 5717.2-2003
А-А
|
||||||||||||||||||||||||
|
Номер иепчика горлоиини — В2. |
||||||||||||||||||||||||
Рисунок 5 — Венчик типа 111-2
S
ГОСТ 5717.2-2003
|
SJStO.15 82 шах J№£tOJ ‘симАпяткишю |
А-А
М
щ
м
11 Допускается применить любой тип усилииающсю кольца, обеспечивающего достаточный зазор между крышкой и кольцом.
21 Теоретическая точка, в которой крышка приподнимается при открывании.
31 Размер определяет положение крышки и гарантирует, что между крышкой и усиливающим кольцом сохраняется достаточное расстояние.
|
Таблица 4 |
|||||||||||||||||||||
|
|||||||||||||||||||||
|
Рисунок 6 — Венчик типа 111-3 |
6
ГОСТ 5717.2-2003
|
Таблица 5 |
||||||||||||||||||||||||||||
|
||||||||||||||||||||||||||||
|
Рисунок 7 — Венчик типа 111-4 |
7
ГОСТ 5717.2-2003
ajisjs
3J men Ловержиост / tftfoaprv RftOJ
RBMJ
*pex&SJ
M&SJ
‘* Допускается применять любой тип усиливающего кольца, обеспечивающего достаточный зазор между крышкой и кольцом.
21 Размер определяет положение крышки и гарантирует, что между крышкой и усиливающим колыюм сохраняется достаточное расстояние.
|
Таблица 6 |
|||||||||||||||||||||||||||||||
|
|||||||||||||||||||||||||||||||
Рисунок 8 — Венчик типа III-5
|
Таблица 7 |
||||||||||||||
|
||||||||||||||
|
Рисунок 9 — Венчик типа II1-6 |
ГОСТ 5717.2-2003
9
ГОСТ 5717.2-2003
2JS-J.6S
fljaar.
ПоОщшжяь
W*0J
-Л*
fnjBtQX
|
Таблица 8 |
||||||||||||||
|
||||||||||||||
|
Рисунок 10 — Венчик типа III-7 |
10
|
Таблица 9 |
|
||||||||||||||||||||||
|
Примечание — При заказе банок указывается угол заход*! резьбы. Рисунок 11 — Венчик типа II1-8 |
||||||||||||||||||||||
ГОСТ 5717.2-2003
II
ГОСТ 5717.2-2003
4.5 Диаметр укупорочного кольца dl венчиков горловин типов I, II. наружный диаметр резьбы венчиков типа III относятся к обязательным требованиям по безопасности и являются контролируемыми.
Остальные размеры венчиков горловин даны для изготовления формокомплектов.
4.6 На нижней части корпуса, на плечиках и дне банок допускается нанесение фактурного оформления типа насечек, точек и т. п.
Высота цилиндрической части банок должна быть достаточной для нанесения этикеток, размер которых указывается при заключении договоров.
4.7 На корпусе банок допускается углубление под этикетку до 0.5 мм.
4.8 Условное обозначение банки должно содержать: тип и номер венчика горловины, вместимость банки и обозначение настоящего стандарта.
Пример условного обозначения банки с венчиком горловины типа I. номер 82, вместимостью 500 см3:
Банка 1-82-500 ГОСТ 5717.2-2003
То же, с венчиком горловины типа 111-4, помер 63. вместимостью 350 см3:
Банка I!1-4-63-350 ГОСТ 5717.2-2003
4.9 При разработке новых типов банок предельные отклонения по высоте банок /’„, мм, следует рассчитывать по формуле
Т„ = г (0.6 + 0,004Я), (1)
где И — номинальный размер общей высоты банки.мм.
Предельные отклонения по диаметру круглых банок TD, мм, рассчитывают по формуле
TD = ± (0,5 + 0,012/)). (2)
где D — диаметр цилиндрической части корпуса банки,мм.
4.10 По качеству банки должны соответствовать требованиям ГОСТ 5717.1.
МКС 55.100 Д91 ОКП 59 8610
Ключевые слова: банки стеклянные, параметры, размеры, вместимость
12



