Сталь прокатная. Профили разных назначений. Сортамент

Страница 1

Страница 2

Страница 3

Страница 4

Страница 5

Страница 6

Страница 7

Страница 8

Страница 9

Страница 10

Страница 11

Страница 12

Страница 13

Страница 14

Страница 15

Страница 16

Страница 17

Страница 18
СССР
ГОСУДАРСТВЕННЫЕ СТАНДАРТЫ
СОРТАМЕНТ ЧЕРНЫХ МЕТАЛЛОВ
ПРОКАТ И КАЛИБРОВАННАЯ СТАЛЬ
Издание официальное
ИЗДАТЕЛЬСТВО КОМИТЕТА СТАНДАРТОВ,
МЕР И ИЗМЕРИТЕЛЬНЫХ ПРИБОРОВ ПРИ СОВЕТЕ МИНИСТРОВ СССР Москва 1969
УДК 669(012)
ОТ ИЗДАТЕЛЬСТВА
Сборник <гСортамент черных металлов. Прокат и калиброванная сталь> содержит стандарты, утвержденные до 1 января 1968 г.
В стандарты внесены все изменения, принятые до указанного срока. Около номера стандарта, в который внесено изменение, стоит знак*.
Текущая информация о вновь утвержденных и пересмотренных стандартах, а также о принятых к ним изменениям публикуется в выпускаемом ежемесячно «Информационном указателе стандартов>.
Зашей Гее
ИГС S’-*5
• *•’ • #о I
Издание официальное
СССР
Управление по стандартизации при
Совете Министров Союза ССР
ГОСУДАРСТВЕННЫЙ
СТАНДАРТ
Сталь прокатная
Лрофили разных
НАЗНАЧЕНИИ
Сортамент
ГОСТ
5157-53*
Взамен ГОСТ 5157-49
Группа В22
Вксмаи пленения to V , !!У09- (, ч
1. Настоящий стандарт распространится -‘чта1 горугтонатпн^ю
сталь специальных профилей, применяемых в разных отраслях промышленности.
2. Размеры профилей, допускаемые отклонения и справочные величины должны соответствовать черт. 1—12 и табл. 1 — 12.
Сро:: дей/.й: п гродш
ДО 01.01.У! -HFJ 2-Y4,e Н
Cps:; к*_,х::а продлен
ДЗО/.0/. #3 -yfj 3-^9,c.i0b
Cc::f сродш ;
I ^oi.oi.w Уrj4-i3,c.^[r
«‘4 rr.
rq ‘ . <
о,. o,.K УГ;Ч-^/ <•
Внесен Министерством черной металлургии
Утвержден Управлением по стандартизации 26/11 1953 г.
Срок введения 1/V1I 1953 г.
Несоблюдение стандарта преследуется по закону. Перепечатка воспрещена
1. Рельсы двухголовые
Таблица 1
Размеры, мм
|
Допускаемые отклонения по размерам |
R X |
и 0> в |
Ось |
х-х |
Ось Y-Y |
||||||||||
|
а |
ь |
с |
1 |
h |
г |
Г\ |
а |
ь |
О |
1 И /| |
е> У • и л < я 3 |аг 1— о |
Теоретический 1 ПОГ. м, кг |
Момент инерции / см* |
Момент сопротивления W см3 X, |
si Ё | о — £ s 5 |
|
130 |
30 |
7 |
88 |
78 |
15 |
4 |
±0,5 |
+0,4 —0,5 |
+0,4 -0,3 |
±0,8 |
17,8 |
14,00 |
361,7 |
56 |
7,34 |
|
160 |
40 |
8 |
105 |
92 |
20 |
5 |
±0,8 |
+0,4 -0,5 |
+0,4 -0,3 |
±1,0 |
28,8 |
22,60 |
903,4 |
ИЗ |
22,4 |
Несимметричность поперечного сечения рельса не должна выходить за пределы половины допускаемых отклонений по головке и шейке.
114
ГОСТ 5157-53
2. Рельсы тавровые
Площадь поперечного сечения профиля 11,96 см2. Теоретичен кий вес 1 пог. м 9,4 кг.
Таблица 2
|
Ось Х-Х |
Ось К-Г |
|||
|
Момент инерции X |
Момент сопротивления W х |
Момент инерции У |
Момент сопротивления W У |
|
|
Верх |
Низ |
|||
|
см4 |
см3 |
см« |
см3 |
|
|
50,051 |
9,303 |
30,896 |
46,97 |
11,183 |
115
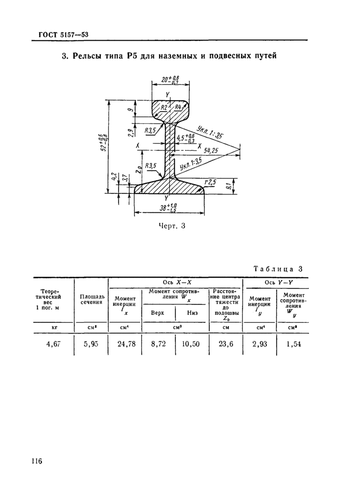
3. Рельсы типа Р5 для наземных и подвесных путей
Таблица 3
|
Теоретический вес 1 лог. м |
Площадь сечения |
Ось Х-Х |
Ось Y-Y |
||||
|
Момент инерции X |
Момент сопротивления W X |
Расстояние центра тяжести до подошвы Zo |
Момент инерции У |
Момент сопротив ления 1Г У |
|||
|
Верх |
Низ |
||||||
|
кг |
см* |
см4 |
см* |
см |
см4 |
см* |
|
|
4,67 |
5,95 |
24,78 |
8,72 |
10,50 |
23,6 |
2,93 |
1,54 |
116
4. Швеллеры с отогнутой полкой для вагонеток
Черт. 4
Таблица 4
|
и X £«* |
b-d. |
b\—d |
V- |
Допускаемые отклонения no размерам |
8* O « A S , |
U i 46 a |
||||||||||
|
о 5 и О в |
h |
ь |
Ьг |
d |
t |
2 |
2 |
R |
Rt |
град. |
h |
b и bx |
d |
V |
a * x 3 a.* x •» 8 ® В у Д ® I U. C w |
£ 5 a.« £ О я с £ ж с Н О-ч |
|
СП-10 |
100 |
55 |
40 |
9 |
11 |
23,0 |
15,5 |
11 |
5,5 |
123 |
±2 |
±1.5 |
+0,7 -1,0 |
±30′ |
18,6 |
14,6 |
|
СП-12 |
120 |
60 |
45 |
11 |
1324,’5 |
17,0 |
136,5 |
126 |
±2 |
±1.5 |
+0,7 -1.0 |
±30′ |
25,5 |
20,0 |
||
Таблица 5
|
Обоэна- |
Ось |
К—Х |
Ось |
Y-Y |
Ось U-U |
Ось W-W |
Угол |
z |
|||
|
чение |
/ |
1 |
/ |
i |
/ |
/ |
/ |
i |
накло- |
X |
у |
|
профи- |
X |
X |
У |
У |
и |
и |
W |
W |
на осей |
||
|
ля |
tg а |
||||||||||
|
см* |
см |
см* |
см |
см* |
см |
см* |
см |
см |
|||
|
СП-10 |
305,50 |
4,10 |
33,48 |
1,36 |
304.19 |
4,09 |
34,89 |
1,38 |
0,064 |
4,96 |
1,50 |
|
СП-12 |
594,75 |
4,87 |
55,86 |
1,49 |
589.93 |
4,85 |
61,72 |
1,57 |
0,059 |
6,025 |
1,62 |
/ —момент инерции; i—радиус инерции;
Zx—расстояние центра тяжести до оси X—X;
Zy—расстояние центра тяжести до оси Y—Y.
Профили поставляются мерной и кратной мерной длины, оговоренной в заказе.
117
5. Сталь полосовая для косых шайб
ГОСТ 5157-53
Уклон 1:3,1(11%)
Таблица G
Размеры . мм
|
Ширина 2 В |
Высота Н |
Допускаемые отклонения |
Площадь |
Вес полосы длиной в 1 м, кг |
Для болтов с диаметром резьбы |
|
|
2В |
н |
поперечного сечения полосы, см* |
||||
|
32 40 |
5,8 6,2 |
+0.5 -1,0 |
1,56 2,04 |
1,22 1,60 |
ООО |
|
|
60 |
7.3 |
+0.5 -1.2 |
+0.3 |
3,42 |
2,68 |
12-14 |
|
80 |
8,4 |
+0.5 — 1.4 |
—0,5 |
4,96 |
3,89 |
16—20 |
|
100 |
9,5 |
+0,9 -1,8 |
6,75 |
5,30 |
22-27 |
|
Допускается притупление всех углов профиля.
Пример обозначения п о л о со в о й стали для косых шайб марки Ст. 3 шириной 60 мм:
Полоса
60 ГОСТ 5157-53 табл. 6 Cm. 3 ГОСТ 535-58
6. Сталь овальная
Черт. G
Таблица 7
Размеры, мм
|
Допускаемые отклонения по размерам |
Плошаль |
Теоретиче- |
||||
|
а |
ъ |
R |
а |
ь |
поперечного сечения, см* |
ский вес 1 110Г. м, кг |
|
16 |
10 |
5 |
+0,5 -1.0 |
+0.3 -0,5 |
1,38 |
1,08 |
|
25 |
16 |
8 |
Т-0,5 -1.0 |
+0,3 -0,5 |
3,45 |
2.71 |
|
32 |
20 |
10 |
+0,5 — 1.0 |
+0,3 -0.7 |
5,54 |
4,85 |
7. Сталь для серпов
Черт. 7
Таблица 8
Размеры, мм
|
а |
ь |
с |
Допу а |
скэемые отк по размерам Ь |
лонения с |
Площадь поперечного сечения, см* |
Теоретический ЯСС 1 пог. м. кг |
|
23 |
3 |
1 |
±1.0 |
±0,5 |
+0,5 |
0,46 |
0,36 |
|
26 |
3 |
1 |
±1.0 |
±0,5 |
±0.§ |
0,52 |
0,41 |
|
28 |
3 |
1 |
±1.0 |
±0,5 |
±0.5 |
0,56 |
0,44 |
|
30 |
3 |
1 |
±1.0 |
±0.5 |
±0.5 |
0,60 |
0,47 |
|
32 |
3 |
1 |
±1.0 |
±0.5 |
±0,5 |
0,64 |
0,51 |
Длина профиля от 2 до 6 м.
При поставке профилей нормальной, мерной и кратной мерной длины (п.
допускается поставлять до 10% от веса партии укороченных полос длиной не менее 1 м.
119
8. Сталь для коньков
L
т
CoW
Черт. 8
Таблица 9
Размеры, мм
|
а |
ь |
с |
Допускаемые отклонения по размерам |
Площадь поперечного сечения, см* |
Теоретический вес 1 пог. м, кг |
||
|
а |
ь |
с |
|||||
|
40 |
4 |
3 |
±1.0 |
±0,5 |
±0.5 |
1,40 |
1,10 |
|
50 |
4,5 |
3,5 |
±1.0 |
±0,5 |
±0.5 |
2.0 |
1.57 |
|
53 |
5 |
4 |
±1.0 |
±0,5 |
±0.5 |
2,38 |
1,87 |
|
56 |
5 |
4 |
±1.0 |
±0,5 |
±0.5 |
2,52 |
1,98 |
|
58 |
5 |
4 |
±1.0 |
4-0,5 |
±0.5 |
2,61 |
2,05 |
|
60 |
5 |
4 |
±1.0 |
±0.5 |
±0,5 |
2,70 |
2,12 |
Длина профиля от 2 до 6 м.
При поставке профилей нормальной и мерной длины допускается поставлять до 5% от веса партии укороченных полос длиной не менее 1 м.
9. Профиль для тормозных шин
Площадь поперечного сечения профиля 52,48 см2. Теоретический вес 1 пог. м 41,2 кг.
J20
