Совместимость технических средств электромагнитная. Требования к аппаратуре для измерения параметров индустриальных радиопомех и помехоустойчивости и методы измерений. Часть 1-2. Аппаратура для измерения параметров индустриальных радиопомех и помехоустойчи
На нашем сайте можно бесплатно скачать Руководящий документ ГОСТ 30805.16.1.2-2013 в удобном формате. Узнать актуальный статус документа «Совместимость технических средств электромагнитная. Требования к аппаратуре для измерения параметров индустриальных радиопомех и помехоустойчивости и методы измерений. Часть 1-2. Аппаратура для измерения параметров индустриальных радиопомех и помехоустойчи» на 2016 год.
Скрыть дополнительную информацию
Выберите формат отображения документа:

Страница 1

Страница 2

Страница 3

Страница 4

Страница 5

Страница 6

Страница 7

Страница 8

Страница 9

Страница 10

Страница 11

Страница 12

Страница 13

Страница 14

Страница 15

Страница 16

Страница 17

Страница 18

Страница 19

Страница 20

Страница 21

Страница 22

Страница 23

Страница 24

Страница 25

Страница 26

Страница 27

Страница 28

Страница 29

Страница 30

Страница 31

Страница 32

Страница 33

Страница 34

Страница 35

Страница 36

Страница 37

Страница 38

Страница 39

Страница 40

Страница 41

Страница 42

Страница 43

Страница 44

Страница 45

Страница 46

Страница 47

Страница 48

Страница 49

Страница 50

Страница 51

Страница 52

Страница 53

Страница 54

Страница 55

Страница 56

Страница 57

Страница 58

Страница 59

Страница 60

Страница 61

Страница 62

Страница 63

Страница 64

Страница 65

Страница 66
межгосударственный совет по стандартизации, метрологии и
СЕРТИФИКАЦИИ
(МГС)
INTERSTATE COUNCIL FOR STANDARDIZATION, ME TROLOGY AND CERTIFICATION _(ISC)_
— ГОСТ
МЕЖГОСУДАРСТВЕННЫЙ
СТАНДАРТ 30805.16.1.2—
2013
(CISPR 16-1-2:2006)
Совместимость технических средств электромагнитная
ТРЕБОВАНИЯ К АППАРАТУРЕ ДЛЯ ИЗМЕРЕНИЯ ПАРАМЕТРОВ ИНДУСТРИАЛЬНЫХ РАДИОПОМЕХ И ПОМЕХОУСТОЙЧИВОСТИ И МЕТОДЫ ИЗМЕРЕНИЙ Часть 1-2 АППАРАТУРА ДЛЯ ИЗМЕРЕНИЯ ПАРАМЕТРОВ ИНДУСТРИАЛЬНЫХ РАДИОПОМЕХ И ПОМЕХОУСТОЙЧИВОСТИ.
УСТРОЙСТВА ДЛЯ ИЗМЕРЕНИЯ КОНДУКТИВНЫХ РАДИОПОМЕХ И ИСПЫТАНИЙ НА УСТОЙЧИВОСТЬ К КОНДУКТИВНЫМ РАДИОПОМЕХАМ
(CISPR 16-1-2:2006, MOD)
Издание официальное
Москва
Стандартинформ
2013
ГОСТ 30805161.2-2013
Примечание — Иногда общее несимметричное (асимметричное) напряжение
называют напряжением общего режима.
3.3 несимметричное напряжение (unsymmetric voltage): Амплитуда
векторного напряжения Va или Уъ в соответствии с 3.1 и 3.2. Несимметричное напряжение представляет собой напряжение, измеренное при помощи V-образного эквивалента сети питания (см. 3.4).
3.4 эквивалент сети питания, ЭСП (artificial mains network, AMN): Устройство, обеспечивающее нормированное полное сопротивление со стороны зажимов для подключения испытуемого технического средства (ТС), подачу напряжения ИРП на измеритель ИРП и развязку схемы испытания с сетью питания.
Существуют два основных вида ЭСП: V-образный эквивалент сети питания, обеспечивающий измерение несимметричного напряжения, и дельтаобразный эквивалент сети питания, обеспечивающий измерение симметричного и общего несимметричного (асимметричного) напряжения по отдельности. Термины «схема стабилизации полного сопротивления» (см. З.б) и «V-образный эквивалент сети питания» в ряде случаев используют как равнозначные (взаимозаменяемые).
3.5 асимметричный эквивалент сети; АЭС (asymmetric artificial network, AAN): Устройство для измерения (или инжекции) общего несимметричного (асимметричного) напряжения (напряжения общего режима) в неэкранированных симметричных сигнальных линиях (например, телекоммуникационных) при
подавлении симметричного сигнала в линии (сигнала в дифференциальном режиме).
Примечание — Иногда АЭС называют У-образным эквив апентом сети.
3.6 схема стабилизации полного сопротивления (impedance stabilisation
network): Схема эквивалента сети, обеспечивающего стабильное полное
сопротивление при испытаниях ТС.
ГОСТ 30805161.2-2013
Приложение G (справочное)
Конструкция емкостного пробника напряжения и из мер ение его пар аметров
G.1 Введение
В настоящем приложении изложен метод калибровки емкостного пробника напряжения. Использование других методов калибровки допускается при условии, что неопределенность измерений при их использовании не превышает неопределенности при использовании метода, установленного в настоящем приложении
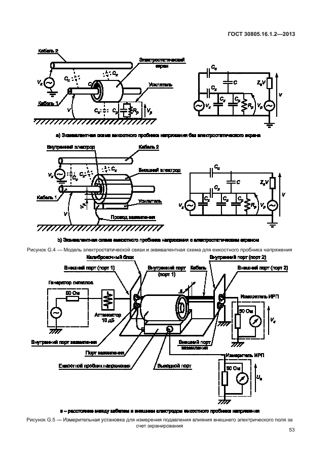
G.2 Рассмотрение схемы емкостного пробника напряжения с физической точки зрения
Конструкция емкостного пробника напряжения приведена на рисунке G.I. Пробник состоит из двух коаксиальных электродов, заземляющего зажима, кабельной оправки и усилителя. Внешний электрод используется в качестве электростатического экрана для уменьшения ошибок измерения, обусловленных электростатической связью с проходящими вдоль конструкции кабелями
Эквивалентная схема емкостного пробника напряжения представлена на рисунке G.2. Если существует напряжение между кабелем и землей, в результате электростатической индукции появляется наведенное напряжение между внутренним и внешним электродами Это напряжение поступает на вход усилителя с высоким
94
ГОСТ 30805.16.1.2-2013
входным полным сопротивлением, в котором усиливается и при низком выходном сопротивлении подается на вход измерителя ИРП.
G.3 Измерение частотной зависимости коэффициента калибровки
Испытательная установка для измерения частотной зависимости коэффициента калибровки емкостного пробника напряжения в полосе рабочих частот приведена на рисунке G.3. Верификацию емкостного пробника проводят в такой п о еле доват ельн о ст и:
а) подготавливают кабель того же типа, что используется с испытуемым ТС.
Примечание — Е спи с емкостным пробником используются кабели нескольких типов, при калибровке следует выбрать репрезентативные кабели нескольких типов и определить возможность распространения полученных результатов на кабели других типов. Коэффициент калибровки Fa допускается определять в соответствии с уравнением (G.3), однако рекомендуется проводить измерения Fa для каждого кабеля,
b) калибровочный блок размещают на пластине заземления, как указано на рисунке G.3;
c) оба конца кабеля подсоединяют к внутренним портам калибровочного блока (порт 1,порт 2) (см рисунок G.3);
d) пробник размещают в калибровочном блоке и регулируют положение кабеля так, чтобы он проходил через центр кабельной оправки.
Примечание — Если концевые пластины калибровочного блока находятся слишком близко к концам пробника напряжения, возрастает паразитная емкость, что может увеличить погрешность измерения коэффициента калибровки на высоких частотах. Если концевые пластины калибровочного блока излишне удалены от концов пробника напряжения, то на высоких частотах в границах калибровочного блока может сформироваться стоячая волна, что также может увеличить погрешность измерения коэффициента калибровки
95
ГОСТ 30805161.2-2013
e) подсоединяют порт заземления пробника к внутреннему порту
заземления калибровочного блока. Подсоединяют внешний порт заземления калибровочного блока к опорному заземлению. Заземляющая перемычка должна быть минимальной длины, иметь малую индуктивность и находиться вне апертуры пробника напряжения,
f) генератор сигналов с выходным полным сопротивлением 50 Ом подсоединяют к внешнему порту 1 через аттенюатор с затуханием 10 дБ,
g) измеритель ИРП с входным полным сопротивлением 50 Ом
подсоединяют к внешнему порту 2 и нагружают выходной порт пробника на сопротивление 50 Ом. Измеряют уровень сигнала V в установленной полосе частот;
h) измеритель ИРП подсоединяют к выходному порту пробника и
нагружают внешний порт 2 на сопротивление 50 Ом. Измеряют уровень сигнала U в установленной полосе частот,
i) коэффициент калибровки Fa, дБ, рассчитывают по измеренным
значениям уровней сигнала, используя выражение
Fa = 20 lg\V/U\. (G. 1)
G.4 Метод измерения при оценке влияния внешних электрических полей
G.4.1 Влияние внешнего электрического поля
Влияние внешнего электрического поля проявляется в результате электростатической связи пробника с кабелями, находящимися рядом с пробником. Модели электростатической связи и их эквивалентные схемы представлены на
ГОСТ 30805.16.1.2-2013
рисунке G.4. Общие несимметричные напряжения Vx на кабеле 2 и измеряемое напряжение V на кабеле 1 наводятся на входном зажиме пробника напряжения с высоким входным полным сопротивлением через емкости Сх и С. как показано на рисунке G.4a. Для уменьшения электростатической связи через емкость Сх
используют электростатический экран. Однако из-за несовершенства электростатического экрана не представляется возможным исключить влияние внешнего электрического поля, обусловленное электростатической связью между внешним электродом пробника и другим наружным кабелем (через емкость Сх) (см. рисунок G.4.b).
Методика измерения при оценке влияния электрической связи между внешним электродом электростатического пробника и внешним кабелем приведена в G.4.2.
GA2 Метод измерения при оценке влияния внешнего электрического
поля
Влияние внешнего электрического поля, обусловленное электростатической связью при ограниченной эффективности экранирования, оценивают проведением измерений на измерительной установке, приведенной на рисунке G.5. Измерения проводят в такой последовательности:
a) измеряют коэффициент калибровки Fa = 20 lg \V/U\, применяя метод, указанный в G. 2;
b) размещают емкостной пробник напряжения в калибровочном блоке рядом с кабелем на расстоянии 5 от кабеля, равном 1 см (см. рисунок G.5);
97
ГОСТ 30805161.2-2013
c) подсоединяют порт заземления пробника к внутреннему порту
заземления калибровочного блока. Подсоединяют внешний порт заземления калибровочного блока к пластине заземления,
d) подсоединяют генератор сигналов с выходным полным сопротивлением 50 Ом к внешнему порту 1 через аттенюатор с затуханием 10 дБ,
e) подсоединяют измеритель ИРП с входным полным сопротивлением 50 Ом к внешнему порту 2 и нагружают выходной порт пробника на сопротивление 50 Ом Измеряют уровень сигнала Vsb установленной полосе частот;
f) подсоединяют измеритель ИРП к выходному порту пробника и нагружают внешний порт 2 на сопротивление 50 Ом. Измеряют уровень сигнала Us в установленной полосе частот,
g) рассчитывают по измеренным значениям уровней сигнала коэффициент подавления влияния внешнего электрического поля за счет экранирования пробника, используя выражение
Fs = Fa/(Vs/Us). (G.2)
G.5 Импульсная характеристик а
Емкостной пробник напряжения используют совместно с измерителем ИРП, и его конструкция не должна оказывать влияния на работу ИРП. Так как в состав емкостного пробника напряжения входит активная схема, необходимо знать его импульсную характеристику. Импульсную характеристику емкостного пробника измеряют с помощью генератора импульсов с характеристиками в соответствии с ГОСТ30805.16.1.1, щиложешш В, С, для полосы частот В.
ГОСТ 30805.16.1.2-2013
П римечание — Учитывая трудность измерения импульсной характеристики емкостного пробника напряжения с помощью генератора импульсов, проверка «импульсной способности» возможна проведением измерений его линейности при подаче синусоидальных сигналов, пиковое значение которых равно пиковому значению импульса. Допустимость проведения данных измерений обусловлена тем, что в конструкции емкостного пробника напряжения отсутствуют детектор и полосовой фильтр. Для минимизации амплитуды отраженного сигнала при использовании коаксиального кабеля между генератором сигналов и калибровочным блоком может потребоваться включение аттенюатора. Если стабилизация частотной характеристики необязательна, аттенюатор не требуется.
Импульсная характеристика генератора импульсов должна быть 0,316 мВс в полосе частот от 0,15 до 30 МГц в соответствии с ГОСТ 30805.16.1.1, ишбтащ Б.1 Спектр сигнала генератора импульсов практически не меняется до частоты 30 МГц. Приближенное значение ширины импульса х определяется из уравнения
х= 1/(тс/Д (G.3)
При fm = 30 МГц значение % = 0,0106 мкс.
Амплитуда импульса Л определяется по формуле
А = 0,31 б/т = 29,8 V (G.4)
Из формулы (G.4) следует, что емкостной пробник тока должен сохранять линейность при подаче на него синусоидальных сигналов с амплитудой напряжения до 30 В. Линейно стьпр о бника проверяют измерением коэффициента калибровки^ при увеличении амплитуды напряжения генератора сигналов до 30 В.
99
ГОСТ 30805161.2-2013
G.6 Зависим)сть коэффициента калибровки
Коэффициент калибровки емкостного пробника тока зависит от диаметра испытуемого кабеля и его положения во внутреннем электроде пробника. При измерении кондуктивных ИРП необходимо знать точное значение коэффициента калибровки емкостного пробника. Расчет коэффициента калибровки для кабеля любого типа представляет сложную задачу. Поэтому было проведено исследование оценки влияния конфигурации кабеля на коэффициент калибровки емкостного пробника напряжения.
Для кабелей различных типов и их различного относительного расположения в измерительной установке проводились сравнения значений коэффициентов калибровки, полученных расчетным путем и в результате измерений. Изменение коэффициента калибровки при изменении положения кабеля во внутреннем электроде емкостного пробника напряжения показано на рисунке G.6. При проведении экспериментов кабель заменялся медным штырем.
Сплошная линия на рисунке G.6 иллюстрирует результаты расчетов в зависимости от изменения емкости между внутренним электродом и кабелем, а точками отмечены измеренные значения. Результаты расчетов хорошо согласуются с данными измерений. Можно сделать вывод, что коэффициент калибровки емкостного пробника напряжения не зависит от расположения кабеля во внутреннем электроде при значении коэффициента смещения не более 0,8. Таким образом, для минимизации погрешности измерений необходимо располагать кабель, в котором выполняются измерения, по оси внутреннего электрода емкостного пробника.
Отклонение коэффициента калибровки емкостного пробника напряжения
100
ГОСТ 30805.16.1.2-2013
Fa, дБ, от расчетного значения в зависимости от радиуса кабеля показано на рисунке G.7. Сплошная линия иллюстрирует результаты расчетов значения Fa, выполненных по формуле
12 7US
1+ . а
С 1 Ъ р lg.
а
(G.5)
1+ 1 :л! л
аы
где е ~ диэлектрическая проницаемость,
агв/ — радиус кабеля, используемый в качестве опорного значения.
Другие константы показаны на рисунке Ж. 1.
Значения емкости Ср, а также коэффициента усиления усилителя с низким выходным сопротивлением получены измерением.
Эквивалентный радиус каждого кабеля определен с учетом суммарной площади поперечного сечения всех проводов, входящих в кабель, и соответствует площади поперечного сечения медного штыря. Число проводов в кабеле менялось от 1 до 12. На рисунке G.7 видно, что расчетные значения хорошо согласуются с результатом измерения при использовании медного штыря. Разница между измеренными результатами для реального кабеля и расчетными значениями находится в пределах 2 дБ. Этот результат показывает, что коэффициент калибровки может быть приближенно определен с помощью выражения (G.5) с учетом площади поперечного сечения каждого кабеля
101
|
Вжхсхкй utefcipos |
Примечания
ГОСТ 30805161.2-2013
1 Кабельная оправка используется для центровки испытуемого кабеля внутри пробника. Эта оправка мажет действовать как диэлектрик, увеличивающий электрическую емкость между испытуемым кабелем и внутренним электродом пробника напряжения.
2 Провода источника питания необходимо экранировать, с тем чтобы не допустить воздействия помех в проводах на схемы пробника напряжения.
Рисунок G. 1 — К онструкция емкостного про бннка напряжения
102
|
Ехкосшм кладеное \с тронет* о с иск |
Типовые значения элементов и характеристик конструкции, приведенной на рисунке G.1:
ГОСТ 30805.16.1.2-2013
b =25 мм, с = 55 мм, d = 100 мм, С = 8 пФ (диаметр кабеля 26 мм), Cs = 7 пФ,
Ср = 5 пФ; Rp = 1 МОм; \ZS\« |l/(jcoC)|; Rp » |l/(jco(Cs + ф)|; Zop = 50 Ом; Zr = 50 Ом
Примечание — Указанные значения не являются обязательными. Допускаются другие значения и их комбинации, соответствующие требованиям установленным в
5.2.2.2.
Рисунок G.2 — Эквивалентная схема емкостного пробника напряжения
103
ГОСТ 30805.16.1.2-2013
Примечания
1 Термин «схема стабилизации полного сопротивления» часто используется как синоним термина «асимметричный эквив алент сети» (см например, [4]).
2 Б ГОСТ 30805.22 для обозначения схемы стабилизации полного сопротивления использу ется термин «эквивалент полного сопротивления сети, ЭПСС».
3.7 устройства связи/развязки; УСР (coupling/decoupling network, CDN): Устройства, предназначенные для инжекции ВЧ сигналов в питающие и иные цепи испытуемого ТС при обеспечении малого влияния на другие цепи и для измерения напряжения кондуктивных ИРП.
3.8 затухание при преобразовании общего несимметричного
(асимметричного) напряжения: Отношение общего несимметричного
(асимметричного) напряжения на зажимах схемы к нежелательному симметричному напряжению, возникающему на этих зажимах при наличхш указанного общего неспммепричного (асиммеп/ричного) напряжения.
Приме ч а н и е — Б настоящем стандарте для обозначения затухания при преобразовании общего несимметричного напряжения применен термин «зтпуханне продольного преобразования (ЗПП)», соответствующий термину «longihi(final conversion loss (LCL)».
3.9 эквивалент руки: Успцюйство, состоящее из последовательно
соединенных конденсатора и резистора, подключаемое между? корпусом источника ИРП и опорным заземлением для пмипшщш влияния руки оператора.
3.10 опорное заземление: Соединение или проводящая поверхность,
потенциал которой используется в качестве общего нулевого потенциала (на lqxiKmuKe — пластина заземления (металличеааш лист, подключенный к нише
ГОСТ 30805161.2-2013
Емкостной пробних нлярххеннх
|
Внутренний порт (порт 1) Внутренний порт (порт 2) В мягкий порт (порт 1) Г ене рлтор с нгкаяо» В не амин порт (порт 2) / ^ Измерите га ИГО |
|
Измерите!!! ИРП |
В нм* кий порт з«зехяеши Пластик» зАзехг.еннх
Рисунок G.3 — Испытательная установка для измерения частотной зависимости коэффициента калибровки
104
|
Кабеш 2 ч Эле «рост лтнчес«<й |
а) Эквивалентная схема емкостного пробника напряжения без электростатического экрана
ГОСТ 30805.16.1.2-2013
|
В ку? реккнй >г.е «рок К*6«Я1 2 |
Ь) Эквивалентная схема емкостного пробника напряжения с электростатическим экраном
Рисунок G.4 — Модель электростатической связи и эквивалентная схема для емкостного пробника напряжения
105
ГОСТ 30805161.2-2013
|
Кмпбро» очный блок Внутренний порт (порт 2) Внеиннй порт (порт 1) Генератор снгнляо* |
|
Внутренний порт техпекня Порт >*землення ЕМКОСТНОЙ Пробник КАПрХАеКНХ S — расстояние жехду кгбеяех н хжшиос мехтродом емкостного ПрООННИА КЙХфЛХеКИХ |
Вменили порт (порт2) Hi жерл те та ИРЛ
«so
Рисунок G. 5 — Измерительная установка для измерения подавления влияния внешнего электрического поля за счет экранирования
106
ГОСТ 30805.16.1.2-2013
|
||||||||||||||||||
|
-0.2 0.0 0.2 0.4 0.6 0.8 1.0 1.2 Коэффициент смещения$/(Ь-а) |
||||||||||||||||||
а — радиус кабеля, b — внутренний радиус внутреннего электрода; с — внутренний радиус внешнего электрода, g — расстояние между центрами внутреннего электрода и кабеля
Рисунок G.б — Отклонение коэффициента калибровки при изменении положения кабеля во внутреннем электроде емкостного пробника напряжения
Опорков гкачеше Ыа■ 10;
Ср = 5пФ
ф Иивфвдот 1ка«и11 (абш)
И|шрмиа mrauii (mwnrinmij»)
|
-2 Расчетные чкл’вшся |
50 100 150
200
Отношение радиво» Ыа
а — радиус кабеля, Ъ — внутренний радиус внутреннего электрода.
П римечание — По вертикальной оси указано отклонение коэффициента калибровки Fa от расчетного значения при опорном значении Ыа = 10.
Рисунок G.7-Результат исследования зависимости коэффициента калибровки емкостного пробника напряжения от радиуса кабеля
107
ГОСТ 30805161.2-2013
Приложение Н (справочное)
Обоснование минимального к оэф4ициент а развязки между зажимами сети питания и зажимами «Испытуемое Т С»/»Измеритель ИРП» V-образного эквивалента сети питания
Для уменьшения влияния полного сопротивления сети питания, значение которой является неопределенным, на входное полное сопротивление V-образного эквивалента сети питания следует установить минимальный коэффициент развязки между зажимами сети питания и разъемом «Измеритель ИРП» при определенной нагрузке на зажимах «Испытуемое ТС». При определении коэффициента развязки необходимо учитывать различные типы V-образных эквивалентов сети питания. Схема измерения коэффициента развязки приведена на рисунке Н. 1.
|
50 0м |
|
40 дБ |
|
Примечание — Напряжение U\ измеряют отдельно при нагрузке источника питания 50 Ом Напряжение СЛ может бьпь измерено на зажимах «Испытуемое ТС» или на разъеме «Измеритель ИРП» (в 4.7.2 установлено, что напряжение С7Ч необходимо определять на разъеме «Измеритель ИРП»), |
Рисунок Н. 1 — Схема измерения коэффициента развязки
При значении сопротивления Rx = 4 950 Ом коэффициент развязки (20 lg Ui/U2) равен 40 дБ. Если при данном значении Rx зажимы питания замкнуть накоротко или разомкнуть (режим холостого хода), изменение сопротивления на
ГОСТ 30805.16.1.2-2013
зажимах «Испытуемое ТС» составит 1 %. Следовательно, чтобы влияние сопротивления сети питания на сопротивление эквивалента сети питания было ограничено значением 1 %, необходима развязка 40 дБ (порядок измерения коэффициента развязки приведен в 4.7).
При оценке неопределенности измерения ИРП с применением эквивалента сети в соответствии с ГОСТ 3080S. 16.4.2 принято, что допустимое отклонение входного полного сопротивления эквивалента сети составляет 20 %, и влияние сопротивления со стороны сетевых зажимов не учитывается.
Гарантировать отсутствие такого влияния не представляется возможным. Однако при развязке 40 дБ сохраняется допустимое отклонение 1 % для учета влияния сопротивления со стороны сетевых зажимов. Например, если неопределенность измерения ИРП, обусловленная отклонением входного полного сопротивления эквивалента сети питания, равна 2,6 дБ (ел*. ГОСТ 30805.16.4.2, приложение А, пункт AI), то составляющая данной неопределенности за счет неизвестного значения полного сопротивления сети питания будет равна 0,13 дБ.
При коэффициенте развязки 40 дБ влияние нагрузки на сетевых зажимах на коэффициент калибровки эквивалента сети питания ограничено, и облегчено ослабление помех, действующих в сети питания, до уровня ниже критического. Дополнительное подавление помех может быть достигнуто за счет фильтрации.
Опыт производителей свидетельствует о возможности достаточно простыми способами получить значение коэффициента развязки, равное 40 дБ (если данное значение развязки еще не обеспечено), например путем установки конденсатора между зажимами сети питания и землей
109
ГОСТ 30805161.2-2013
Приложение I (справочное)
Обоснование допустимого отклонения аргумента входного полного сопротивления V-образного эквивалента сети питания
Значение неопределенности измерений UdSpr> установленное в ГОСТ 30805.16.4.2 для измерения ИРП с применением эквивалента сети питания, рассчитывалось на основании «круга неопределенности» Д2*и (см. рисунок 1.1),
который можно также назвать кругом допустимых отклонений полного сопротивления.
|
Границы значения аргумента |
||
|
/25 Ом |
Полное сопротивление ЭСП |
|
Границы значения модуля полного сопротивления
Круг допустимых
склонений по ГОСТ3080S.16.4.2
50 Ом Модуль полного сопротивление Ом
0 Ом
Рисунок 1.1 — Определение допустимых отклонений значения модуля полного сопротивления и аргумента
110
ГОСТ 30805.16.1.2-2013
Однако существующие анализаторы цепей не позволяют определить круг
допустимых отклонений для полного сопротивления. Для этой цели может потребоваться дополнительное программное обеспечение. Поэтому рекомендуется дополнительно к установленному требованию в части допустимого отклонения значения модуля полного сопротивления добавить требование к допустимому отклонению аргумента полного сопротивления.
В соответствии с рисунком 1.1, используя тригонометрические функции, получают при A|Z|/|Z| = 0,2 допустимое отклонение аргумента полного сопротивления Д<р = 11, 54°.
В качестве теоретической основы вычисления неопределенности и повторяемости результатов измерений кондуктивных помех с помощью V-образного эквивалента сети используется [5]. Для объяснения влияния отклонений аргумента полного сопротивления V-образного эквивалента сети могут быть использованы уравнения (б), (5) из [5]:
‘AZin AZd‘
AUm Zd0+Z13
Z А + Ziv,
Л Ud0
где Umi — истинное показание напряжения измерителя ИРП, соответствующего
требованиям ГОСТ 30805.16.4.2, в идеальных условиях,
Z13 — идеальное входное полное сопротивление V-образного эквивалента
сети питания;
Ztn= Z13+AZin,
Zdo, UdQ ~ истинные значения параметров источника ИРП (т. е. испытуемого ТС); о.о- истинное значение коэффициента калибровки V-образного эквивалента
сети,
Umt Zd+Zin
\Z\3 Zd0y
ГОСТ 30805161.2-2013
AUm, Да, AUd, AZin, AZd — отклонения от истинных или идеальных
значений
Для определения влияния допустимых отклонений аргумента полного сопротивления на значение неопределенности измерения составляющие Да, A Ud и
AZrf могут быть приняты равными нулю, тогда используя уравнения (б), (7) в [5], получают
_ ZdO
— r
2 z
^13
UM Zd+Zin
,
Абсолютное значение коэффициента С2 как функции разности аргументов ф = ф2„ — Ф<ю - ф эсп - ф етс полных сопротивлений 2*и и Zjd = Z итс приведено в [5], рисунок 15, для нескольких значений соотношения \ZislZdQ |.
Абсолютное значение коэффициента с? было рассчитано для нескольких значений (р итс (0°, — 45°, — 90°), Ф эсп (0°, 30°, 46°), \Z\?fZfo\ (0,1; 0,2; 0,4; 0,8; 1,0; 1,4) и Аф эсп (- — 3°; — 11,5°, 11,5°; 23°).
Абсолютное значение коэффициента AZ*„/Zi3 принято равным 0,2 (т.е. значению максимально допустимого отклонения модуля входного полного сопротивления ЭСП).
Для сравнения отклонений напряжения, вызванных отклонением аргумента полного сопротивления, уровни напряжения рассчитывались по формуле
201g
Сравнение отклонений напряжения проведено при Аф эсп = — 23° и
112
ГОСТ 30805.16.1.2-2013
Д<р эсп = -11,5°, а также при Д(р зсп = 11,5° и Дер эсп = 23°, т. е. рассчитана разность 5 отклонений уровня напряжения при 23° и уровня напряжения при 11,5е При этом получены следующие результаты:
при (р итс = 0° и ф эсп — 0° разность 6 = 0,018 дБ (max); при (р итс = — 45° и (р эсп = 46° разность 6 = 0,27 дБ (max); при ср итс = — 4 5° и (р эсп = 30° разность 6 = 0,8 б дБ (шах); при ср итс = — 90° и (р эсп = 46° разность 5 = 3,07 дБ (max).
Сравнение отклонений уровня напряжения при Дер зсп = 23 ° и Д(р эсп = 11,5 ° показывает, что на повторяемость результатов измерений влияет не только модуль полного сопротивления V — образного эквивалента сети питания, но также частота (которая определяет (р Эсп) и значение аргумента ср итс (см. также [5], рисунок 15) . Таким образом, проведенные расчеты показывают, что недостаточно определить допустимое отклонение значения модуля входного полного сопротивления V-образного эквивалента сети питания. Ограничение допустимого отклонения аргумента полного сопротивления V-образного эквивалента сети питания и использование АЭС со значением |Дср Эсп хах| = 11,5 ° не вызывает проблем при изготовлении V-образного ЭСП, но улучшает повторяемость результатов измерений для идентичных испытуемых ТС.
113
ГОСТ 30805161.2-2013
заземления). К опорному заземлению подключают измерительное оборудование и испытуемое ТС.
4 Эквиваленты сети питания
Эквивалент сети питания (ЭСП) необходим для обеспечения установленного значения полного сопротивления на зажимах испытуемого ТС (ИТС) на высоких частотах, изоляции измерительной аппаратуры от высокочастотных сигналов в сети питания, подачи напряжения кондукгивных ИРП на измеритель ИРП.
Существуют два основных вида ЭСП: V-образный эквивалент сети питания, с помощью которого измеряют несимметричное напряжение кондукгивных ИРП, и дельтаобразный эквивалент сети питания, обеспечивающий измерение симметричного и общего несимметричного (асимметричного) напряжения ИРП по отдельности. ЭСП должен иметь зажимы «Сеть» для подключения к сети электропитания, зажимы «Испытуемое ТС» для подключения испытуемого ТС, ВЧ разъем «Измеритель ИРП» для по дключения измерителя и клемму заземления.
ЭСП должен быть оснащен экранированным кабелем для подключения к сети электропитания и иметь зажим для заземления экрана кабеля.
Примечания
1 Примеры схем эквивалентов сети питания приведены в приложении А.<

