Машины электрические вращающиеся. Классификация степеней защиты, обеспечиваемых оболочками вращающихся электрических машин

Страница 1

Страница 2

Страница 3

Страница 4

Страница 5

Страница 6

Страница 7

Страница 8

Страница 9

Страница 10

Страница 11

Страница 12

Страница 13

Страница 14

Страница 15

Страница 16

Страница 17

Страница 18

Страница 19

Страница 20

Страница 21

Страница 22

Страница 23

Страница 24

Страница 25
Сг Ьфь* л у у/у/
ГОСУДАРСТВЕННЫЙ СТАНДАРТ СОЮЗА ССР
МАШИНЫ ЭЛЕКТРИЧЕСКИЕ ВРАЩАЮЩИЕСЯ
^ КЛАССИФИКАЦИЯ СТЕПЕНЕЙ ЗАЩИТЫ,
ОБЕСПЕЧИВАЕМЫХ ОБОЛОЧКАМИ ВРАЩАЮЩИХСЯ ЭЛЕКТРИЧЕСКИХ МАШИН
ГОСТ 17494-87 (МЭК 34-5-81)
(СТ СЭВ 247-85)
Издание официальное
государственный КОМИТЕТ СССР ПО СТАНДАРТАМ Москва
УДК 621.313.281-75:006-354 Группа EftO
ГОСУДАРСТВЕННЫЙ СТАНДАРТ СОЮЗА ССР
МАШИНЫ ЭЛЕКТРИЧЕСКИЕ ВРАЩАЮЩИЕСЯ
ГОСТ
17494—87
(МЭК 34-5—81) (СТ СЭВ 247-85)
Классификация степеней защиты, обеспечиваемых оболочками вращающихся мектрических машин
Rotating cJcctrical machinery. Classification of degrees of protection provided by enclosures for rotating machines
Срок действия с 0>.07.88
HwDl.OI.W-
i О г */?ii* *ч
Настоящий сгандарт классифицирует степени защити, обсспс-/ //■ чиваеыые оболочками электрических вращающихся машин без / \ ограничения мощности, частоты вращения и напряжения.
Стандарт устанавливает степени защиты персонала от прикосновения к токоведущим или движущимся частям, находящимся внутри машины, степени защиты от проникновения твердых инородных тел и волы внутрь машины, а также обозначения и методы испытаний степеней защиты.
Стандарт устанавливает требования, которым должны удовлетворять защитные оболочки.
Стандарт распространяется только на оболочки, которые во всех других отношениях соответствуют их назначению, материалы и конструкция которых в нормальных условиях эксплуатации обеспечивают неизменность какой-либо степени защиты, предписанной настоящим стандартом.
Стандарт не устанавливает степени защиты машин от механических повреждений или от таких воздействий как влажность (возникающая, например, в результате конденсации), коррозионные пары, плесневые грибы и т. п., а также не указывает способов защиты машин, предназначенных для использования во взрывоопасной среде.
Внешние по отношению к оболочке ограждения, которые должны обеспечивать только безопасность персонала, не считаются частью оболочки и поэтому не рассматриваются в настоящем стандарте.
Издание официальное
Перепечатка воспрещена
© Издательство стандартов, 1987
С. 2 ГОСТ 17494-87
1. ОБОЗНАЧЕНИЯ
Степень защити обозначают латинскими буквами IP и характеристическими цифрами, означающими соответствие машин условиям, изложенным в табл. 1—2.
1.1. Если требуется обозначить степень защиты одной характеристической цифрой, то опущенную цифру следует заменить буквой X. Например: IPX5 или IP2X.
1.2. Дополнительная информация может быть дана при помощи буквы (S, М, W).
1.2.1. Для специальных применений (например, для машин с открытой цепью охлаждения, устанавливаемых на палубе кораблей, с закрытыми во время стоянки воздухозаборными отверстиями) за цифрами может следовать буква, указывающая, проводится ли испытание на защищенность от вредных воздействий проникающей воды на кевращающейся машине (буква S) или на вращающейся машине (буква М).
В этом случае степень защиты машииы следует указывать для каждого состояния, например IP55S/IP20M.
Отсутствие букв S и М означает, что требуемая степень защиты будет обеспечена при всех нормальных условиях эксплуатации.
1.2.2. Для машин, предназначенных для использования при определенных погодных условиях и с дополнительно принятыми мерами защиты, может быть использована буква W (помешается сразу после букв IP).
1.3. Пример обозначения
IP44
Ц-Обозначение степени зашиты по табл. I (первая
характеристическая цифра)
I-Обозначение степени зашиш по табл. 2 (вторая
характеристическая иифра)
2. СТЕПЕНИ ЗАЩИТЫ
2.1. Первая характеристическая цифра означает степень зашиты, обеспечиваемую оболочкой, от проникновения инородных твердых тел — это относится к защите персонала от прикосновения к токоведущим и движущимся частям и к защите машины.
В табл. 1, графа 3 дано подробное описание предметов, которые «не должны проникать» в оболочку для соответствующей степени защиты, обозначенной первой характеристической цифрой.
Термин «не должен проникать» означает, что часть тела, инструмент или проволока, которую держит человек, не проникнут в машину, а если и проникнут, то между ними и токоведуишмн или опасными движущимися частями (гладкие вращзющигт
ГОСТ 17494-87 С. 3
валы и подобные им части не считаются опасными) остается безопасное расстояние.
В графе 3 также указывается минимальный размер твердых инородных тел. которые не должны проникать в машину.
Т а б л к ц а 1
|
Степени зашиты, обозначенные пераой характеристической цифрой |
|||||||||||||||||||||||||||
|
|||||||||||||||||||||||||||
|
2-1302 |
|||||||||||||||||||||||||||
С. 4 ГОСТ 17494-87
|
П;ю<Уолженис табл. I |
|||||||||||||||||||||||
|
|||||||||||||||||||||||
Примечания.
1. Краткое описание, указанное в графе 2, не следует использовать для определения степени защиты.
2. Машины, имеющие степень зашиты, определяемую периоЯ характеристической цифрой 1—4, должны выть защищены от проникновения твердых предметом лрапильной и испрамильной формы, размеры которых в трех взаимно перпендикулярных направлениях превышают значения, прицеленные в графе 3.
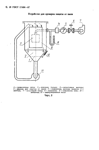
3. Степень защиты от пыли, устанавливаемая настоящим стандартом, носит общий характер. Если указано происхождение пыли (размеры частиц, их природа, например, волокнистые частицы), то услоиии испытаний определяются по соглашению между изготовителем и потребителем.
2.2. Оболочка с указанно» степенью защиты будет также удовлетворять всем более низким степеням защиты, приведенным в табл. I. Испытания, устанавливающие соответствие этим более низким степеням защиты, не проводят, за исключением сомнительных случаев.
2.3. Вторая характеристическая цифра означает обеспечиваемую оболочкой степень защиты от вредных воздеПствий проникающей воды.
ГОСТ 17494-87 С. 5
В графе 3 табл. 2 дано подробное описание тина зашиты, обеспечиваемой оболочкой для каждой степени защиты, обозначенной второй характеристической цифрой.
Машина является защищенной от климатических воздействий, если благодаря конструктивным мерам проникновение дождя, снега и частиц, находящихся в воздухе, уменьшается до такой степени, что это не мешает нормальной работе машины. Эта степень зашиты обозначается буквой W (помешается между буквами 1Р и характеристическими цифрами).
Таблица 2
|
Степени защиты, обозначенные второй характеристической цифрой |
||||||||||||||||||||||||||||||||||||||||
|
||||||||||||||||||||||||||||||||||||||||
С. 6 ГОСТ 17494-87
|
Продолжение табл. 2 |
|||||||||||||||||||||||
|
|||||||||||||||||||||||
Примечание. Краткое описание, указанное в графе 2, не следует использовать для определения типа защиты.
2.4. Оболочка с указанной степенью защиты будет также удовлетворять всем более низким степеням защиты, приведенным в табл. 2. Испытания, устанавливающие соответствие этим более низким степеням защиты, не проводят, за исключением сомнительных случаев.
2.5. Степени защити электрических машин должны соответствовать указанным в табл. 3.
ГОСТ 17494-87 С. 7′
|
Таблица 3 |
|||||||||||||||||||||||||||||||||||||||||||||||||||||||||||||||||||||||||||||||
|
|||||||||||||||||||||||||||||||||||||||||||||||||||||||||||||||||||||||||||||||
|
♦ Рекомендованы МЭК 34—5—81. |
|||||||||||||||||||||||||||||||||||||||||||||||||||||||||||||||||||||||||||||||
Примечание. Исходя из специфических особенностей отдельных видов электрических машин, допускаются другие степени зашиты.
2.6. Если электрическая машина имеет коробку выводов или контактных колец, то степень зашиты коробки должна соответствовать степени защиты электрической машины, но не должна быть менее IP20 для коробки выводов и IP23 —для коробки контактных колец, если степень зашиты электрической машины менее IP20.
2.7. У машины со степенью защиты IP43 или IP44, имеющей продуваемый воздухом ротор, степень зашиты для прохода воздуха через ротор не должна быть менее IP23. При этом конструкция машины с продуваемым ротором должна обеспечивать соответственно степень защиты IP43 или IP44 внутренней части машины (зоны расположения обмоток статора и ротора) от тракта, по которому проходит воздух, охлаждающий ротор.
Со стороны выхода воздуха (промежутки между наружными ребрами станины или трубы) должна быть обеспечена защита от соприкосновения испытательного пальца с вращающимися вентилятором и от попадания крупных твердых посторонних тел (диаметром более 50 мм).
2.8. Внешние вентиляторы
Защиту персонала от прикосновения к лопастям или крыльчатке вентиляторов, находящихся вне оболочки, следует осуществлять при помощи устройств, удовлетворяющих следующим требованиям.
Степень зашиты машины Испытание защитного устройства вентилятора
1Р0Х и IP1X Испытание при помощи швра диаметром 50 ым
IP2X до FP5X Испытание при помощи испытательного падьиа
С. 8 ГОСТ I74W-87
Гладкие вращающиеся валы и подобные нм части не считаются опасными.
Примечание. В некоторых случаях (машины для сельского хозяйства или бытовой техники) ногут погребоазп.ся более тшэтельные меры предосторожности от случайного или умышленного прикосновения.
2.9. О т ве рст и я для слива конденсата
Машины с защитой IP3X или IP4X могут иметь отверстия для слива конденсата с защитой 1Р2Х.
Машины с защитой IP5X должны иметь отверстия для слива конденсата с защитой IP4X.
3. МАРКИРОВКА
3.1. Характеристические буквы и цифры рекомендуется наносить на паспортную табличку или, если это невозможно, на оболочку.
Если части машин имеют неодинаковые степени защиты, то следует сначала указывать обозначение самой низкой степени защиты, а затем остальные степени защиты с указанием той части машины, к которой они относятся, например: IP22, коробка выводов — IP14.
3.2. Степень защиты наружных вентиляторов, устанавливаемых на валу или приводимых во вращение от вала машины, и степень защиты отверстий для слива конденсата допускается не указывать, если они удовлетворяют требованиям пп.*2.8 и 2.9.
3.3. Если способ монтажа машины на месте эксплуатации влияет на степень защиты, то необходимые меры защиты должны быть указаны изготовителем на паспортной табличке или в инструкции по монтажу и эксплуатации.
4. МЕТОДЫ ИСПЫТАНИЯ
Испытания, указанные в настоящем стандарте, являются типовыми.
Эти испытания следует проводить на серийных изделиях или на их макетах. Если это невозможно, то проверка и испытание осуществляются по соглашению между изготовителем и потребителем. Если нет другого указания, то образцы машин для каждого испытания должны быть новыми и чистыми, все части смонтированы так, как указано изготовителем.
В некоторых случаях для первых характеристических цифр 1, 2 и вторых характеристических цифр 1—4 достаточно визуального осмотра, чтобы убедиться, что предусмотренная степень защиты обеспечивается. В этом случае проводить испытания необязательно. Однако в сомнительных случаях испытания следует проводить в соответствии с пп. 4.6—4.7.
ГОСТ 17494-87 С. 9
4.1. Достаточное расстояние
Термин «достаточное расстояние» означает следующее.
4.1.1. Низковольтные машины (номинальное напряжение не выше 1000 В переменного тока и 1500 В постоянного тока).
Испытательное устройство (шар, испытательный палец, проволока и т. д.) не касается токоведущих или движущихся частей машины, кроме не представляющих опасности, например, гладких вращающихся валов.
4.1.2. Высоковольтные машины (номинальное напряжение выше 1000 В переменного тока и 1500 В постоянного тока).
При помещении испытательного устройства в наиболее благоприятном (ых) месте (ах) машина должна удовлетворять требованиям испытания на электрическую прочность, предусмотренным для этой машины.
Испытание на электрическую прочность может быть заменено измерением воздушного зазора, который должен быть таким, чтобы при наиболее неблагоприятной форме электрического поля его электрическая прочность была бы гарантированной.
4.2. При испытании зашиты внешних вентиляторов (п. 2.8) ротор медленно вращают рукой.
4.3. Если оболочка имеет отверстия для слива конденсата, то необходимо учесть следующее:
отверстия для слива конденсата, которые нормально открыты при работе, должны быть открыты и при испытании;
отверстия для слива конденсата, которые нормально закрыты при работе, должны быть закрыты и при испытании.
4.4. Проверка степени защиты зоны расположения обмотки статора и ротора у электрической машины со степенями защиты IP43 и IP44, имеющей продуваемый ротор, должна проводиться как экспериментально, так и по рабочим чертежам При проверке степени зашиты от соприкосновения и попадания тел все детали, ограничивающие доступ к внутреннему тракту (жалюзи, кожух вентилятора и вентилятор), должны быть сняты.
4.5. Испытания на степень зашиты от проникновения воды проводят в следующих режимах:
в отключенном состоянии, если степень защиты относится только к неподвижному состоянию машины (буква S);
во включенном состоянии, если степень защиты относится к вращающемуся состоянию машины (буква М);
как в отключенном, так и во включенном состояниях, если степень зашиты относится и к неподвижному и вращающемуся состоянию машины (отсутствие букв S и М в обозначении).
4.6. Испыта ние на соответствие первой характеристической цифре
Условия испытания и критерии для первой характеристической цифры даны в табл. 4.
С. 10 ГОСТ 17494-87
|
Условва испытаний ка соответствие первой характеристической цифре |
||||||||
|
ГОСТ 17494-87 С. 11
|
Продолжение табл. 4 |
||||||||
|
С. 12 ГОСТ 17494-87
|
Продолжение табл. 4 |
||||
|
4.7. Испытания на соответствие второй характеристической цифре
4.7.1. Условия испытаний
Условия испытаний на соответствие второй характеристической цифре указаны в табл. 5. При испытании следует использовать пресную воду.
Во время испытаний влага, содержащаяся внутри оболочки, может частично конденсироваться. Конденсат, который при этом образуется, не следует принимать за просачивающуюся воду.
Для испытаний поверхностная площадь машины должна быть определена с точностью до 10%.
Следует принять соответствующие меры безопасности при испытании машины под напряжением.
ГОСТ 17494-87 С. 13
Таблниа 5
|
Условия испытаний иа соответствие второй характеристической цифре |
||||||||||
|
С. 14 ГОСТ 17494-87
|
Продолжение табл. 5 |
||||||||
|
|
Разбрызгивающее устройство должно быть снабжено подвижным экраном с противовесом. Давление воды регулируют так, чтобы расход воды составлял (I0i0.5) л/мин (давление приблизительно 80 -100 кПа (0.8—1.0 бар). Продолжительность испытания—1 мнн на каждый квадратный метр расчетной поверхности машины (за исключением монтажных поверхностей), но не менее 5 мин |
|
|
4 |
Условия выбора устройства, указанного на черт. л или 5. такие же, как установленные для второй характеристической цифры 3. Исполню иание устройства, указанного на черт 4. Качающаяся трубка должна иметь отверстия на всей своей длине (дуга приблизительно 180°) Продолжительность испытании, скорость вращения поворотного стола и давление воды должны быть такими же. как для степени зашвгы 3. Подставка для испытуемой машины должна быть решетчатой для лучшего стока йоды: оболочка должна обрызгиватг-гя водой со всех сторон при помощи качающейся со скоростью 607с трубки (до предела перемещения в каждом направления). Использование устройства, указанного на черт. 5 Подвижный экран с противовесом снимают с разбрызгивающего устройства и машину обрызгивают со всех возможных направлений. Расход воды, время обрызгивания единицы площади такие же, как для степени защиты 3 |
|
5 |
Испытание проводят обливанием машины со всех возможных направлений струей поды из шланга со стандартным непитательным нахонечником, указанным на черт. 6. При испытании необходимо соблюдать следующие условия: внутренний диаметр наконечника — 6.3 им; расход воды — 12.5-*0.625 л/мин: давление воды яа выходе из наконечника (приблизительно) — 30 кПа (0,3 бар) (см. примечание 1); продолжительность испытания каждого квадратного метра поверхности машины — 1 мни; минимальная продолжительность испытания—3 мин; расстояние от наконечника до по-верх пости машины (приблизительно) — 3 м (см примечание 2). (Это расстояние может быть уменьшено, для обеспечения смачивания оболочки вертикальной струей воды) |
|
6 |
Испытание проводят обливанием машины струей воды со всех возможных направлений из шланга со стандартным испытательным наконечником, указанным на черт. 6. При испытании необходимо соблюдать следующие условия, внутренний диаметр наконечника— )2,5 мм; расход воды—100±5 л/мин; давление воды на выходе из наконечника (приблизительно) — J00 кПа (1 бар) (см. примечание 1); продолжительность испытания каждого квад- |
ГОСТ 17494-87 С. 15
|
Продолжение табл. 5 |
||||||||
|
Примечания:
1. Измерение давления воды на выходе из наконечника можно заменить измерением иысоты, на которую свободно под
