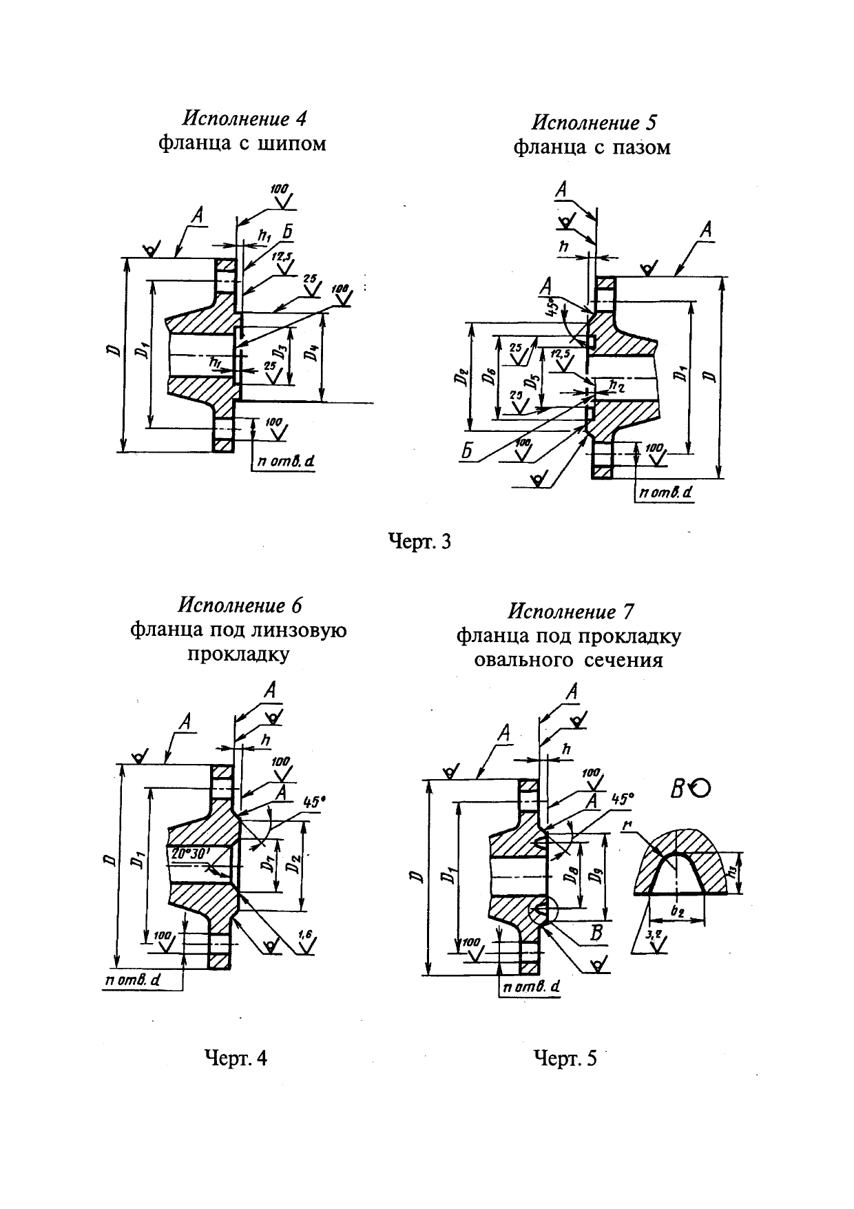
Фланцы арматуры, соединительных частей и трубопроводов на Py от 0,1 до 20,0 МПа (от 1 до 200 кгс/см2). Типы. Присоединительные размеры и размеры уплотнительных поверхностей
На нашем сайте можно бесплатно скачать ГОСТ 12815-80 (1996 с попр. 1998) в удобном формате. Узнать актуальный статус ГОСТА «Фланцы арматуры, соединительных частей и трубопроводов на Py от 0,1 до 20,0 МПа (от 1 до 200 кгс/см2). Типы. Присоединительные размеры и размеры уплотнительных поверхностей» на 2016 год.
Скрыть дополнительную информацию

Страница 1

Страница 2

Страница 3

Страница 4

Страница 5

Страница 6

Страница 7

Страница 8

Страница 9

Страница 10

Страница 11

Страница 12

Страница 13

Страница 14

Страница 15

Страница 16

Страница 17

Страница 18

Страница 19
