Инструмент пороховой. Типы. Технические данные, область применения. Хранение и ремонт
На нашем сайте можно бесплатно скачать Руководящий документ РТМ 36.6-87 в удобном формате. Узнать актуальный статус документа «Инструмент пороховой. Типы. Технические данные, область применения. Хранение и ремонт» на 2016 год.
Скрыть дополнительную информацию

Страница 1

Страница 2

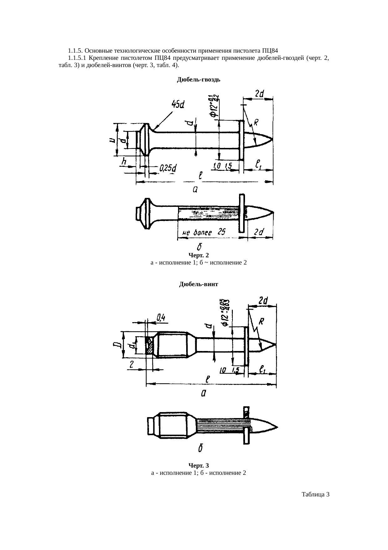
Страница 3

Страница 4

Страница 5

Страница 6

Страница 7

Страница 8

Страница 9

Страница 10

Страница 11

Страница 12

Страница 13
