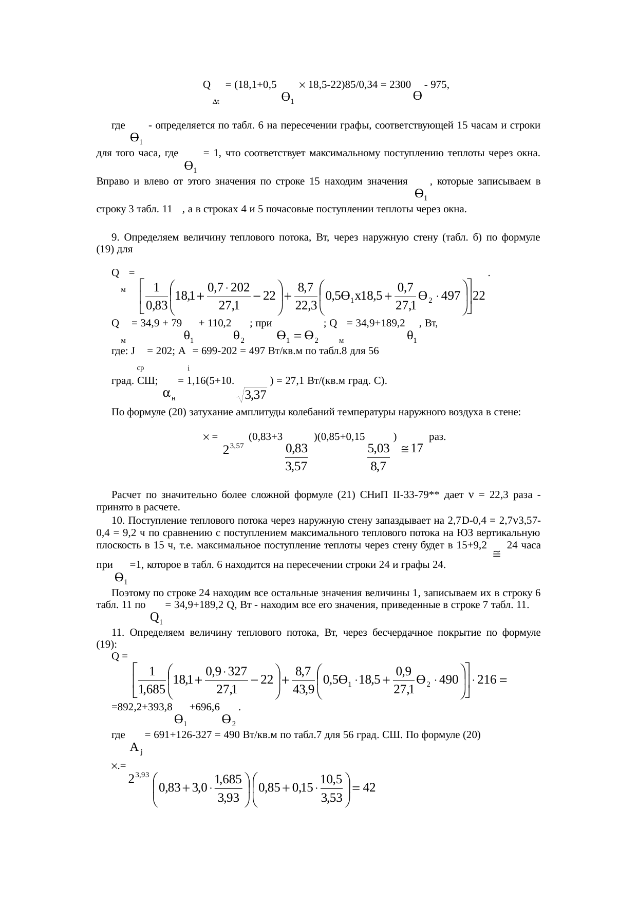
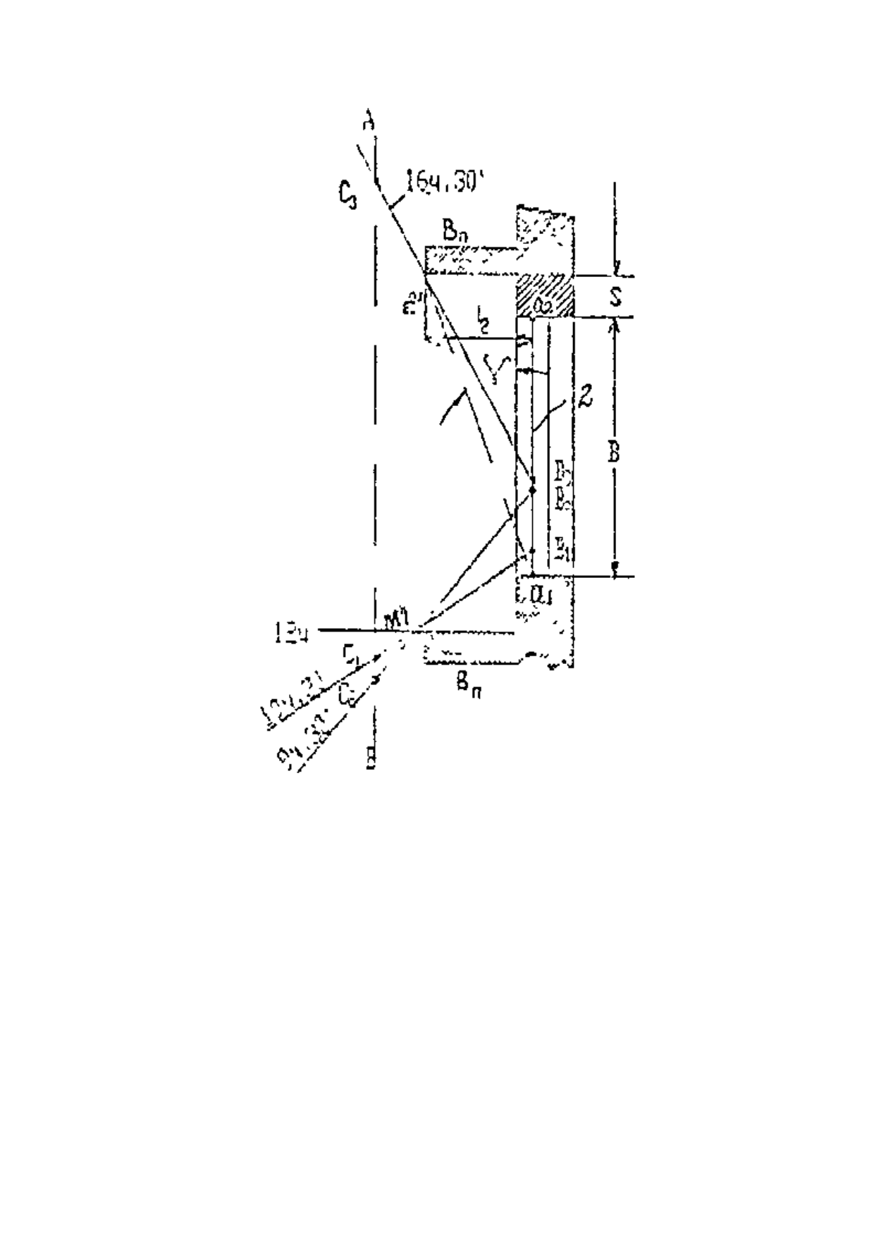
Расчет поступления теплоты солнечной радиации в помещения
На нашем сайте можно бесплатно скачать Руководящий документ Пособие 2.91 (к СНиП 2.04.05-91) в удобном формате. Узнать актуальный статус документа «Расчет поступления теплоты солнечной радиации в помещения» на 2016 год.
Скрыть дополнительную информацию

Страница 1

Страница 2

Страница 3

Страница 4

Страница 5

Страница 6

Страница 7

Страница 8

Страница 9

Страница 10

Страница 11

Страница 12

Страница 13

Страница 14

Страница 15

Страница 16

Страница 17

Страница 18

Страница 19

Страница 20

Страница 21

Страница 22

Страница 23

Страница 24

Страница 25

Страница 26

Страница 27

Страница 28

Страница 29

Страница 30

Страница 31

Страница 32

Страница 33

Страница 34

Страница 35

Страница 36

Страница 37

Страница 38
