Руководство по оценке транспортно-эксплуатационного состояния мостовых конструкций
Заменяет

Страница 1

Страница 2

Страница 3

Страница 4

Страница 5

Страница 6

Страница 7

Страница 8

Страница 9

Страница 10

Страница 11

Страница 12

Страница 13

Страница 14

Страница 15

Страница 16

Страница 17

Страница 18

Страница 19

Страница 20

Страница 21

Страница 22

Страница 23

Страница 24

Страница 25

Страница 26

Страница 27

Страница 28

Страница 29

Страница 30

Страница 31

Страница 32

Страница 33

Страница 34

Страница 35

Страница 36

Страница 37

Страница 38

Страница 39

Страница 40

Страница 41

Страница 42

Страница 43

Страница 44

Страница 45

Страница 46

Страница 47
МИНИСТЕРСТВО ТРАНСПОРТА РОССИЙСКОЙ ФЕДЕРАЦИИ
ГОСУДАРСТВЕННАЯ СЛУЖБА ДОРОЖНОГО ХОЗЯЙСТВА
(РОСАВТОДОР)
Утверждено
распоряжением Минтранса России
№ ОС-198-р от 26.03.2003 г.
Отраслевые дорожные нормы
РУКОВОДСТВО
ПО ОЦЕНКЕ ТРАНСПОРТНО-
ЭКСПЛУАТАЦИОННОГО СОСТОЯНИЯ
МОСТОВЫХ КОНСТРУКЦИЙ
ОДН 218.017-2003
Москва 2004
Предисловие
Разработаны и внесены Государственным предприятием ГП «РосдорНИИ».
Приняты и введены в действие распоряжением Министерства транспорта Российской Федерации № ОС-198-р от 26.03.2003 г.
Введены в действие с 01.04.2003 г.
При разработке ОДН учтены требования ОСТ 218.002-98 [1].
СОДЕРЖАНИЕ
|
Общие положения. 2 1. Область применения. 3 2. Определения и сокращения. 3 3. Нормативные ссылки. 4 4. Требования отраслевых дорожных норм.. 4 4.1. Транспортно-эксплуатационные показатели состояния конструктивных элементов мостового полотна. 4 4.2. Транспортно-эксплуатационные показатели состояния продольного профиля и габарита. 5 4.3. Требования к транспортно-эксплуатационному состоянию.. 8 4.4. Оценка транспортно-эксплуатационного состояния мостового сооружения. 9 4.5. Прогноз изменения транспортно-эксплуатационного состояния. 10 Приложение А. Таблицы износа элементов мостового полотна, влияющих на условия движения автомобилей. 11 Приложение Б. Определение износа ограждающих устройств на мостовых сооружениях. 14 Приложение В. Примерная динамика изменения показателей износа во времени для элементов, влияющих на скорость движения по мостам: 17 |
ОБЩИЕ ПОЛОЖЕНИЯ
Отраслевые дорожные нормы (ОДН) разработаны как документ, определяющий одно из потребительских свойств мостового сооружения — его способность обеспечивать безопасный проезд автомобилей в процессе эксплуатации сооружения. Показателем транспортно-эксплуатационного состояния является безопасная скорость автомобиля при различном состоянии элементов сооружения.
ОДН дополняют существующие требования к другим потребительским свойствам (грузоподъемность, долговечность) требованиями по количественной оценке условий движения, что дает возможность определить обобщенный показатель состояния сооружения, используемый при планировании затрат на содержание и ремонт. Имевшая место в предыдущих нормативных документах качественная оценка условий движения не давала информации о влиянии состояния элементов сооружения на скорость движения и не позволяла, в связи с этим, своевременно принимать меры по устранению повреждений на проезжей части и предупреждению ДТП.
Кроме того, ОДН дают дополнительную информацию о возможном динамическом воздействии грузовых автомобилей на элементы конструкций (через динамический коэффициент), если не выдерживаются требования по безопасной скорости движения по неровной проезжей части. При этом значения динамических коэффициентов даны для оси грузового автомобиля.
Значения скоростей и перегрузок получены экспериментальным и расчетным путем. Они могут быть использованы для обоснования ремонта или реконструкции сооружений (включая прогноз изменения состояния), определения размера ограничения скоростей движения, дополнительной проверки прочности плит проезжей части, переходных плит и конструкций деформационных швов при воздействии нагрузки с увеличенным (1 + μ).
Условия движения отнесены к пяти группам:
О — обеспечивается комфортный проезд;
А — обеспечивается плавный проезд (ограничения скорости не требуется);
Б — сохраняются условия безопасности проезда, хотя требования по плавности не соблюдены (вводятся незначительные ограничения скорости движения);
В — сохраняются условия безопасного проезда, но требуются ограничения не только скорости, но и массы грузовых автомобилей;
Г — движение автомобилей опасно (организация движения должна быть пересмотрена вплоть до закрытия движения по мосту или полосе).
Критериями для разделения условий движения на пять групп (пять категорий состояния) явились величины вертикальных ускорений, передаваемых на водителя и пассажиров. В частности, плавность движения считается обеспеченной, если вертикальные ускорения не превышают
ä = 0,25 · g (g — ускорение свободного падения),
а безопасность нарушена, если вертикальные ускорения превышают
ä = 1,0 · g.
По таким критериям оценено состояние покрытия, сопряжения, деформационных швов и продольного профиля (Приложение А).
Оценка безопасности ограждения дана на основании сопоставления требуемой и фактической их удерживающей способности (энергоемкости). Требуемые значения энергоемкости изложены в Приложении Б (с учетом [2]).
Критерием оценки плавности и безопасности при изменении состояния системы водоотвода является изменение коэффициента сцепления колес легкового автомобиля с покрытием из-за наличия на проезжей части воды (медленный отвод воды с проезжей части). Граница безопасности при этом определена как скорость, превышение которой может вызвать аквапланирование, что соответствует такому очертанию продольного и поперечного профиля, когда вода может находиться в пределах всей ширины проезжей части.
Значения безопасных скоростей движения по мостовым сооружениям с заниженным габаритом определены на основании экспериментов, по которым устанавливалась фактическая скорость, которую выбирает водитель с позиции безопасности в составе потока различной интенсивности.
Отраслевые дорожные нормы разработаны в дополнение и развитие отдельных положений, касающихся мостовых сооружений и изложенных в ОДН 218.0.006-2002 [3], а также взамен требований к оценке безопасности движения сооружений, приведенной в ВСН 4-81/90 [4]. При разработке ОДН учтен опыт нормирования показателей безопасности движения по мостам на региональном уровне [5].
Нормы разработаны в ГП «РосдорНИИ» канд. техн. наук Шестериковым В.И. (руководитель работы) при участии канд. техн. наук Шейнцвита М.И., канд. техн. наук Мусатова С.А. и инж. Шестерикова А.В.
1. ОБЛАСТЬ ПРИМЕНЕНИЯ
Настоящие ОДН распространяются на мостовые сооружения (далее МС), расположенные на общей сети автомобильных дорог Российской Федерации, и применяются службами государственного управления дорожным хозяйством, физическими и юридическими лицами, ведущими дорожную деятельность, а также проектными и научно-исследовательскими дорожными организациями. ОДН предназначены для использования в качестве руководства при выполнении диагностики, обследования или других видов осмотров МС, а также при принятии решения о видах и объемах ремонтных работ и работ при содержании в соответствии с [6].
Предметом нормирования настоящих ОДН являются:
— значения безопасных скоростей движения автомобилей при различном состоянии элементов мостового полотна и продольного профиля, а также различных габаритах МС;
— величины динамических перегрузок (динамические коэффициенты), которые возникают при движении грузовых автомобилей по поврежденной проезжей части МС;
— требования к транспортно-эксплуатационному состоянию (ТЭС) МС, исходя из условий движения;
— правила прогнозирования ТЭС;
— оценка ТЭС.
2. ОПРЕДЕЛЕНИЯ И СОКРАЩЕНИЯ
Мостовое сооружение (МС) — искусственные сооружения на автомобильных дорогах в виде мостов, путепроводов, эстакад, скотопрогонов, виадуков.
Потребительские свойства мостовых сооружений — совокупность эксплуатационных параметров, отражающих функциональные, технологические и социально-экономические свойства сооружения.
Функционально-потребительские свойства мостовых сооружений — совокупность эксплуатационных параметров, отражающих способность сооружения выполнять свою основную функцию: обеспечивать безопасное и комфортное движение автомобилей с расчетными скоростями в нерегулируемом режиме в течение расчетного срока службы. К функциональным потребительским свойствам относятся грузоподъемность, пропускная способность, скорость, безопасность, долговечность сооружения.
Транспортно-эксплуатационное состояние (ТЭС) мостового сооружения — состояние, отражающее соответствие сооружения своему функциональному назначению по условиям движения (скорости, безопасности и пропускной способности).
Оценка транспортно-эксплуатационного состояния — определение степени соответствия нормативным требованиям фактических условий движения по сооружению.
Транспортно-эксплуатационные показатели (ТЭП) мостовых сооружений — показатели, отражающие влияние на условия движения фактических геометрических параметров сооружения и состояния элементов мостового полотна. К таким показателям относятся обеспечиваемая безопасная скорость и фактические создаваемые перегрузки в несущих конструкциях из-за изменившегося состояния элементов мостового полотна.
Износ — показатель состояния элемента, отражающий степень снижения его функциональных качеств.
3. НОРМАТИВНЫЕ ССЫЛКИ
В настоящих нормах использованы ссылки на следующие нормативно-технические документы:
1. ОСТ 218.002-98. Порядок разработки, внесения изменений и переработки нормативных документов дорожного хозяйства. ФДС России. — М., 1998.
2. ОДН 218.012-99. Общие технические требования к ограждающим устройствам на мостовых сооружениях, расположенных на магистральных автомобильных дорогах. Информавтодор. — М., 1999.
3. ОДН 218.0.006-2002. Правила диагностики и оценки состояния автомобильных дорог/Росавтодор Минтранса России. — М., 2002.
4. Инструкция по проведению осмотров моста и труб на автомобильных дорогах. ВСН 4-81(90)/Минавтодор РСФСР. — М., 1990.
5. РДН 218.05.14-2000. Определение и прогнозирование износа элементов мостовых сооружений на автомобильных дорогах Краснодарского края. Региональные дорожные нормы РДН 218.05.14-2000. — М.: Верстка, 2001.
6. Методические рекомендации по содержанию мостовых сооружений на автомобильных дорогах/Росавтодор Минтранса России. — М., 1999.
7. СНиП 2.05.02-85. Автомобильные дороги. Госстрой СССР. — М., 1986.
8. СНиП 2.05.03-84*. Мосты и трубы/Минстрой России. — М., 1996.
9. Концепция улучшения состояния мостовых сооружений на федеральной сети автомобильных дорог России (на период 2002 — 2010 гг.). Росавтодор Минтранса России. Утверждена распоряжением Минтранса России № ИС-1146-р от 25.12.2002 г. — М., 2003.
10. Классификация работ по ремонту и содержанию автомобильных дорог общего пользования. Распоряжение Росавтодора № ИС-5р от 03.01.02. — М., 2002.
4. ТРЕБОВАНИЯ ОТРАСЛЕВЫХ ДОРОЖНЫХ НОРМ 4.1. Транспортно-эксплуатационные показатели состояния конструктивных элементов мостового полотна
4.1.1. Транспортно-эксплуатационными показателями (ТЭП), нормируемыми настоящими ОДН, являются:
— безопасная скорость движения [V], км/ч;
— величина перегрузки элементов МС, представленная значениями динамического коэффициента (1 + μ) к осевой нагрузке.
За безопасную скорость [V] принята максимальная скорость легкового автомобиля с 95 %-ной обеспеченностью.
Величины [V] и (1 + μ) зависят от величины износа элементов (см. Приложение А). При состоянии, не требующем снижения скорости движения, за безопасную скорость принимается расчетная скорость движения по дороге той или иной категории.
4.1.2. Значения безопасных скоростей и перегрузок приведены в таблицах №№ 1 — 5 для различных элементов мостового полотна.
Таблица 1
Покрытие
|
Износ, % |
0 — 20 |
30 |
40 |
50 |
60 |
70 |
80 |
> 80 |
|
[V], км/ч |
≥ 150 |
120 |
100 |
80 |
60 |
40 |
20 |
10 |
|
1 + μ |
1,0 ÷ 1,1 |
> 1,1; ≤ 1,25 |
> 1,25; ≤ 1,6 |
> 1,6; ≤ 2,0 |
> 2,0 |
|||
Таблица 2
Система водоотвода
|
Износ, % |
0 — 40 |
50 |
60 |
70 |
100 |
|
[V], км/ч |
Vр |
70 |
60 |
40 |
20 |
Таблица 3
Сопряжение моста с подходом
|
Износ, % |
10 |
20 |
40 |
50 |
60 |
70 |
80 |
> 80 |
|
[V], км/ч |
≥ 150 |
130 |
100 |
70 |
50 |
30 |
20 |
0 ÷ 10 |
|
1 + μ |
1,0 — 1,1 |
> 1,1; ≤ 1,25 |
1,25 — 1,6 |
> 1,6; ≤ 2,0 |
— |
|||
Таблица 4
Деформационные швы (для пролетных строений различной длины L)
|
Износ, % |
0 — 20 |
40 |
60 |
80 |
> 80 |
|
|
[V], км/ч |
L £ 100 м |
Vр |
100 |
80 |
60 |
40 |
|
L до 200 м |
60 |
40 |
30 |
|||
|
L > 200м |
50 |
30 |
10 |
|||
|
1 + μ |
1,0 ÷ 1,1 |
> 1,1; ≤ 1,25 |
> 1,25 — ≤ 1,6 |
> 1,6; < 2,0 |
2,2 |
|
Таблица 5
Ограждения
|
Износ, % |
0 — 20 |
50 |
100 |
|
[V], км/ч |
Vр |
0,7 Vр |
20 |
4.1.3. Значения [V] в промежутках между показателями износа, приведенными в табл. 1 — 5, принимают по интерполяции. Значения динамических коэффициентов даны к осевым нагрузкам эталонных автомобильных транспортных средств, используемых в расчетах на прочность элементов согласно условиям табл. 6.
Таблица 6
Использование значений динамических коэффициентов
|
Поврежденный элемент |
(1 + μ) учитывается в расчетах на прочность элементов |
|
Покрытие (табл. 1) |
Плита проезжей части (плита) Настил |
|
Сопряжение (табл. 3) |
Переходная плита Концевые участки плиты (настила) |
|
Деформационные швы (табл. 4) |
Деформационные швы Концевые участки плиты (настила) |
4.2. Транспортно-эксплуатационные показатели состояния продольного профиля и габарита
4.2.1. Продольный профиль.
4.2.1.1. Влияние продольного профиля на условия движения проявляется в появлении вертикальных ускорений автомобилей и, как следствие, — дополнительных нагрузок на несущие конструкции. Перегрузки от нарушения плавности движения при наличии углов перелома над опорами воспринимаются плитой проезжей части и несущими конструкциями (балками, плитами) длиной до 45 м. При этом с увеличением углов перелома возрастает динамический коэффициент при неизменной скорости или снижается допустимая (безопасная) скорость, при которой неизменной остается величина перегрузки.
4.2.1.2. Значения безопасных скоростей движения при различных углах перелома приведены в табл. 7, а взаимосвязь между условиями движения (критерий — вертикальные ускорения), скоростями и углами переломов представлена графически на рис. 1.
Рис. 1. Углы перелома профиля, ‰
Таблица 7
Ограничение скорости при различных углах переломов в профиле проезжей части
|
Условия движения |
[V], км/ч, при углах перелома в ‰ |
||||||||||||||
|
7,0 |
7,5 |
8 |
9 |
10 |
11 |
12,5 |
17 |
20 |
25 |
30 |
35 |
40 |
45 |
50 |
|
|
Предел плавности |
≥ 150 |
120 |
100 |
80 |
75 |
70 |
60 |
40 |
30 |
20 |
10 |
— |
— |
— |
— |
|
ä = 0,6 g |
— |
> 150 |
150 |
130 |
125 |
110 |
85 |
75 |
55 |
45 |
35 |
25 |
20 |
— |
|
|
Предел безопасности |
— |
— |
> 150 |
150 |
135 |
— |
105 |
95 |
80 |
70 |
60 |
50 |
40 |
30 |
|
Примечание. Углы перелома на эксплуатируемых мостах определяют с помощью реек-уровней на базе 1 — 2 м или нивелированием отметок на расстоянии 2 м в обе стороны от оси опоры.
Данные графиков рис. 1 дают возможность:
— ограничивать скорость движения по условиям плавности для дорог различных категорий (линия 1);
— ограничивать скорость по условиям плавности на временный период — до 2-х лет [8] для сооружений, в которых не прекратились длительные деформации, уменьшающие углы перелома (линия 2);
— закрывать сооружение или организовывать временное контролируемое движение транспортных средств на период до ремонта или реконструкции сооружения (линия 3).
4.2.2. Габарит
4.2.2.1. Безопасная скорость установлена по условиям движения на участке, длина которого равна сумме длин мостового сооружения и зоны влияния «узкого» моста.
Значения безопасных скоростей приведены в табл. 8 — 10 для различных фактических габаритов и часовой интенсивности движения автомобилей. При этом значения [V] даны для трех случаев, отличающихся длиной мостового сооружения, а именно:
— 150 ≥ L ≥50 м;
— Lм > 150 м;
— Lм < 50 м.
Таблица 8
Однополосные мосты
|
Часовая интенсивность, Nч, авт./ч |
Суточная интенсивность, Nc, авт./сут. |
Значения [V], км/ч, при фактических габаритах, м |
|||
|
4,5 |
6,0 |
6,5 |
7,0 |
||
|
10 |
100 |
60/55 |
70 |
75 |
80 |
|
20 |
200 |
55/50 |
60/55 |
70 |
75 |
|
50 |
500 |
45/40 |
50/45 |
60/50 |
70 |
Примечание. В знаменателе — для мостов длиной более 150 м.
Таблица 9
Двухполосные мосты
|
Nч, авт./ч |
Значения [V], км/ч, при фактических габаритах мостов длиной 50 — 150 м |
|||||||
|
Г-6 |
Г-7 |
Г-7,5 |
Г-8 |
Г-9 |
Г-9,5 |
Г-10 |
Г-11,5 |
|
|
20 |
70 |
80 |
||||||
|
50 |
65 |
80 |
||||||
|
100 |
60 |
75 |
80 |
90 |
100 |
|||
|
200 |
55 |
70 |
80 |
90 |
100 |
|||
|
300 |
50 |
70 |
75 |
85 |
100 |
120 |
||
|
400 |
45 |
65 |
70 |
85 |
100 |
120 |
||
|
500 |
45 |
60 |
65 |
80 |
95 |
115 |
120 |
|
|
700 |
40 |
55 |
65 |
75 |
90 |
110 |
120 |
120 |
|
1000 |
30 |
45 |
55 |
70 |
85 |
100 |
110 |
115 |
|
1200 |
20 |
35 |
50 |
60 |
75 |
90 |
105 |
110 |
Примечание. Для мостовых сооружений длиной менее 50 м значения скоростей увеличиваются на 10 %, а сооружений длиной свыше 150 м — уменьшаются на 15 %.
Таблица 10
Многополосные мосты
|
Интенсивность часовая, Nч, авт./ч |
Значения [V] при различной ширине проезда в одном направлении, м, для мостов длиной 50 — 150 м |
||||||
|
4,0 |
7,5 |
8,5 |
9,5 |
11,5 |
13,25 |
15,25 |
|
|
350 |
65 |
120 |
|||||
|
500 |
60 |
110 |
|||||
|
750 |
55 |
95 |
120 |
||||
|
1000 |
45 |
85 |
110 |
125 |
150 |
||
|
1250 |
40 |
75 |
95 |
110 |
140 |
150 |
|
|
1500 |
30 |
60 |
75 |
100 |
130 |
145 |
150 |
|
2000 |
10 |
40 |
55 |
70 |
105 |
125 |
150 |
|
Габарит мостов, м |
Г-8* |
Г-15 |
Г-17 |
Г-19 |
Г-23 (2 × 11,5) |
Г-26 (2 × 13,25)** |
Г-30,5 (2 × 15,25)** |
Примечание. Для мостовых сооружений длиной менее 50 м значения скоростей увеличиваются на 10 %, а сооружений длиной свыше 150 м — уменьшаются на 15 %.
* Две полосы движения.
** Шесть полос движения; остальное — четыре полосы.
4.2.2.2. Значения безопасных скоростей движения по «узким» мостам используют для:
оценки состояния по критерию «безопасность»;
ограничения скоростей движения на МС;
выполнения технико-экономических обоснований ремонта (капитального ремонта) и реконструкции.
4.2.2.3. Безопасная скорость движения по мостовому сооружению
а) в зимнее время (по характеристике зимней скользкости),
б) находящемуся на уклоне свыше 50 ‰,
в) с отсутствующим освещением
устанавливается в случае, если в дорожной базе данных отсутствует подобная информация (то есть по просьбе Заказчика). При этом используют данные ОДН 218.06.006-2002 [3].
4.3. Требования к транспортно-эксплуатационному состоянию
4.3.1. В процессе эксплуатации должно поддерживаться состояние элементов, обеспечивающее плавный проезд автомобилей. При состоянии элементов, характеризующемся достижением предела безопасности, принимают меры к закрытию движения по мостовому сооружению, если предел безопасности достигнут элементами:
— покрытием — И > 80 %; на период до закрытия V = 10 км/ч;
— сопряжением — И > 80 %; на период до закрытия V ≤ 10 км/ч;
— системой водоотвода — И > 80 %; на период до закрытия V = 10 км/ч.
Время на восстановление движения устанавливается в зависимости от длины разрушенного участка или длины моста, а также условий финансирования и составляет от 1 месяца (длина до 100 м) до 3-х месяцев (длина 300 м). При иных длинах продолжительность времени на восстановление определяют решением специальной комиссии, определяемой владельцем сооружения.
4.3.2. При превышении предела безопасности (предельного износа) деформационными швами и ограждением принимаются меры к замене и устройству новых конструкций. На период до замены деформационных швов и ограждений скорость движения ограничивают величиной 10 — 40 км/ч (см. табл. 4) и 20 км/ч (см. табл. 5) соответственно.
4.3.3. При определении грузоподъемности мостов, в соответствии со специальными нормативными документами, учитывают дополнительные динамические воздействия, приведенные в табл. 1 — 6. Оценки состояния сооружения по показателю грузоподъемности дают с учетом безопасных условий движения и перегрузки как при установлении класса грузоподъемности элемента, так и при определении предельной массы автомобилей или предельной нагрузки на ось автомобиля.
4.3.4. Продольный профиль проезжей части в соответствии с [8] должен отвечать требованиям, при которых обеспечивается плавность движения автомобилей с расчетной скоростью. В частности, при расчетных скоростях углы перелома в профиле над опорами мостового сооружения не должны превышать по условиям плавности значений, приведенных в табл. 11.
Таблица 11
Углы переломов
|
Категория дороги |
Iа |
Iб; II |
III |
IV |
V |
|
Расчетная скорость |
150 |
120 |
100 |
80 |
60 |
|
Допустимые углы перелома по условию плавности (‰): |
|||||
|
— длительные деформации завершены |
8 |
8 |
8 |
9 |
13 |
|
— длительные деформации не завершены |
9 |
12 |
15 |
18 |
26 |
Если указанное требование не обеспечивается, ограничивают (снижают) скорость движения по сравнению с разрешенной и проводят обследование моста для выяснения причин чрезмерного ухудшения профиля. По результатам обследования принимается решение о мерах по ликвидации переломов. К таким мерам можно отнести:
— переделку или замену конструкций деформационных швов;
— выравнивание профиля за счет укладки дополнительного слоя покрытия;
— то же, за счет замены опорных частей;
— замену швов и выравнивание профиля одновременно;
— усиление пролетного строения с выправлением профиля.
В случае, если углы перелома оказались в опасной зоне, должен решаться вопрос о ремонте, капитальном ремонте или реконструкции мостового сооружения с ограничением скоростей движения в соответствии с графиком на рис. 1 или закрытием движения по мосту.
4.4. Оценка транспортно-эксплуатационного состояния мостового сооружения
4.4.1. Оценка ТЭС дается с целью:
— определить, к какой нормируемой группе состояния относится сооружение, исходя из условий безопасности движения;
— установить, какие меры следует предпринимать для улучшения ТЭС.
4.4.2. В соответствии с общим подходом к оценке состояния сооружений и планированию работ по содержанию и ремонту [9], ТЭС может быть отнесено к одной из пяти категорий состояния (табл. 12).
Таблица 12
Безопасная скорость для различной категории состояния моста
|
Категория дороги |
Расчетные скорости, км/ч |
Безопасные скорости [V], км/ч, при категориях состояния |
||||
|
О |
А |
Б |
В |
Г |
||
|
Iа |
150 |
> 150 |
150 — 130 |
130 > [V] ≥ 110 |
110 > [V] ≥ 40 |
< 40 |
|
Iб, II |
120 |
> 120 |
120 — 100 |
100 > [V] ≥ 80 |
80 > [V] ≥ 30 |
< 30 |
|
III |
100 |
> 100 |
100 — 90 |
90 > [V] ≥ 70 |
70 > [V] ≥ 25 |
< 25 |
|
IV |
80 |
> 80 |
80 — 70 |
70 > [V] ≥ 50 |
50 > [V] ≥ 20 |
< 20 |
|
V |
60 |
> 60 |
60 — 55 |
55 > [V] ≥ 40 |
40 > [V] ≥ 10 |
< 10 |
|
Оценка (по пятибалльной системе) |
5 |
4 |
3 |
2 |
1 |
|
О — обеспечен комфортный проезд;
А — обеспечена плавность движения, при которой не требуется снижения скорости движения (характеризуется оценкой «хорошо»);
Б — не обеспечена плавность движения, из-за чего требуется снижение скорости движения до уровня, установленного экономическими соображениями (оценка «посредственно»);
В — не обеспечена плавность движения и не обеспечены скорости, установленные экономическими соображениями, в связи с чем условия движения характеризуются как «повышенной опасности» (оценка «неудовлетворительно» по пятибалльной системе);
Г — «аварийное» (оценка 1) транспортно-эксплуатационное состояние.
4.4.3. При состоянии, относящемся к категориям О и А, скорости движения не снижаются. На мосту выполняются нормативные работы по уходу.
При состоянии, относящемся к категории Б, незначительно ограничивают скорости движения до величин, указанных в табл. 12. На мосту выполняются профилактические работы, предусмотренные в документах [6] и [10].
При состоянии, относящемся к категории В, существенно ограничивают скорость движения. На мосту выполняются восстановительные работы в соответствии с [6] и [10] — ремонт элементов мостового полотна, что относится к содержанию мостового сооружения (планово-предупредительные работы).
При состоянии, относящемся к категории Г, пересматривают организацию движения или движение по МС должно быть закрыто. Требуется выполнение работ по замене элементов мостового полотна (их переустройству) либо ремонту пролетных строений.
4.4.4. Оценка состояния по всему сооружению в целом принимается по наихудшему состоянию одного из элементов, оказывающих влияние на условия движения по МС.
Оценка состояния МС по настоящему Руководству учитывается наряду с оценкой по другим критериям (грузоподъемности, долговечности) для определения и планирования работ по ремонту и реконструкции МС.
4.5. Прогноз изменения транспортно-эксплуатационного состояния
4.5.1. Прогноз ТЭС для элементов мостового полотна и изменения безопасной скорости движения по мосту осуществляют по прогнозируемым показателям износа, отражающим снижение функциональных качеств.
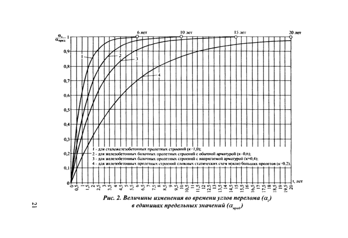
Для прогноза изменения износа элементов мостового полотна допускается использовать графики, приведенные в Приложении В.
4.5.2. Прогноз изменения влияния недостаточного габарита на безопасную скорость движения автомобилей осуществляют, имея прогнозные значения часовой и суточной интенсивностей. При отсутствии прогноза интенсивности можно ее определить расчетом, используя зафиксированные на текущий год показатели интенсивности и размера ее прироста по сравнению с прошлым годом. Если неизвестен фактический прирост интенсивности, в расчетах можно использовать проценты прироста, указанные в табл. 13. При этом в расчетах пользуются методом сложных процентов.
Таблица 13
Значения годового прироста интенсивности движения


