Рекомендации по противодымной защите при пожаре (к СНиП 2.04.05-91)
На нашем сайте можно бесплатно скачать Руководящий документ МДС 41-1.99 в удобном формате. Узнать актуальный статус документа «Рекомендации по противодымной защите при пожаре (к СНиП 2.04.05-91)» на 2016 год.
Скрыть дополнительную информацию
Страница 1

Страница 2

Страница 3

Страница 4

Страница 5

Страница 6

Страница 7

Страница 8

Страница 9

Страница 10

Страница 11

Страница 12

Страница 13

Страница 14

Страница 15

Страница 16

Страница 17

Страница 18

Страница 19

Страница 20

Страница 21

Страница 22

Страница 23

Страница 24

Страница 25

Страница 26

Страница 27

Страница 28

Страница 29

Страница 30

Страница 31

Страница 32

Страница 33

Страница 34

Страница 35

Страница 36
МЕТОДИЧЕСКАЯ ДОКУМЕНТАЦИЯ В СТРОИТЕЛЬСТВЕ
ГПК НИИ Сантехниипроект
РЕКОМЕНДАЦИИ
ПО ПРОТИВОДЫМНОЙ ЗАЩИТЕ ПРИ ПОЖАРЕ
(к СНиП 2.04.05-91*)
МДС 41-1.99
Москва 2001
ПРЕДИСЛОВИЕ
1. РАЗРАБОТАНЫ ГПК НИИ СантехНИИпроект.
Авторы — канд. тех. наук Б.В. Баркалов, инженеры В.А. Орлов, Т. И. Садовская.
2. ОДОБРЕНЫ Научно-техническим советом ГПК НИИ СантехНИИпроект и рекомендованы к изданию.
СОДЕРЖАНИЕ
|
Введение. 1 1. Противодымная защита коридоров зданий. 1 2. Противодымная защита лифтовых шахт, лестничных клеток и тамбур-шлюзов. 9 Приложение 1 Основные технические данные противопожарных дымовых клапанов. 22 Приложение 2 Клапан дымовой КДМ-2. 22 Приложение 3 Клапан дымовой КПК-1. 24 Приложение 4 Клапан дымовой КПВС-1.Д.. 26 Приложение 5 Клапан дымовой КПД-4. 27 Приложение 6 Клапан дымовой КПУ-1М… 28 Литература. 30 |
ВВЕДЕНИЕ
Настоящие Рекомендации разработаны в соответствии с требованиями СНиП 2.04.05-91* «Отопление, вентиляция и кондиционирование».
Рекомендациями по противодымной защите людей при пожаре в зданиях следует руководствоваться при проектировании общественных, жилых, производственных, административно-бытовых и складских зданий.
В 1-м разделе Рекомендаций изложена уточненная методика расчета систем дымоудаления из коридоров зданий, разработанная институтом.
При определении потерь давления по массовой скорости, кг/см2, и скоростному давлению, Па, в воздуховодах систем удаления дыма из помещений, в которых непосредственно произошел пожар, необходимо руководствоваться формулами, приведенными в 1-м разделе Рекомендаций.
Во 2-м разделе приведены материалы, разработанные на основании теоретических исследований ВНИИПО МВД России и МНИИТЭП, подтвержденных натурными испытаниями на опытных пожарах в многоэтажных жилых зданиях Москвы.
1. ПРОТИВОДЫМНАЯ ЗАЩИТА КОРИДОРОВ ЗДАНИЙ
1.1. Удаление дыма при пожаре следует проектировать для обеспечения эвакуации людей из помещений здания в начальной стадии пожара, возникшего в одном помещении:
а) из коридоров жилых, общественных, административно-бытовых и производственных зданий в соответствии с требованиями СНиП 2.04.05, 2.08.01, 2.08.02, 2.09.02, 2.09.04 и 2.11.01;
б) из коридоров жилых, общественных, административно-бытовых, производственных зданий высотой более 26,5 м;
в) из коридоров длиной более 15 м, не имеющих естественного освещения световыми проемами в наружных ограждениях (далее — без естественного освещения), производственных зданий категорий А, Б и В с числом этажей 2 и более.
Требование не распространяется на коридор, если для всех помещений, имеющих двери в этот коридор, проектируется непосредственное удаление дыма.
Противодымную защиту многофункциональных зданий и комплексов в Москве следует проектировать в соответствии с МГСН 4.04.
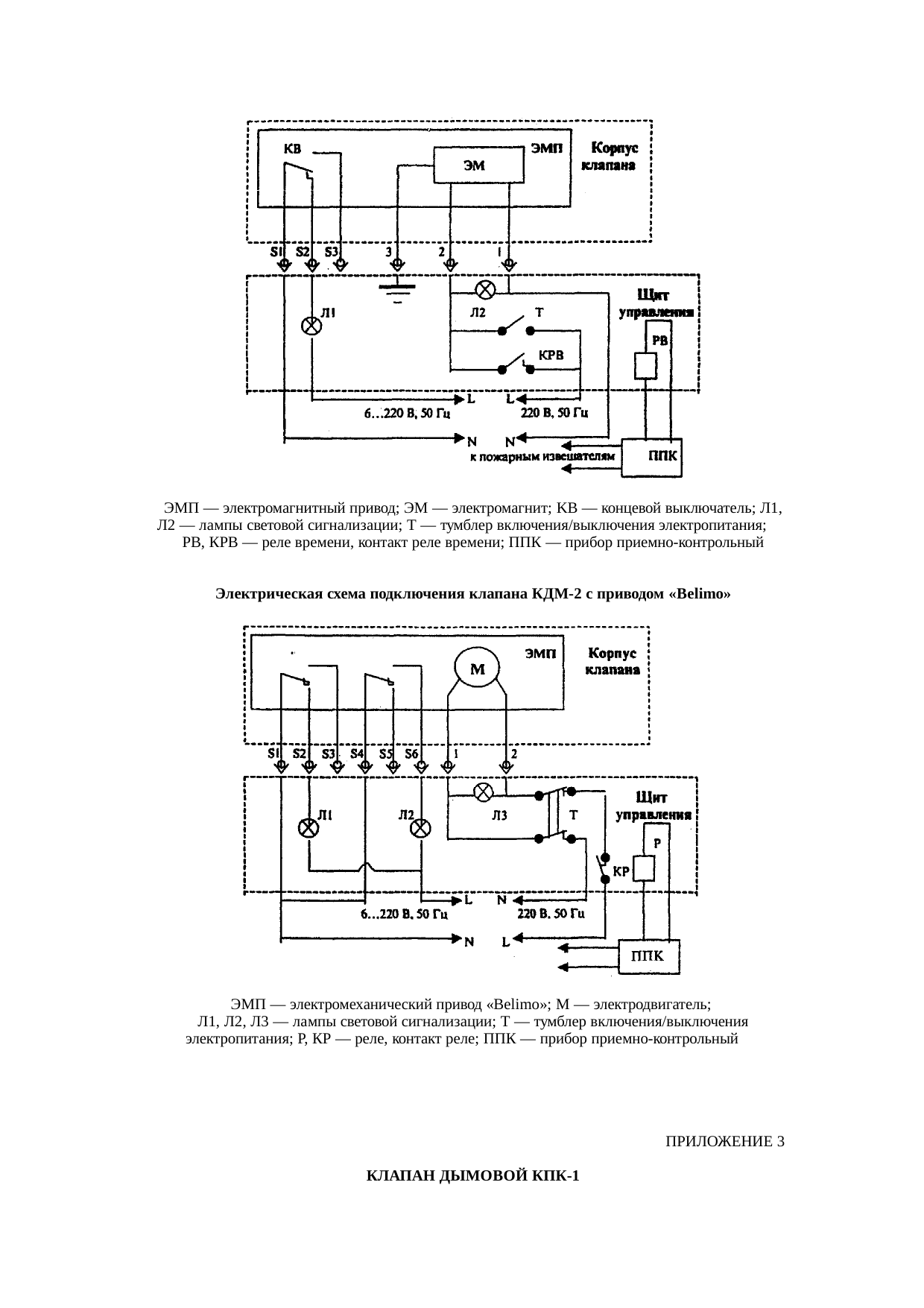
1.2. Удаление дыма из коридоров следует проектировать системами с искусственным побуждением. К одной системе допускается присоединять не более двух дымовых шахт. Дымовые клапаны следует размещать на дымовых шахтах под потолком коридора (прил. 1-6).
Допускается присоединять дымовые клапаны к шахтам на ответвлениях, принимая не более двух ответвлений от каждой шахты на этаже. При расчете системы следует принимать: температуру поступающего дыма – 300 °С, удельный вес дыма — 6 Н/м3, плотность дыма — 0,61 кг/м3.
Радиус действия дымового клапана — 15 м; в одну из сторон допускается принимать 20 м. Длина коридора, обслуживаемого одним дымоприемным устройством, принимается не более 30 м.
1.3. Количество дыма, кг/с, удаляемого из коридоров через дымовые клапаны, следует рассчитывать по формулам:
для жилых зданий
Gд = 0,95ВН1,5; (1)
для общественных, административно-бытовых и производственных зданий
Gд = 1,2ВН1,5Кд; (2)
где В — ширина большей створки двери при выходе из коридора или холла на лестничную клетку или наружу, м;
Н — высота двери, м; при Н < 2 м принимается Н = 2 м, при H > 2,5 м принимается H = 2,5 м;
Кд — коэффициент относительной полноты и продолжительности открывания дверей из коридора на лестничную клетку или наружу; при эвакуации 25 чел. и более через одну дверь принимается равным 1, при эвакуации менее 25 чел. — 0,8.
1.4. Потери давления в открытом дымовом клапане, Па, рассчитывают по формуле
(3)
где x1 — коэффициент сопротивления входа в дымовой клапан и в шахту, с коленом 90° принимается равным 2,2, с коленом 45° — 1,32;
x2 — коэффициент сопротивления в месте присоединения клапана к шахте или ответвления от нее, принимается по справочнику [1];
Vr — массовая скорость дыма в проходном сечении (F) клапана, кг/(с×м2);
Vr = Gд/F;
массовую скорость дыма в проходном сечении клапана рекомендуется принимать 7-10 кг/(с×м2).
r — плотность дыма, при температуре 300 °С принимается 0,61 кг/м3.
1.5. Потери давления на трение и местные сопротивления, Па, определяются по формуле
(4)
где Kтр — коэффициент, учитывающий содержание в дыме твердых частиц, принимаемый 1,1. Если величина потерь давления на трение Rтр дана в кгс/м2, то при расчетах в Па принимается Kтр = 1,1×9,81 = 10,8;
Rтр — потери давления на трение, кг/м2, по справочнику [1] для эквивалентного диаметра участка воздуховода или шахты, соответствующие величине скоростного давления при массовой скорости дыма или газов на этом участке воздуховода или шахты; допускается принимать по таблице 1 Рекомендаций;
Кc — коэффициент для шахт и воздуховодов; из бетона — 1,7, из кирпича — 2,1, для шахт со стенками, оштукатуренными по стальной сетке, — 2,7, для стальных воздуховодов — 1,0. Для других материалов коэффициент определяется по табл. 22.11, 22.12 справочника [1];
l — длина шахты или воздуховода, м, включая длину колен, отводов, тройников и др.;
Vr — массовая скорость дыма в воздуховодах и шахтах, кг/(с×м2);
r — плотность дыма, кг/м3.
Таблица 1
Потери давления на трение в стальных воздуховодах
|
Скоростное давление в воздуховоде или шахте, Па |
Потери давления на трение Rтр, кгс/м2, на 1 м в воздуховодах поперечным сечением, м2 |
|||
|
0,25 |
0,35 |
0,5 |
0.7 |
|
|
1 |
2 |
3 |
4 |
5 |
|
30 |
0,10 |
0,09 |
0,06 |
0,06 |
|
40 |
0,13 |
0,11 |
0,08 |
0,07 |
|
50 |
0,16 |
0,14 |
0,10 |
0,09 |
|
60 |
0,19 |
17 |
0,12 |
0,11 |
|
70 |
0,22 |
0,19 |
0,17 |
0,12 |
|
80 |
0,25 |
0,22 |
0,16 |
0,14 |
|
90 |
0,28 |
0,24 |
0,18 |
0,16 |
|
100 |
0,31 |
0,27 |
0,20 |
0,17 |
|
110 |
0,34 |
0,29 |
0,22 |
0,19 |
|
120 |
0,37 |
0,32 |
0,24 |
0,20 |
|
130 |
0,39 |
0,34 |
0,26 |
0,21 |
|
140 |
0,42 |
0,37 |
0,27 |
0,22 |
|
150 |
0,45 |
0,39 |
0,29 |
0,25 |
|
160 |
0,48 |
0,41 |
0,31 |
0,26 |
|
170 |
0,51 |
0,45 |
0,33 |
0,28 |
|
180 |
0,54 |
0,47 |
0,35 |
0,30 |
|
190 |
0,57 |
0,49 |
0,37 |
0,31 |
|
200 |
0,62 |
0,54 |
0,40 |
0,33 |
1.6. Расход воздуха, подсасываемого через неплотности закрытого дымового клапана, кг/с, на 2-м участке определяется по формуле
Gк1 = 0,0112 (АР)0,5, (5)
где А — площадь проходного сечения клапана, м2;
Р — потери давления при проходе воздуха через неплотности притворов закрытого клапана, Па, принимаются по расчету сопротивления первого участка системы, Р = Р1 + Р2.
1.7. Количество дыма в устье дымовой шахты с учетом подсоса воздуха через неплотности закрытых клапанов со 2-го по верхний этаж здания, кг/с, определяется в первом приближении по формуле
Gу1 = Gд + Gк1(N — 1), (6)
где Gд, Gк1 — количество дыма по формуле (1) или (2) и расход воздуха через закрытый клапан по формуле (5);
N — число этажей в здании, в которых предусматривается удаление дыма.
1.8. Потери давления в дымовой шахте, Па, при расходе газов в устье шахты Gу1, кг/с, определяем при среднем скоростном давлении в шахте по формуле
Pу1 = 10,8RтрКсНэ(N — 1) + 0,1(N — 1)hд.ср + Р1 + Р2, (7)
где Rтр — потери давления на трение, кгс/м2, при среднем скоростном давлении hд.ср, Па;
Кс — коэффициент по п. 1.5;
Нэ — высота этажа здания, м;
N — число этажей в здании;
hд.ср = (hд1 + hд.у)0,5;
hд1 = (Gд/Fш)2/(2×0,61) — на 1-м участке;
hд.у = (Gу1/Fш)2/(2rу) — в устье шахты;
rу = Gу1[Gд/0,61 + (Gу1 — Gд)/1,2];
Р1 — по формуле (3), Па;
Р2 — потери давления на 1-м участке, Па.
Массовую скорость газов в устье шахты рекомендуется принимать не более 15 кг/(с×м2).
1.9. Расход воздуха, кг/с, подсасываемого через закрытый дымовой клапан на верхнем этаже здания при давлении газов в устье шахты Ру1, Па, определяется по формуле
Gк2= 0,0112(АРу1)0,5, (8)
где А — по п. 1.6, Ру1 — по п. 1.8.
1.10 Поступление воздуха в дымовую шахту через закрытые дымовые клапаны и дыма через открытый клапан на 1-м этаже, кг/с, определяется во втором приближении по формуле
Gу2 = (Gк1 + Gк2)0,5(N — 1) + Gд, (9)
где Gк1, Gк2 — соответственно по п.1,6 и 1,9;
N — число этажей в здании;
Gд — количество дыма, кг/с, по п. 1.3.
1.11. Сопротивление участка воздуховода от дымовой шахты до вентилятора — Рвс, Па, рассчитывается по формуле (4) при расходе Gу2.
1.12. Потери давления системы на всасывании, Па, до вентилятора (отрицательное статическое давление) определяются по формуле
Pу2 = Pу1 + Рвс, (10)
где Pу1 — по формуле (7) и Рвс — по п. 1.5.
1.13. Подсосы воздуха через неплотности воздуховодов, кг/с, определяются при давлении Pу2 и по табл. 2 Рекомендаций
Gп = К(G1П1l1) + G2П2l2, (11)
где G1, G2 — удельный расход воздуха Gуд×103, кг/(с×м2) на 1 м2 внутренней поверхности воздуховода (табл. 2);
G1 = Gуд; G2 = Gуд
П1, П2 — периметры участков отсасывающей сети воздуховодов по внутреннему сечению, м;
l1, l2 — длина участков сети воздуховодов, м;
К — коэффициент для прямоугольных воздуховодов, равен 1,1.
Таблица 2
Удельный расход воздуха на 1 м2 внутренней поверхности воздуховода Gуд×103, кг/(с×м2)
|
Класс воздуховода |
Отрицательное статическое давление в месте присоединения воздуховода к вентилятору, Па |
||||||||||
|
200 |
400 |
600 |
800 |
1000 |
1200 |
1400 |
1600 |
1800 |
2000 |
2200 |
|
|
П |
0,4 |
0,6 |
0,8 |
1,0 |
1,2 |
1,3 |
1,5 |
1,6 |
1,8 |
1,9 |
2,0 |
|
Н |
1,2 |
1,9 |
2,5 |
3,1 |
3,6 |
4,0 |
4,5 |
4,8 |
5,4 |
5,7 |
6,0 |
1.14. Общий расход газов до вентилятора, кг/с
Gcум = Gу2 + Gп. (12)
1.15. Потери давления в сети до вентилятора Рв, Па, с учетом подсасываемого воздуха через неплотности воздуховодов определяются по формуле
Рв = Ру2[1 + (Gcум/Gу1)2]0,5 (13)
1.16. Плотность смеси воздуха и газов перед вентилятором, кг/м3, рассчитывается по формуле
rcум = Gсум/[Gд/0,61 + (Gсум-Gд)/1 > 2], (14)
а температура смеси газов T = (353 — 273rcум)/rcум.
1.17. Рекомендуется применять вентилятор с положением кожуха 270° и отдельно стоящую выхлопную трубу. При наличии избыточного давления вентилятора против требуемого по расчету рекомендуется установка конфузора на выхлопной трубе. Из поддона выхлопной трубы предусматривается отвод конденсирующейся влаги, и влаги, попадающей при дождях. Зонт над выхлопной трубой не устраивается.
1.18. Потери давления в выхлопной трубе Рвых рассчитываются по п. 1.5 и суммируются с потерями на всасывании, Па, для определения общих потерь давления в сети
Рсум = Рв + Рвых. (15)
1.19. Определяется естественное давление газов при общей высоте шахты Нш и выхлопной трубы Нвых, Па
Рес = Нш[gн — (rcум + rд)4,95] + Нвых(gн — rcум9,81), (16)
где rд — плотность дымовых газов, при удалении из коридоров принимать 0,61 кг/м3;
rcум — плотность дымовых газов, удаляемых из здания, кг/м3;
gн — удельный вес наружного воздуха в теплый период года по параметрам Б, Н/м3, рассчитывается по формуле gн = 3463/(273 + tн); здесь tн — температура наружного воздуха.
1.20. Потери давления в сети дымоудаления с учетом естественного давления газов, Па, определяются по формуле
Рвен = Рсум — Рес, (17)
где Рсум — по п.1.18, Рес — по п.1.19.
1.21. Вентилятор для удаления газов выбирается по условным потерям давления Рус, Па, приведенным к плотности стандартного воздуха, и по суммарному расходу дымовых газов Lв, м3/ч, на выходе из вентилятора. Рус и Lв определяются по формулам:
Рус = 1,2Рвен/rcум; (18)
Lв = 3600Gсум/rcум; (19)
По окончании расчета следует уточнить требуемое давление вентилятора для удаления дыма при возникновении пожара на верхнем этаже здания без учета естественного давления.
1.22. Для производственных, общественных и административно-бытовых зданий дымовые шахты и воздуховоды следует, как правило, выполнять класса «П» (плотные) из стальных листов на сварке сплошным швом; дымовые шахты допускается выполнять из строительных материалов, плотность их должна быть не ниже класса «Н» (нормальные) по СНиП 2.04.05-91*.
1.23. Для удаления дыма следует предусматривать установку радиальных вентиляторов, включая радиальные крышные вентиляторы. Выброс дыма в атмосферу необходимо выполнять через трубы без зонтов на высоте не менее 2 м от кровли из горючих и трудногорючих материалов.
Допускается выброс дыма на меньшей высоте с защитой кровли негорючими материалами на расстоянии не менее 2 м от края выбросного отверстия. Перед вентилятором, как правило, следует предусматривать установку обратных клапанов.
1.24. Вентиляторы систем вытяжной противодымной вентиляции следует размещать в отдельных помещениях от других систем.
Ограждающие конструкции помещения должны иметь противопожарные перегородки с пределом огнестойкости 0,75 ч.
Допускается размещение вентиляторов вытяжных противодымных систем на кровле и снаружи здания, кроме районов с расчетной температурой наружного воздуха минус 40 °С и ниже (параметры Б). Вентиляторы, установленные снаружи, должны быть защищены от посторонних лиц сетчатыми ограждениями.
Пример 1. Рассчитать противодымную защиту коридоров 17-этажного жилого дома в г. Иванове.
Исходные данные:
Температура наружного воздуха в теплый период года 27 °С (параметры Б). Дверь для выхода на лестничную клетку имеет ширину 0,9 м, высоту 2,2 м. Высота этажа 2,8 м, шахта дымоудаления выполнена из бетона.
Решение:
1.Определяем расход дыма по формуле (1)
Gд = 0,95×0,9×2,21,5 = 2,79 кг/с = 10044 кг/ч.
2. Принимаем дымовой клапан КДМ-2 (прил. 2) размером 800´500 мм с проходным сечением 0,35 м2 и шахту размером 800´500 мм. Массовая скорость дыма в клапане на 1-м участке (клапан открыт) Vr = 2,79/0,35 = 8,0 кг/(с×м2) и в шахте
Vr = 2,79/0,4 = 6,98 кг/(с×м2).
3. Определяем потери давления в дымовом клапане на 1-м этаже по формуле (3)
Р1 = 2,5×8,02/(2×0,61) = 131 Па,
где x1+ x1 = 2,5.
4. Потери давления на трение на 1-м участке шахты из бетона при Кс = 1,7 и скоростном давлении hд1 = 6,982/(2×0,61) = 40 Па рассчитаны по табл. 1 и формуле (4)
Р2 = 10,8×0,1×1,7×2,8 = 5,2 Па,
где Sx = 0.
5. Определяем подсос воздуха через неплотности закрытого дымового клапана на 2-м этаже здания по формуле (5) при отрицательном давлении
Р1 + Р2 = 131 + 5,2 = 136,2 Па;
Gк1 = 0,0112(0,35×136,2)0,5 = 0,077 кг/с.
6. Количество газов в устье дымовой шахты определяем по расходу дыма при равномерном подсосе воздуха через 16 закрытых дымовых клапанов в первом приближении по формуле (6)
Gу1 = 2,79 + 0,077×16 = 4,02 кг/с.
7. Потери давления в дымовой шахте, Па, при расходе газов в устье шахты Gу1, кг/с, определяем при среднем скоростном давлении в шахте по формуле (7)
Ру1 = 10,8×0,13×1,7×2,8×16 + 0,1×16×55 + 131 + 5,2 = 330 Па,
где Rтр = 0,13 кгс/м2 по табл. 1 при скоростном давлении 55 Па;
Кс = 1,7 по п.1.5;
hд.ср = (hд1 + hд.у)×0,5 = (40 + 70)×0,5 = 55 Па;
hд1 = (2,79/0,4)2/(2×0,61) = 40 Па на 1-м участке;
hд.у = (4,02/0,4)2/(2×rу) = (10,05)2/(2´0,72) = 70 Па в устье шахты;
rу = 4,02/[2,79/0,61 + (4,02 — 2,79)/1,2] = 0,72 кг/м3;
Р1 = 131 Па;
Р2 = 5,2 Па.
8. Подсос воздуха через закрытый дымовой клапан на 17-м этаже при Ру1 = 330 Па определяем по формуле (8)
Gк2 = 0,0112(0,35×330)0,5 = 0,12 кг/с.
9. Подсос воздуха в шахту через 16 закрытых клапанов и дыма через открытый клапан на 1-м этаже (Gд = 2,79 кг/с) определяем по формуле (9) (второе приближение принимается за окончательный результат)
Gу2 = (0,077 + 0,12)×0,5×16 + 2,79 = 4,37 кг/с.
10. Для присоединения шахты к вентилятору принят воздуховод сечением 600´600 мм, длиной 7 м с двумя отводами. При этом потери давления составляют:
Рвс = 10,8×0,25×7 + 0,5×2×102 = 121 Па
при скоростном давлении в воздуховоде (4,37/0,36)2/(2×0,72) = 102 Па и Rтр = 0,25 кгс/м2.
11. Определяем потери давления системы на всасывании по формуле (10)
Ру2 = 330 + 121 = 451 Па.
12. Определяем подсосы воздуха через неплотности всасывающей части сети при разрежении перед вентилятором 451 Па по формуле (11)
Gп = 1,1(0,0021×2,6×2,8×16 + 0,00065×2,4×7) = 0,282 кг/с,
где 0,0021 кг/(с×м2) — по табл. 2 для шахты из бетона;
0,00065 кг/(с×м2) — по табл. 2 для стального воздуховода.
13. Общий расход смеси воздуха и дыма перед вентилятором по формуле (12)
Gсум = 4,37 + 0,282 = 4,65 кг/с.
14. Потери давления, на всасывании с учетом подсоса воздуха через неплотности воздуховодов определяем по формуле (13)
Рв = 451×[1 + (4,65/4,02)2]×0,5 = 527 Па.
15. Плотность газов перед вентилятором рассчитываем по формуле (14)
rсум = 4,65/[2,79/0,61 + (4,65 — 2,79)/1,2] = 0,76 кг/м3.
Температура газов перед вентилятором по п. 1.16 равна:
Т = (353 — 273×0,76)/0,76 = 192 °С.
16. Для удаления газов наружу принимается радиальный вентилятор с положением кожуха 270°, соединенный диффузором с дымовой трубой длиной 5 м диаметром 710 мм (сечением 0,4 м2). Массовая скорость выхлопа газов через дымовую трубу Vr = 4,65/0,4 = 11,63 кг/(с×м2) и скоростное давление составит 11,632/(2×0,76) = 89 Па.
Потери давления на выхлопе по формуле (4) равны:
Pвых = 10,8×0,18×5 + 2,0×89 = 188 Па.
17. Суммарные потери давления в сети по формуле (15) равны:
Pcум = 527 + 188 = 715 Па.
18. Естественное давление газов при высоте дымовой шахты 45 м и трубы 5 м при удельном весе наружного воздуха в теплый период года gн = 3463/(273 + 27) = 11,54 Н/м3 и плотности удаляемого газа 0,76 кг/м3 определяем по формуле (16)
Рес = 45[11,54 — (0,76 + 0,61)×4,95] + 5(11,54 — 0,76×9,81) = 234 Па.
19. Потери давления в системе с учетом естественного давления газов определяем по формуле (17)
Рвен = 715 – 234 = 481 Па.
20. Напор вентилятора по условным потерям давления определяем по формуле (18)
Русл = 1,2×481/0,76 = 760 Па.
21. Производительность вентилятора по формуле (19) равна:
Lв = 3600×4,65/0,76 = 22026 м3/ч.
Пример 2. Рассчитать противодымную защиту коридоров 20-этажного общественного здания в Москве.
Исходные данные:
Коридор длиной 30 м с двумя входами на лестничные клетки через двери высотой 2,2 м шириной 0,9 м. Высота этажа 3,6 м. Расчетная температура наружного воздуха в теплый период года 28,5 °С (параметры Б).
Решение:
1. Определяем расход дыма при пожаре по формуле (2) при одной открытой двери на лестничную клетку, считая, что выход из второй двери невозможен по условиям пожара. Коэффициент Кд = 1,0
Gд = 1,2×0,9×2,21,5×1,0 = 3,52 кг/с.
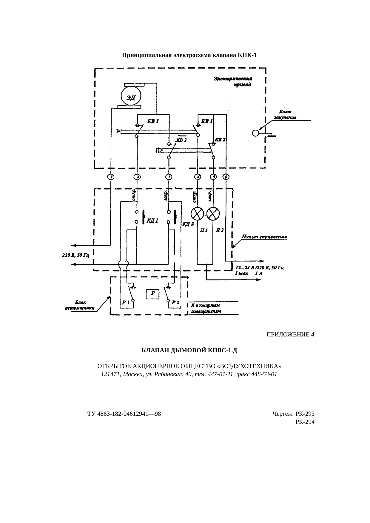
2. К установке на каждом этаже коридора под потолком принимаем дымовой клапан КПК-1 (прил. 3) размером 800´500 мм с проходным сечением 0,4 м2 и дымовую шахту из листовой стали 800´600 мм (dэкв = 685 мм).
Массовая скорость дыма в клапане на 1-м участке (клапан открыт) равна:
Vr = 3,52/0,4 = 8,8 кг/(с×м2),
массовая скорость дыма в шахте Vr = 3,52/0,48 = 7,33 кг/(с×м2).
3. Определяем потери давления в дымовом клапане на 1-м этаже по формуле (3)
Р1 = 2,5×8,82/(2×0,61) = 158,7 Па,
где x1 + x2 = 2,5.
4. Потери на трение на 1-м участке шахты из листовой стали при Кc = 1,0 и скоростном давлении hд1 = 7,332/(2×0,61) = 44 Па рассчитаны по табл. 1 и формуле (4)
Р2 = 10,8×0,1×1,0×3,6 = 3,9 Па,
где Sx = 0.
5. Определяем подсос воздуха через неплотности закрытого дымового клапана на 2-м этаже здания по формуле (5) при отрицательном давлении
Р1 + Р2 = 158,7 + 3,9 = 162,6 Па;
Gк1 = 0,0112(0,4×162,6)0,5 = 0,091 кг/с.
6. Расход газов в устье дымовой шахты в первом приближении определяем по расходу дыма и при равномерном подсосе воздуха через 19 закрытых дымовых клапанов по формуле (6)
Gу1 = 3,52 + 0,091(20 — 1) = 5,25 кг/с.
7. Потери давления в дымовой шахте, Па, при расходе газов в устье шахты Gу1, кг/с, определяем при среднем скоростном давлении в шахте по формуле (7)
Ру1 = 10,8×0,15×1,0×3,6×19 + 0,1×19×63 + 162,6 = 393 Па,
где Rтр = 0,15 кгс/м2 по табл. 1 при скоростном давлении 63 Па;
Кс = 1,0 по п.1.5;
hд.ср = (hд.1 — hд.у)×0,5 = (44 + 82)×0,5 = 63 Па;
hд.1 = 44 Па;
hд.у = (5,25/0,48)2/(2rу) = 10,942/(2×0,73) = 82 Па;
rу = 5,25/[3,52/0,61 + (5,25 — 3,52)/1,2] = 0,73 кг/м3;
Р1 + Р2 = 162,6 Па.
8. Подсос воздуха через закрытый дымовой клапан на 20-м этаже при Ру1 = 393 Па определяем по формуле (8)
Gк2 = 0,0112(0,4×393)0,5 = 0,14 кг/с.
9. Подсос воздуха в шахту через 19 закрытых клапанов и дыма через открытый клапан на 1-м этаже Gд = 3,52 кг/с определяем по формуле (9)
Gу2 = (0,091 + 0,14)×0,5×(20 — 1) + 3,52 = 5,71 кг/с.
10. Для присоединения шахты к вентилятору принят воздуховод диаметром 800 мм, длиной 5 м с одним отводом под 90°. При этом потери давления по формуле (4) составят:
Рвс = 10,8×0,15×5 + 0,35×89 = 39 Па.
при скоростном давлении в воздуховоде (5,71/0,5)2/(2×0,73) = 89 Па и Rтр = 0,15 кгс/м2.
11. Определяем потери давления системы на всасывании по формуле (10)
Ру2 = 393 + 39 = 432 Па.
12. Определяем подсосы воздуха через неплотности всасывающей сети при разряжении перед вентилятором 432 Па по формуле (11)
Gп = 1,1(0,0006×2,8×3,6×19) + 0,0006×2,5×5 = 0,134 кг/с,
где 0,0006 кг/(с×м2) по табл. 2 для стального воздуховода.
13. Общий расход смеси воздуха и дыма перед вентилятором по формуле (12) равен:
Gсум = 5,71 + 0,134 = 5,84 кг/с.
14. Потери давления на всасывании с учетом подсоса воздуха через неплотности воздуховодов по формуле (13) равны:
Рв = 432[1 + (5,84/5,25)2]×0,5 = 483 Па.
15. Плотность газов перед вентилятором по формуле (14) равна:
rсум = 5,84/[3,52/0,61 + (5,84 — 3,52)/1,2] = 0,76 кг/м3.
Температура газов перед вентилятором по п. 1.16 равна:
Т = (353 — 273×0,76)/0,76 = 191 °С.
16. Для удаления газов наружу принимается радиальный вентилятор с положением кожуха 270°, соединенный диффузором с дымовой трубой диаметром 800 мм длиной 5 м. Массовая скорость выброса газов через дымовую трубу Vr = 5,84/0,5 = 11,68 кг/(с×м2) и скоростное давление составит 11,682/(2×0,76) = 90 Па.
Потери давления на выхлопе по формуле (4)
Рвых = 10,8×0,15×5 + 2,0×90 = 188 Па.
17. Суммарные потери давления в сети по формуле (15) равны:
Рсум = 483 + 188 = 671 Па.
18. Естественное давление газов при высоте дымовой шахты 70 м и выхлопной трубы 5 м, при удельном весе наружного воздуха в теплый период года в Москве gн = 3463/(273 + 28,5) = 11,49 Н/м3 и плотности удаляемого газа 0,76 кг/м3 определяем по формуле (16)
Рес = 70[11,49 — (0,76 + 0,61)´4,95] + 5(11,49 — 0,76×9,81) = 350 Па.
19. Потери давления в системе с учетом естественного давления газов определяем по формуле (17)
Рвен = 671 – 350 = 321 Па.
20. Напор вентилятора по условным потерям давления по формуле (18) равен:
Рус = 1,2×321/0,76 = 507 Па.
21. Производительность вентилятора по формуле (19)
Lв = 3600×5,84/0,76 = 27663 м3/ч.
Дымовые клапаны рекомендуется выбирать по прил. 1-6.
2. ПРОТИВОДЫМНАЯ ЗАЩИТА ЛИФТОВЫХ ШАХТ, ЛЕСТНИЧНЫХ КЛЕТОК И ТАМБУР-ШЛЮЗОВ
2.1. Для защиты людей от дыма при пожаре следует, согласно п. 5.15 СНиП 2.04.05 проектировать подачу наружного воздуха:
а) в лифтовые шахты при отсутствии у выхода из них тамбур-шлюзов в зданиях с незадымляемыми лестничными клетками всех типов;
б) в незадымляемые лестничные клетки 2-го типа;
в) в тамбур-шлюзы при незадымляемых лестничных клетках 3-го типа;
г) в тамбур-шлюзы перед лифтами в подвальном этаже общественных, административно-бытовых и производственных зданий;
д) в тамбур-шлюзы перед лестницами в подвальных этажах с помещениями категории В.
2.2. При расчете противодымной зашиты согласно п. 5.17 СНиП 2.04.05 следует принимать:
а) температуру наружного воздуха и скорость ветра для холодного периода года (параметры Б); если скорость ветра в теплый период года больше, чем в холодный, расчеты должны быть проверены на теплый период года (параметры Б). Скорость ветра в холодный и теплый периоды года следует принимать не более 5 м/с; большие скорости допустимо принимать при обосновании;
б) направление ветра на фасад, противоположный эвакуационному выходу из здания;
в) избыточное давление в шахтах лифтов, в незадымляемых лестничных клетках 2-го типа и тамбур-шлюзах — по отношению к давлению наружного воздуха на наветренной стороне здания — не менее 20 Па;
г) давление на закрытые двери на путях эвакуации — не более 150 Па;
д) площадь одной большей створки при двустворчатых дверях;
е) кабины лифтов, находящиеся на нижнем этаже, с открытыми дверями.
2.3. Для противодымной защиты согласно п.5.18 СНиП 2.04.05 следует предусматривать:
а) установку радиальных или осевых вентиляторов в отдельных помещениях от вентиляторов другого назначения с противопожарными перегородками, имеющими предел огнестойкости 0,75 ч. Допускается размещать вентиляторы на кровле и снаружи зданий, кроме районов с температурой наружного воздуха минус 40 °С и ниже (параметры Б) с ограждением для защиты от доступа посторонних лиц;
б) воздуховоды из негорючих материалов с пределом огнестойкости 0,5 ч;
в) установку обратного клапана у вентилятора;
г) приемные отверстия для наружного воздуха, размещаемые на расстоянии не менее 5 м от выбросов дыма.
2.4. Приточная противодымная вентиляция лестнично-лифтового узла «А».
Приточная противодымная вентиляция узла «А» проектируется для лифтовой шахты согласно п.2.1,а настоящих Рекомендаций.
Люди эвакуируются из здания по лестничной клетке 1-го типа через наружную зону. Наружный воздух подается только в лифтовую шахту.
2.4.1. Давление воздуха в лифтовой шахте на 1-м этаже следует определять по формуле, Па.
Рш1 = Рвес = Рк1 = 0,7×V2r + 20, (20)
где Рвес = Рк1 — дано для других планировок;
V — расчетная скорость ветра для холодного периода года (параметры Б) по п.2.2, а;
r — плотность наружного воздуха, кг/м3, при расчетной температуре наружного воздуха (параметры Б) по СНиП 2.04.05.
2.4.2. Расход наружного воздуха, кг/ч, подаваемого в лифтовую шахту, следует определять по формуле
Gш = Gш1 + [Gср — 5(tн + 25)](N — 1), (21)
где Gш1 — расход наружного воздуха, кг/ч, при открытых дверях лифтовых шахт на первом этаже и открытой двери на выходе из здания.
При Z-образном тамбуре на входных дверях здания при ширине створки 0,6 м*:
* При ширине створки более 0,6 м расход воздуха следует умножить на 1,67В (В — ширина створки двери).
Gш1 = 2950 + 103(8,8Рш1 — 12)0,5 — при 2 лифтах; (22)
Gш1 = 4350 + 103(12,95Рш1 — 11,5)0,5 — при 3 лифтах; (23)
При прямом тамбуре и ширине створки дверей 0,6 м:
Gш1 = 1930 + 103(11Рш1 — 10)0,5 — при 2 лифтах; (24)
Gш1 = 3230 + 103(18,5Рш1 — 12)0,5 — при 3 лифтах; (25)
Gср — средний расход воздуха, кг/ч, поступающий в здание из лифтовых шахт на каждом этаже со 2-го по верхний
Gср = 1050 + 5,2Рш10,5 + 20(N — 1) + 30(n — 4); (26)
Рш1 — давление воздуха в шахте лифта на 1-м этаже, Па, по формуле (20);
N — число этажей в здании;
n — среднее число дверей на одном этаже для выхода в коридор.
2.4.3. Давление, создаваемое вентилятором, подающим воздух в лифтовую шахту, Па, определяется по формуле
Рвен.ш = DРс + Рш1 + Nh(gн — gш), (27)
где DРс — потери давления в системе вентиляции от точки приема наружного воздуха до входа воздуха в лифтовую шахту, Па;
h — высота этажа в здании, м;
gн — gш — разность удельных весов наружного воздуха и воздуха в лифтовой шахте, Н/м3, принимается в зависимости от температуры наружного воздуха tн по табл. 3.
Таблица 3
Разность удельных весов воздуха, Н/м3, для лестничных клеток и лифтовых шахт
|
tн, °С |
-45 |
-35 |
-25 |
-15 |
-10 |
-5 |
|
gн — gш |
1,7 |
1,5 |
1,1 |
0,85 |
0,7 |
0,56 |
|
tш, °С |
-16 |
-7,5 |
-4 |
-2,5 |
+4 |
+8 |
tш — температура воздуха в лестничной клетке и лифтовой шахте.
Пример 3. Планировка А. Определить расход наружного воздуха, подаваемого в лифтовые шахты 16-этажного жилого дома (рис. 1 и 2, а). В секции 2 лифта. На каждом этаже в коридор выходят 8 дверей. Расчетная температура воздуха минус 30 °С, скорость ветра 5 м/с, высота этажа 3 м, на выходе из здания прямой тамбур, ширина створки дверей 0,7 м.
Решение:
1. Определяем давление в лифтовой шахте на 1-м этаже по формуле (20)
Рш1 = 0,7×5<
