Котлы отопительные. Часть 3. Газовые котлы центрального отопления. Агрегат, состоящий из корпуса котла и горелки с принудительной подачей воздуха. Требования к теплотехническим испытаниям
На нашем сайте можно бесплатно скачать ГОСТ Р 54442-2011 в удобном формате. Узнать актуальный статус ГОСТА «Котлы отопительные. Часть 3. Газовые котлы центрального отопления. Агрегат, состоящий из корпуса котла и горелки с принудительной подачей воздуха. Требования к теплотехническим испытаниям» на 2016 год.
Скрыть дополнительную информацию
Страница 1

Страница 2

Страница 3

Страница 4

Страница 5

Страница 6

Страница 7

Страница 8

Страница 9

Страница 10

Страница 11

Страница 12

Страница 13

Страница 14

Страница 15

Страница 16

Страница 17

Страница 18

Страница 19

Страница 20

Страница 21

Страница 22

Страница 23

Страница 24

Страница 25

Страница 26

Страница 27

Страница 28

Страница 29

Страница 30

Страница 31

Страница 32

Страница 33

Страница 34

Страница 35

Страница 36
ФЕДЕРАЛЬНОЕ АГЕНТСТВО ПО ТЕХНИЧЕСКОМУ РЕГУЛИРОВАНИЮ И МЕТРОЛОГИИ
|
НАЦИОНАЛЬНЫЙ
СТАНДАРТ РОССИЙСКОЙ ФЕДЕРАЦИИ |
ГОСТР 54442— 2011 (ЕН 303-3:1998) |
КОТЛЫ ОТОПИТЕЛЬНЫЕ
Часть 3
Газовые котлы центрального отопления. Агрегат, состоящий из корпуса котла и горелки с принудительной подачей воздуха. Требования к теплотехническим испытаниям
ЕМ 303-3:1998 Heating boilers — Part 3:
Gas-fired central heating boilers — Assembly comprising boiler body and a forced draught burner—Testing of heat engineering
(MOD)
Издание официальное
|
Москва Стандартинформ 2012 |
Предисловие
Цели и принципы стандартизации в Российской Федерации установлены Федеральным законом от 27 декабря 2002 г. № 184-ФЗ, а правила применения национальных стандартов Российской Федерации — ГОСТ Р 1.0-2004 «Стандартизация в Российской Федерации. Основные положения»
Сведения о стандарте
1 ПОДГОТОВЛЕН ОАО «Научно-производственное объединение по исследованию и проектированию энергетического оборудования» (ОАО «НПО ЦКТИ»)
2 ВНЕСЕН Федеральным агентством по техническому регулированию и метрологии (Ростехрегу-лирование)
3 УТВЕРЖДЕН И ВВЕДЕН В ДЕЙСТВИЕ Приказом Федерального агентства по техническому регулированию и метрологии от 28 сентября 2011 г. № 390-ст
4 Настоящий стандарт является модифицированным по отношению к европейскому региональному стандарту ЕН 303-3:1998 «Котлы отопительные. Часть 3. Газовые котлы центрального отопления. Агрегат, состоящий из корпуса котла и горелки с принудительной подачей воздуха. Требования к теплотехническим испытаниям» (ЕН 303-3:1998 «Heating boilers — Part 3: Gas-fired central heating boilers — Assembly comprising boiler body and a forced draught burner — Testing of heat engineering») путем изменения:
— отдельных фраз (слов, значений показателей, ссылок), которые выделены в тексте курсивом;
— его структуры для приведения в соответствии с правилами, установленными в ГОСТ Р 1.5 (подразделы 4.2 и 4.3).
Сравнение структуры настоящего стандарта со структурой указанного европейского регионального стандарта приведено в дополнительном приложении ДА
5 ВВЕДЕН ВПЕРВЫЕ
Информация об изменениях к настоящему стандарту публикуется в ежегодно издаваемом информационном указателе «Национальные стандарты», а текст изменений и поправок — в ежемесячно издаваемых информационных указателях «Национальные стандарты». В случае пересмотра (замены) или отмены настоящего стандарта соответствующее уведомление будет опубликовано в ежемесячно издаваемом информационном указателе «Национальные стандарты». Соответствующая информация, уведомление и тексты размещаются также в информационной системе общего пользования — на официальном сайте Федерального агентства по техническому регулированию и метрологии в сети Интернет
© Стандартинформ, 2012
Настоящий стандарт не может быть полностью или частично воспроизведен, тиражирован и распространен в качестве официального издания без разрешения Федерального агентства по техническому регулированию и метрологии
Содержание
1 Область применения……………………………………..1
2 Нормативные ссылки……………………………………..1
3 Термины и определения……………………………………2
4 Технические требования……………………………………2
4.1 Требования к конструкции………………………………..2
4.2 Требования к материалам………………………………..3
4.3 Отвод конденсата для низкотемпературных котлов……………………3
5 Эксплуатационные требования………………………………..3
5.1 Общие требования……………………………………3
5.2 Подводимая теплота…………………………………..3
5.3 Требования безопасной работы……………………………..3
5.4 Коэффициент полезного действия (КПД)…………………………4
5.5 Требуемая тяга и сопротивление контура продуктов горения……………….5
5.6 Конденсация……………………………………….6
5.7 Сопротивление материалов давлению………………………….6
5.8 Температура уходящих газов при номинальной теплопроизводительности………6
6 Методы испытаний………………………………………6
6.1 Общие положения…………………………………….6
6.2 Подводимая теплота…………………………………..8
6.3 Проверка безопасной работы………………………………9
6.4 Коэффициент полезного действия (КПД) котла……………………..11
6.5 Требуемая тяга и сопротивление контура продуктов горения………………16
6.6 Проверка температуры уходящих газов при номинальной теплопроизводительности ..16
7 Инструкции………………………………………….16
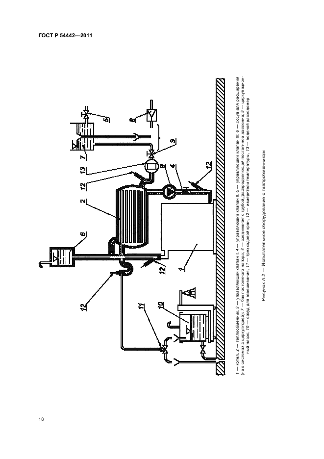
Приложение А (рекомендуемое) Испытательные установки и испытательное оборудование …. 17 Приложение Б (справочное) Практический метод калибрования испытательного оборудования,
предназначенного для определения тепловых потерь DP…………….23
Приложение В (справочное) Определение косвенным методом тепловых потерь испытательного
оборудования и доли тепла, вносимой циркуляционным насосом………..24
Приложение Г (справочное) Определение времени зажигания на полную мощность………25
Приложение Д (справочное) Испытания для котлов, соответствующих производственной
номенклатуре………………………………….26
Приложение Е (справочное) Испытания корпуса котла, который ранее испытан с горелкой
на жидком топливе……………………………….27
Приложение ДА (справочное) Сопоставление структуры настоящего стандарта со структурой
примененного в нем европейского регионального стандарта………….28
Библиография…………………………………………29
НАЦИОНАЛЬНЫЙ СТАНДАРТ РОССИЙСКОЙ ФЕДЕРАЦИИ
КОТЛЫ ОТОПИТЕЛЬНЫЕ Часть 3
Газовые котлы центрального отопления. Агрегат, состоящий из корпуса котла и горелки с принудительной подачей воздуха.
Требования к теплотехническим испытаниям
Heating boilers. Part 3. Gas-fired central heating boilers. Assembly comprising boiler body and a forced draught burner.
Testing of heat engineering
Дата введения — 2012—07—01
1 Область применения
Настоящий стандарт устанавливает требования и методы испытаний к конструкции, безопасности и рациональному использованию энергии в агрегатах, собранных из корпуса котла, соответствующего ГОСТ Р 54440, и газовой горелки с принудительной подачей воздуха, соответствующей ГОСТ Р 51383 (далее — котел).
Настоящий стандарт применяют к стандартным и низкотемпературным котлам с номинальной выходной мощностью не более 1000 кВт и максимальной рабочей температурой воды не более 115 °С.
Данный стандарт не включает в себя все необходимые требования к:
— узлам, сконструированным из блоков;
— конденсационным котлам;
— котлам, предназначенным для установки вне помещений;
— котлам с несколькими постоянными выходами для топочных газов;
— котлам, имеющим устройство для отвода тяги;
— котлам, предназначенным для подсоединения к общему дымоходу с механической вытяжкой.
Настоящий стандарт не распространяется на котлы, предназначенные для жилых помещений.
Если корпус котла ранее подвергался испытаниям совместно с горелкой на жидком топливе по
ГОСТР 54440, ГОСТР 54441 и ГОСТР 54820, то необходимо выполнять испытания, описанные в приложении Е.
Для котлов, соответствующих производственной номенклатуре при одинаковых конструктивных схемах, см.приложение Д.
Настоящий стандарт предусматривает только испытания типа указанных котлов.
2 Нормативные ссылки
В настоящем стандарте использованы нормативные ссылки на следующие стандарты:
ГОСТ Р 8.568-97 Государственная система обеспечения единства измерений. Аттестация испытательного оборудования. Основные положения
ГОСТ Р 51383-99 Горелки газовые автоматические с принудительной подачей воздуха. Технические требования, требования безопасности и методы испытаний (ЕН 676:1998, MOD)
ГОСТ Р 54440-2011 Котлы отопительные. Часть 1. Отопительные котлы с горелками с принудительной подачей воздуха. Терминология, общие требования, испытания и маркировка (ЕН 303-1:1999 «Котлы отопительные. Часть 1. Отопительные котлы с паяльными горелками. Терминология, общие требования, испытания и маркировка», MOD)
ГОСТ Р 54441-2011 Котлы отопительные. Часть 2. Отопительные котлы с горелкой с принудительной подачей воздуха. Специальные требования к отопительным котлам с распылительной горелкой на жидком топливе (EH 303-2:1998 «Котлы отопительные. Часть 2. Котлы отопительные с горелка-
Издание официальное ми с принудительной подачей воздуха. Специальные требования к отопительным котлам с распылительной горелкой на жидком топливе», MOD)
ГОСТ Р 54820-2011 Котлы отопительные. Правила испытаний отопительных котлов с дутьевыми горелками на жидком топливе. (ЕН 304:1992 «Отопительные котлы. Правила испытания отопительных котлов с горелками с механическим распыливанием жидкого топлива», MOD)
Примечание — При пользовании настоящим стандартом целесообразно проверить действие ссылочных стандартов в информационной системе общего пользования — на официальном сайте Федерального агентства по техническому регулированию и метрологии в сети Интернет или по ежегодно издаваемому информационному указателю «Национальные стандарты», который опубликован по состоянию на 1 января текущего года, и по соответствующим ежемесячно издаваемым информационным указателям, опубликованным в текущем году. Если ссылочный стандарт заменен (изменен), то при пользовании настоящим стандартом следует руководствоваться заменяющим (измененным) стандартом. Если ссылочный стандарт отменен без замены, то положение, в котором дана ссылка на него, применяется в части, не затрагивающей эту ссылку.
3 Термины и определения
В настоящем стандарте применены следующие термины с соответствующими определениями.
3.1 объемный расход газа V, Vr, м3/ч: Объем газа, поступающий в котел в единицу времени при непрерывной работе.
Примечание — V — при условиях испытаний; Vr — при стандартных условиях.
3.2 расход массы газа M, Mr, кг/ч или г/ч: Масса газа, поступающая в котел в единицу времени
при непрерывной работе.
Примечание — М — при условиях испытаний; МГ — при стандартных условиях.
3.3 подводимая теплота Q, кВт: Произведение объемного или массового расхода на величину
низшей теплотворной способности газа, при таких же стандартных условиях.
3.4 номинальная подводимая теплота1) Qn, кВт: Значение подводимой теплоты, установленное изготовителем.
3.5 полезная выходная мощность Р, кВт: Количество тепла, передаваемое теплоносителю в единицу времени.
3.6 номинальная выходная мощность Рп, кВт: Полезная выходная мощность, установленная изготовителем.
3.7 коэффициент полезного действия г|, %: Отношение полезной выходной мощности к подводимой теплоте.
3.8 напряжение номинальное: Напряжение или диапазон напряжений, установленных изготовителем, при которых котел может работать нормально.
3.9 котел, устанавливаемый в жилом помещении: Котел, имеющий эффективную номинальную выходную мощность менее 40 кВт, спроектированный для подачи тепла в ту часть жилого помещения, в которой он установлен, путем эмиссии тепла от кожуха с открытой диффузионной камерой, а также снабжающий горячей водой по принципу гравитационной циркуляции.
3.10 блок: Агрегат, состоящий из корпуса котла и горелки с принудительной подачей воздуха, спроектированный и поставляемый на рынок, как котел в сборе.
4 Технические требования
4.1 Требования к конструкции
Корпус котла должен соответствовать ГОСТ Р 54440.
Элементы трубной системы котла должны соответствовать [1].
Газовая горелка с принудительной тягой должна соответствовать ГОСТ Р 51383.
Примечание — Допускается также распространять результаты испытаний конструкции, проведенных в соответствии с требованиями настоящего стандарта, на конструкции, состоящие из такого же корпуса котла и других горелок аналогичного типа.
Котлы, оборудованные устройством для установки номинального значения, работают при номинальном значении подводимой теплоты, регулируемом в пределах от максимума до минимума. Плавно регулируемые котлы работают между номинальным значением подводимой теплоты и минимальным регулируемым значением подводимой теплоты. Максимальная подводимая теплота соответствует номинальной выходной мощности.
Для низкотемпературных котлов все части теплообменника(ов) и другие части котла, которые контактируют с конденсатом, должны быть выполнены из коррозионно-стойкого материала или из материалов с соответствующим покрытием, чтобы гарантировать установленный срок службы котла при условии его установки, эксплуатации и обслуживания в соответствии с инструкциями производителя.
Поверхности, контактирующие с конденсатом (за исключением системы дренажа, сифонов и вла-гоотделителей), должны быть сконструированы таким образом, чтобы предотвращать появление конденсата.
4.2 Требования к материалам
Материалы, применяемые в конструкции котла, не должны содержать асбест.
4.3 Отвод конденсата для низкотемпературных котлов
Для низкотемпературных котлов необходимо снижать уровень конденсата, если из-за него:
— снижается безопасная и корректная работа;
— происходит утечка конденсата из котла;
— происходит разрушение материала.
Для отвода конденсата, если это необходимо, применяют трубу или систему труб. Внутренний диаметр наружного соединения трубы или системы труб для отвода конденсата должен быть не менее 13 мм.
Система утилизации конденсата, являющаяся составной частью котла или присоединяемая к нему, должна быть сконструирована таким образом, чтобы:
— она была доступна для осмотра и очистки в соответствии с инструкциями производителя;
— она предотвращала возможность проникновение продуктов сгорания в помещение, где установлен котел, — это требование должно выполняться, если система утилизации конденсата оборудована водоотделителем (пароосушителем);
— водоотделитель имел затвор не менее 25 мм при максимальном давлении в камере сгорания и при максимальной длине газохода, указанной изготовителем.
5 Эксплуатационные требования
5.1 Общие требования
Если нет специальных требований, то следующие требования поверяют при условиях испытаний по 6.1.
5.2 Подводимая теплота
При нормальном испытательном давлении (условия испытаний по 6.2 и 6.1.2.8) максимальное и минимальное значения подводимой теплоты могут отличаться от значений, указанных в технической документации на котел, не более чем на + 5 %.
5.3 Требования безопасной работы
5.3.1 Предельная температура устройств регулирования, управления и обеспечения безопасности
При условиях 6.3.1 температура устройств для регулирования, управления и обеспечения безопасности не должна превышать максимальное значение, установленное изготовителем.
Температура поверхности кнопок управления и всех деталей, к которым необходимо прикасаться при обычном использовании котла, измеренная только в тех зонах, где происходит контакт, при условиях, установленных в 6.3.1, не должна превышать окружающую температуру более чем на:
35 °С — для металлов;
45 °С — для фарфора;
60 °С — для пластмассы.
5.3.2 Предельная температура боковых стенок, передней части и верха кожуха котла
Температура поверхности стенок, передней части и верха кожуха котла при условиях, указанных в 6.3.2, не должна превышать температуру в помещении более чем на 80 °С.
Вместе с тем, дверцы котла, части его корпуса в пределах 5 см от смотрового стекла и в пределах 15 см от выходов для продуктов сгорания исключаются из этого требования.
При условиях 6.3.2 средняя температура дверец котла не должна превышать температуру окружающей среды более чем на 100 °С.
5.3.3 Предельная температура пола и испытательных панелей
Температура пола, на котором установлен котел, и испытательных панелей, помещенных сбоку и позади котла, не должна ни в какой точке превышать 80 °С при условиях, указанных в 6.3.3.
Если температура в указанных местах находится в пределах от 50 °С до 80 °С, в техническое руководство изготовителя должна быть включена информация, касающаяся установки защитного приспособления между котлом и полом или стенками в тех местах, где пол или стенки включают в себя горючие материалы.
5.3.4 Работа термостатов регулирования и безопасности
При условиях 6.3.4 термостаты регулирования и безопасности должны отключать подачу газа в горелку до того, как будет превышена температура потока воды, определенная технической документацией на котел.
5.3.5 Содержание окиси углерода в уходящих газах
При условиях 6.3.5 для котлов на природном газе теплопроизводительностью от 0,1 до
1,0 МВт содержание оксида углерода СО в сухих неразбавленных уходящих газах (в пересчете на коэффициент избытка воздуха, равный единице, и нормальные физические условия: 760 мм рт. ст. и 0 °С ) не должно превышать 0,1 %, когда объем подаваемого в котел стандартного газа соответствует максимальному номинальному значению подводимой теплоты.
5.4 Коэффициент полезного действия (КПД)
5.4.1 Значение КПД при максимальном номинальном значении подводимой теплоты
При условии 6.4.1 значение КПД при максимальном номинальном значении подводимой теплоты, выраженное в процентах, должно быть более или равно значениям, указанным в таблице 1.
|
Таблица 1 — Значение КПД при максимальном номинальном значении подводимой теплоты |
||||||||||||||||||
|
||||||||||||||||||
5.4.2 Значение КПД при частичной нагрузке
При условии 6.4.2 значение КПД, соответствующее 30 % от максимального номинального значения подводимой теплоты, выраженное в процентах, должно быть более или равно значениям, указанным в таблице 2.
|
Таблица 2 — Значение КПД при частичной нагрузке |
||||||||||||||||||
|
||||||||||||||||||
|
Значения коэффициента полезного действия при частичной нагрузке приведены на рисунке 1. |
||||||||||||||||||
|
с 30 25 20 15 10- |
|
|
Примечание — Кривая 1 соответствует значениям при максимальном номинальном подведении теплоты; кривая 2 — при частичной нагрузке. а — номинальная полезная выходная мощность Рп, кВт; b — воздушный коэффициент; с — избыток воздуха, %; d — коэффициент полезного действия котла, % |
|
|
Рисунок 1 — Коэффициент полезного действия для котлов, работающих на стандартном газе 5.5 Требуемая тяга и сопротивление контура продуктов горения Для котлов, работающих при отрицательном давлении в топочной камере, значения, определяющие требования к тяге и приведенные на рисунке 2, обычно следует рассматривать как предельные. Ими необходимо руководствоваться при определении размеров дымохода. |
|
а — номинальная полезная выходная мощность Рп, кВт; b — максимальная требуемая тяга, Па Рисунок 2 — Максимальная тяга для котлов, работающих при отрицательном давлении |
Для котлов, работающих при положительном давлении в топочной камере, значения сопротивления контура продуктов горения, приведенные на рисунке 3, должны также рассматриваться как предельные.
Если указанные значения сопротивления контура продуктов горения или требований к тяге превышены, необходимо отметить это в техническом описании.
|
Ь |
|
а — номинальная полезная выходная мощность Рп, кВт; b — разница давления, кПа Рисунок 3 — Максимальное падение давления в контуре продуктов горения для котлов, работающих при положительном давлении |
5.6 Конденсация
Низкотемпературные котлы могут быть спроектированы с учетом возникновения конденсации.
Для стандартных котлов и низкотемпературных котлов, которые не имеют конденсационного режима, не должно возникать конденсации при рабочих температурах, предусмотренных элементами управления.
5.7 Сопротивление материалов давлению
Для низкотемпературных котлов коррозионно-стойкое покрытие не должно иметь повреждений после испытаний давлением.
5.8 Температура уходящих газов при номинальной теплопроизводительности
Для котлов, работающих на газе, температура уходящих газов должна быть не более 200 °С. Если температура уходящих газов при номинальной теплопроизводительности составляет менее 160 °С, то в руководстве по эксплуатации должны быть даны указания по устройству тракта уходящих газов, в т. ч. дымовой трубы.
6 Методы испытаний
6.1 Общие положения
Испытания котлов должны проводиться в соответствии с методами, приведенными в настоящем стандарте, а также по методикам испытаний действующих нормативных документов на отдельные виды испытаний и по документации (ТУ) на котлы конкретных типов. Объем и последовательность испытаний устанавливают в программе испытаний на котлы конкретных типов. Обычно применяются приведенные ниже условия испытаний, кроме исключений, когда в отдельных подразделах установлено другое.
6.1.1 Выполнение испытаний
Для выполнения испытаний котел снабжают стандартным природным газом, предусмотренным проектом для данной категории котлов и указанном в паспорте завода-изготовителя. Производят регулировку котла в соответствии с информацией изготовителя. Если не обусловлено другое, испытания проводят при максимальном номинальном подводе теплоты.
Образцы, предназначенные для проведения испытаний, должны иметь нормативную и/или техническую документацию в объеме, необходимом для проведения испытаний, и быть полностью укомплектованы в соответствии с этой документацией.
6.1.2 Общие требования
6.1.2.1 Помещение для испытаний
Котел устанавливают в хорошо вентилируемом помещении без сквозняков, окружающая температура в котором равна приблизительно 20 °С; котел защищают от прямых солнечных лучей.
Все испытания, кроме оговоренных в документации (ТУ) на котлы конкретных типов, проводят в нормальных климатических условиях, если не установлено иное: температура (25 + 10) °С;
относительная влажность воздуха 45 %—80 %; атмосферное давление 84,0—106,7 кПа (630—800 мм рт. ст.),
если в стандартах на отдельные изделия не приняты другие пределы, обусловленные их спецификой и указанные изготовителем.
Помещения для проведения испытаний должны соответствовать необходимому уровню безопасности работ, а испытательные приборы и оборудование — использоваться в соответствии с конкретными инструкциями по эксплуатации.
6.1.2.2 Требования к монтажу
При всех испытаниях котел устанавливают, запускают и приводят в рабочее состояние при условиях, указанных в инструкциях изготовителя.
Отбор продуктов сгорания производят с помощью устройств, показанных на рисунках А.4 или А.5 приложения А.
6.1.2.3 Водяной контур
Котел соединяют с изолированным испытательным устройством, показанным на рисунках А.1 или А.2, или с другим оборудованием, позволяющим получить эквивалентные результаты. Из котла удаляют воздух в соответствии с указаниями в инструкциях изготовителя.
Если котел снабжен термостатом для регулировки температуры воды, испытания проводят при температуре потока воды (80 + 2) °С.
Однако, когда эти условия не могут быть выполнены (из-за конструкции котла или нерегулируемого термостата), испытания проводят при максимально возможной температуре воды.
Клапаны I и II на рисунках А.1 или А.2 используют для получения разницы температур между вытекающим и обратным потоками, равной (20 + 1) °С, или это значение устанавливает изготовитель, если конструкция системы управления котлом не позволяет осуществлять правильную работу котла при разнице температур 20 °С.
6.1.2.4 Тепловое равновесие
Кроме специально оговоренных случаев, испытания проводят на котле в состоянии теплового равновесия, т. е. когда значения температуры втекающего и вытекающего потоков воды стабилизированы с точностью + 2 °С.
6.1.2.5 Электропитание
Электропитание котла должно осуществляться при номинальном напряжении.
6.1.2.6 Погрешность измерений
Средства измерений, применяемые при испытаниях, должны быть поверены, а испытательное оборудование аттестовано в соответствии с ГОСТ Р 8.568.
Состав измерительной аппаратуры выбирают исходя из условия пригодности для измерения всего диапазона возможных значений и требуемой точности измерений.
Кроме специально оговоренных в некоторых разделах случаев, максимально допустимые погрешности измерений приведены ниже.
а) атмосферное давление + 50 Па (+ 5 мбар);
б) давление в топочной камере или в испытательном газоходе, + 5 % от полной шкалы или + 5Па (+ 0,05 мбар);
в) давление газа + 2 % от полной шкалы;
г) потери давления воды на боковых стенках + 5 %;
д) расход воды + 1 %;
е) расход газа + 1 %;
ж) время: до 1 ч + 0,2 с, более 1 ч + 0,1 %;
и) вспомогательная электроэнергия + 2 %; к) значения температуры:
— окружающей + 1 °С;
— воды + 2 °С;
— продуктов горения + 5 °С;
— газа + 0,5 °С;
— поверхности + 5 °С;
л) теплотворная способность газа + 1 %; м) плотность газа + 0,5 %; н) масса + 0,05 %.
Полный диапазон измерительной аппаратуры выбирается исходя из условия пригодности для измерения максимально возможных значений.
Указанные погрешности измерения относятся к результатам отдельных измерений. При измерениях, требующих применения комбинации отдельных измерений (например, измерение коэффициента полезного действия), для получения требуемой величины общей погрешности могут быть необходимы более низкие погрешности отдельных измерений.
6.1.2.7 Регулирование подводимой теплоты
Значение подводимой теплоты Q, кВт, получаемое при испытаниях, вычисляют с помощью одной из следующих формул:
— при измерении расхода сухого газа по массе:
Q = 0,278 MrHi; (1)
— при измерении объемного расхода сухого газа:
Q = 0,278 VrHi, (2)
где Н: —низшая теплотворная способность газа, используемого при испытаниях (сухого, 15 °С,
101,325 кПа), в мегаджоулях на кубический метр (МДж/м3), если использовать объемные величины, или в мегаджоулях на килограмм (МДж/кг) в массовом выражении;
Мг — расход сухого газа по массе, кг/ч;
Vr — объемный расход сухого газа, м3/ч, вычисляемый по формуле
V = V Ра ~ ~Ps 288,15 (3)
r ‘ 101,325 ‘ 273,15 — tg ’ К ‘
где ра — атмосферное давление во время испытаний, Па; pk — давление газа в расходомере в Па; ps — давление насыщенного водяного пара при tg, Па; tg — температура газа на расходомере, °С.
6.1.2.8 Регулирование избыточного воздуха
Воздушный коэффициент регулируется в соответствии со значениями, приведенными в таблице 3 (см. также рисунок 1).
|
Таблица 3 — Регулирование воздушного коэффициента |
|||||||||||||||
|
|||||||||||||||
6.2 Подводимая теплота
Значение подводимой горелкой теплоты должно быть отрегулировано на максимальную величину для данного котла, а затем и на минимальную. В течение испытаний с целью проверки значения подводимой теплоты скорректированное значение подводимой теплоты Qc, основанное на низкой теплотворной способности, кВт, которое получено в случае проведения испытаний при нормальных условиях (сухой газ, 0 °С, 101,325 кПа), вычисляют по формулам:
— если измеряют объемный расход газа V:
Q= н.—V 101,325+Р9 ■Ра + Р9 ■ 288’15 . d (4)
с ‘ 3600 у 101,325 101,325 273,15 + tg dr ’
следовательно,
Q = H^V /(101,325 + Pg)(Pa + Pg) d; (5)
c 214,9^ 273,15 + tg ‘ dr ’ U
— если измеряют расход газа по массе М:
q = н.M Г’325+pg ■27315+tg ■ di. (6)
с ‘ 3600 V pa + pg 288,15 d’
следовательно,
= Hi ■ M |(101,325 + pg)(273,15 + tg/
C 61,1 ^ Pa + Pg d
где V— объемный расход газа, выраженный при определенных условиях влажности, температуры и давления на расходомере, м3/ч;
М — расход по массе влажного газа, кг/ч;
Н, — когда это целесообразно, низшая теплотворная способность сухого стандартного газа при 15 °С, 101,325 кПа, МДж/м3 в объемном выражении; или низшая теплотворная способность сухого стандартного газа (МДж/кг) по массе; tg — температура газа на расходомере, °С; d — относительная плотность испытываемого газа1); dr — относительная плотность стандартного газа; pg — давление газа в расходомере, Па; ра — атмосферное давление во время испытаний, Па.
Значение подводимой теплоты, скорректированное как указано выше, должно соответствовать требованиям 5.2:
— для стандартного газа и для котлов, имеющих номинальную выходную мощность менее 300 кВт;
— для поставляемого газа и для котлов, имеющих номинальную выходную мощность, равную или более 300 кВт.
6.3 Проверка безопасной работы
6.3.1 Проверка предельной температуры приборов регулировки, управления и обеспечения безопасности
Значения температуры измеряют в условиях теплового равновесия котла и при установке регулирующего термостата в положение, соответствующее наиболее высокой температуре.
Если электрический компонент может вызвать повышение температуры, например автоматическое выключение клапана, измерение температуры компонента не производят. В этом случае датчики для измерения температуры помещают таким образом, чтобы производилось измерение температуры воздуха вокруг прибора.
Проверку выполнения требований проводят по 5.3.1.
6.3.2 Проверка предельной температуры боковых стенок, передней части и верха
Проверку предельной температуры боковых стенок, передней части и верха выполняют при установке регулирующего термостата и соответствующей наиболее высокой температуре.
Значения температуры в наиболее горячих местах боковых стенок, передней части и верха измеряют с помощью датчиков температуры, чувствительный элемент которых помещен на внешнюю поверхность этих частей котла.
Температуру измеряют после достижения теплового равновесия.
Окружающую температуру измеряют на высоте 1,5 м над уровнем пола с помощью датчиков температуры, защищенных от радиации испытательной установки.
Проверку выполнения требований проводят по 5.3.2.
6.3.3 Измерение предельных температур пола и испытательных панелей
a) Измерение предельной температуры пола

