Стекло и изделия из него. Методы определения тепловых характеристик. Метод определения сопротивления теплопередаче
На нашем сайте можно бесплатно скачать Руководящий документ ГОСТ Р 54165-2010 в удобном формате. Узнать актуальный статус документа «Стекло и изделия из него. Методы определения тепловых характеристик. Метод определения сопротивления теплопередаче» на 2016 год.
Скрыть дополнительную информацию
Страница 1

Страница 2

Страница 3

Страница 4

Страница 5

Страница 6

Страница 7

Страница 8

Страница 9

Страница 10

Страница 11

Страница 12
ФЕДЕРАЛЬНОЕ АГЕНТСТВО ПО ТЕХНИЧЕСКОМУ РЕГУЛИРОВАНИЮ И МЕТРОЛОГИИ
|
НАЦИОНАЛЬНЫЙ СТАНДАРТ РОССИЙСКОЙ ФЕДЕРАЦИИ |
ГОСТР 54165— ж> 2010 (ИСО 10293:1997) |
Стекло и изделия из него
МЕТОДЫ ОПРЕДЕЛЕНИЯ ТЕПЛОВЫХ ХАРАКТЕРИСТИК
Метод определения сопротивления теплопередаче
ISO 10293:1997
Glass in building — Determination of steady-state U values (thermal transmittance) of multiple glazing — Heat flow meter method
(MOD)
Издание официальное
|
Москва Стандарти нформ 2012 |
Предисловие
Цели и принципы стандартизации в Российской Федерации установлены Федеральным законом от 27 декабря 2002 г. № 184-ФЗ «О техническом регулировании», а правила применения национальных стандартов Российской Федерации — ГОСТ Р 1.0-2004 «Стандартизация в Российской Федерации. Основные положения»
Сведения о стандарте
1 ПОДГОТОВЛЕН Открытым акционерным обществом «Институт стекла» на основе собственного аутентичного перевода на русский язык стандарта, указанного в пункте 4
2 ВНЕСЕН Техническим комитетом по стандартизации ТК 041 «Стекло»
3 УТВЕРЖДЕН И ВВЕДЕН В ДЕЙСТВИЕ Приказом Федерального агентства по техническому регулированию и метрологии от 21 декабря 2010 г. № 937-ст
4 Настоящий стандарт является модифицированным по отношению к международному стандарту ИС010293:1997 «Стекло в строительстве — Определение коэффициента теплопередачи (величины U) в стационарном режиме для многослойного остекления — Метод измерения теплового потока» (ISO 10293:1997 «Glass in building — Determination of steady-state U values (thermal transmittance) of multiple glazing — Heat flow meter method») путем изменения отдельных фраз (слов, значений показателей, ссылок), которые выделены в тексте курсивом. Внесение указанных технических отклонений направлено на учет особенностей объекта стандартизации, характерных для Российской Федерации, и целесообразности использования ссылочных национальных стандартов вместо ссылочных международных стандартов.
Потребности национальной экономики Российской Федерации и/или особенности российской национальной стандартизации учтены в дополнительном пункте 10.3 и библиографии, которые выделены путем заключения их в рамки из тонких линий, а информация с объяснением причин включения этих положений приведена в указанных пункте и разделе в виде примечаний.
Наименование настоящего стандарта изменено относительно наименования указанного международного стандарта для приведения в соответствие с ГОСТ Р 1.5 (пункт 3.5)
5 ВВЕДЕН ВПЕРВЫЕ
Информация об изменениях к настоящему стандарту публикуется в ежегодно издаваемом указателе «Национальные стандарты», а текст изменений и поправок— в ежемесячно издаваемых информационных указателях «Национальные стандарты». В случае пересмотра (замены) или отмены настоящего стандарта соответствующее уведомление будет опубликовано в ежемесячно издаваемом информационном указателе «Национальные стандарты». Соответствующая информация, уведомление и тексты размещаются также в информационной системе общего пользования — на официальном сайте Федерального агентства по техническому регулированию и метрологии в сети Интернет
© Стандартинформ, 2012
Настоящий стандарт не может быть полностью или частично воспроизведен, тиражирован и распространен в качестве официального издания без разрешения Федерального агентства по техническому регулированию и метрологии
Содержание
1 Область применения……………………………………………1
2 Нормативные ссылки…………………………………………..1
3 Основное уравнение и единицы величин………………………………..2
4 Требования к методу измерения…………………………………….2
5 Испытательное оборудование………………………………………2
6 Калибровка испытательной установки………………………………….4
7 Размеры образцов…………………………………………….4
8 Подготовка образцов……………………………………………4
9 Измерения ………………………………………………… 5
10 Расчет и оформление результатов…………………………………..5
11 Протокол испытаний…………………………………………..6
Библиография………………………………………………..7
ГОСТ Р 54165-2010 (ИСО 10293:1997)
НАЦИОНАЛЬНЫЙ СТАНДАРТ РОССИЙСКОЙ ФЕДЕРАЦИИ
Стекло и изделия из него МЕТОДЫ ОПРЕДЕЛЕНИЯ ТЕПЛОВЫХ ХАРАКТЕРИСТИК Метод определения сопротивления теплопередаче
Glass and glass products. Thermal properties determination methods. Thermal resistance determination method
Дата введения — 2012—07—01
1 Область применения
Настоящий стандарт устанавливает метод определения сопротивления теплопередаче R и коэффициента теплопередачи U многослойного остекления с плоскими параллельными поверхностями. Поверхности с рельефом, такие как узорчатое стекло, также могут рассматриваться как плоские.
Положения настоящего стандарта применимы к многослойному остеклению с внешними листами, непрозрачными для излучения в дальнем инфракрасном диапазоне, что выполняется для обычного стекла. Внутренние элементы остекления могут быть прозрачными в дальнем инфракрасном диапазоне.
Настоящий стандарт позволяет определить сопротивление теплопередаче R и коэффициент теплопередачи U центральной зоны многослойного остекления. Краевые эффекты, связанные с тепловым мостиком через дистанционную рамку клееного стеклопакета или раму, не рассматриваются. Передача энергии за счет солнечного излучения также не учитывается.
Сопротивление теплопередаче R и коэффициент теплопередачи U определяют для условий, соответствующих усредненным условиям эксплуатации остекления. Таким образом обеспечивается объективное сравнение различных изделий.
2 Нормативные ссылки
В настоящем стандарте использованы ссылки на следующие стандарты:
ГОСТ Р 54166-2010 (ЕН 673:1997) Стекло и изделия из него. Методы определения тепловых характеристик. Метод расчета сопротивления теплопередаче
ГОСТ Р 54168-2010 Стекло и изделия из него. Методы определения тепловых характеристик. Определение коэффициента эмиссии
Примечание — При пользовании настоящим стандартом целесообразно проверить действие ссылочных стандартов в информационной системе общего пользования — на официальном сайте Федерального агентства по техническому регулированию и метрологии в сети Интернет или по ежегодно издаваемому информационному указателю «Национальные стандарты», который опубликован по состоянию на 1 января текущего года, и по соответствующим ежемесячно издаваемым информационным указателям, опубликованным в текущем году. Если ссылочный стандарт заменен (изменен), то при пользовании настоящим стандартом следует руководствоваться заменяющим (измененным) стандартом. Если ссылочный стандарт отменен без замены, то положение, в котором дана ссылка на него, применяется в части, не затрагивающей эту ссылку.
Издание официальное
3 Основное уравнение и единицы величин
Коэффициент теплопередачи остекления U, Вт/(м2 • К), характеризует теплопередачу через центральную зону остекления без учета краевых эффектов и определяется какотношение плотности стационарного теплового потока за единицу времени через единицу площади поверхности к перепаду между температурами окружающей среды с каждой стороны.
Сопротивление теплопередаче R, м2 ■ К/Вт, и коэффициент теплопередачи U, Вт/(м2 ■ К), зависят от термического сопротивления многослойного остекления и коэффициентов теплообмена внешней и внутренней поверхностей и связаны между собой уравнением
где Rg — термическое сопротивление многослойного остекления, м2 • К/Вт; he — коэффициент теплообмена внешней поверхности , Вт/(м2 • К); hi — коэффициент теплообмена внутренней поверхности, Вт/(м2 • К).
Термическое сопротивление многослойного остекления определяют методом измерения теплового потока. Затем по уравнению (1) определяют сопротивление теплопередаче R и коэффициент теплопередачи.
4 Требования к методу измерения
Термическое сопротивление многослойного остекления определяют методом измерения теплового потока по [1].
Размеры испытываемыхобразцов и порядок выполнения измерений должны соответствовать особым требованиям к измерениям многослойного остекления (см. разделы 5, 6,7,8 и 9).
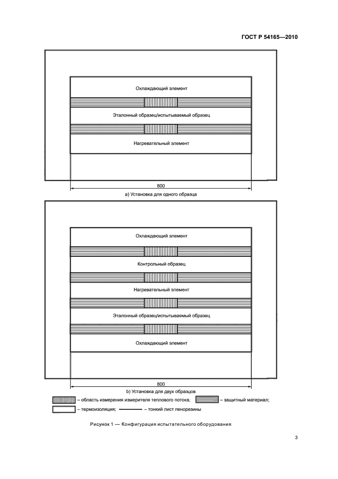
5 Испытательное оборудование
Для измерения термического сопротивления используют установку с симметричной конфигурацией для одного образца или установку для двух образцов, как показано на рисунке 1.
Установка для одного образца состоит из нагревательного и охлаждающего элементов, между которыми размещают испытываемый образец или эталонный образец для калибровки аппаратуры. Размеры поверхностей нагревательного и охлаждающего элементов должны быть одинаковыми.
Измерители теплового потока размещают в центрах поверхностей горячей и холодной пластин так, чтобы они были обращены друг к другу и располагались по обеим сторонам испытываемого (эталонного) образца. На обеих сторонах каждого измерителя теплового потока размещают тонкие листы эластичного пеноматериала (пенорезины) для обеспечения достаточного теплового контакта. Поверхностного контакта добиваются приложением давления. Размеры поверхностей листов эластичного пеноматериала должны быть такими же, как у нагревательного элемента.
Установка для двух образцов состоит из нагревательного элемента и двух охлаждающих элементов. Нагревательный элемент располагается между испытываемым и контрольным образцами. Для калибровки на место испытываемого образца помещают эталонный образец. Измерители теплового потока размещают на каждой стороне эталонного (испытательного) образца и контрольного образца. На обеих сторонах каждого измерителя теплового потока размещают тонкие листы эластичного пеноматериала (пенорезины) для обеспечения достаточного теплового контакта. Размеры поверхностей всех элементов и расположение измерителей теплового потока должны быть такими же, как в установке для одного образца.
Нагревательные элементы установок обоих типов должны иметь такие размеры, чтобы полностью закрывать поверхность эталонного (испытываемого) образца и, при использовании установки для двух образцов, контрольного образца. Потери тепла через внешние границы измерителей теплового потока должны быть ограничены при помощи термоизоляции краев и/или поддержания необходимой температуры окружающего воздуха.
Область измерения измерителей теплового потока установок обоих типов должна быть круглой или квадратной формы и иметь минимальную площадь поверхности 75 см2. Максимальный размер поверхности измерительной зоны (50 х 50) см. Область измерения должна быть окружена защитным материалом того же состава и толщины с допуском не более + 0,1 мм, что и покрытие всей поверхности образца (рисунок 1).
Охлаждающий элемент
Эталонный образец/испытываемый образец
Нагревательный элемент
_800_
а) Установка для одного образца
Охлаждающий элемент
Контрольный образец
Нагревательный элемент
Эталонный образец/испытываемый образец
Охлаждающий элемент
_800_
Ь) Установка для двух образцов
■ область измерения измерителя теплового потока;
■ защитный материал;
■ термоизоляция;—тонкий лист пенорезины
Рисунок 1 — Конфигурация испытательного оборудования
Термопары устанавливают парами так, чтобы они располагались напротив друг друга и имели прямой контакт с поверхностями эталонного (испытываемого) образца и также и при использовании установки для двух образцов.
Следует использовать не менее трех пар термопар. Одна пара должна находиться в центре области измерения измерителей теплового потока. Другие две пары должны располагаться диаметрально противоположно друг к другу на расстоянии от центра, равном 2/3 расстояния от центра до периметра измерительной зоны. Дополнительные пары термопар размещают так, чтобы добиться оптимального покрытия измерительной зоны.
6 Калибровка испытательной установки
Метод измерения теплового потока является относительным методом измерения, таккакоснован на оценке отношения термического сопротивления испытательного образца к термическому сопротивлению эталонного образца. Термическое сопротивление эталонного образца определяют по [2] при помощи установки с изолированной горячей пластиной. Эталонный образец должен состоять из однородного негигроскопичного материала и иметь плоские параллельные поверхности. Его термическое сопротивление должно быть сопоставимым с термическим сопротивлением испытательного образца.
Плотность теплового потока q, прошедшего через измеритель теплового потока, вычисляют по созданной разности потенциалов и средней температуре измерительной зоны измерителя теплового потока по формуле
q = (Ci + С2Тт) V, (2)
где q — плотность теплового потока, Вт/м2;
С1 — константа, Вт/(м2-В);
С2 — константа, Вт/(м2— В-К);
Тт — средняя температура измерительной зоны измерителя теплового потока, К;
V — разность потенциалов, В.
Константы С1 и С2 измерителя теплового потока определяют при помощи калибровки с использованием эталонного образца.
Если измерения проводят с использованием установки для одного образца, следует производить калибровку как установки для одного образца, таки установки с изолированной горячей пластиной путем периодических измерений на эталонном образце.
Если измерения проводят с использованием установки для двух образцов, контроль калибровки производят с помощью контрольного образца непосредственно в процессе измерений.
7 Размеры образцов
Образцы должны иметь квадратную форму. Максимальные размеры образцов — [(800х 800) +50] мм.
Допускается использовать образцы размером менее (450×450) мм, если в газовом промежутке(ах) не возникает значительной конвекции и возникающие ошибки не превышают погрешности, допустимой для установки размером (800 х 800) мм. Например, следует тщательно контролировать возможные ошибки вследствие боковых тепловых потоков через стекло образца.
Для образцов размером менее (800 х 800) мм размер измерительной зоны измерителя теплового потока (см. раздел 5) должен быть таким, чтобы вдоль каждого края образца оставалась не накрытая измерительной зоной полоса шириной не менее 100 мм.
Поверхности образцов должны быть плоскими и параллельными.
8 Подготовка образцов
Сумма прогибов или выгибов внешних листов в центральной зоне образца не должна превышать 0,5 мм.
Контроль прогибов и выгибов проводят:
— после охлаждения образцов до достижения изометрического равновесия при 10 °С;
— измерением непосредственно перед размещением образцов в измерительной установке.
В случае слишком большого выгиба корректировка толщины образцов в центральной зоне может быть выполнена путем соответствующего изменения давления. В случае слишком большого прогиба допускается корректировка путем подкачки воздуха для газового заполнения отличного от воздуха, если необходимая корректировка не превышает 0,5 мм.
9 Измерения
Измерения должны проводить при вертикальном положении образца.
Измерения могут быть проведены при других углах наклона, например при горизонтальном положении образца. Угол наклона и направление теплового потока (восходящий или нисходящий) должны быть указаны в протоколе испытаний.
Для целей сравнения или рекламы измерения проводят при средней температуре образцов (10 + 0,5) °С. В этом случае средний перепад температур между горячей и холодной поверхностями образца составляет (15 + 1) °С. Если значение сопротивления теплопередачи R будет использовано при проектировании, следует учесть климатические и другие географические особенности региона применения (см. 10.3).
10 Расчет и оформление результатов
10.1 Термическое сопротивление многослойного остекления
Термическое сопротивление остекления R м2 • К/Вт, определяют по формуле
Rg = 2(Ti — Т2)/(с/1 + q2), (3)
где д., — плотность теплового потока, показанная измерителем теплового потока, расположенным на теплой стороне образца, Вт/м2; q2 — плотность теплового потока, показанная измерителем теплового потока, расположенным на холодной стороне образца, Вт/м2;
— средняя температура горячей поверхности образца, К;
Т2 — средняя температура холодной поверхности образца, К.
10.2 Сопротивление теплопередаче и коэффициент теплопередачи
Сопротивление теплопередаче R и коэффициент теплопередачи U определяют по уравнению (1).
Для целей сравнения при определении величин R и U обычного многослойного остекления, т.е. вертикального остекления без низкоэмиссионных покрытий на внешних поверхностях, используют следующие значения коэффициентов поверхностного теплообмена:
— коэффициент теплообмена внутренней поверхности, /7,= 8 Вт/(м2 К);
— коэффициент теплообмена внешней поверхности, he = 23 Вт/(м2 • К).
Примечание — Обратные значения hg и /?,, округленные до двух знаков после запятой, равны Mhe = 0,04 м2 — К/Вт и Mhj = 0,13 м2 — К/Вт.
Для многослойного остекления с низкоэмиссионным покрытием на внешней поверхности, обращенной в помещение, коэффициент теплообмена внутренней поверхности /?^Вт/(м2 • К), определяют по формуле
hi = 3,6 + 4,4(е/0,837),
где б — откорректированный коэффициент эмиссии поверхности для излучения, соответствующего комнатной температуре (для флоат-стекпа s =0,837).
Откорректированный коэффициент эмиссии определяют по ГОСТР 54168.
Примечание — Значения s менее 0,837 (из-за низкоэмиссионного покрытия) учитывают только в случае, если исключена конденсация воды на поверхности с покрытием.
Улучшение значений R и Uблагодаря покрытиям с пониженным коэффициентом эмиссии на внешней поверхности остекления не учитывают.
Если для учета особых граничных условий используют другие значения he и эти значения должны быть указаны в протоколе испытаний.
10.3 Декларируемые и проектные значения
Декларируемые значения R и U, используемые для целей сравнения и/или рекламы (продвижения продукции), определяют при следующих стандартизованных граничных условиях:
— откорректированный коэффициент эмиссии поверхности без покрытия для натрий-каль-ций-силикатного стекла и боросиликатного стекла s = 0,837;
— перепад температур между граничными поверхностями стекла АТ = 15 К;
— средняя температура газового промежутка Гср = 283 К;
— коэффициент внешнего теплообмена для поверхности натрий-кальций-силикатного стекла без покрытия he = 23 Вт/(м2 • К);
— коэффициент внутреннего теплообмена для поверхности натрий-кальций-силикатного стекла без покрытия /7( = 8 Вт/(м2 К).
Для проектирования остекления зданий декларируемые значения R и U могут быть недостаточно точными. В этом случае следует определить проектные значения с использованием метода, установленного настоящим стандартом, или по ГОСТ Р 54166.
Проектные значения R и U (обозначаемые Ud соответственно), соответствующие расположе
нию остекления и условиям окружающей среды, определяют с учетом климатических особенностей региона применения, то есть при нестандартизованных граничных условиях.
Нестандартизованные граничные условия рекомендуется определять по [3]. Если Rd^Ud используют для проектирования с учетом климатических параметров холодного периода года, граничные условия выбирают таким образом, чтобы температура наружного воздуха соответствовала температуре наиболее холодной пятидневки обеспеченностью 0,92, а скорость ветра — значению средней скорости ветра за период со средней суточной температурой воздуха < 8 °С.
Значения Rd и Ud рассчитывают по уравнению (1) с использованием соответствующих нестандартизованных значений he и
Примечание — Приведенные выше дополнительные по отношению к ИСО 10293:1997 положения включены в настоящий стандарт на основании сложившейся в Российской Федерации практики расчета сопротивления теплопередаче, точности расчетной модели и требований точности определения потерь тепла при проектировании.
11 Протокол испытаний
Протокол испытаний должен содержать следующую информацию:
a) характеристики образцов:
— длина, мм;
— ширина, мм;
— толщина, измеренная на торцах, мм;
— толщина листов стекла, мм;
— ширина газового промежутка (промежутков), измеренная на торцах, мм;
— тип газового заполнения;
— положение ИК-отражающего покрытия (покрытий);
— прогиб или выгиб в центральной зоне, мм;
— откорректированный коэффициент эмиссии поверхности, обращенной в помещение;
b) поперечное сечение образца: рисунок с изображением структуры образца (положение и толщина листов стекла, положение и ширина газового промежутка (промежутков), тип газового заполнения, положение внутренних пленок, положение ИК-отражающего покрытия (покрытий) и т. д.);
c) результаты измерений:
— средняя температура поверхности горячей стороны образцов, К;
— средняя температура поверхности холодной стороны образцов, К;
— средний перепад температур между горячей и холодной сторонами образцов, К;
— средняя температура образцов, К;
— термическое сопротивление с точностью до трех значащих цифр, м2 • К/Вт;
— значения /?, и/7е, Вт/(м2 К), при использовании нестандартизованных значений;
— угол наклона остекления и направление теплового потока (вверх или вниз), если положение остекления не вертикальное;
— значение U(Ud)c точностью до одного знака после запятой, Вт/(м2 • К);
— значение R (RJ с точностью до двух знаков после запятой, Вт/(м2 ■ К).
Библиография
[1] ИСО 8301:1991 Теплоизоляция — Определение стационарного термического сопротивления и связан
ных с ним свойств — Оборудование для измерения теплового потока
ISO 8301:1991 Thermal insulation — Determination of steady-state thermal resistance and related proper
ties — Heat flow meter apparatus
[2] ИСО 8302:1991 Теплоизоляция — Определение стационарного термического сопротивления и связан
ных с ним свойств — Оборудование для измерения методом изолированной горячей пластины
ISO 8302:1991 Thermal insulation — Determination of steady-state thermal resistance and related proper
ties — Guarded hot plate apparatus
[3] СНиП 23-01—99 Строительная климатология
Примечание — Данный дополнительный по отношению к ИСО 10293:1997 раздел приведен с целью обеспечения соответствия настоящего стандарта требованиям ГОСТ Р 1.5.
УДК 666.151:006.354 ОКС 81.040.20 И19
Ключевые слова: стекло и изделия из него, методы определения, сопротивление теплопередаче, коэффициент теплопередачи
Редактор В.А. Бучумова Технический редактор В.Н. Прусакова Корректор И.А. Королева Компьютерная верстка И.А. Налейкиной
Сдано в набор 13.01.2012. Подписано в печать 03.02.2012. Формат 60 х 84ув. Гарнитура Ариал.
Уел. печ. л. 1,40. Уч.-изд. л. 0,85. Тираж 121 экз. Зак. 112.
ФГУП «СТАНДАРТИНФОРМ», 123995 Москва, Гранатный пер., 4. www.gostinfo.ruinfo@gostinfo.ru Набрано во ФГУП «СТАНДАРТИНФОРМ» на ПЭВМ.
Отпечатано в филиале ФГУП «СТАНДАРТИНФОРМ» — тип. «Московский печатник», 105062 Москва, Лялин пер., 6.
