Шум машин. Определение уровней звуковой мощности источников шума по звуковому давлению. Технический метод в существенно свободном звуковом поле над звукоотражающей плоскостью

Страница 1

Страница 2

Страница 3

Страница 4

Страница 5

Страница 6

Страница 7

Страница 8

Страница 9

Страница 10

Страница 11

Страница 12

Страница 13

Страница 14

Страница 15

Страница 16

Страница 17

Страница 18

Страница 19

Страница 20

Страница 21

Страница 22

Страница 23
ГОСТ Р 51401-99 (ИСО 3744-94)
ГОСУДАРСТВЕННЫЙ СТАНДАРТ РОССИЙСКОЙ ФЕДЕРАЦИИ
Шум машин
ОПРЕДЕЛЕНИЕ УРОВНЕЙ ЗВУКОВОЙ МОЩНОСТИ ИСТОЧНИКОВ ШУМА ПО ЗВУКОВОМУ ДАВЛЕНИЮ
Технический метод в существенно свободном звуковом поле над звукоотражающей плоскостью
Издание официальное
гъ
0
1
I
ГОССТАНДАРТ РОССИИ Москва
ГОСТ Р 51401-99
Предисловие
1 РАЗРАБОТАН Акционерным обществом Научно-исследовательский центр контроля и диагностики технических систем (АО НИЦ КД)
ВНЕСЕН Главным управлением технической политики в области стандартизации Госстандарта России
2 ПРИНЯТ И ВВЕДЕН В ДЕЙСТВИЕ Постановлением Госстандарта России от 17 декабря 1999 г. N° 543-ст
3 Стандарт полностью соответствует стандарту’ ИСО 3744—94 «Акустика. Определение уровней звуковой мощности источников шума по звуковому давлению. Технический метод в существенно свободном звуковом поле над звукоотражающей плоскостью»
4 ВВЕДЕН ВПЕРВЫЕ
© ИПК Издательство стандартов.2000
Настоящий стандарт не может быть полностью или частично воспроизведен, тиражирован и распространен в качестве официального издания без разрешения Госстандарта России
II
ГОСТ Р 51401-99
Содержание
1 Нормативные ссылки………………………………………………. 1
2 Обшие положения…………………………………………………. 1
3 Аппаратура……………………………………………………… 2
4 Условия измерений………………………………………………… 3
5 Подготовка к измерениям……………………………………………. 4
6 Проведение измерений……………………………………………… 7
7 Обработка результатов измерений………………………………………. 7
Приложение Л Определение показателя акустических условий fo…………………..10
Приложение Ь Точки измерения на полусферической измерительной поверхности……….12
Приложение В Точки измерения на измерительной поверхности в виде параллелепипеда…..15
Приложение Г Руководство по обнаружению импульсного шума……………………19
Приложение Д Определение показателя направленности…………………………19
Приложение Е Библиография…………………………………………..20
III
ГОСТ Р 51401-99 (ИСО 3744-94) ГОСУДАРСТВЕННЫЙ СТАНДАРТ РОССИЙСКОЙ ФЕДЕРАЦИИ
Шум машин
ОПРЕДЕЛЕНИЕ УРОВНЕЙ ЗВУКОВОЙ МОЩНОСТИ ИСТОЧНИКОВ ШУМА ПО ЗВУКОВОМУ ДАВЛЕНИЮ
Технический метод в существенно свободном звуковом поле над ввукоотражаюшей плоскостью
Noise of machines. Determination of sound power levels of noise sources using sound pressure. Engineering method in an essentially free field over a reflecting plane
Дата введения 2000—07—01
Настоящий стандарт распространяется на машины, технологическое оборудование и другие источники шума (далее — источники шума), которые создают в воздушной среде все виды шумов по ГОСТ 12.1.003.
Стандарт устанавливает технический метод определения в помещении или вне его уровней звуковой мощности в полосах частот, корректированного по А уровня звуковой мощности, показателя направленности источника шума. Измерения проводятся в регламентируемых настоящим стандартом условиях существенно свободного звукового поля над звукоотражающей плоскостью с возможным наличием других звукоотражающих апоскостей.
На основе настоящего стандарта разрабатывают стандарты и другие нормативные документы по испытаниям на шум видов машин, которые могут конкретизировать требования по установке, режимам работы, измерительной поверхности, точкам измерений и т. д.
1 Нормативные ссылки
ГОСТ 12.1.003-83 Система стандартов безопасности труда. Шум. Общие требования безопасности
ГОСТ 17168-82 Фильтры электронные октавные и третьоктавные. Общие технические требования и методы испытаний
ГОСТ 17187-81 Шумомеры. Общие технические требования. Методы испытаний
ГОСТ 23941-79 Шум. Методы определения шумовых характеристик. Общие требования
ГОСТ 27408-87 Шум. Методы статистической обработки результатов определения и контроля уровня шума, излучаемого машинами
ГОСТ Р 51400-99 (ИСО 3743-1-94, ИСО 3743-2-94) Шум машин. Определение уровней звуковой мощности источников шума по звуковому давлению. Технические методы для малых переносных источников шума в реверберационных полях в помещениях с жесткими стенами и в специальных реверберационных камерах
2 Общие положения
2.1 Установленный настоящим стандартом метод применим для источников шума любых размеров, кроме промышленных предприятий с множественными источниками шума, протяженных технических объектов (например конвейеры, трубопроводы), технических объектов повышенной высоты (например дымовые трубы).
2.2 Технический метод обеспечивает среднее квадратическое отклонение воспроизводимости измерений ая согласно ГОСТ 27408 в соответствии с таблицей 1 настоящего стандарта.
Приведенные в таблице 1 значения ол. определены по совокупности источников шума различной природы и поэтому не зависят от конкретного источника шума непосредственно. Они определяются различиями между испытательными лабораториями в форме, геометрических размерах испытательного помещения, акустических свойствах поверхностей его стен, пола и потолка.
Издание официальное
I
ГОСТ Р 51401-99
атмосферных условиях и других внешних условий (при испытаниях вне помещения), фоновом шуме, типе и калибровке применяемой измерительной аппаратуры. Они обуславливаются также формой измерительной поверхности, числом и положением точек измерения, расположением испытуемого источника шума в испытательном пространстве, продолжительностью измерений, показателем акустических условий К,. В таблице I приведены верхние предельные значения, которые могут быть меньше для одинаково оборудованных лабораторий и для источников шума конкретного вида.
|
Таблица 1 — Верхние границы опенки среднего квадратического отклонения воспроизводимости ак уровней звуковой мощности |
|||||||||||||||||||||||||||
|
|||||||||||||||||||||||||||
2.3 Неопределенность результатов измерений, выражаемая через среднее квадратическое отклонение воспроизводимости измерений ая , зависит от доверительной вероятности. Например. для распределения уровней звуковой мощности по нормальному закону при доверительной вероятности 90 % действительное значение уровня находится в интервале ±1.656 ая , а при доверительной вероятности 95 % — в интервале ±1.96 ак от измеренного значения. Неопределенность результатов измерений рассчитывают по ГОСТ 27408 определением постоянной К (параметра неопределенности К).
2.4 Измерения могут проводиться:
— заглушенных камерах с жестким полом;
— в производственных помещениях, при необходимости специально подготавливаемых к испытаниям. В производственных помещениях, пригодных к измерениям, доля звукового давления на измерительной поверхности за счет реверберации должна быть незначительна по сравнению со звуковым давлением непосредственно от источника шума. Обычно этому условию отвечают большие производственные помещения или небольшие помещения со значительными участками звукопоглощающих облицовок (покрытий) на стенах и потолке. Допускается наличие в помещении, кроме звукоотражающего пола, еще двух звукоотражающих плоскостей, если испытуемый источник шума должен быть установки перед ними в условиях типовой эксплуатации;
— на открытых площадках над звукоотражающей плоскостью.
Необходимо избегать любых звукоотражающих поверхностей, не являющихся полом или частью поверхности испытательного помещения, которые в силу своей вибрации могут излучать заметный фоновый шум.
Проверку соответствия условий измерений свободному звуковому полю проводят согласно приложению А.
3 Аппаратура
3.1 Ятя измерений применяют шумомеры 1-го класса по ГОСТ 17187 с полосовыми электронными фильтрами по ГОСТ 17168.
Микрофон шумомера должен быть предназначен для измерений в свободном звуковом поле. При измерениях на открытой площадке при скорости ветра от 1 до 5 м/с следует применять ветровой
2
ГОСТ Р 51401-99
экран микрофона. При этом необходимо обеспечить, чтобы ветровой экран не оказывал влияние на точность измерений.
3.2 Акустическую калибровку шумомера следует проводить до и после проведения измерений на одной или нескольких частотах диапазона измерений с применением калибратора звука с погрешностью не более 10,3 дБ. Результаты калибровки не должны расходиться более чем на 0,2 дБ.
3.3 Интегрирующий шумомер применяют, когда флуктуации звукового давления, измеренные с временной характеристикой S шумомера, превышают ±1 дБ.
3.4 Измерения следует проводить при температуре, магнитных и электрических полях, допускаемых изготовителем аппаратуры. Измерения не проводят при выпадении осадков.
3.5 Образцовый источник шума должен соответствовать ГОСТ Р 51400, приложение Л.
4 Условия измерений
4.1 Размеры открытой площадки или пата в помещении должны быть достаточны, чтобы разместить в центре испытуемый источник шума и вокруг него на выбранной измерительной поверхности точки измерения по 5.4.6—5.4.7. Площадка или пол по меньшей мере на /. /2 (X — длина волны самой низкой частоты шума в заданном диапазоне частот) должны превышать проекцию измерительной поверхности на площадку или пол.
4.2 На плоских открытых площадках с асфальтовым или бетонным покрытием и со звукоот-ражаюшими объектами, расположенными на расстоянии не менее трех расстояний от центра огибающего параллелепипеда до наиболее удаленной от него точки измерения на измерительной поверхности, условия измерений удовлетворяют требованиям настоящего стандарта и не подлежат проверке. Считают, что показатель акустических условий К, в этом случае меньше или равен 0,5 дБ. т. е. пренебрежимо мал.
Для заглушенной камеры с жестким полом условия измерения также соответствуют свободному звуковому полю.
Коэффициент звукопоглощения звукоотражаюших шюскостей должен быть менее 0,06.
Посторонний объект вблизи источника шума рассматривают как звукоотражаюший. если его ширина более 1/10 расстояния от него до огибающего паратлелепипеда. Примерами таких объектов может служить шест, стойка или другой поддерживающий элемент.
4.3 Во всех других случаях следует проводить проверку условий свободного звукового поля определением показателя акустических условий К, согласно приложению А. Показатель характеризует степень отличия реального звукового поля от свободного звукового поля, искажаемого за счет отражений звука от границ испытательного помещения и окружающих испытуемый источник шума звукоотражающих объектов.
Стандарт применим, если К2<2 дБ. Показатель акустических условий определяют для каждой частотной полосы и для измерений с частотной характеристикой А (при корректировании по А).
Коррекцию на акустические условия вносят согласно 7.5.
4.4 Если К, превышает 2 дБ. то следует:
— выбрать меньшую измерительную поверхность, но так. чтобы она была вне ближнего звукового поля источника шума (не ближе 0.25 м от огибающего параллелепипеда для измерительной поверхности в виде парачлелепипеда и не менее 1 м — для полусферической измерительной поверхности) или
— уменьшить звукоотражен не от стен и потолка испытательного помещения, увеличив общее звукопоглощение в помещении с помощью звукопоглощающих облицовок и покрытий, или
— выбрать другое испытательное пространство (испытательное помещение и установленные в нем. если это избежать не удается, посторонние объекты) — и определить в каждом случае новое значение показателя акустических условий К2.
4.5 Если, следуя 4.4, не удается обеспечить К:й2, то результаты измерений можно использовать для ориентировочной оценки верхней границы уровня звуковой мощности. В этом случае в протоколе испытаний должно быть указано, что для расчета использовано значение К„ равное 2 дБ. и что действительное значение уровня звуковой мощности равно или меньше определенного согласно настоящему стандарту.
4.6 Измерения на открытой площадке не следует проводить при выпадении атмосферных осадков и при скорости ветра более 5 м/с.
4.7 Усредненный по точкам измерения па измерительной поверхности фоновый шум, например, от аэродинамических потоков вблизи микрофона, воздействия на аппаратуру вибрации,
3
ГОСТ Р 51401-99
магнитных или электрических полей, других источников шума, кроме испытуемого, должен быть по меньшей мере на 6 дБ и предпочтительно на 15 дБ и более ниже усредненного по измерительной поверхности уровня звукового давления при работающем источнике шума.
Коррекцию Kt на фоновый шум вносят согласно 7.5.
5 Подготовка к измерениям
5.1 Установка источника шума
Способ и место установки источника шума могут оказывать влияние на его звуковую мощность. Обычно источник шума устанавливают при испытаниях на шум так же, как он устанавливается при типовой эксплуатации.
Если имеется возможность установки несколькими способами или типовые условия установки неизвестны, необходима договоренность заинтересованных сторон, отражаемая в протоколе испытаний.
В силу динамического взаимодействия источника шума с поверхностями опирания. на которые передается вибрация от источника, последние могут излучать значительный низкочастотный шум. Во избежание этого следует использовать виброизолирующие прокладки, если они применяются при эксплуатации. При необходимости прокладки применяют и тогда, когда типовые условия монтажа неизвестны.
5.1.1 Источник шума устанавливают на расстоянии от стен и потолка, достаточном для построения вокруг него изх<ерительной поверхности согласно 4.4.
5.1.2 Источники шума, устанавливаемые при эксплуатации на стене, полу перед стеной (стенами), испытывают в таком же положении. Если источник шума работает на столе или на подставке, то испытание на шум проводят на полу не ближе 1,5 м от любой из стен помещения, если иное не установлено стандартом испытаний на шум вида машин.
5.1.3 Ручные машины, удерживаемые при работе в руках, испытывают в таком же положении, чтобы исключить возникновение низкочастотного шума от поверхностей опорных конструкций, возбуждаемых передаваемой на них вибрацией. Если ручные машины при работе вывешиваются или опираются с помощью вспомогательных устройств, то эти устройства считают частью ручной машины, и испытания проводят при их наличии.
5.2 Вспомогательное оборудование (трубопроводы, воздуховоды и т. д.). если это возможно, должно быть вынесено за пределы испытательного пространства. В противном случае оно считается частью источника шума и должно быть включено в огибающий параллелепипед.
5.3 Перед началом измерений источник должен быть выведен на рабочий режим, избираемый по ГОСТ 23941, раздел 5. Если по техническим причинам или соображениям техники безопасности рабочий режим не может быть воспроизведен, то он должен быть промоделирован с максимальным приближением к типовому рабочему режиму по условиям ихлучеиия шума. При прочих равных условиях допускается выбирать рабочий режим, характеризуемый наибольшей воспроизводимостью результатов измерений. Допускается проводить испытания на нескольких рабочих режимах с последующим объединением результатов на основе энергетического усреднения, рассчитывая среднее квадратическое значение по данным испытаний на отдельных режимах.
Если шум зависит от обрабатываемого материала или инструмента, то они должны соответствовать типовым условиям работы источника шума и указаны в протоколе испытаний.
5.4 Выбор измерительной поверхности
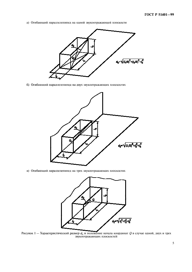
5.4.1 Строят огибающий параллелепипед — воображаемую поверхность, представляющую собой прямоугольный параллелепипед наименьших размеров, полностью вмещающий источник шума и опирающийся на одну (две или три взаимно перпендикулярных) звукоотражаюшую плоскость. Выступающие части источника шума, про которые известно, что они не дают заметного вклада в шум, допускается не включать в огибающий параллелепипед.
Определяют характеристический размер источника шума в соответствии с рисунком 1. Оси координат на рисунке 1 параллельны ребрам огибающего параллелепипеда.
5.4.2 Выбирают форму измерительной поверхности в виде полусферы, части полусферы или прямоугольного параллелепипеда. Измерительная поверхность служит местом размещения точек измерений, охватывает огибающий параллелепипед и опирается на звукоотражающую(ие) плоскостей).
Полусферическая измерительная поверхность имеет измерительный радиус г и центр в точке Q на рисунке 1. Точка Q является центром прямоугольного параллелепипеда, образованного огибающим параллелепипедом и примыкающими к нему его зеркальными изображениями в звукоотражающих плоскостях, как в зеркалах.
4
а) Огибающий параллелепипед на одной звукоотражающей плоскости
б) Огибающий параллелепипед на двух звукоотражающих плоскостях
ГОСТ Р 51401-99
|
и) Огибающий параллелепипед на трех звукоотражающих плоскостях |
5
ГОСТ Р 51401-99
Полусферическую измерительную поверхность выбирают, когда проводят измерения на больших открытых площадках, на которых расстояния до звукоотражающих объектов больше, чем указано в 4.2. Полусферическую или часть полусферической измерительной поверхности используют при измерении показателя направленности источника шума.
Измерительная поверхность в виде параллелепипеда имеет грани, параллельные огибающему параллелепипеду, и удалена от него на измерительное расстояние d.
Измерительную поверхность в виде параллелепипеда выбирают при измерениях на открытых площадках и в помещениях с неблагоприятными акустическими условиями, когда много звукоот-ражающих объектов в испытательном пространстве и велик фоновый шум. что предопределяет выбор меньшего измерительного расстояния J.
При измерениях на серии машин одного вида должна применяться одна и та же измерительная поверхность.
5.4.3 Радиус г должен быть не менее двух характеристических размеров du и должен выбираться из ряда 1, 2, 4. 6. 8, 10, 12. 14. 16 м, насколько это позволяют размеры испытательного пространства.
5.4.4 Измерительное расстояние d измеряют по перпендикуляру между соответствующими гранями измерительной поверхности и огибающего параллелепипеда и выбирают из ряда 0.25; 0.5; I; 2; 4; 8 м. насколько это позволяет испытательное пространство. Предпочитаемое значение d = 1м.
5.4.5 Определяют площадь измерительной поверхности.
Плошадь полусферической поверхности S равна:
2 л г — при одной звукоотражающей плоскости (источник шума установлен на полу или стене),
л г2 — при двух звукоотражающих плоскостях (источник шума установлен на полу перед стеной или на стене над полом).
0,5 л г2 — при трех звукоотражающих плоскостях (источник шума установлен на полу в углу).
Плошадь измерительной поверхности .У. м\ в виде параллелепипеда, соответствующей рисункам В.2—В.6. рассчитывают по формуле
S = 4 {ab + Ьс + са), (1)
где а = 0.5/j+d; b = 0,5 l2+d: с = /3+<£
/,. /, и /3 — длина, ширина и высота огибающего параллелепипеда соответственно.
При двух звукоотражающих плоскостях плошадь вычисляют по формулам на рисунках В.7. В.8.
5.4.6 Назначают основные точки измерения на измерительной поверхности. Для полусферической поверхности следует руководствоваться рисунками Б.1 и Б.2 при одной звукоотражаюшей плоскости и рисунком Б.З при двух звукоотражаюших плоскостях. Координаты точек измерений приведены в приложении Б. Координаты заданы из условия равномерного по плошади размещения точек измерений по измерительной поверхности и минимизации интерференционных эффектов звуковых волн, изученных источником шума и отраженных от звукоотражаюшей плоскости.
Число точек измерения может быть уменьшено, если предварительными исследованиями для данного вида машин установлено, что результаты определения уровня звуковой мощности с использованием уменьшенного числа точек измерения не отличаются от результатов с использованием всех указываемых настоящим стандартом точек более чем на 1.0 дБ.
Для измерительной поверхности в виде параллелепипеда точки измерения выбирают в соответствии с приложением В.
5.4.7 Выбирают дополнительные точки измерения на измерительной поверхности.
Дополнительные точки измерения должны быть использованы, если:
а) разброс уровней звукового давления в основных точках измерения. дБ. превышает число основных точек,
б) источник излучает шум высокой направленности, т. е. показатель направленности />/ >15 дБ
в) шум большого источника излучается преимущественно или особенно интенсивно небольшими его частями, например, через отверстия в звукоизолирующем кожухе.
Число точек измерения на полусферической поверхности в случае а) увеличивается с 10 до 19 посредством поворота на 180‘ сети основных точек измерения вокруг оси Z
Число точек измерения на измерительной поверхности в виде параллелепипеда в случае а) возрастает в соответствии с рисунком В.1 путем увеличения числа прямоугольных участков равной площади, каждому из которых соответствует своя точка измерения.
Если имеют место случаи перечислений б) и в), то дополнительные точки измерения распола-
6
ГОСТ Р 51401-99
гают в местах интенсивного излучения шума. При этом не накладывается условие расположения их на участках измерительной поверхности равной площади |1).
5.4.8 Число точек измерения (основных и дополнительных) может быть также уменьшено, если предварительными исследованиями для данного вида машин установлено, что усредненный по измерительной поверхности уровень звукового давления, измеренный с использованием уменьшенного числа точек, не отличается более чем на 0,5 дБ от уровня, измеренного с использованием всех точек.
5.4.9 По соображениям техники безопасности верхняя точка измерения на полусферической поверхности (совпадающие позиции 10 и 20 на рисунке Б.2) может быть исключена, если это установлено в стандарте по испытаниям на шум вида машин.
5.4.10 Если известно, что шум постоянный, то допускается использовать измерения со сканированием микрофона с постоянной скоростью вдоль траектории согласно приложениям Б и В с использованием соответствующих координатных механизмов (систем) сканирования.
6 Проведение измерений
6.1 Предварительными измерениями устанавливают вид шума по ГОСТ 12.1.003 и особенности шума источника в соответствии с 5.4.7.
Для обнаружения импульсного шума руководствуются приложением Г.
6.2 Последовательно устанавливают микрофон в точки измерения, каждый раз ориентируя микрофон на источник шума в направлении на центр полусферической измерительной поверхности или перпендикулярно к грани измерительной поверхности в виде параллелепипеда или сканируют микрофон, соблюдая то же правило ориентировки.
6.3 Продолжительность измерения при постоянном шуме в частотных полосах со среднегеометрической частотой 160 Гц и ниже должна быть не менее 30 с, а в частотных полосах со среднегеометрической частотой 250 Гц и с. выше — не менее 10 с.
При непостоянном шуме продолжительность измерений на каждом из режимов работы выбирают в специальном исследовании и указывают в протоколе испытаний.
При измерениях сканированием продолжительность измерений должна быть не менее времени двух полных перемещений микрофонов по траектории.
6.4 Интегрирующий шумомер применяют согласно 3.3. Если интегрирующий шумомер не применяют, то за результат измерения в точке измерения принимают среднее арифметическое максимального и минимального значений уровня звукового давления за время наблюдения.
6.5 В каждой точке измерения или по траектории сканирования измеряют уровень звука Lf i (или эквивалентный уровень звука L^ ,) или уровень звукового давления в полосах частот при неработающем и работающем источниках шума, используя временную характеристику Sшумомера.
6.6 Если шум представляет собой единичные звуковые сигналы, то для расчета уровня звукового давления единичного сигнала LpM измеряют эквивалентный уровень звука, используя временную характеристику S шумомера или, при длительности сигнала менее 1 с. временную характеристику /.
Продолжительность измерения в этом случае равна длительности звучания сигнала, то не более
30 с.
6.7 Между микрофоном и источником шума не должны находиться люди или предметы, искажающие звуковое поле. Расстояние между микрофоном и наблюдателем должно быть не менее 0,5 м.
7 Обработка результатов измерений
7.1 Вычисление уровня звукового давления, усредненного по измерительной поверхности
Средний измеренный уровень звукового давления Тр\ дБ, на измерительной поверхности (средний уровень звука или средний эквивалентный уровень звука. дБ А, или средний уровень звукового давления в частотной полосе) при работающем источнике шума рассчитывают по формуле
Г/ = 10 lg
Л А’
10″
где . — уровень звукового давления.измеренный в /-Й точке измерения.дБ (дБЛ);
г*
N — число точек измерения.
(2)
ГОСТ Р 51401-99
Средний уровень звукового давления L «, дБ, на измерительной поверхности (средний уровень звука или средний эквивалентный уровень звука, дБ/1, или средний уровень звукового давления в частотной полосе) при неработающем источнике шума (фоновый шум) рассчитывают по формуле
(3)
10°
.1 L.
10 lg
где L». — уровень звукового давления фонового шума, измеренный в /-Й точке измерения. дБ (дБ/1);
N — число точек измерения.
Усреднение проводят в предположении, что на каждом участке измерительной поверхности, которому соответствует точка измерения, звуковое давление постоянно.
7.2 Вычисление уровня звука по измеренным уровням звукового давления в полосах частот Уровень звука LpA (или эквивалентный уровень звука IWiT), дБЛ. если он не измерен непосредственно, может быть рассчитан по формуле
(4)
10 lg
-рЛ
0.1 <£_ » А)
где LM — уровень звукового давления в частотной полосе j; А. — согласно таблице 2.
|
Таблица 2 — Значения А, для октавных и грегьоктавных полос |
||||||||||||||||||||||||||||||||||||||||||||||||||||||||||||||||||||||||||||||||||||
|
Если источник шума тональный, то вычисление следует проводить по результатам измерений в третьоктавных полосах.
7.3 Уровень звукового давления единичного звукового сигнала Lf u, дБ/1, рассчитывают по формуле
V-W10‘*(£)• (5)
где Lpcqj — эквивалентный уровень звука единичного звукового сигнала:
Т — продолжительность измерениям;
Т0 = 1 с.
7.4 Определение коррекции на фоновый шум
ГОСТ Р 51401-99
Коррекцию на фоновый шум А», рассчитывают по формуле
Кх м — 10 lg (1 — Ю0|Л1),
(6)
где Д L я L’ — L».
Если Д Z. > 15 дБ, то коррекцию не рассчитывают и ею пренебрегают. Если Д L > 6 дБ. то измерения по настоящему стандарту обеспечивают точность технического метода. Если Д L < 6 дБ. то результаты определения уровня звуковой мощности согласно 7.6 могут быть использованы только для оценки его верхней границы. В этом случае в формулу (7) следует поставить значение Кх, равное 1.3 дБ. соответствующее значению Д L = 6 дБ. В протоколе испытаний должно быть отмечено, что требования стандарта к фоновому шуму не выполняются.
7.5 Рассчитывают средний на измерительной поверхности уровень звука или эквивалентный уровень звука, или уровень звукового давления в частотной полосе с учетом коррекции на фоновый шум и акустические условия окружающей среды Tfft дБЛ или дБ соответственно, по формуле
(7)
Показатель акустических условий К2 определяют согласно приложению А.
7.6 Вычисляют уровень звуковой мощности Lw, дБ. по формуле
(8)
где L# — средний на измерительной поверхности уровеньзвука или эквивалентный уровень звука, или средний на измерительной поверхности уровень звукового давления в частотной полосе согласно 7.5;
S — площадь измерительной поверхности.м2;
5= 1 м\
Результат расчета по формуле (8) корректированного по А уровня звуковой мощности округляют до ближайшего значения, кратного 0.5 дБ.
7.7 При необходимости, если это установлено стандартом по испытаниям на шум вида машин, могут быть определены и отражены в протоколе испытаний следующие данные:
— значения показателя импульсного шума, определенные в соответствии с приложением Г;
— наличие в шумовом спектре тональных составляющих, определяемых на слух;
— значения уровней звуковой мощности или уровней звукового давления в полосах частот в точке(ах) измерения или средний на измерительной поверхности с коррекциями на фоновый шум и акустические условия окружающей среды;
— показатель направленности, определенный согласно приложению Д;
— временная зависимость уровней звукового давления в точке(ах) измерения:
— уровни звукового давления в точках измерения, измеренные с различными временными и (ил и) частотными характеристиками шумомера:
* скорость и направление ветра:
— среднее квадратическое отклонение воспроизводимости измерений сА. и т. д.
7.8 Результаты измерений и расчетов и другая информация должны быть отражены в протоколе испытаний по ГОСТ 23941. раздел 11.
9
ГОСТ Р 51401-99
ПРИЛОЖЕНИЕ А (обязательное)
Определение показателя акустических условий Кг
Показатель акустических условий К: может быть определен с помощью образцового источника шума или по эквивалентной площади звукопоглощении в помещении.
Первый метод преимущественно применяют, когда предполагают проводить измерения в полосах частот. Он пригоден для помещений и на открытых площадках.
Второй метод применяют только в помещениях, и он предпочтителен при измерениях шума крупногабаритных источников, передвижение которых исключено.
А.1 Метод образцового источника шума
А. 1.1 Расположение образцовою источника шума в испытательном пространстве
Если источник шума может быть удален с места испытаний, то образцовый источник шума ставят на его место на полу помещения или на открытой испытательной площадке независимо от высоты испытуемого источника шума.
Для источников шума с любым из габаритных размеров огибающего параллелепипеда менее 2 м образцовый источник шума устанавливают только в одном месте. Для более крупных источников шума или таких, у которых отношение длины к ширине огибающего параллелепипеда более двух, образцовый источник шума последовательно устанавливают на иолу в четырех местах: в середине каждой из сторон проскнни огибающего параллелепипеда на ггол.
Если источник шума не может быть удален с места испытаний, то образцовый источник шума располагают в одном гиги более местах, не совпадающих с местом установки испытуемого источника шума, про которые известно, что они по условиям звукоотражен ия эквивалентны месту установки испытуемого источника шума. Кроме того, образцовый источник шума может быть установлен на испытуе

