Совместимость технических средств электромагнитная. Требования к аппаратуре для измерения параметров индустриальных радиопомех и помехоустойчивости и методы измерений. Часть 2-1. Методы измерений параметров индустриальных радиопомех и помехоустойчивости. И
Действие завершено 01.01.2014
Документ завершил свое действие. Вы можете скачать Руководящий документ ГОСТ Р 51318.16.2.1-2008 в удобном формате.
Скрыть дополнительную информацию
Страница 1

Страница 2

Страница 3

Страница 4

Страница 5

Страница 6

Страница 7

Страница 8

Страница 9

Страница 10

Страница 11

Страница 12

Страница 13

Страница 14

Страница 15

Страница 16

Страница 17

Страница 18

Страница 19

Страница 20

Страница 21

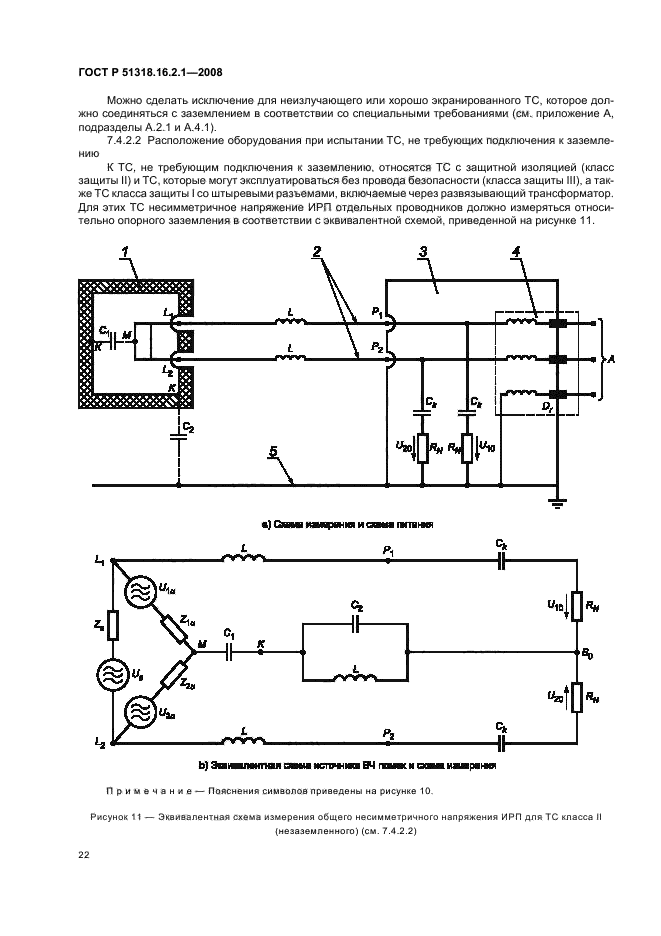
Страница 22

Страница 23

Страница 24

Страница 25

Страница 26

Страница 27

Страница 28

Страница 29

Страница 30

Страница 31

Страница 32

Страница 33

Страница 34

Страница 35

Страница 36

Страница 37

Страница 38

Страница 39

Страница 40

Страница 41

Страница 42

Страница 43

Страница 44

Страница 45

Страница 46

Страница 47

Страница 48

Страница 49

Страница 50

Страница 51

Страница 52

Страница 53

Страница 54
|
ФЕДЕРАЛЬНОЕ АГЕНТСТВО |
||
|
|
НАЦИОНАЛЬНЫЙ |
ГОСТ Р |
Совместимость технических средств электромагнитная
ТРЕБОВАНИЯ К АППАРАТУРЕ ДЛЯ ИЗМЕРЕНИЯ
ПАРАМЕТРОВ ИНДУСТРИАЛЬНЫХ РАДИОПОМЕХ
И ПОМЕХОУСТОЙЧИВОСТИ И МЕТОДЫ ИЗМЕРЕНИЙ
Часть 2-1
МЕТОДЫ ИЗМЕРЕНИЙ ПАРАМЕТРОВ
ИНДУСТРИАЛЬНЫХ РАДИОПОМЕХ
И ПОМЕХОУСТОЙЧИВОСТИ.
ИЗМЕРЕНИЕ КОНДУКТИВНЫХ РАДИОПОМЕХ
CISPR 16-2-1:2005
Specification for radio disturbance and immunity measuring apparatus and methods —
Part 2-1:
Methods of measurement of disturbances and immunity — Conducted disturbance
measurements
(MOD)
|
|
Москва |
Предисловие
Цели и принципы стандартизации в Российской Федерации установлены Федеральным законом от 27 декабря 2002 г. № 184-ФЗ «О техническом регулировании», а правила применения национальных стандартов Российской Федерации — ГОСТ Р 1.0-2004 «Стандартизация в Российской Федерации. Основные положения»
Сведения о стандарте
1. РАЗРАБОТАН ФГУП «Ленинградский отраслевой научно-исследовательский институт радио» (ЛОНИИР) и Техническим комитетом по стандартизации ТК 30 «Электромагнитная совместимость технических средств» на основе собственного аутентичного перевода стандарта, указанного в пункте 4
2. ВНЕСЕН Техническим комитетом по стандартизации ТК 30 «Электромагнитная совместимость технических средств»
3. УТВЕРЖДЕН И ВВЕДЕН В ДЕЙСТВИЕ Приказом Федерального агентства по техническому регулированию и метрологии от 25 декабря 2008 г. № 724-ст
4. Настоящий стандарт является модифицированным по отношению к международному стандарту СИСПР 16-2-1:2005 «Технические требования к аппаратуре для измерения радиопомех и помехоустойчивости и методы измерений. Часть 2-1. Методы измерений помех и помехозащищенности. Измерение кондуктивных помех» (CISPR 16-2-1:2005 «Specification for radio disturbance and immunity measuring apparatus and methods — Part 2-1: Methods of measurement of disturbances and immunity — Conducted disturbance measurements»). При этом дополнительные положения и требования, включенные в текст стандарта для учета потребностей национальной экономики Российской Федерации и особенностей российской национальной стандартизации, выделены в тексте стандарта курсивом.
Наименование настоящего стандарта изменено относительно наименования указанного международного стандарта для приведения в соответствие с ГОСТ Р 1.5-2004 (подраздел 3.5).
При применении настоящего стандарта рекомендуется использовать вместо ссылочных международных стандартов соответствующие им национальные стандарты Российской Федерации, сведения о которых приведены в приложении Е
5. ВВЕДЕН ВПЕРВЫЕ
Информация об изменениях к настоящему стандарту публикуется в ежегодно издаваемом информационном указателе «Национальные стандарты», а текст изменений и поправок — в ежемесячно издаваемых информационных указателях «Национальные стандарты». В случае пересмотра (замены) или отмены настоящего стандарта соответствующее уведомление будет опубликовано в ежемесячно издаваемом информационном указателе «Национальные стандарты». Соответствующая информация, уведомления и тексты размещаются также в информационной системе общего пользования — на официальном сайте Федерального агентства по техническому регулированию и метрологии в сети Интернет
СОДЕРЖАНИЕ
|
1. Область применения. 2 2. Нормативные ссылки. 2 3. Термины и определения. 3 4. Классификация измеряемых ИРП.. 5 5. Соединение измерительного оборудования. 5 6. Основные требования к проведению измерений и условия проведения измерений. 6 7. Измерение ИРП, распространяющихся в проводниках в полосе частот от 9 кГц до 30 МГц. 11 8. Автоматизированное измерение ИРП.. 25 Приложение А (справочное) Рекомендации по подключению электрического оборудования к эквиваленту сети питания. 27 Приложение В (справочное) Применение анализаторов спектра и сканирующих приемников. 31 Приложение С (справочное) Алгоритм измерения кондуктивных ИРП при использовании детекторов разных видов. 32 Приложение D (справочное) Скорость сканирования и время измерения при использовании детектора средних значений. 33 Приложение Е (справочное) Сведения о соответствии ссылочных международных стандартов национальным стандартам Российской Федерации, использованным в настоящем стандарте в качестве нормативных ссылок. 36 Библиография. 36 |
Предисловие к СИСПР 16-2-1:2005
Международный стандарт СИСПР 16-2-1:2005 подготовлен Международным специальным комитетом по радиопомехам (СИСПР) Международной электротехнической комиссии (МЭК), подкомитетом А «Измерения радиопомех и статистические методы».
Настоящее объединенное издание международного стандарта СИСПР 16-2-1:2005 включает в себя первое издание, опубликованное в 2003 г., и Изменение 1 (2005 г.).
ГОСТ Р 51318.16.2.1-2008
(СИСПР 16-2-1-:2005)
НАЦИОНАЛЬНЫЙ СТАНДАРТ РОССИЙСКОЙ ФЕДЕРАЦИИ
|
Совместимость технических средств электромагнитная ТРЕБОВАНИЯ К АППАРАТУРЕ ДЛЯ ИЗМЕРЕНИЯ ПАРАМЕТРОВ ИНДУСТРИАЛЬНЫХ Часть 2-1 МЕТОДЫ ИЗМЕРЕНИЙ ПАРАМЕТРОВ ИНДУСТРИАЛЬНЫХ РАДИОПОМЕХ Electromagnetic compatibility of technical equipment. Specification for radio disturbance and immunity measuring |
Дата введения — 2009-07-01
1. Область применения
Настоящий стандарт является основополагающим стандартом, устанавливающим основные положения по измерению индустриальных радиопомех (ИРП) в полосе частот от 9 кГц до 18 ГГц и методы измерений кондуктивных ИРП в полосе частот от 9 кГц до 30 МГц.
2. Нормативные ссылки
В настоящем стандарте использованы нормативные ссылки на следующие стандарты:
ГОСТ Р 51318.11-2006 (СИСПР 11:2004) Совместимость технических средств электромагнитная. Промышленные, научные, медицинские и бытовые (ПНМБ) высокочастотные устройства. Радиопомехи индустриальные. Нормы и методы измерений
ГОСТ Р 51318.13-2006 (СИСПР 13:2006) Совместимость технических средств электромагнитная. Радиовещательные приемники, телевизоры и другая бытовая радиоэлектронная аппаратура. Радиопомехи индустриальные. Нормы и методы измерений
ГОСТ Р 51318.14.1-2006 (СИСПР 14-1:2005) Совместимость технических средств электромагнитная. Бытовые приборы, электрические инструменты и аналогичные устройства. Радиопомехи индустриальные. Нормы и методы измерений
ГОСТ Р 51318.16.1.1-2007 (СИСПР 16-1-1:2006) Совместимость технических средств электромагнитная. Требования к аппаратуре для измерения параметров индустриальных радиопомех и помехоустойчивости и методы измерений. Часть 1-1. Аппаратура для измерения параметров индустриальных радиопомех и помехоустойчивости. Приборы для измерения индустриальных радиопомех
ГОСТ Р 51318.16.1.2-2007 (СИСПР 16-1-2:2006) Совместимость технических средств электромагнитная. Требования к аппаратуре для измерения параметров индустриальных радиопомех и помехоустойчивости и методы измерений. Часть 1-2. Аппаратура для измерения параметров индустриальных радиопомех и помехоустойчивости. Устройства для измерения кондуктивных радиопомех и испытаний на устойчивость к кондуктивным радиопомехам
ГОСТ Р 51318.16.1.3-2007 (СИСПР 16-1-3:2004) Совместимость технических средств электромагнитная. Требования к аппаратуре для измерения параметров индустриальных радиопомех и помехоустойчивости и методы измерений. Часть 1-3. Аппаратура для измерения параметров индустриальных радиопомех и помехоустойчивости. Устройства для измерения мощности радиопомех
ГОСТ Р 51318.16.1.4-2008 (СИСПР 16-1-4:2007) Совместимость технических средств электромагнитная. Требования к аппаратуре для измерения параметров индустриальных радиопомех и помехоустойчивости и методы измерений. Часть 1-4. Аппаратура для измерения параметров индустриальных радиопомех и помехоустойчивости. Устройства для измерения излучаемых радиопомех и испытаний на устойчивость к излучаемым радиопомехам
ГОСТ Р 51318.16.4.2-2006 (СИСПР 16-4-2:2003) Совместимость технических средств электромагнитная. Неопределенность измерений в области электромагнитной совместимости
ГОСТ 14777-76 Радиопомехи индустриальные. Термины и определения
ГОСТ 30372-95/ ГОСТ Р 50397-92 Совместимость технических средств электромагнитная. Термины и определения
Примечание — При пользовании настоящим стандартом целесообразно проверить действие ссылочных стандартов в информационной системе общего пользования — на официальном сайте Федерального агентства по техническому регулированию и метрологии в сети Интернет или по ежегодно издаваемому информационному указателю «Национальные стандарты», который опубликован по состоянию на 1 января текущего года, и по соответствующим ежемесячно издаваемым информационным указателям, опубликованным в текущем году. Если ссылочный стандарт заменен (изменен), то при пользовании настоящим стандартом следует руководствоваться заменяющим (измененным) стандартом. Если ссылочный стандарт отменен без замены, то положение, в котором дана ссылка на него, применяется в части, не затрагивающей эту ссылку.
3. Термины и определения
В настоящем стандарте применены термины по ГОСТ 14777, ГОСТ 30372, [1], а также следующие термины с соответствующими определениями:
3.1 оборудование, связанное с основным (associated equipment): Преобразователи (например, пробники, эквиваленты сети и антенны), подключаемые к измерительному приемнику или генератору испытательных сигналов и используемые для передачи сигнала или помехи между испытуемым оборудованием и измерительным устройством или генератором испытательных сигналов.
3.2 испытуемое техническое средство (EUT), ИТС: Устройство, прибор или система (далее — техническое средство, ТС), испытываемое на соответствие нормам ИРП.
3.3 стандарт, распространяющийся на продукцию (product publication): Стандарт, устанавливающий требования по обеспечению электромагнитной совместимости (ЭМС) к ТС конкретного вида или группе ТС с учетом конкретных особенностей, присущих данному ТС (группе ТС).
3.4 норма помех [emission limit (from a disturbing source)]: Регламентированное максимальное значение уровня электромагнитной эмиссии от источника помех.
3.5 опорное заземление (ground reference): Соединение или проводящая поверхность, потенциал которой используется в качестве общего нулевого потенциала (на практике зажим шины заземления или металлический лист, к которому подключаются измерительное оборудование и ИТС).
3.6 электромагнитная эмиссия от источника помехи (electromagnetic emission): Генерирование источником помехи электромагнитной энергии.
Примечание — Генерируемая источником электромагнитная энергия может излучаться в пространство или распространяться кондуктивным путем.
3.7 коаксиальный кабель (coaxial cable): Кабель, содержащий одну или более коаксиальных линий, обычно используемый для согласованного соединения оборудования, связанного с основным измерительным оборудованием или генератором испытательных сигналов; для коаксиального кабеля должны быть регламентированы значения волнового сопротивления и коэффициента затухания.
3.8 общее несимметричное напряжение помехи (асимметричное напряжение) [common mode (asimmetrical disturbance voltage)]: Высокочастотное (ВЧ) напряжение помехи между эквивалентом средней точки двухпроводной линии и опорным заземлением или, в случае многопроводной линии, эффективное напряжение ВЧ помехи в многопроводной линии (векторная сумма несимметричных напряжений) относительно опорного заземления, измеренное с помощью трансформатора тока при известном полном сопротивлении между многопроводной линией и опорным заземлением.
Примечания
1. См. также [1], термин 161-04-09.
2. Иногда общее несимметричное (асимметричное) напряжение называют «напряжением общего режима».
3.9 общий несимметричный ток (common mode current): Векторная сумма токов, протекающих в двух проводниках или в большем числе проводников, значение которой определяется в некоторой воображаемой плоскости, пересекаемой этими проводниками.
3.10 симметричное напряжение помехи (напряжение дифференциального режима) [differential mode voltage (simmetrical voltage)]: Напряжение ВЧ помехи, возникающее между двумя проводами в двухпроводной схеме.
3.11 симметричный ток (ток дифференциального режима) (differential mode current): Половина векторной разности токов, протекающих в любых двух проводниках из заданной группы активных проводников, значение которой определяется в некоторой воображаемой плоскости, пересекаемой этими проводниками.
3.12 несимметричное напряжение (напряжение на зажимах V-образного эквивалента сети) [unsimmetrical voltage (V-terminal voltage)]: Напряжение между проводником или зажимом ТС и опорным заземлением. Для схемы с двумя зажимами два несимметричных напряжения равны соответственно:
— сумме векторов общего несимметричного напряжения и половины симметричного напряжения;
— разности векторов общего несимметричного напряжения и половины симметричного напряжения.
Примечание — см. также [1], термин 161-04-13.
3.13 измерительный приемник (measuring receiver): Приемник, предназначенный для измерения ИРП, с различными типами детекторов.
Примечание — Требования к измерительному приемнику установлены в ГОСТ Р 51318.16.1.1.
3.14 конфигурация испытания (test configuration): Определенное расположение ИТС, при котором измеряется уровень помех.
3.15 эквивалент сети (ЭС) [artificial network (AN)]: Устройство, используемое при измерении помех для создания регламентированного значения полного сопротивления, имитирующего полное сопротивление, которое создают для испытуемых ТС реальные сети (например, линии связи и протяженные шины питания).
3.16 эквивалент сети питания (ЭСП) [artificial mains network (AMN)]: Устройство, используемое при измерении помех, включаемое в цепь питания ИТС для создания регламентированного полного сопротивления в заданной полосе частот и обеспечения развязки испытуемого ТС с сетью питания в этой полосе частот.
3.17 взвешивание (квазипиковое детектирование) [weighting (quasi-peak detection)]: Преобразование импульсных напряжений (зависящее от частоты повторения импульсов), полученных при пиковом детектировании, в показания измерительного прибора в соответствии с весовыми характеристиками, учитывающими мешающее акустическое или визуальное воздействие импульсных помех на человека при радиоприеме, т.е. преобразование, задающее определенный способ оценки уровня помех или помехоустойчивости.
Примечание — Характеристики взвешивания измерительного приемника установлены в ГОСТ Р 51318.16.1.1.
3.18 непрерывная ИРП (continuous disturbance): ИРП длительностью более 200 мс на выходе усилителя промежуточной частоты (ПЧ) измерительного приемника, которая вызывает показание на индикаторном приборе измерительного приемника в режиме квазипикового детектирования, не уменьшающееся немедленно.
Примечание — Требования к измерительному приемнику установлены в ГОСТ Р 51318.16.1.1.
3.19 прерывистая ИРП (discontinuous disturbance): Для подсчитываемых кратковременных ИРП — помеха длительностью менее 200 мс на выходе ПЧ измерительного приемника, которая в режиме квазипикового детектирования вызывает отклонение в виде переходного процесса на индикаторном приборе измерительного приемника.
Примечания
1. Требования к измерительному приемнику установлены в ГОСТ Р 51318.16.1.1.
2. Относительно импульсной помехи см. [1], термин 161-02-08.
3.20 время измерения (время отклика, время задержки на частоте) (measurement time) Tm: Время, необходимое для получения результата измерений на одной частоте. Для различных детекторов данное время представляет собой:
— для пикового детектора — время, необходимое для получения максимального значения огибающей сигнала;
— для квазипикового детектора — время, необходимое для получения максимального значения взвешенной огибающей сигнала;
— для детектора средних значений — время, необходимое для усреднения огибающей сигнала;
— для среднеквадратического детектора — время, необходимое для получения среднеквадратических значений огибающей сигнала.
3.21 развертка (sweep): Непрерывное изменение частоты в заданной полосе обзора.
3.22 сканирование (scan): Непрерывное или пошаговое изменение частоты в заданной полосе обзора.
3.23 время развертки или время сканирования (sweep or scan time) Ts: Время, необходимое для выполнения развертки или сканирования.
3.24 полоса обзора Df (span): Интервал частот между начальной и конечной частотой развертки или сканирования.
3.25 скорость развертки или сканирования (sweep or scan rate): Результат деления полосы обзора на время развертки или сканирования.
3.26 число разверток ns в единицу времени (например, в секунду) (частота развертки) ([number of sweeps per time unit (e.g. per second)]: Параметр, значение которого определяют по формуле
ns = 1/(Ts + длительность обратного хода луча).
3.27 время наблюдения (observation time) Т0: Сумма значений времени измерений Tm на определенной частоте в случае нескольких разверток. Если n — число разверток или сканирований, то T0 = n · Tm.
3.28 полное время наблюдения (total observation time) Ttot: Время обзора спектра (при одной или нескольких развертках). Если с — число частот измерений (каналов измерений) в полосе обзора, то Еtot = с · n · Tm.
4. Классификация измеряемых ИРП
В настоящем разделе приведена классификация ИРП и рассмотрены детекторы, применяемые при их измерении.
4.1. Виды ИРП
В зависимости от ширины полосы пропускания измерительного приемника, спектральной плотности распределения ИРП, длительности и частоты их появления, а также от степени их раздражающего воздействия на органы слуха и зрения человека принято различать следующие виды ИРП:
a) узкополосные непрерывные ИРП — помехи на отдельных частотах, например, на основной частоте и на гармониках, генерируемых промышленными, научными, медицинскими и бытовыми (ПНМБ) высокочастотными устройствами (см. ГОСТ Р 51318.11), которые формируют частотный спектр, состоящий из отдельных спектральных линий с разнесением больше, чем ширина полосы пропускания измерительного приемника, так что при измерении в полосу пропускания попадает только одна спектральная линия, в отличие от перечисления b);
b) широкополосные непрерывные ИРП — помехи, которые обычно непреднамеренно возникают при повторяющихся импульсах, например, от коллекторных двигателей, с такой частотой повторения, что во время измерения в полосу пропускания измерительного приемника попадает более чем одна спектральная линия;
c) широкополосные прерывистые ИРП — помехи, которые генерируются непреднамеренно при механической или электронной коммутации, например, термостатами или блоками программного управления с частотой повторения ниже 1 Гц (число импульсов в одну минуту менее 30).
Частотные спектры при перечислениях b) и c) представляют собой непрерывный спектр в случае одиночных импульсов и дискретный спектр в случае повторяющихся импульсов. Оба спектра характеризуются тем, что занимают полосу частот, ширина которой больше ширины полосы пропускания измерительного приемника по ГОСТ Р 51318.16.1.1.
4.2. Функции детектора
В зависимости от вида ИРП измерения проводят с помощью измерительного приемника со следующими детекторами:
a) детектор средних значений — применяется для измерения узкополосных ИРП, а также используется для распознавания узкополосных и широкополосных ИРП;
b) квазипиковый детектор — применяется для количественной оценки мешающего акустического воздействия широкополосных ИРП на радиослушателя; может быть также использован для измерения узкополосных ИРП;
c) пиковый детектор применяется для измерения как широкополосных, так и узкополосных ИРП.
Требования к измерительным приемникам, в состав которых входят указанные детекторы, приведены в ГОСТ Р 51318.16.1.1.
5. Соединение измерительного оборудования
В настоящем разделе приведены требования к соединению при испытаниях измерительного оборудования, включая измерительные приемники (см. ГОСТ Р 51318.16.1.1) и оборудование, связанное с основным, такое как эквиваленты сети, пробники тока и напряжения (см. ГОСТ Р 51318.16.1.2), поглощающие клещи (см. ГОСТ Р 51318.16.1.3) и измерительные антенны (см. ГОСТ Р 51318.16.1.4).
5.1. Соединение оборудования, связанного с основным
Соединительный кабель между измерительным приемником и оборудованием, связанным с основным, должен быть экранированным, и его волновое сопротивление должно быть согласовано с полным входным сопротивлением измерительного приемника.
Выходной разъем оборудования, связанного с основным, должен быть нагружен на согласованное полное сопротивление.
5.2. Соединение с высокочастотным опорным заземлением
Соединение эквивалента сети питания (ЭСП) с опорным заземлением должно иметь низкое ВЧ полное сопротивление, например, при непосредственном соединении корпуса ЭСП с опорным заземлением или металлической стенкой экранированного помещения, или с помощью проводника, который должен быть как можно короче и как можно шире (максимальное отношение длины к ширине должно быть 3:1).
Измерения напряжения на зажимах источника помех проводят только относительно опорного заземления. При этом следят за тем, чтобы не возникали паразитные контуры с замыканием через заземление. Такие же требования предъявляют к соединению с опорным заземлением измерительной аппаратуры, имеющей провод защитного заземления, предусмотренный для оборудования класса защиты I (измерительные приемники и вспомогательное оборудование, например, осциллографы, анализаторы, магнитофоны и т.п.).
Если цепь соединения провода заземления измерительной аппаратуры и цепь соединения провода защитного заземления сети питания с опорным заземлением не имеют с ним ВЧ развязки, то ВЧ развязку следует обеспечить с помощью ВЧ дросселей и изолирующих трансформаторов или, если возможно, за счет осуществления питания измерительной аппаратуры от батарей, чтобы ВЧ подключение измерительной аппаратуры к опорному заземлению было выполнено только по одной цепи.
Указания по соединению испытуемого ТС с опорным заземлением приведены в приложении А, раздел А.4.
Если при испытании ТС применяют его непосредственное соединение с опорным заземлением и при этом выполняются требования по безопасности, установленные для ТС, имеющих провода защитного заземления, то заземление ТС через провод защитного заземления не проводят.
5.3. Соединение испытуемого ТС и эквивалента сети питания
Общие указания по соединению испытуемого ТС (с заземлением и без заземления) с ЭСП приведены в приложении А.
6. Основные требования к проведению измерений и условия проведения измерений
Измерения ИРП, создаваемых ТС, должны быть:
a) воспроизводимыми, т.е. не зависящими от места измерения и условий окружающей обстановки, особенно от уровня посторонних радиопомех;
b) свободными от взаимовлияний, т.е. соединение испытуемого ТС с измерительным оборудованием не должно оказывать влияния на функционирование испытуемого ТС и точность показаний измерительной установки.
Эти требования можно реализовать выполнением следующих условий:
— при требуемом уровне измеряемых сигналов, например, уровне, соответствующем норме ИРП, должно обеспечиваться достаточное соотношение между уровнем измеряемого сигнала и уровнем посторонних радиопомех в месте проведения измерений;
— при испытаниях должны применяться стандартизованные схемы измерений, нагрузочные и рабочие режимы функционирования ТС;
— для измерений напряжения должен применяться пробник с высоким полным входным сопротивлением;
— должны строго соблюдаться положения инструкций по работе и калибровке анализатора спектра или сканирующего приемника, используемых при измерениях.
6.1. Посторонние радиопомехи
При проведении измерений должны выполняться указанные ниже требования к соотношению между уровнем измеряемого сигнала и уровнем посторонних радиопомех.
Если уровень посторонних радиопомех превышает значение нормы ИРП от испытуемого ТС, то факт превышения должен быть зафиксирован в отчете об испытаниях.
6.1.1. Испытание ТС на соответствие требованиям норм
На измерительной площадке должно обеспечиваться регламентированное соотношение между уровнем ИРП от испытуемого ТС и уровнем посторонних радиопомех.
Рекомендуется, чтобы уровень посторонних радиопомех составлял не более 20 дБ (1 мкВ) и был, по крайней мере, на 6 дБ ниже уровня измеряемого сигнала. При соблюдении этого условия регистрируемый уровень ИРП от испытуемого ТС может увеличиться по сравнению с истинным значением не более чем на 3,5 дБ.
При измерении на соответствие нормам допускается, чтобы уровень посторонних радиопомех превышал рекомендуемое требование «минус 6 дБ» при условии, что суммарный уровень посторонних радиопомех и ИРП от испытуемого ТС не превышает нормы. В этом случае испытуемое ТС считают соответствующим норме.
Для узкополосных сигналов можно также уменьшить ширину полосы пропускания измерительного приемника.
Примечание — Если проведены отдельные измерения напряженности поля посторонних радиопомех и суммарной напряженности поля ИРП от испытуемого ТС и посторонних радиопомех, то может быть вычислена напряженность поля ИРП от испытуемого ТС с приемлемым уровнем неопределенности (см. ГОСТ Р 51318.11, приложение В).
6.2. Измерение непрерывных ИРП
6.2.1. Узкополосные непрерывные ИРП
При измерении узкополосных непрерывных радиопомех измерительная система должна настраиваться на исследуемую частоту и иметь возможность подстройки в случае флуктуации исследуемой частоты.
6.2.2. Широкополосные непрерывные ИРП
При измерении широкополосных непрерывных радиопомех, уровень которых нестабилен, должны быть найдены их максимальные значения (см. также 6.4.1).
6.2.3. Использование анализаторов спектра и сканирующих приемников
При измерении ИРП эффективно использование анализаторов спектра и сканирующих приемников, например, для уменьшения времени измерений.
При использовании этих приборов необходимо учитывать их основные характеристики, такие как перегрузка, линейность, избирательность, импульсная характеристика, скорость развертки, чувствительность, точность измерения амплитуды, а также особенности регистрации прерывистых сигналов и применения пикового, квазипикового детекторов и детектора средних значений. Особенности использования анализаторов спектра и сканирующих приемников рассмотрены в приложении В.
6.3. Рабочие условия испытуемого ТС
6.3.1. Номинальный нагрузочный режим
Номинальный нагрузочный режим должен быть таким, как указано в стандарте, распространяющемся на продукцию (см. 3.3), а при отсутствии такого стандарта нагрузочный режим определяется требованиями технической документации на ТС.
6.3.2. Время работы
Время работы испытуемого ТС должно соответствовать техническим требованиям в случае ТС с заданным номинальным временем работы; во всех остальных случаях время работы не ограничивается.
6.3.3. Время приработки
Конкретное значение времени приработки не задается, но испытуемое ТС должно проработать достаточный период времени, чтобы была уверенность, что режим и условия работы ТС соответствуют тем, которые существуют в реальных условиях эксплуатации. Для некоторых ТС в технической документации могут быть рекомендованы специальные условия проведения испытаний.
6.3.4. Источник питания
Источник питания должен обеспечивать номинальное напряжение питания испытуемого ТС. Если уровень помех существенно зависит от напряжения питания, измерения следует повторить при значениях напряжения питания в пределах (0,9 — 1,1) от номинального напряжения.
ТС, имеющие несколько значений номинального напряжения питания, должны испытываться при таком напряжении, при котором возникают максимальные ИРП.
6.3.5. Режим работы
Испытуемое ТС должно работать в условиях, имитирующих реальные ситуации, при которых возникают максимальные помехи на частоте измерения.
6.4. Интерпретация результатов измерения
6.4.1. Непрерывные ИРП
a) Если уровень ИРП нестабилен, то показание измерительного приемника необходимо наблюдать не менее 15 с при каждом измерении; при этом регистрируют максимальные показания, за исключением каких-либо отдельных кратковременных помех, которые не принимают во внимание (см. ГОСТ Р 51318.14.1).
b) Если общий уровень ИРП нестабилен, но наблюдается непрерывный рост или падение более чем на 2 дБ в течение 15 с, то следует продолжать наблюдение дальше и интерпретировать этот уровень относительно условий стандартного использования ТС, а именно:
— если испытуемое ТС относится к такому типу оборудования, у которого происходит частое включение/выключение или измененяется направление вращения, то на каждой частоте измерения необходимо включать испытуемое ТС или переключать направление его вращения непосредственно перед каждым измерением и сразу выключать после каждого измерения; необходимо регистрировать максимальный уровень ИРП, полученный за время первой минуты на каждой частоте измерения;
— если испытуемое ТС относится к типу оборудования, у которого выход на рабочий режим занимает продолжительное время, то оно должно оставаться включенным в течение всего времени измерения, а уровень ИРП на каждой частоте должен регистрироваться только после достижения устойчивого показания (в соответствии с требованиями перечисления a).
c) Если характер ИРП от испытуемого ТС меняется во время испытаний от устойчивого до случайного, необходимо проводить испытания в соответствии с требованиями перечисления b).
d) Измерения проводят во всей нормируемой полосе частот. Регистрируют результаты, полученные, по крайней мере, на частотах, где показания максимальны. Необходимо также учитывать требования, приведенные в стандартах, распространяющихся на продукцию.
6.4.2. Прерывистые ИРП
Измерения прерывистых ИРП допускается проводить на ограниченном числе частот. Более подробную информацию см. в ГОСТ Р 51318.14.1.
6.4.3. Измерение длительности ИРП
Испытуемое ТС подключают к ЭСП. Если используется измерительный приемник, то его также подсоединяют к ЭСП, а к его выходу ПЧ подключают осциллограф. При отсутствии измерительного приемника осц


