Автомобильные транспортные средства для транспортирования и заправки нефтепродуктов. Типы, параметры и общие технические требования
На нашем сайте можно бесплатно скачать Руководящий документ ГОСТ Р 50913-96 в удобном формате. Узнать актуальный статус документа «Автомобильные транспортные средства для транспортирования и заправки нефтепродуктов. Типы, параметры и общие технические требования» на 2016 год.
Скрыть дополнительную информацию
Страница 1

Страница 2

Страница 3

Страница 4

Страница 5

Страница 6

Страница 7

Страница 8

Страница 9

Страница 10

Страница 11

Страница 12

Страница 13

Страница 14

Страница 15

Страница 16

Страница 17

Страница 18

Страница 19

Страница 20

Страница 21

Страница 22

Страница 23
ГОСТ Р 50913-96
ГОСУДАРСТВЕННЫЙ СТАНДАРТ РОССИЙСКОЙ ФЕДЕРАЦИИ
АВТОМОБИЛЬНЫЕ ТРАНСПОРТНЫЕ
СРЕДСТВА ДЛЯ ТРАНСПОРТИРОВАНИЯ
И ЗАПРАВКИ НЕФТЕПРОДУКТОВ
Типы, параметры и общие технические требования
|
|
Москва |
Предисловие
1. РАЗРАБОТАН И ВНЕСЕН Центральным научно-исследовательским автомобильным и автомоторным институтом (НАМИ)
2. ПРИНЯТ И ВВЕДЕН В ДЕЙСТВИЕ Постановлением Госстандарта России от 10 июня 1996 г. № 368
3. ВВЕДЕН ВПЕРВЫЕ
4 ИЗДАНИЕ (август 2009 г.) с Изменением № 1, принятым в декабре 1998 г. (ИУС 3-99)
СОДЕРЖАНИЕ
|
1. Область применения. 1 2. Нормативные ссылки. 1 3. Определения и сокращения. 2 4. Типы и основные параметры.. 2 5. Общие технические требования. 3 5.1. Характеристики (свойства) 3 5.2. Требования к материалам и покупным изделиям.. 7 5.3. Комплектность. 7 5.4. Маркировка. 8 6. Требования безопасности. 8 7. Указания по эксплуатации. 9 Приложение А (рекомендуемое). Принципиальная гидравлическая схема ограничителя наполнения. 10 Приложение Б (рекомендуемое). Присоединительные размеры ограничителя наполнения. 10 Приложение В (обязательное). Схема подключения контактов розетки сигнализатора верхнего уровня налива. 11 Приложение Г (обязательное). Присоединительные размеры обратного клапана. 11 Приложение Д (рекомендуемое). Технологическая схема автоцистерны.. 12 Приложение Е (рекомендуемое). Технологическая схема автотопливозаправщика. 12 Приложение Ж (информационное). Библиография. 13 |
ГОСТ Р 50913-96
ГОСУДАРСТВЕННЫЙ СТАНДАРТ РОССИЙСКОЙ ФЕДЕРАЦИИ
|
АВТОМОБИЛЬНЫЕ ТРАНСПОРТНЫЕ СРЕДСТВА ДЛЯ Типы, параметры и общие технические требования Road vehicles for transportation and fueling of petroleum products. |
Дата введения 1997-01-01
1. Область применения
Настоящий стандарт распространяется на автомобильные транспортные средства, предназначенные для заправки и транспортирования нефтепродуктов (далее — автоцистерны).
Стандарт не распространяется на автоцистерны, предназначенные для транспортирования сжатых и сжиженных газов и специальных жидкостей, и автотопливозаправщики для наземного обслуживания летательных аппаратов (самолетов и вертолетов) и водного транспорта, а также на передвижные автозаправочные станции для розничной торговли нефтепродуктами.
(Измененная редакция, Изм. № 1).
2. Нормативные ссылки
В настоящем стандарте использованы ссылки на следующие стандарты:
ГОСТ 2.601-2006 Единая система конструкторской документации. Эксплуатационные документы
ГОСТ 1510-84 Нефть и нефтепродукты. Маркировка, упаковка, транспортирование и хранение
ГОСТ 2517-85 Нефть и нефтепродукты. Методы отбора проб
ГОСТ 8769-75 Приборы внешние световые автомобилей, автобусов, троллейбусов, тракторов, прицепов и полуприцепов. Количество, расположение, цвет, углы видимости
ГОСТ 9200-76 (ИСО 1185-75, ИСО 1724-80, ИСО 3731-80, ИСО 3732-82, ИСО 4091-78) Соединения семиконтактные разъемные для автомобилей и тракторов
ГОСТ 15150-69 Машины, приборы и другие технические изделия. Исполнения для различных климатических районов. Категории, условия эксплуатации, хранения и транспортирования в части воздействия климатических факторов внешней среды
ГОСТ 19034-82 Трубки из поливинилхлоридного пластиката. Технические условия
ГОСТ 19433-88 Грузы опасные. Классификация и маркировка
ГОСТ 20772-81 Устройства присоединительные для технических средств заправки, перекачки, слива-налива, транспортирования и хранения нефти и нефтепродуктов. Типы. Основные параметры и размеры. Общие технические требования
ГОСТ 21130-75 Изделия электротехнические. Зажимы заземляющие и знаки заземления. Конструкция и размеры
ГОСТ 23544-84 Жгуты проводов для автотракторного электрооборудования. Общие технические условия
ГОСТ 25560-82 Устройства дыхательные цистерн для нефтепродуктов. Технические условия
ГОСТ 26098-84 Нефтепродукты. Термины и определения
ГОСТ Р 41.48-2004 (Правила ЕЭК ООН № 48) Единообразные предписания, касающиеся сертификации транспортных средств в отношении установки устройств освещения и световой сигнализации
ГОСТ Р 41.58-2001 (Правила ЕЭК ООН № 58) Единообразные предписания, касающиеся официального утверждения: I. Задних защитных устройств; II. Транспортных средств в отношении установки задних защитных устройств официально утвержденного типа; III. Транспортных средств в отношении их задней защиты
ГОСТ Р 41.65-99 (Правила ЕЭК ООН № 65) Единообразные предписания, касающиеся официального утверждения специальных предупреждающих огней для автотранспортных средств
ГОСТ Р 41.87-99 (Правила ЕЭК ООН № 87) Единообразные предписания, касающиеся официального утверждения дневных ходовых огней механических транспортных средств
ГОСТ Р 50559-93 Промышленная чистота. Общие требования к поставке, транспортированию, хранению и заправке жидких рабочих сред
ГОСТ Р 52280-2004 Автомобили грузовые. Общие технические требования
ГОСТ Р 52281-2004 Прицепы и полуприцепы автомобильные. Общие технические требования
ОСТ 37.001.269-87 Транспортные средства. Маркировка
ОСТ 37.001.511-81 Единая система конструкторской документации. Эксплуатационные документы на изделия автомобильной промышленности.
3. Определения и сокращения
3.1. В настоящем стандарте применяют следующие термины с соответствующими определениями:
Клапан донный — запорная арматура с дистанционным управлением, устанавливаемая в цистерне в ее нижней части и предназначенная для перекрытия выхода нефтепродукта из цистерны.
Нефтепродукты — жидкие нефтяные топлива и масла по ГОСТ 26098.
Цистерна — резервуар (емкость) для помещения нефтепродукта.
Давление расчетное — теоретическое давление, равное испытательному давлению и предназначенное для определения толщины стенок цистерны.
Давление испытательное — наибольшее фактическое давление при испытании цистерны.
Давление наполнения — наибольшее давление в цистерне при наполнении ее нефтепродуктом закрытым способом.
Давление опорожнения — наибольшее вакуумметрическое давление в цистерне при опорожнении ее закрытым способом.
Давление рабочее максимальное — наибольшее из двух значений:
— максимально допустимое давление наполнения;
— давление насыщенного пара при максимальной температуре плюс 50 °C, которому цистерна подвергается под воздействием содержимого нефтепродукта.
Антиблокировочное устройство — элемент системы рабочего тормоза, который во время торможения автоматически регулирует степень скольжения одного или нескольких колес транспортного средства в направлении его (их) вращения.
Закрытый способ наполнения — способ наполнения, при котором контакт топлива с атмосферой допускается только через огнепреградитель.
Предел огнестойкости стенок технологического отсека — показатель огнестойкости, определяемый временем от начала огневого испытания при стандартном температурном режиме до потери ограждающих функций (целостности и теплоизолирующей способности) стенок.
(Измененная редакция, Изм. № 1).
3.2. В настоящем стандарте приняты следующие сокращения.
АТС — автомобильные транспортные средства.
ЗИП — запасные части, инструмент и принадлежности.
АЦ (АЦМ) — автоцистерна для топлива (масла) на шасси автомобиля.
ПЦ (ПЦМ) — прицеп-цистерна для топлива (масла) на шасси прицепа.
ППЦ (ППЦМ) — полуприцеп-цистерна для топлива (масла) на шасси полуприцепа (или несущей конструкции).
АМЗ — автомаслозаправщик на шасси автомобиля.
АТЗ (АТМЗ) — автотопливозаправщик (автотопливомаслозаправщик) на шасси автомобиля.
ПТЗ (ПТМЗ) — прицеп-топливозаправщик (топливомаслозаправщик) на шасси прицепа.
ППТЗ (ППТМЗ) — полуприцеп-топливозаправщик (топливомаслозаправщик) на шасси полуприцепа (или несущей конструкции).
4. Типы и основные параметры
4.1. В зависимости от назначения устанавливают следующие типы автоцистерн:
— транспортные — АЦ (АЦМ), ПЦ (ПЦМ), ППЦ (ППЦМ), предназначенные для транспортирования топлива и масла;
— заправочные — АМЗ, АТЗ (АТМЗ), ПТЗ (ПТМЗ), ППТЗ (ППТМЗ), предназначенные как для транспортирования топлива и масла, так и для заправки ими техники.
4.2. Основные параметры автоцистерн должны соответствовать указанным в таблице 1.
Таблица 1
|
Наименование параметра |
Норма для типа автоцистерны |
|||||||||||
|
АЦ |
АЦМ |
ПЦ |
ППЦ |
ПЦМ, ППЦМ |
АТЗ, ПТЗ, ППТЗ |
АМЗ, АТМЗ, ПТМЗ, ППТМЗ |
||||||
|
До 5 м3 включ. |
Св. 5 до 10 м3 включ. |
Св. 10 м3 |
До 1 м3 включ. |
Св. 1 до 10 м3 включ. |
До 5 м3 включ. |
Св. 5 м3 |
До 5 м3 включ. |
Св. 5 м3 |
||||
|
Подача насоса, м3/ч, для: |
21 — 90* |
— |
21 — 90 |
— |
21 — 30 |
21 — 60 |
21 — 30 |
21 — 60 |
||||
|
— топлива |
||||||||||||
|
— масла |
6* |
18 — 30* |
— |
18 — 30* |
2,5 — 6,0* |
|||||||
|
Число напорно-всасывающих рукавов* |
Не менее 2 |
|||||||||||
|
Число раздаточных рукавов, не менее, для: |
— |
1 |
1 — 2* |
1 |
1 — 2* |
|||||||
|
— топлива |
||||||||||||
|
— масла |
— |
1 |
||||||||||
|
Внутренний диаметр, мм: |
||||||||||||
|
— напорно-всасывающих рукавов для топлива |
40; |
65; |
65; |
40; |
65; |
40; |
65; |
40; |
65; |
40; |
65; |
|
|
65; |
75 |
75; |
65; |
75 |
65; |
75; |
65; |
75; |
65; |
75; |
||
|
75 |
100 |
75 |
75 |
100 |
75 |
100 |
75 |
100 |
||||
|
— раздаточного рукава для: |
20; 25; 38; 50 |
|||||||||||
|
— топлива |
||||||||||||
|
— масла |
— |
25 |
||||||||||
|
Общая длина, м: |
6,0 — 9,0 |
|||||||||||
|
— напорно-всасывающих рукавов |
||||||||||||
|
— раздаточного рукава |
— |
4,5 — 9,0* |
||||||||||
|
Тонкость фильтрации топлива фильтром, мкм, не более |
— |
25 |
||||||||||
|
_______ * По требованию потребителя (заказчика). |
||||||||||||
(Измененная редакция, Изм. № 1).
4.3. Номинальную вместимость автоцистерны устанавливают кратной 0,1 м3 (100 л) и указывают в технической документации.
4.4. Степень заполнения цистерны должна быть не более 95 % объема, если нет специальных требований в нормативных документах на соответствующий нефтепродукт.
Примечание — Для цистерн, изготовленных как мера вместимости, степень заполнения устанавливают по инструкции [2].
(Измененная редакция, Изм. № 1).
4.5. Внутренний диаметр инспекционного люка-лаза автоцистерны должен быть не менее 500 мм.
4.6. Автоцистерны изготавливают на базе шасси автотранспортных средств по ГОСТ Р 52280 и ГОСТ Р 52281.
Тормозные системы шасси автоцистерн категорий N2, N3, O3 и О4 должны быть оснащены автоблокировочными устройствами (АБС).
(Измененная редакция, Изм. № 1).
4.7. АТС для перевозки или раздачи топлива и масла должно состоять не более чем из двух транспортных единиц: автомобиля-тягача и одного прицепа (или полуприцепа).
Для обеспечения этого требования на прицепе или полуприцепе сзади не устанавливают: тягово-сцепное устройство, пневмопривод и электровыводы для подключения второго прицепа.
5. Общие технические требования 5.1. Характеристики (свойства)
5.1.1. Требования назначения
5.1.1.1. Автоцистерна должна быть изготовлена в соответствии с требованиями настоящего стандарта по конструкторской документации, утвержденной в установленном порядке.
Обозначения автоцистерны и конструкторских документов на нее присваивают в порядке, установленном для изделий автомобильной промышленности.
5.1.1.2. Автоцистерна, укомплектованная соответствующим оборудованием, должна обеспечивать выполнение рабочих операций, указанных в таблице 2.
Таблица 2
|
Наименование рабочей операции |
Выполнение рабочей операции для автоцистерны типа |
|||||||||||
|
АЦ |
АЦМ |
ПЦ |
ППЦ |
ПЦМ, ППЦМ |
АТЗ, ПТЗ, ППТЗ |
АМЗ, АТМЗ, ПТМЗ, ППТМЗ |
||||||
|
До 5 м3 включ. |
Св. 5 до 10 м3 включ. |
Св. 10 м3 |
До 1 м3 включ. |
Св. 1 до 10 м3 включ. |
До 5 м3 включ. |
Св. 5 м3 |
До 5 м3 включ. |
Св. 5 м3 |
||||
|
Наполнение цистерны своим насосом* |
+ |
+ |
+ |
+ |
+ |
— |
+ |
— |
+ |
+ |
+ |
+ |
|
Наполнение цистерны закрытым (основным)* и верхним (дублирующим) способами посторонним насосом |
+ |
+ |
+ |
+ |
+ |
+ |
+ |
+ |
+ |
+ |
+ |
+ |
|
Опорожнение цистерны своим насосом, минуя фильтр** |
+ |
+ |
+ |
+ |
+ |
— |
+ |
+ |
+ |
+ |
+ |
+ |
|
Опорожнение цистерны посторонним насосом |
+ |
+ |
+ |
+ |
+ |
+ |
+ |
+ |
+ |
+ |
+ |
+ |
|
Заправка техники фильтрованным нефтепродуктом с одновременным измерением выданного объема |
— |
— |
— |
— |
— |
— |
— |
— |
+** |
+ |
+** |
+ |
|
Откачка нефтепродуктов из напорных (раздаточных) рукавов своим насосом** |
+ |
+ |
+ |
+ |
+ |
— |
— |
— |
+ |
+ |
+ |
+ |
|
Опорожнение цистерны самотеком |
+ |
+ |
+ |
+ |
+ |
+ |
+ |
+ |
+ |
+ |
+ |
+ |
|
Перекачка собственным насосом между посторонними резервуарами, минуя свою цистерну** |
+ |
+ |
+ |
+ |
+ |
— |
+ |
— |
+ |
+ |
+ |
+ |
|
Нагрев масла в цистерне* |
— |
— |
— |
+ |
+ |
— |
— |
+ |
— |
— |
+ |
+ |
|
Выдача нефтепродукта в мелкую тару (канистра, топливный бак, бочка)** |
— |
— |
— |
— |
— |
— |
— |
— |
+ |
+ |
+ |
+ |
|
________ * По требованию потребителя (заказчика). ** Для автоцистерн, оборудованных насосами. Примечание — Знак «+» означает выполнение операций на автоцистерне; знак «-» — невыполнение. |
||||||||||||
5.1.1.3. Все операции по наполнению автоцистерны осуществляют закрытым способом через герметичное устройство по ГОСТ 20772.
(Измененная редакция, Изм. № 1).
5.1.1.4. По требованию заказчика цистерна может быть изготовлена как мера вместимости.
5.1.2. Требования надежности
5.1.2.1. Значения показателей надежности автоцистерны должны быть не ниже значений соответствующих показателей шасси АТС. Номенклатуру и конкретные значения показателей надежности, а также критерии отказов и предельного состояния устанавливают в технической документации.
5.1.2.2. Ресурс средств измерения, устанавливаемых на автоцистерну для контроля работы агрегатов, должен соответствовать ресурсу автоцистерны до капитального ремонта, если иное не предусмотрено в нормативных документах и технической документации на средства измерения.
5.1.3. Требования стойкости к внешним воздействующим факторам и живучести
5.1.3.1. Климатическое исполнение автоцистерн должно соответствовать исполнению У по ГОСТ 15150.
5.1.4. Требования эргономики
5.1.4.1. Устанавливаемые на автоцистерне рычаги управления и маховики, предназначенные для ступенчатых переключений при наполнении (опорожнении) нефтепродуктами, должны иметь надежную фиксацию и обозначение их промежуточных и конечных положений; при необходимости они должны быть ограничены специальным стопором (упором).
Рычаги управления и маховики устанавливают на одном рабочем месте в пределах зоны досягаемости оператора, за исключением задействованных при включении механизмов отбора мощности для привода насоса.
5.1.4.2. Для удобства работы обслуживающего персонала автоцистерна должна быть оборудована лестницами и площадками.
5.1.5. Требования технологичности
5.1.5.1. Конструкция автоцистерны должна обеспечивать демонтаж не менее 75 % технологического оборудования без предварительной разборки других узлов и систем.
5.1.5.2. Конструкция цистерны должна обеспечивать возможность очистки ее внутренней поверхности от загрязнений с помощью механизированных средств и вручную.
5.1.5.3. Конструкция волнореза не должна препятствовать наполнению (опорожнению) цистерны, а также возможности очистки ее внутренней поверхности.
5.1.5.4. Периодичность проведения технического обслуживания технологического оборудования, установленного на автоцистерне, должна совпадать с периодичностью технического обслуживания базового АТС и должна быть установлена в руководстве по эксплуатации.
5.1.6. Требования к конструкции
5.1.6.1. Конструкция автоцистерны должна обеспечивать неизменность массы и качества перевозимого нефтепродукта по ГОСТ Р 50559.
5.1.6.2. Цистерны должны выдерживать внутреннее давление, равное давлению наполнения (опорожнения) или максимальному рабочему давлению, на которое отрегулировано дыхательное устройство по ГОСТ 25560, но не менее 20 кПа (0,2 кгс/см2).
5.1.6.3. При проектировании цистерн следует учитывать следующее:
а) опорожняемые самотеком цистерны, предназначенные для транспортирования нефтепродуктов, давление паров которых при 50 °C не превышает 110 кПа (1,1 кгс/см2), следует рассчитывать на давление, равное удвоенному статическому давлению перевозимого нефтепродукта, но не менее удвоенного статического давления воды;
б) наполняемые (опорожняемые) под давлением цистерны, предназначенные для транспортирования нефтепродуктов, давление которых при 50 °C не превышает 110 кПа (1,1 кгс/см2), должны быть рассчитаны на давление, равное давлению наполнения (опорожнения), умноженному на коэффициент 1,3.
5.1.6.2, 5.1.6.3. (Измененная редакция, Изм. № 1).
5.1.6.4. Цистерна и средства ее крепления на шасси АТС при номинальной загрузке нефтепродуктом должны выдерживать нагрузки, равные:
— удвоенной массе цистерны и нефтепродукта — в направлении движения;
— одной массе цистерны и нефтепродукта — в направлении, перпендикулярном направлению движения;
— удвоенной массе цистерны и нефтепродукта — в вертикальном направлении сверху вниз;
— одной массе цистерны и нефтепродукта — в вертикальном направлении снизу вверх.
5.1.6.5. Толщину стенок цистерны b, мм, рассчитывают по формуле
(1)
где P — расчетное давление, МПа;
D — внутренний диаметр цистерны, мм;
s — допускаемое напряжение, Н/мм2: s £ 0,75sт или s £ 0,5sв (где sт — предел текучести и sв — временное сопротивление разрыву, значения которых выбирают минимальными по нормативным документам на материалы);
λ — коэффициент, учитывающий возможное уменьшение прочности в сварных соединениях; λ £ 1,0.
5.1.6.6. Цистерны диаметром менее 1,8 м должны иметь толщину стенок не менее 5 мм, диаметром более 1,8 м — не менее 6 мм при изготовлении их из металла с временным сопротивлением разрыву sв ³ 360 МПа (3600 кгс/см2), и относительным удлинением δ = 22 — 27 %.
При изготовлении цистерн из металла с другими механическими свойствами эквивалентную толщину стенок цистерны bэ, мм, рассчитывают по формуле
(2)
где b, равная 5 или 6 мм, — соответственно толщина стенок цистерны диаметром менее 1,8 м или более 1,8 м с указанными выше механическими свойствами;
sв.э — временное сопротивление разрыву данного металла, МПа;
δэ — относительное удлинение данного металла, %.
5.1.6.7. Если цистерна имеет защиту от повреждений, вызываемых ударами сбоку или опрокидыванием, допускается уменьшение толщины стенок цистерны соответственно до 3 мм для цистерны диаметром до 1,8 м и до 4 мм — для цистерны диаметром более 1,8 м. Указанные толщины даны для металла со свойствами по 5.1.6.6.
В случае изготовления цистерны из металла с другими механическими свойствами эквивалентную толщину стенок цистерны , мм, рассчитывают по формуле
(3)
где b’, равная 3 или 4 мм, — соответственно толщина стенок цистерны диаметром менее 1,8 м или более 1,8 м с указанными выше механическими свойствами металла.
Для цистерн с некруглым поперечным сечением (например, чемоданообразным или эллиптическим) радиусы кривизны должны соответствовать эквивалентным диаметрам, которые рассчитывают на основе цилиндрического сечения равной площади. При этом радиусы кривизны таких цистерн не должны превышать 2,0 м по бокам и 3,0 м сверху и снизу.
Защиту цистерн от повреждений, вызываемых ударами сбоку или опрокидыванием, считают обеспеченной при соблюдении одного из следующих условий:
— расстояние между двумя усиливающими элементами (перегородками, волнорезами, внутренними или внешними кольцами) £ 1,75 м;
— объем цистерны между двумя перегородками (волнорезами) £ 7,5 м3.
Поперечное сечение в вертикальной плоскости усиливающего кольца с элементом крепления должно иметь момент сопротивления ³ 10 см3.
Толщина перегородок (волнорезов) должна быть не менее толщины стенки цистерны. Перегородки (волнорезы) должны соответствовать требованиям 5.1.6.8.
Цистерны с радиусом кривизны боковых стенок более 2,0 м, а также чемоданообразного и прямоугольного сечений считают обеспеченными защитой от повреждений, вызываемых ударами сбоку или опрокидыванием, при соблюдении следующих дополнительных условий:
— наличия дополнительной защиты с внешней стороны цистерны, расположенной по всему периметру на середине высоты цистерны, шириной не менее 30 % высоты поперечного сечения цистерны, и
— обеспечения жесткости этой дополнительной защиты не ниже жесткости цистерны в зоне размещения такой защиты с толщиной стенки цистерны 5 мм (для цистерны диаметром менее 1,8 м) или 6 мм (для цистерны диаметром более 1,8 м).
Допускается выполнять дополнительную защиту в виде листов, приваренных к боковым стенкам цистерны на середине высоты цистерны. Эти листы должны быть изготовлены из того же материала, что и цистерна, иметь ширину не менее 30 % высоты поперечного сечения цистерны и толщину не менее толщины стенок цистерны.
5.1.6.8. Перегородки (волнорезы) должны быть вогнуты с глубиной прогиба не менее 10 см или должны иметь гофры, или усилены другим способом для обеспечения эквивалентной прочности. Площадь волнореза должна составлять не менее 70 % поперечного сечения цистерны, в которой установлен волнорез.
5.1.6.9. Для цистерн, рассчитанных в соответствии с 5.1.6.3а, вместимость которых менее 5 м3 или которые разделены на герметичные отсеки вместимостью менее 5 м3, толщину стенок определяют по таблице 3.
Таблица 3
|
Максимальный радиус кривизны оболочки, м |
Вместимость цистерны или отсека, м3 |
Минимальная толщина стенок цистерны, мм, для стали с sв ≥ 360 МПа (3600 кгс/см2), δ = 22 — 27 % |
|
£ 2 |
£ 5,0 |
3 |
|
> 2, но £ 3 |
£ 3,5 |
3 |
|
>3,5, но £ 5,0 |
4 |
При изготовлении цистерны из металла с другими механическими свойствами эквивалентную толщину стенок цистерны рассчитывают по формуле (3). Толщина перегородок (волнорезов) должна быть не менее толщины стенок цистерны.
5.1.6.6 — 5.1.6.9. (Измененная редакция, Изм. № 1).
5.1.6.10. Крышки люков, дверки шкафов, а также места для доступа к транспортируемому нефтепродукту должны быть приспособлены для опломбирования.
5.1.6.11. Конструкция прицепа-цистерны должна обеспечивать возможность ее наполнения (опорожнения) при помощи насосов, установленных на буксирующей автоцистерне.
5.1.6.12. Конструкция автоцистерны должна обеспечивать предотвращение превышения давления в напорно-всасывающем рукаве, равного 50 % рабочего давления рукава, при перекрытии подачи топлива в наполняемую емкость.
(Измененная редакция, Изм. № 1).
5.1.6.13. Конструкция автоцистерны должна обеспечивать возможность отбора проб по ГОСТ 2517 для контроля качества транспортируемого нефтепродукта. Отбор проб непосредственно из цистерны производят сверху.
5.1.6.14. Остаток топлива в автоцистерне после его слива самотеком на горизонтальной площадке не должен превышать 0,1 % номинальной вместимости.
5.1.6.15. Оборудование для закрытого наполнения автоцистерны должно состоять из:
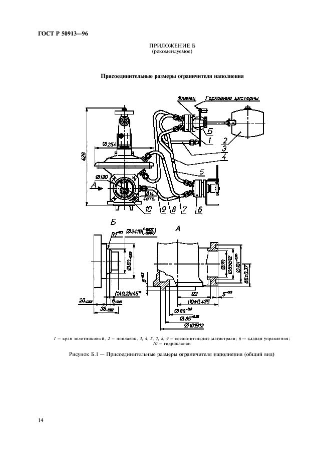
а) ограничителя наполнения. В качестве привода датчика ограничителя наполнения следует использовать энергию перекачиваемой жидкости. Схема и присоединительные размеры ограничителя наполнения приведены в приложениях А и Б соответственно;
б) сигнализатора верхнего уровня налива. Сигнализатор должен обеспечивать вывод электрического сигнала на звуковой сигнал шасси автомобиля и на розетку по ГОСТ 9200, устанавливаемую на левой стороне автоцистерны в месте, удобном для подсоединения к автоматизированным системам налива. Схема подключения контактов розетки сигнализатора верхнего уровня налива приведена в приложении В;
в) патрубка с обратным клапаном в случае крепления рукавов при помощи присоединительных устройств типа 4 по ГОСТ 20772 (механических захватов). Присоединительные размеры обратного клапана приведены в приложении Г. Место расположения патрубка — с левой стороны автоцистерны, расстояние — по ГОСТ 20772. По согласованию с заказчиком допускается установка патрубка с обратным клапаном сзади автоцистерны;
г) патрубка для газоотвода с огнепреградителем, запорной арматурой и присоединительным устройством. Огнепреградитель должен быть установлен на цистерне.
5.1.6.16. На горловине цистерны, изготовленной как мера вместимости, должно быть предусмотрено смотровое окно для контроля полноты налива нефтепродукта. Высота смотрового окна должна быть в пределах изменения уровня налива.
Допускается установка стекла «клинкер» вместо указателя уровня налива в горловине и смотрового окна.
5.1.6.17. Автоцистерна должна быть оснащена дыхательным устройством по ГОСТ 25560, обеспечивающим сохранение рабочего давления в цистерне и самозакрывание при опрокидывании, а также предохранительными устройствами, обеспечивающими автоматическое открывание их при достижении избыточного давления в цистерне, равного 100 кПа (1 кгс/см2).
При этом площадь сбросного сечения в зависимости от объема цистерны определяют в соответствии с таблицей 3а. Для цистерн объемом от 3 до 40 м3 допускается линейная интерполяция значений величин, приведенных в таблице 3а.
Таблица 3а
|
Наименование параметра |
Значение параметра |
||||||||
|
Объем цистерны, м3 |
3 |
5 |
8 |
10 |
13 |
15 |
20 |
30 |
40 |
|
Сбросное сечение, см2 |
17 |
25 |
35 |
40 |
48 |
53 |
64 |
84 |
94 |
|
Примечание — Функции предохранительного устройства может выполнять дыхательное устройство при обеспечении величины сбросного сечения, предусмотренного таблицей. |
|||||||||
5.1.6.16, 5.1.6.17. (Измененная редакция, Изм. № 1).
5.1.6.18. На всасывающем трубопроводе автоцистерны, оборудованной насосом, должен быть установлен фильтр предварительной очистки.
5.1.6.19. Перед счетчиками количества нефтепродукта должны быть установлены фильтры тонкой очистки. Размещение фильтра должно позволять замену фильтрующего элемента и очистку внутренней полости без его демонтажа.
5.1.6.20. Номинальная пропускная способность счетчиков количества нефтепродукта должна соответствовать расходу раздаточной системы автоцистерны. Относительная погрешность счетчиков не должна выходить за пределы ±0,5 %.
5.1.6.21. При выполнении рабочих операций «заправка техники фильтрованным нефтепродуктом с одновременным измерением выданного объема» и «выдача нефтепродукта в мелкую тару (канистра, топливный бак, бочка)» допускается забор нефтепродукта осуществлять сверху из цистерны, минуя донный клапан. При этом запорную арматуру (обратный клапан) следует устанавливать в верхней части заборного трубопровода.
(Измененная редакция, Изм. № 1).
5.1.6.22. Напорно-всасывающие патрубки внутри автоцистерны должны быть оборудованы устройством, отражающим струю при наполнении цистерны нефтепродуктом и исключающим образование воронки при ее опорожнении.
5.1.6.23. При верхнем способе наполнения автоцистерны расстояние от нижнего среза патрубка подачи нефтепродукта в цистерну, находящегося внутри нее, до дна цистерны должно быть не более 100 мм.
5.1.6.24. В качестве запорной арматуры в технологической схеме автоцистерны используют затворы (заслонки) или задвижки с ручным управлением. Допускается применение запорной арматуры с дистанционным управлением с ручным дублированием.
5.1.6.25. Патрубки для наполнения (опорожнения) цистерны в транспортном положении должны быть закрыты заглушками.
(Измененная редакция, Изм. № 1).
5.1.6.26. В качестве средств измерения давления и разрежения на автоцистерне устанавливают соответствующие приборы. Для контроля указанных параметров допускается применять индикаторы.
Средства контроля должны быть размещены в месте, удобном для наблюдения, обеспечивающем их замену при проведении поверок или ремонта.
5.1.6.27. Присоединительные устройства (патрубки) автоцистерны для наполнения (опорожнения) нефтепродукта должны соответствовать требованиям ГОСТ 20772.
5.1.6.28. Технологич

