Электроустановки зданий. Часть 5. Выбор и монтаж электрооборудования. Раздел 548. Заземляющие устройства и системы уравнивания электрических потенциалов в электроустановках, содержащих оборудование обработки информации

Страница 1

Страница 2

Страница 3

Страница 4

Страница 5

Страница 6

Страница 7

Страница 8

Страница 9

Страница 10

Страница 11

Страница 12

Страница 13

Страница 14

Страница 15

Страница 16

Страница 17

Страница 18
ГОСТ Р 50571.21-2000
(МЭК 60364-5-548-96)
ГОСУДАРСТВЕННЫЙ СТАНДАРТ РОССИЙСКОЙ ФЕДЕРАЦИИ
Электроустановки зданий
Часть 5
ВЫБОР И МОНТАЖ
ЭЛЕКТРООБОРУДОВАНИЯ
Раздел 548
Заземляющие устройства и системы уравнивания электрических потенциалов в электроустановках, содержащих оборудование обработки информации
ГОССТАНДАРТ РОССИИ
Москва
Предисловие
1 РАЗРАБОТАН Всероссийским научно-исследовательским институтом электрификации сельского хозяйства (ВИЭСХ) и Всероссийским научно-исследовательским институтом стандартизации и сертификации в машиностроении (ВНИИНМАШ)
ВНЕСЕН Техническим комитетом по стандартизации ТК 337 «Электроустановки жилых и общественных зданий»
2 ПРИНЯТ И ВВЕДЕН В ДЕЙСТВИЕ Постановлением Госстандарта России от 18 декабря 2000 г. № 375-ст
3 Настоящий стандарт представляют собой аутентичный текст международного стандарта МЭК 60364-5-548-96 «Электроустановки зданий. Часть 5. Выбор и монтаж электрооборудования. Раздел 548. Системы заземления и системы уравнивания потенциалов электроустановок и оборудования информационных технологий» с дополнительными требованиями, учитывающими потребности экономики страны
4 ВВЕДЕН ВПЕРВЫЕ
СОДЕРЖАНИЕ
|
1 (548.1.1) Область применения 3 2 (548.1.2) Нормативные ссылки 4 3 (548.1.3) Определения 4 548.2 Требования, предъявляемые к заземлению установок и оборудования информационных технологий 7 548.3 Использование главной заземляющей шины 7 548.4 Совместимость установок информационных технологий с PEN-проводниками в здании 8 548.5 Защита от электролитической коррозии 10 548.6 Условия электромагнитной совместимости 11 548.7 Заземление и уравнивание потенциалов в установках информационных технологий 11 ПРИЛОЖЕНИЕ А (справочное) 13 Подсоединение сигнальных цепей 13 ПРИЛОЖЕНИЕ В (справочное) 14 Меры по обеспечению электромагнитной совместимости 14 ПРИЛОЖЕНИЕ С (справочное) 17 Передача сигналов между различными участками эквипотенциального соединения 17 ПРИЛОЖЕНИЕ Д (обязательное) 17 Заземляющие устройства и системы уравнивания потенциалов в животноводческих помещениях, содержащих оборудование информационных технологий 17 ПРИЛОЖЕНИЕ Е (справочное) 17 Библиография 17 |
Введение
Настоящий стандарт является частью комплекса государственных стандартов на электроустановки зданий, разрабатываемых на основе стандартов Международной электротехнической комиссии МЭК 364 «Электроустановки зданий». Он представляет собой аутентичный текст международного стандарта МЭК 60364-5-548-96, кроме раздела 1 (548.1.1), уточняющего особенности применения настоящего стандарта в национальной энергетике, раздела 2 (548.1.2), дополняющего соответствующий пункт 548.1.2 МЭК 60364-5-548-96, и раздела 3 (548.1.3), который исключает разночтения в толковании терминов, и требований (выделенных курсивом), отражающих потребности различных отраслей экономики страны, в том числе и сельскохозяйственного производства.
В настоящем стандарте сформулированы требования к техническим средствам, направленным на устранение или ограничение до допустимого уровня перенапряжений, которые могут вызывать сбои в работе оборудования информационных технологий, а также любого другого электронного оборудования, чувствительного к помехам, например, медицинского, лабораторного и т.п. К таким средствам относятся заземляющие устройства, в том числе с электрически независимыми заземлителями, устройства уравнивания и выравнивания электрических потенциалов.
Нумерация разделов, пунктов и подпунктов в настоящем стандарте, начиная с раздела 548.2, а также рисунков соответствуют принятым в МЭК 60364-5-548-96.
Требования настоящего стандарта дополняют, изменяют или заменяют требования других частных стандартов комплекса государственных стандартов на электроустановки зданий. Отсутствие ссылки на главу, раздел или пункт частного стандарта означает, что соответствующие требования стандарта распространяются и на данный случай.
ГОСТ Р 50571.21-2000
(МЭК 60364-5-548-96)
ГОСУДАРСТВЕННЫЙ СТАНДАРТ РОССИЙСКОЙ ФЕДЕРАЦИИ
Электроустановки зданий
Часть 5
ВЫБОР И МОНТАЖ ЭЛЕКТРООБОРУДОВАНИЯ
Раздел 548
Заземляющие устройства и системы уравнивания электрических потенциалов в электроустановках, содержащих оборудование обработки информации
Electrical installations of buildings. Part 5. Selection and erection of electrical equipment. Section 548. Earthing arrangements and equipotential bonding for information technology installations
Дата введения 2002-01-01
1 (548.1.1) Область применения
Настоящий стандарт распространяется на электроустановки зданий, применяемые во всех отраслях экономики страны, независимо от их принадлежности и форм собственности, и устанавливает требования по выбору и монтажу электрооборудования, в частности к выбору конструкции и монтажу заземляющих устройств, систем уравнивания и выравнивания электрических потенциалов в электроустановках, содержащих оборудование обработки информации, соединенное между собой для обмена данными, а также другое электрооборудование, чувствительное к помехам.
Стандарт предназначен для проектных, монтажных, пусконаладочных и эксплуатационных организаций любых форм собственности, разрабатывающих, монтирующих, испытывающих и эксплуатирующих в указанных выше электроустановках заземляющие устройства, в том числе с электрически независимыми заземлителями, устройства уравнивания и выравнивания электрических потенциалов (УВЭП), в том числе локальные УВЭП, системы безопасного сверхнизкого напряжения и др.
Требования, дополняющие МЭК 60364-5-548-96 и учитывающие потребности экономики страны, приведены в приложении D и выделены курсивом.
Требования настоящего стандарта являются обязательными.
Примечания
1 Оборудование обработки информации включает в себя все виды электрического и электронного коммерческого оборудования и телекоммуникационного оборудования по ГОСТ Р 50377.
Примеры оборудования и установок, на которые распространяется настоящий стандарт:
— телекоммуникационное оборудование и оборудование для передачи и обработки данных или установки, использующие передачу сигналов с обратным заземлением во внутренних и внешних подсоединениях к зданию;
— электрические сети постоянного тока, обслуживающие оборудование обработки информации внутри здания;
— установки или оборудование для учрежденческих АТС с входящей и исходящей связью;
— локальные компьютерные сети;
— системы охранной сигнализации внутри помещений, действующей на прикосновение, и системы пожарной сигнализации;
— установки по обслуживанию, например системы прямого цифрового контроля;
— системы промышленного проектирования и других видов деятельности на базе компьютеров.
2 В настоящем стандарте термин «функциональный» относится к использованию заземления и систем уравнивания электрических потенциалов для целей электромагнитной совместимости (ЭМС) информационного оборудования, а также для целей передачи сигналов без искажений, которые в отсутствие такого проводника могут вызываться помехами (см. п. 548.1.3).
3 При защите электроустановок от грозовых и коммутационных перенапряжений, а также от перенапряжений, вызванных электромагнитными воздействиями, следует руководствоваться требованиями, изложенными в ГОСТ Р 50571.19 и ГОСТ Р 50571.20.
4 В случае возникновения проблемы ЭМС, связанной с действующей (существующей) электроустановкой здания, необходимо использовать информацию, приведенную в приложении А к настоящему стандарту.
5 Требования настоящего стандарта не распространяются на оборудование с большими токами утечки (дифференциальными токами). Применительно к такому оборудованию следует соблюдать требования 707.1 — 707.4 ГОСТ Р 50571.22.
2 (548.1.2) Нормативные ссылки
В настоящем стандарте использованы ссылки на следующие стандарты:
ГОСТ 30326-95 (МЭК 950-86) / ГОСТ Р 50377-92 (МЭК 950-86) Безопасность оборудования информационной технологии, включая электрическое конторское оборудование
ГОСТ 30331.2-95 (МЭК 364-3-93) / ГОСТ Р 50571.2-94 (МЭК 364-3-93) Электроустановки зданий. Часть 3. Основные характеристики
ГОСТ 30331.3-95 (МЭК 364-4-41-92) / ГОСТ Р 50571.3-94 (МЭК 364-4-41-92) Электроустановки зданий. Часть 4. Требования по обеспечению безопасности. Защита от поражений электрическим током
ГОСТ 30331.4-95 (МЭК 364-4-42-80) / ГОСТ Р 50571.4-94 (МЭК 364-4-42-80) Электроустановки зданий. Часть 4. Требования по обеспечению безопасности. Защита от тепловых воздействий
ГОСТ Р 50571.10-96 (МЭК 364-5-54-80) Электроустановки зданий. Часть 5. Выбор и монтаж электрооборудования. Глава 54. Заземляющие устройства и защитные проводники
ГОСТ Р 50571.14-96 (МЭК 364-7-705-84) Электроустановки зданий. Часть 7. Требования к специальным электроустановкам. Раздел 705. Электроустановки сельскохозяйственных и животноводческих помещений
ГОСТ Р 50571.19-2000 (МЭК 60364-4-443-95) Электроустановки зданий. Часть 4. Требования по обеспечению безопасности. Глава 44. Защита от перенапряжений. Раздел 443. Защита электроустановок от грозовых и коммутационных перенапряжений
ГОСТ Р 50571.20-2000 (МЭК 60364-4-444-96) Электроустановки зданий. Часть 4. Требования по обеспечению безопасности. Глава 44. Защита от перенапряжений. Раздел 444. Защита электроустановок от перенапряжений, вызванных электромагнитными воздействиями
ГОСТ Р 50571.22-2000 (МЭК 60364-7-707-84) Электроустановки зданий. Часть 7. Требования к специальным электроустановкам. Раздел 707. Заземление оборудования обработки информации
ГОСТ Р 50571.23-2000 (МЭК 60364-7-704-89) Электроустановки зданий. Часть 7. Требования к специальным электроустановкам. Раздел. 704. Электроустановки строительных площадок
3 (548.1.3) Определения
В настоящем стандарте применяют следующие термины.
3.1 земля (относительная, эталонная): Проводящая электрический ток и находящаяся вне зоны влияния какого-либо заземлителя часть земной коры, электрический потенциал которой принимают равным нулю.
3.2 локальная земля: Часть земли, находящаяся в контакте с заземлителем, электрический потенциал которой под влиянием тока, стекающего с заземлителя, может быть отличен от нуля. В случаях, когда отличие от нуля потенциала части земли не имеет принципиального значения, вместо термина «локальная земля» используют общий термин «земля».
3.3 электроустановка до 1 кВ: Электроустановка, номинальное значение напряжения в которой не превышает 1 кВ.
3.4 электроустановка выше 1 кВ: Электроустановка, номинальное значение напряжения в которой равно или выше 1 кВ.
3.5 электрическая сеть с эффективно заземленной нейтралью: Трехфазная электрическая сеть выше 1 кВ, в которой коэффициент замыкания на землю не превышает 1,4.
3.6 коэффициент замыкания на землю: Отношение разности потенциалов в трехфазной электрической сети между неповрежденной фазой и землей в точке замыкания на землю другой или двух других фаз к разности потенциалов между фазой и землей в этой точке до замыкания.
3.7 проводящая часть: Часть, способная проводить электрический ток.
3.8 нейтральная проводящая часть (нейтральный проводник): Часть электроустановки, способная проводить электрический ток, потенциал которой в нормальном эксплуатационном режиме равен или близок к нулю, например корпус трансформатора, шкаф распредустройства, кожух пускателя, проводник системы уравнивания потенциалов, PEN-проводник и т.п.
3.9 открытая проводящая часть: Доступная прикосновению нейтральная проводящая часть.
3.10 сторонняя проводящая часть: Проводящая часть, не являющаяся частью электроустановки.
3.11 проводник: Часть, предназначенная для проведения электрического тока определенного значения.
3.12 токоведущая часть: Проводник или проводящая часть, предназначенный для работы под напряжением в нормальном эксплуатационном режиме работы электроустановки.
3.13 замыкание на землю: Случайное или преднамеренное (например при срабатывании короткозамыкателя) возникновение проводящей цепи между находящейся под напряжением токоведущей частью и землей или не изолированной от земли проводящей частью.
3.14 заземление: Преднамеренное электрическое соединение данной точки системы или установки, или оборудования с локальной землей посредством заземляющего устройства.
3.15 функциональное заземление: Заземление, для обеспечения нормального функционирования аппарата, на корпусе которого по требованию разработчика не должен присутствовать даже малейший электрический потенциал (иногда для этого требуется наличие отдельного электрически независимого заземлителя).
3.16 заземляющее устройство: Совокупность заземлителя и заземляющих проводников.
3.17 заземлитель: Часть заземляющего устройства, состоящая из одного или нескольких электрически соединенных между собой заземляющих электродов.
3.18 электрически независимый заземлитель (независимый заземлитель): Заземлитель, расположенный на таком расстоянии от других заземлителей, что токи растекания с них не оказывают существенного влияния на электрический потенциал независимого заземлителя.
3.19 заземляющий проводник: Проводник, соединяющий заземляемую точку системы или установки, или оборудования с заземлителем.
3.20 функциональный заземляющий проводник (FE-проводник): Заземляющий проводник в электроустановке до 1 кВ, служащий для функционального заземления.
3.21 заземляющий электрод (электрод заземлителя): Проводящая часть, находящаяся в электрическом контакте с локальной землей непосредственно или через промежуточную проводящую среду, например через слой бетона или проводящее антикоррозионное покрытие.
3.22 потенциаловыравнивающий электрод: То же, что и заземляющий электрод, но используемый для выравнивания электрических потенциалов.
3.23 уравнивание электрических потенциалов: Электрическое соединение проводящих частей друг с другом для достижения их эквипотенциальности.
3.24 защитное уравнивание электрических потенциалов: Уравнивание электрических потенциалов в целях обеспечения электробезопасности путем устранения разности электрических потенциалов между всеми одновременно доступными прикосновению открытыми проводящими частями стационарного электрооборудования и сторонними проводящими частями, включая металлические части строительных конструкций зданий, достигаемое надежным соединением этих частей друг с другом при помощи проводников.
3.25 главная заземляющая шина (главный заземляющий зажим): Шина или зажим, являющаяся частью заземляющего устройства электроустановки до 1 кВ и предназначенная для электрического присоединения нескольких проводников с целью заземления.
3.26 система заземления (заземляющая система): Совокупность заземляющих устройств подстанции, открытых проводящих частей потребителя и нейтрального проводника в электроустановке до 1 кВ.
3.27 тип системы заземления: Показатель, характеризующий отношение к земле нейтрали трансформатора на подстанции и открытых проводящих частей у потребителя, а также устройство нейтрального проводника. Обозначение типов систем заземления — по ГОСТ 30331.2 / ГОСТ Р 50571.2. Различают TN-, ТТ- и IT-системы, две первых из которых имеют заземленную нейтраль на трансформаторной подстанции, а третья — изолированную. TN-система по устройству нейтрального проводника в свою очередь делится на TN-S-, TN-C- и TN-C-S-системы.
3.28 зануление: Преднамеренное электрическое соединение нейтральной проводящей части (нейтрального проводника) в электроустановке до 1 кВ с заземленной нейтралью трансформатора на подстанции
3.29 нулевой рабочий проводник (N-проводник): Проводник в электроустановке до 1 кВ, предназначенный для питания однофазных электроприемников и соединенный с заземленной нейтралью трансформатора на подстанции.
3.30 защитный проводник (РЕ-проводник): Проводник в электроустановке до 1 кВ, предназначенный для целей безопасности и соединяющий открытые проводящие части у потребителя с заземляющим устройством.
3.31 совмещенный нулевой рабочий и защитный проводник (PEN-проводник): Проводник в электроустановке до 1 кВ, совмещающий в себе функции нулевого рабочего и защитного проводников.
3.32 совмещенный защитный и функциональный заземляющий проводник (PEF-проводник): Проводник в электроустановке до 1 кВ, совмещающий в себе функции защитного и функционального заземляющего проводников.
3.33 электрическое защитное разделение цепей: Отделение электрических цепей друг от друга при помощи разделяющего трансформатора, обмотки которого отделены друг от друга основной, дополнительной либо одной усиленной изоляцией.
3.34 сверхнизкое напряжение (СНН): Напряжение, не превышающее значений, при которых оно не представляет опасности для человека в помещениях с повышенной опасностью, особо опасных и в наружных установках.
3.35 система безопасного сверхнизкого напряжения (система БСНН): Электрическая система в электроустановке до 1 кВ, в которой напряжение не превышает значений СНН:
— в нормальном режиме работы электроустановки и
— при первом повреждении изоляции, включая замыкание на землю в других цепях.
3.36 система защитного сверхнизкого напряжения (система ЗСНН): Электрическая система в электроустановке до 1 кВ, в которой напряжение не превышает значений СНН:
— в нормальном режиме работы электроустановки и
— при первом повреждении изоляции, исключая замыкание на землю в других цепях.
3.37 главная потенциалоуравнивающая шина (ГПШ): То же, что и главная заземляющая шина, но служащая для целей уравнивания электрических потенциалов (часто одна и та же шина может выполнять одновременно обе функции).
3.38 потенциаловыравнивающая сетка: Несколько потенциаловыравнивающих электродов, объединенных в сетку для расширения зоны выравнивания электрических потенциалов.
548.2 Требования, предъявляемые к заземлению установок и оборудования информационных технологий
Заземление установок и оборудования информационных технологий должно обеспечивать защиту от поражения электрическим током в соответствии с требованиями ГОСТ 30331.3 / ГОСТ Р 50571.3 и ГОСТ Р 50571.10. Дополнительные требования необходимы для обеспечения надежной и безопасной работы установки и оборудования информационных технологий, в частности, для обеспечения:
— защиты от электролитической коррозии;
— защиты от больших обратных токов по функциональным заземляющим проводникам (FE-проводникам);
— то же, и по защитным проводникам (по РЕ- и FE-проводникам);
— электромагнитной совместимости установки и оборудования информационных технологий путем эквипотенциального соединения их в единую систему уравнивания электрических потенциалов.
548.3 Использование главной заземляющей шины
Примечание — Если главная заземляющая шина (главный заземляющий зажим) электроустановки используется для целей функционального заземления, то в этом случае ее можно использовать и для целей заземления оборудования информационных технологий как точку подсоединения к заземляющему устройству при условии выполнения требований п. 548.2.
548.3.1 ЗСНН-системы
Когда заземленные цепи систем защитного сверхнизкого напряжения (ЗСНН) и открытые проводящие части оборудования классов II и III заземлены исходя из функциональных целей для связи с локальной землей, они должны быть подсоединены к системе уравнивания электрических потенциалов согласно требованию ГОСТ 30331.3 / ГОСТ Р 50571.3 (см. рисунок 1).
Примечание — Системы безопасного сверхнизкого напряжения (БСНН) согласно требованию ГОСТ 30326 / ГОСТ Р 50377 заземляют и в этом случае рассматривают как ЗСНН.
Функциональное заземление может выполняться путем использования защитного проводника (РЕ-проводника) цепи питания оборудования информационных технологий в системе заземления TN-S.
Допускается функциональный заземляющий проводник (FE-проводник) и защитный проводник (РЕ-проводник) объединять в один специальный проводник и присоединять его к главной заземляющей шине (главному заземляющему зажиму).
Рисунок 1 — Блок-схема уравнивания электрических потенциалов открытых, опасных и сторонних проводящих частей.
548.4 Совместимость установок информационных технологий с PEN-проводниками в здании
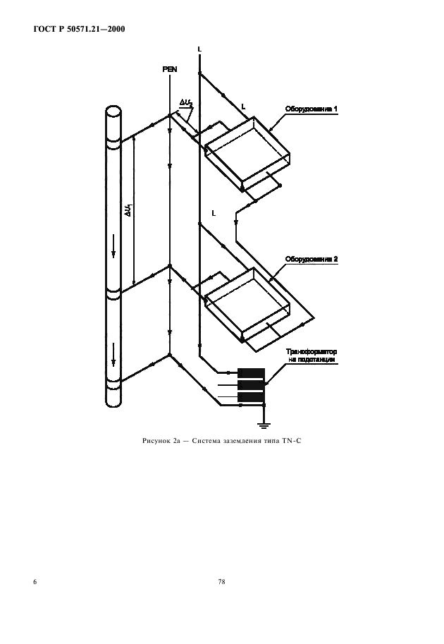
Для зданий, в которых установлено или может быть установлено большое число различного оборудования обработки информации или другого оборудования, чувствительного к действию помех, необходимо следить за использованием отдельных защитных проводников (РЕ-проводников) и нулевых рабочих проводников (N-проводников) после точки подвода питания с тем, чтобы предотвратить или свести к минимуму электромагнитные воздействия. Указанные проводники нельзя объединять так, как показано на рисунке 2а. В противном случае ток нагрузки и особенно сверхток, возникающий при однофазном коротком замыкании, будет проходить не только по нулевому рабочему проводнику (N-проводнику), но и частично по защитному проводнику, что может привести к помехе.
Если трансформатор, дизель-генератор, источник бесперебойного питания или иное подобное устройство, являясь частью электрической установки здания, имеют систему заземления типа TN-C и используются главным образом для питания оборудования информационных технологий, выходом должен быть переход на систему заземления типа TN-S, как это показано на рисунке 2b.
Пункт 548.4 специально адресован разработчикам электрических установок, предназначенных для офисов или помещений промышленного назначения. На рисунке 2а ток в нейтральном проводнике (PEN-проводнике), вызванный несимметричной нагрузкой в трехфазных сетях, делится между PEN-проводником, сторонними проводящими частями, экранами и оболочками кабелей, а также проводниками, предназначенными для обмена информацией, и тем самым вызывает появление помех. При прохождении тока в PEN-проводнике происходит падение напряжения ΔU = ΔU1 + ΔU2. В TN-S-системе ток нейтрального проводника протекает только по нулевому рабочему проводнику (N-проводнику), не вызывая падения напряжения в РЕ-проводнике.
