Электроустановки низковольтные. Часть 5-53. Выбор и монтаж электрооборудования. Отделение, коммутация и управление
На нашем сайте можно бесплатно скачать Руководящий документ ГОСТ Р 50571-5-53-2013 в удобном формате. Узнать актуальный статус документа «Электроустановки низковольтные. Часть 5-53. Выбор и монтаж электрооборудования. Отделение, коммутация и управление» на 2016 год.
Скрыть дополнительную информацию
Выберите формат отображения документа:

Страница 1

Страница 2

Страница 3

Страница 4

Страница 5

Страница 6

Страница 7

Страница 8

Страница 9

Страница 10

Страница 11

Страница 12

Страница 13

Страница 14

Страница 15

Страница 16

Страница 17

Страница 18

Страница 19

Страница 20

Страница 21

Страница 22

Страница 23

Страница 24

Страница 25

Страница 26

Страница 27

Страница 28
ФЕДЕРАЛЬНОЕ АГЕНТСТВО ПО ТЕХНИЧЕСКОМУ РЕГУЛИРОВАНИЮ И МЕТРОЛОГИИ
НАЦИОНАЛЬНЫЙ
СТАНДАРТ
РОССИЙСКОЙ
ФЕДЕРАЦИИ
ГОСТР
50571.5.53—
2013
ЭЛЕКТРОУСТАНОВКИ НИЗКОВОЛЬТНЫЕ
Часть 5-53
ВЫБОР И МОНТАЖ ЭЛЕКТРООБОРУДОВАНИЯ
ОТДЕЛЕНИЕ, КОММУТАЦИЯ И УПРАВЛЕНИЕ
IEC 60364-5-53:2002 Low-voltage electrical installations.
Part 5-53: Selection and erection of electrical equipment.
Isolation, switching and control (IDT)
Издание официальное
Москва
Стандартинформ
2014
Предисловие
1 ПОДГОТОВЛЕН Московским институтом энергобезопасности и энергосбережения на основе аутентичного перевода на русский язык стандарта, указанного в пункте 4
2 ВНЕСЕН Техническим комитетом по стандартизации ТК 337 «Электрические установки зданий»
3 УТВЕРЖДЕН И ВВЕДЕН В ДЕЙСТВИЕ Приказом Федерального агентства по техническому регулированию и метрологии от 6 сентября 2013 г. N° 973-ст
4 Настоящий стандарт является идентичным по отношению к международному стандарту МЭК 60364-5-53:2002 «Электроустановки зданий. Часть 5-53. Выбор и установка электрооборудования. Изоляция, коммутационная аппаратура и управление» (IEC 60364-5-53:2002 Electrical installations of buildings. Part 5-53: Selection and erection of electrical equipment. Isolation, switching and control).
Наименование настоящего стандарта изменено относительно наименования указанного международного стандарта для приведения его в соответствие с вновь принятым наименованием серии стандартов МЭК 60364.
При применении настоящего стандарта рекомендуется использовать вместо ссылочных международных стандартов соответствующие им национальные стандарты Российской Федерации (и действующим в этом качестве межгосударственные стандарты), сведения о которых приведены в приложении ДА
ВЗАМЕН ГОСТ Р 50571.7-94 (МЭК 364-4-46—1981). ГОСТ Р 50571.26-2002 (МЭК 60364-5-534—1997)
Правила применения настоящего стандарта установлены в ГОСТ Р 1.0-2012 (раздел 8). Информация об изменениях к настоящему стандарту публикуется в ежегодном (по состоянию на 1 января текущего года) информационном указателе «Национальные стандарты», а официальный текст изменений и поправок — в ежемесячном информационном указателе «Национальные стандарты». В случае пересмотра (замены) или отмены настоящего стандарта соответствующее уведомление будет опубликовано в ближайшем выпуске информационного указателя «Национальные стандарты». Соответствующая информация, уведомление и тексты размещаются также в информационной системе общего пользования — на официальном сайте Федерального агентства по техническому регулированию и метрологии в сети Интернет (gost.ru)
© Стандартинформ. 2014
Настоящий стандарт не может быть полностью или частично воспроизведен, тиражирован и распространен в качестве официального издания без разрешения Федерального агентства по техническому регулированию и метрологии
ГОСТ P 50571.5.53—2013
534.2.3.4 Выбор в зависимости от разрядного тока (/„) и импульсного тока (/,тр)
Если требуется применение устройств защиты от перенапряжений согласно МЭК 60364-4-44. пункт 443. то их номинальный разрядный ток /п должен составлять не менее 5 кА 8/20 для каждого режима работы.
При установке по типу подключения 2 согласно пункту 534.2.2 номинальный разрядный ток /п для устройства защиты от перенапряжений, подсоединенного между нейтральным проводником и проводником РЕ. должен составлять не менее 20 кА 8/20 для трехфазных систем и 10 кА 8/20 для однофазных систем.
Если требуется применение устройств защиты от перенапряжений согласно МЭК 62305-4. ток грозового импульса /1тр, согласно МЭК 61643-1. должен рассчитываться в соответствии с требованиями МЭК 62305-4. Более подробная информация по данному вопросу приводится в МЭК 61643-12. Если текущее значение этого тока не может быть установлено, то значение /1тр должно составлять не менее 12,5 кА для каждого режима работы.
При установке по типу подключения 2 согласно 534.2.2 ток грозового импульса /,тодля устройства защиты от перенапряжений, подключаемого между нейтральным проводником и проводником РЕ. должен рассчитываться аналогично указанным выше стандартам. Если текущее значение этого тока не может быть установлено, то значение 1,т0 должно составлять не менее 50 кА для трехфазных систем, и 25 кА для однофазных систем.
Если согласно МЭК 62305-4 и МЭК 60364-4-44. пункт 443 применяется только одно устройство защиты от перенапряжений, то номинальные значения /„ и /imp должны соответствовать указанным выше значениям.
534.2.3.5 Выбор в зависимости от ожидаемого тока короткого замыкания
Стойкость устройств защиты от перенапряжений (УЗП) к короткому замыканию (при отказе в работе УЗП) вместе с соответствующими связанными с ними устройствами защиты от сверхтоков (внутренними или внешними), должна быть равной или большей по отношению к максимальному току короткого замыкания, ожидаемому в точке установки, с учетом максимальных характеристик устройств защиты от сверхтоков, указываемых производителями устройств защиты от перенапряжений (УЗП).
Кроме того, если производителем указывается номинальное значение отключающего тока, то оно должно быть равным или большим, чем ожидаемый ток короткого замыкания в точке установки.
Устройства защиты от перенапряжений, подключаемые между нейтральным проводником и проводником РЕ в системах ТТ или TN. которые допускают наличие токов промышленной частоты после срабатывания (например, искровыо разрядники) должны иметь номинальное значение отключающего тока большее или равное 100 А.
В системах IT номинальное значение отключающего тока для устройств защиты от перенапряжений. подключаемых между нейтральным проводником и проводником РЕ. должно быть таким же. как и для устройств, подключаемых между фазой и нейтралью.
534.2.3.6 Согласование устройств защиты от перенапряжений
В соответствии требованиями МЭК 62305-4 и 61643-12. при монтаже устройств защиты от перенапряжений в электроустановке необходимо обеспечивать их согласование. Производители устройств защиты от перенапряжений должны предоставлять, в прилагаемой к ним документации, в достаточном объеме информацию о способах обеспечения согласования между устройствами защиты от перенапряжений.
534.2.4 Защита от сверхтоков и последствий отказа в работе устройства защиты от перенапряжений (УЗП)
Защита от коротких замыканий устройств защиты от перенапряжений обеспечивается при помощи устройств защиты от сверхтоков F2 (см. рисунки в приложениях А — D). которые выбираются в соответствии с максимальными рекомендованными номинальными характеристиками для устройств защиты от сверхтоков. Эти характеристики указываются в инструкциях к устройствам защиты от перенапряжений. прилагаемых их производителями.
Если устройства защиты от сверхтоков F1 (которые входят в состав электроустановки, см. рисунки в приложениях А — D) имеют номинальные характеристики, которые ниже или равны максимальным рекомендованным номинальным характеристикам для устройств защиты от сверхтоков F2. то F2 могут в расчет не приниматься.
Площадь поперечного сечения проводников, соединяющих устройства защиты от свврхтоков с линейными проводами, должна рассчитываться в соответствии с максимально возможным током короткого замыкания (FI, F2 и F3 показаны в приложениях А — D).
В зависимости от места расположения защитных устройств, используемых для отключения устройства защиты от перенапряжений в случав его отказа в работе, предпочтение может отдаваться либо непрерывности электроснабжения, либо непрерывности защиты.
9
НАЦИОНАЛЬНЫЙ СТАНДАРТ РОССИЙСКОЙ ФЕДЕРАЦИИ
Электроустановки низковольтные Часть 5-53
ВЫБОР И МОНТАЖ ЭЛЕКТРООБОРУДОВАНИЯ. ОТДЕЛЕНИЕ. КОММУТАЦИЯ И УПРАВЛЕНИЕ
Low-voltage electrical installations. Part 5-53: Selection and erection of electrical equipment. Isolation, switching and control
Дата введения — 2015—01—01
530 Введение
530.1 Область применения
Настоящий стандарт распространяется на низковольтные электроустановки и устанавливает общие требования к функциям отделения, коммутации и управления, а также требования к выбору и монтажу устройств, предусмотренных для выполнения этих функций.
530.2 Нормативные ссылки
В настоящем стандарте использованы нормативные ссылки на следующие стандарты. Для датированных ссылок применяют только указанное издание соответствующего нормативного документа. Для недатированных ссылок действительным является последнее издание соответствующего нормативного документа, (включая поправки).
МЭК 60269-3 Предохранители плавкие низковольтные. Часть 3: Дополнительные требования к плавким предохранителям, используемым неквалифицированным персоналом (главным образом, бытового и аналогичного назначения)
IEC 60269-3 Low-voltage fuses. Part 3: Supplementary requirements for fuses for use by unskilled persons (Fuses mainly for household and similar applications)
МЭК 60364-4-41:2005 Электрические установки зданий. Часть 4-41. Защита для обеспечения безопасности. Защита от электрического удара *
IEC 60364-4-41:2005 Low-voltage electncal installations — Part 4-41: Protection for safety — Protection against electric shock
МЭК 60364-4-42:2010 Электрические установки зданий. Часть 4-42. Защита для обеспечения безопасности. Защита от тепловых воздействии
IEC 60364-4-42:2010 Electncal installations of buildings. Part 4-42. Protection for safety. Protection against thermal effects
МЭК 60364-4-43:2008 Низковольтные электрические установки. Часть 4-43. Защита для обеспечения безопасности. Защита от сверхтока*
IEC 60364-4-43:2008 Low-voltage electrical installations — Part 4-43: Protection for safety — Protection against overcurrent
МЭК 60364-4-44:2007 Электрические установки низкого напряжения. Часть 4-44. Защита для обеспечения безопасности. Защита от резких отклонений напряжения и электромагнитных возмущений*
IEC 60364-4-44:2007 Low-voltage electncal installations — Part 4-44: Protection for safety — Protection against voltage disturbances and electromagnetic disturbances
МЭК 60364-6:2006 Электрические установки зданий. Часть 6. Испытания IEC 60364-6:2006 Lov-voltage electrical installations Part 6: Verification.
Указанны действующие международные стандарты по состоянию на 01.01.2013.
Издание официальное
ГОСТ Р 50571.5.53-2013
МЭК 60364-7-705:2006 Электрические установки зданий. Раздел 705: Электрические установки для сельскохозяйственных и садовых участков*
IEC 60364-7-705:2006 Electrical installations of buildings. Part 7 : Requirements for special installations or locations. Section 705 : Electrical installations of agricultural and horticultural premises
МЭК 60664-1:2005 Координация изоляции для оборудования в низковольтных системах. Часть 1: Принципы, требования и испытания’
IEC 60664-1:2005 Insulation coordination for equipment within low-voltage systems; part 1: principles, requirements and tests
МЭК 61008-1:1996 Выключатели автоматические, срабатывающие от остаточного тока, без встроенной защиты от тока перегрузки бытовые и аналогичного назначения. Часть 1: Общие правила* IEC 61008-1:1996 Residual current operated circuit-breakers without integral overcurrent protection for household and similar uses (RCCB’s) — Part 1: General rules
МЭК 61009-1:2006 Выключатели автоматические, срабатывающие от остаточного тока, со встроенной защитой от тока перегрузки: бытовые и аналогичного назначения. Часть 1: Общие правила*
IEC 61009-1:2006 Residual current operated circuit-breakers with integral overcurrent protection for household
МЭК 62305-3:2010 Защита от молнии. Физические повреждения конструкций и опасность для жизни’
IEC 62305-3:2010 Protection against lighting — Part 3: Phisical domage to structures and life hasard МЭК 62305-4:2010 Защита от молнии. Часть 4. Электрические и электронные системы внутри конструкций*
IEC 623005-4:2010 Protection against lightning — Part 4: Electrical and electronic systems within structures
МЭК 61643-1:2005 Устройства защиты от перенапряжений, подсоединенные к низковольтным системам распределения электроэнергии. Часть 1. Требования к эксплуатационным характеристикам и методы испытания*
IEC 61643-1:2005 Surge protective devices connected to low-voltage power distribution systems -Part 1: Performance requirements and testing methods
МЭК 61643-12:2002 Устройства защиты от перенапряжений низковольтные. Часть 12. Устройства защиты от перенапряжений, подсоединенные к низковольтным системам распределения электроэнергии. Принципы выбора и применения *
IEC 61643-12:2002 Low-voltage surge protective devices — Part 12: Surge protective devices connected to low-voltage power distribution systems — Selection and application principles
Примечание — При пользовании настоящим стандартом целесообразно проверить действие ссылочных стандартов в информационной системе общего пользования — на официальном сайте Федерального агентства по техническому регулированию и метрологии в сети Интернет или по ежегодному информационному указателю «Национальные стандарты», который опубликован по состоянию на 1 января текущего года, и по выпускам ежемесячного информационного указателя «Национальные стандарты» за текущий год Если заменен ссылочный стандарт, на который дана недатированная ссылка, то рекомендуется использовать действующую версию этого стандарта с учетом всех внесенных в данную версию изменений. Если заменен ссылочный стандарт. на который дана датированная ссылка, то рекомендуется использовать версию этого стандарта с указанны»/ выше годом утверждения (принятия). Если после утверждения настоящего стандарта в ссылочный стандарт. на который дана датированная ссылка, внесено изменение, затрагивающее положение, на которое дана ссылка, то это положение рекомендуется при»/енять без учета данного изменения. Если ссылочный стандарт отменен без за»/ены, то положение, в которо»/ дана ссылка на него, рекомендуется применять в части, не затрагивающей эту ссылку.
530.3 Общие требования
В настоящем стандарте устанавливаются требования к соблюдению защитных мер безопасности при эксплуатации электроустановки в соответствии с функциональным назначением и предполагаемыми внешними воздействиями. Каждый элемент оборудования в составе электроустановки следует выбирать и устанавливать в соответствии с требованиями, изложенными в перечисленных ниже пунктах, и соответствующими положениями других частей серии стандартов МЭК 60364.
Требования, установленные в настоящем стандарте, дополняют общие требования, установленные в серии стандартов МЭК 60364.
530.3.1 Подвижные контакты всех полюсов многополюсных устройств должны механически
Указанны действующие международные стандарты по состоянию на 01.01.2013.
ГОСТ P 50571.5.53—2013
соединяться таким образом, чтобы они все вместе надежно замыкались и размыкались. Исключение составляют контакты, предназначенные только для нейтрали, которые могут замыкаться до и размыкаться после других контактов.
530.3.2 За исключением случаев, предусмотренных в 536.2.2.7. в многофазных цепях однополюсные устройства не должны устанавливаться на нейтральный проводник.
В однофазных цепях однополюсные устройства не должны устанавливаться в нейтральном проводнике, за исключением тех случаев, когда на стороне источника электроснабжения имеется (обеспечивается наличие) устройство защитного отключения (УЗО). соответствующее требованиям МЭК 60364-4-41. пункт 413.1.
530.3.3 Устройства, выполняющие более одной функции, должны соответствовать требованиям настоящего стандарта, которые предъявляются к каждой из его функций отдельно.
531 Устройства защиты при повреждении (от косвенного прикосновения) посредством автоматического отключения электропитания
531.1 Устройства защиты от сверхтоков
531.1.1 Системы TN
В системах TN устройства защиты от сверхтоков следует выбирать и устанавливать согласно требованиям, приведенным в МЭК 60364-4-43 . и удовлетворять требованиям МЭК 60364-4-41.
531.1.2 Системы TT
В системах ТТ устройства защиты от сверхтоков следует выбирать и устанавливать согласно требованиям, приведенным в МЭК 60364-4-43.
531.1.3 Системы IT
Если открытые проводящие части соединяются между собой, то устройства защиты от сверхтоков для защиты при повторном замыкании должны соответствовать требованиям пункта 531.1.1 с учетом требований МЭК 60364-4-41. пункт 413.1.5.5.
531.2 Устройства защитного отключения, управляемые дифференциальным током
531.2.1 Общие требования к установке
Устройства защитного отключения, управляемые дифференциальным током, в системах постоянного тока должны быть специально предназначены для обнаружения дифференциальных постоянных токов, размыкания соответствующих цепей и прекращения протекания по ним токов в нормальных и аварийных условиях.
531.2.1.1 Устройство защитного отключения, управляемое дифференциальным током, должно обеспечивать отключение всех проводников, находящихся под напряжением, в цепи, которую оно защищает. В системах TN-S нейтраль отключать не требуется, если условия электропитания таковы, что нейтральный проводник может считаться надежно связанным с потенциалом земли.
Примечание — Требования к испытанию, позволяющему удостовериться в том, что нейтральный проводник надежно связан с потенциалом земли, в настоящее время находятся на стадии рассмотрения.
531.2.1.2 Ни один защитный проводник не должен проходить через магнитную цепь устройства защитного отключения, управляемого дифференциальным током.
531.2.1.3 Устройства защитного отключения, управляемые дифференциальным током, должны выбираться, и электрические цепи должны согласовываться таким образом, чтобы какой-либо ток утечки на землю, который может возникнуть в процессе нормальной работы подключенных нагрузок, не вызывал нежелательного срабатывания устройства.
Примечание — УЗО могут срабатывать при любом значении дифференциального тока, превышающем 50% номинального значения.
531.2.1.4 Воздействие составляющих постоянного тока
В настоящее время находится на стадии рассмотрения.
3
531.2.1.5 Применение устройства защитного отключения, управляемого дифференциальным током. связанного с цепями, не имеющими защитного проводника, если номинальный дифференциальный ток срабатывания не превышает 30 мА. не должно рассматриваться как мера, достаточная для защиты от косвенного прикосновения.
531.2.2 Выбор устройств в соответствии с методом их примонония
531.2.2.1 Устройства защитного отключения, управляемые дифференциальным током, могут иметь или не иметь вспомогательный источник питания. При этом следует учитывать требования пункта 531.2.2.2.
Примечание — Вспомогательным источником питания может быть питающая сеть.
531.2.2.2 Использование устройств защитного отключения, управляемых дифференциальным током, со вспомогательным источником питания, которые не способны автоматически срабатывать в случае отказа в работе вспомогательного источника питания, допускается только при соблюдении одного из двух следующих условий:
защита при повреждении (от косвенного прикосновения) согласно МЭК 60364-4-41. пункт
413.1 обеспечивается даже в случае отказа в работе вспомогательного источника питания;
устройства устанавливаются в электроустановках, которые обслуживаются, испытываются и проверяются обученным (ВА4) или квалифицированным (ВА5) персоналом.
531.2.3 Системы TN
Если в отношении какого-либо оборудования или определенных частей электроустановки одно или более из требований, изложенных в МЭК 60364-4-41. пункт 413.1.3. не могут быть выполнены, то указанные части могут быть защищены при помощи устройства защитного отключения, управляемого дифференциальным током. В этом случае открытые проводящие части не требуется подсоединять к защитному проводнику системы заземления TN. при условии, что они подсоединены к заземляющему электроду, который обеспечивает сопротивление, соответствующее току срабатывания устройства защитного отключения. Цепь, защищенная таким образом, должна рассматриваться как система ТТ и на нее распространяются требования МЭК 60364-4-41, пункт 413.1.4.
Если отдельного заземляющего электрода нет, то открытые проводящие части необходимо подсоединить к защитному проводнику на стороне источника литания устройства защитного отключения.
531.2.4 Системы ТТ
Если электроустановка защищена единственным устройством защитного отключения, управляемым дифференциальным током, то оно должно быть расположено на вводе в электроустановку, при условии, что о части электроустановки, расположенной между ее вводом и данным устройством не применяется защита с использованием оборудования класса II или с эквивалентной изоляцией (см. МЭК 60364-4-41. пункт 413.2).
Примечание — Если имеется несколько вводов, данное требование распространяется на каждый из
них.
531.2.5 Системы IT
Если защита обеспечивается устройством защитного отключения, управляемым дифференциальным током, и отключение после первого замыкания не предусматривается, то дифференциальный ток, не вызывающий срабатывания устройства, должен быть, равным току, который протекает после первого замыкания на землю.
531.3 Устройства контроля изоляции
Примечание — Устройства контроля изоляции могут функционировать при соответствующем времени срабатывания.
Устройство контроля изоляции, использование которого предусматривается в соответствии с МЭК 60364-4-41, пункт 413.1.5.4, представляет собой устройство, непрерывно контролирующее значение сопротивления изоляции электроустановки. Оно предназначено для индикации существенного
4
ГОСТ Р 50571.5.53-2013
снижения значения сопротивления изоляции электроустановки, что позволяет обнаружить причину этого снижения до того, как произойдет второе замыкание и. таким образом, избежать отключения электроснабжения.
В соответствии с этим, на устройстве контроля изоляции задается значение ниже значения, указанного в МЭК 60346-6-61, пункт 612.3. в зависимости от характеристик электроустановки.
Устройства контроля изоляции должны проектироваться и устанавливаться так, чтобы их уставки можно было изменять только с помощью специального ключа или инструмента.
532 Устройства защиты от тепловых воздействий
Защита от тепловых воздействий — по МЭК 60364-4-42.
533 Устройства защиты от сверхтоков
533.1 Общие требования
Защита от сверхтоков — по МЭК 60364-4-43.
533.1.1 Основания предохранителей, в которых используются вворачивающиеся плавкие элементы. должны подсоединяться таким образом, чтобы центральный контакт находился на стороне источника электропитания основания плавкого предохранителя.
533.1.2 Основания предохранителей, в которых используются держатели плавкой вставки, должны быть расположены таким образом, чтобы исключалась возможность создания держателем плавкой вставки контакта между проводящими частями, относящимися к двум близко расположенным основаниям предохранителей.
533.1.3 Предохранители, имеющие плавкие вставки, которые могут легко извлекаться или устанавливаться на место лицами, не прошедшими обучение (ВА4) или не имеющими соответствующей квалификации (ВА5). должны по своему типу удовлетворять требованиям к обеспечению безопасности. изложенным в МЭК 60269-3.
Плавкие предохранители или комбинированные устройства, имеющие плавкие вставки, которые могут извлекаться или устанавливаться на место только лицами, прошедшими обучение (ВА4) или имеющими соответствующую квалификацию (ВА5), должны устанавливаться таким образом, чтобы исключалась возможность непреднамеренного контакта с частями, находящимися под напряжением при извлечении плавких вставок или установке их на место.
533.1.4 Если автоматические выключатели могут эксплуатироваться лицами, не прошедшими обучение (ВА4) или не имеющими соответствующей квалификации (ВА5). то они должны выбираться (проектироваться) и устанавливаться таким образом, чтобы изменение уставок или калибровки расцепителей максимального тока возможно было только с использованием специального ключа или инструмента, результат которого наглядно отображается в виде индикации уставок или калибровки.
533.2 Выбор устройств защиты электропроводки от перегрузок
Номинальный ток (или уставка по току) защитного устройства должны выбираться в соответствии с требованиями МЭК 60364-4-43. пункт 433.1.
Примечание — В определенных случаях, во избежание нежелательного срабатывания, следует принимать в расчет пиковые значения токов нагрузок.
Что касается циклической нагрузки, значения /„ и h должны выбираться на основе значений fe и \г для эквивалентной постоянной тепловой нагрузки, где /в — расчетный ток нагрузки цепи:
lz — длительно допустимая нагрузка кабеля по току:
/„ — номинальный ток защитного устройства;
h — ток. обеспечивающий срабатывания защитного устройства.
533.3 Выбор устройств защиты электропроводок от коротких замыканий
Применяя требования, в отношении коротких замыканий длительностью до 5 сек. изложенные в МЭК 60364-4-43. следует принимать в расчет минимальные и максимальные характеристики короткого замыкания.
Если в стандарте на защитное устройство, указывается как номинальная рабочая отключающая
5
способность при коротком замыкании, так и номинальная предельная отключающая способность при коротком замыкании, то допускается выбирать защитное устройство по предельной отключающей способности при коротком замыкании для максимальных характеристик короткого замыкания. Однако в зависимости от условий эксплуатации может оказаться желательным выбрать защитное устройство по рабочей отключающей способности при коротком замыкании, например, если защитное устройство устанавливается на входе электроустановки.
534 Устройства защиты от перенапряжений
534.1 Общие положения
Защита от перенапряжений — по МЭК 60364-4-44.
Требования настоящего пункта устанавливают применение ограничения напряжения для обеспечения согласования изоляции в случаях, указанных в МЭК 60364-4-44. МЭК 60664-1, МЭК 62305-4 и МЭК 61643-12 и приводятся требования к выбору и монтажу:
— устройств защиты от перенапряжений (УЗП) электроустановок зданий, обеспечивающих ограничение импульсных перенапряжений атмосферного происхождения, передаваемых по питающей сети и защиту от коммутационных перенапряжений;
устройств защиты от перенапряжений (УЗП), обеспечивающих защиту от импульсных перенапряжений. возникающих под воздействием прямых ударов молний вблизи от зданий, защищенных системой молниезащиты.
В настоящем пункте не учитываются устройства защиты от перенапряжений, которые могут являться компонентами и входить в состав электроприборов, подключаемых к электроустановке. Наличие таких компонентов и устройств может влиять на функционирование основного устройства защиты от перенапряжений электроустановки и может потребовать дополнительной координации.
Требования настоящего пункта распространяется на силовые цепи переменного тока. Что касается силовых цепей постоянного тока, требования данного пункта могут на них распространяться в той степени, в какой они могут быть полезны. В особых случаях, в соответствии с серией стандартов МЭК 60364. часть 7. может возникать необходимость соблюдения других или дополнительных требований.
534.2 Выбор и монтаж устройств защиты от пороналряжений (УЗП) в электроустановках зданий
534.2.1 Использование устройств защиты от перенапряжений (УЗП)
В стандарте МЭК 60364-4-44 приведены требования по защите от перенапряжений атмосферного происхождения (вызываемых непрямыми и удаленными ударами молнии) и коммутационных перенапряжений. Эта защита обеспечивается установкой устройств защиты от перенапряжений, испытанных по классу II и. если необходимо, по классу III.
Если это требует МЭК 60364-4-44 или другие стандарты по защите от отклонения напряжения в низковольтных системах переменного тока, то устройства защиты от перенапряжений устанавливаются внутри здания у ввода в электроустановку или в главном распределительном щите, ближайшем к вводу в электроустановку.
В стандарте МЭК 62305-4 установлены требования по защите от воздействия прямых ударов молнии вблизи системы электропитания и приведены рекомендации по правильному выбору и применению устройств защиты от перенапряжений в соответствии с зоновой концепцией молниезащиты (LPZ). В зоновой концепции молниеэащиты приведена установка устройств защиты от перенапряжений класса испытаний I. II и III.
Если это требуется согласно МЭК 62305-4 или в соответствии с другими стандартами, устройства защиты от перенапряжений устанавливаются на вводе электроустановки.
Для защиты чувствительного оборудования могут потребоваться дополнительные устройства защиты от перенапряжений. Такие устройства должны согласовываться с устройствами, устанавливаемыми у ввода (см. 534.2.3.6).
В том случае, если устройство защиты от перенапряжений является частью стационарной электроустановки, но но устанавливается внутри распределительного щита (например, в розетке), на его наличие должна указывать наклейка, которая должна находиться непосредственно в начале соответствующей цепи или как можно ближе к нему.
534.2.2 Подключение устройств защиты от перенапряжений
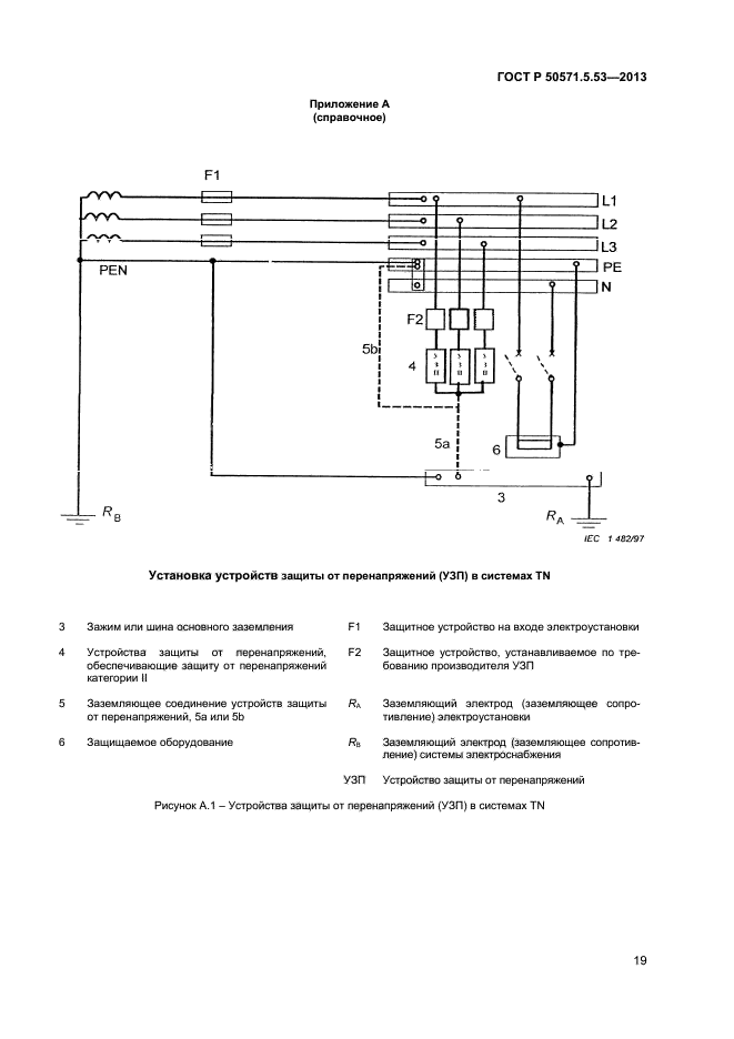
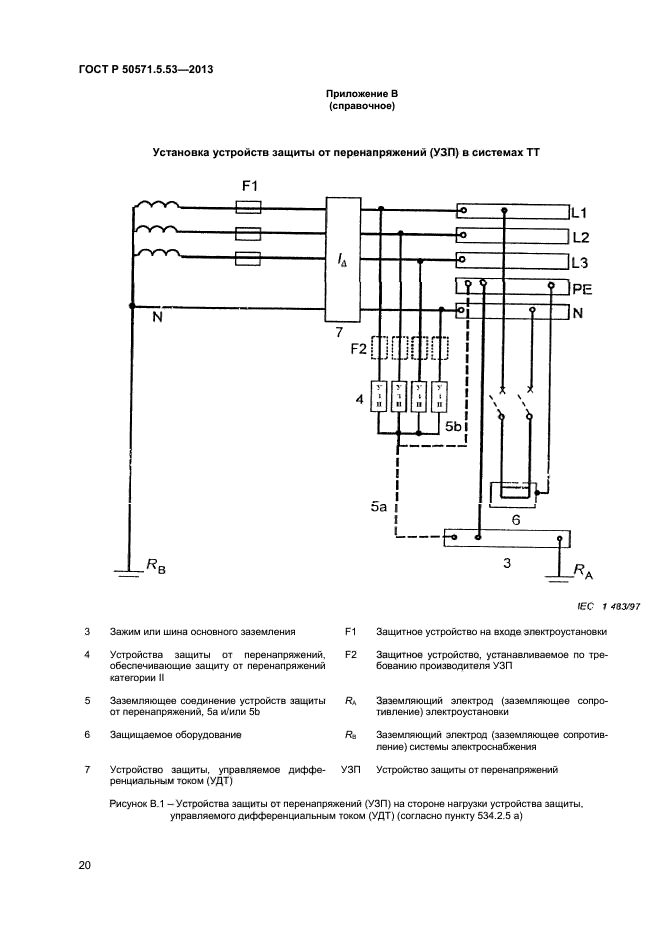
Устройства защиты от перенапряжений, устанавливаемые на вводе или рядом с вводом электроустановки. должны подключаться между следующими точками (см. приложения А. В и С):
а) если есть непосредственное соединение между нейтральным проводником и РЕ (провод-
6
ГОСТ P 50571.5.53—2013
ником защитного заземления) на вводе или рядом с вводом электроустановки, или если нейтрального проводника нет:
между каждым линейным проводником и основным заземляющим зажимом или основным защитным проводником, в зависимости от того, какой путь короче:
Примечание — Сопротивление, через которое нейтраль подсоединяется к РЕ проводнику (защитному заземлению) в системах IT не рассматривается как соединение.
Ь) если нет прямого соединения между нейтральным проводником и РЕ на вводе или рядом с вводом электроустановки, то либо:
— между каждым линейным проводником и основным заземляющим зажимом или основным защитным проводником, и между нейтральным проводником и основным заземляющим зажимом или защитным проводником, в зависимости от того, какой путь окажется короче — тип подключения 1;
либо
— между каждым линейным проводником и нейтральным проводником и между нейтральным проводником и основным заземляющим зажимом или защитным проводником, в зависимости от того, какой путь окажется короче — тип подключения 2.
Примечание — Если линейный проводник заземлен, то он считается эквивалентным нейтральному проводнику, в том. что касается применения данного пункта.
Устройства защиты от перенапряжений, размещаемые на вводе или у ввода электроустановки, обычно устанавливаются как это показано в приложениях А — С и в соответствии с таблицей 53В:
Таблица 53В — Подключение устройств защиты от перенапряжений (УЗП) в зависимости от конфигурации системы
|
Подключение УЗП между |
Конфигурация системы на месте установки УЗП |
|||||||
|
тт |
TN-C |
TN-S |
IT с распределительной нейтралью |
IT без распре-де-литель-ной нейтрали |
||||
|
Установка по |
Установка по |
Установка по |
||||||
|
типу подключения 1 |
типу подключения 2 |
типу подключения 1 |
типу подключения 2 |
типу подключения 1 |
типу подключения 2 |
|||
|
каждым линейным проводом и нейтральным проводником |
♦ |
• |
н/п |
+ |
• |
+ |
• |
+ |
|
каждым линейным проводом и проводником РЕ |
• |
м/п |
н/п |
• |
+ |
• |
+ |
• |
|
нейтральным проводником и проводником РЕ |
• |
• |
н/п |
• |
• |
• |
• |
+ |
|
каждым линейным проводом и проводником PEN |
Н/П |
н/п |
• |
н/п |
+ |
♦ |
+ |
+ |
|
линейными проводами |
♦ |
♦ |
♦ |
+ |
+ |
+ |
♦ |
+ |
|
• — обязательное требование н/п — не применяется ♦ — дополнительно (по выбору) |
||||||||
534.2.3 Выбор устройств защиты от перенапряжений (УЗП)
Устройства защиты от перенапряжений (УЗП) должны соответствовать требованиям МЭК 61643-1. Дополнительная информация относительно их выбора и применения указана в МЭК 61643-12.
534.2.3.1 Выбор в зависимости от уровня защиты (1/р)
Если это требуется согласно МЭК 60364-4-44 (раздел 443). то в зависимости от уровня защиты Up устройства защиты от перенапряжений следует выбирать в соответствии со значениями импульсного выдерживаемого напряжения категории II, которые указаны в МЭК 60364-4-44. таблица 44В.
7
Если согласно МЭК 62305-4 требуется использование устройств защиты от перенапряжений для обеспечения защиты от перенапряжений, вызываемых прямым ударом молнии, то уровень защиты таких устройств также должен подбираться в соответствии со значениями импульсного выдерживаемого напряжения категории II, указанными в МЭК 60364-4-44. таблица 44В.
Например, в установках 220/380 В уровень защиты Up не должен превышать 2.5 кВ.
Если согласно требованиям 534.2.2 используется подключение типа 2. вышеуказанные требования также распространяются на суммарный уровень защиты между линейными проводниками и проводником РЕ.
Если требуемый уровень защиты не может быть достигнут при помощи одного комплекта устройств защиты от перенапряжений, то для его обеспечения следует использовать дополнительные сог
