Короткие замыкания в электроустановках. Методы расчета в электроустановках переменного тока напряжением до 1 кВ
Действие завершено 01.01.1995
Документ завершил свое действие. Вы можете скачать Руководящий документ ГОСТ Р 50270-92 в удобном формате.
Скрыть дополнительную информацию
стр.1

стр.2

стр.3

стр.4

стр.5

стр.6

стр.7

стр.8

стр.9

стр.10

стр.11

стр.12

стр.13

стр.14

стр.15

стр.16

стр.17

стр.18

стр.19

стр.20

стр.21

стр.22

стр.23

стр.24

стр.25

стр.26

стр.27

стр.28

стр.29

стр.30

стр.31

стр.32

стр.33

стр.34

стр.35

стр.36

стр.37

стр.38

стр.39

стр.40

стр.41

стр.42

стр.43

стр.44

стр.45

стр.46

стр.47

стр.48

стр.49

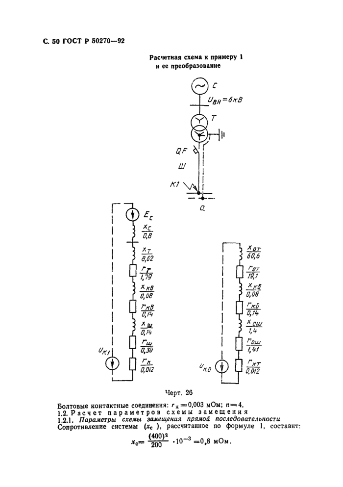
стр.50

стр.51

стр.52

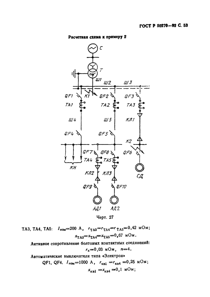
стр.53

стр.54

стр.55

стр.56

стр.57

стр.58

стр.59

стр.60

стр.61

Страница 1

Страница 2

Страница 3

Страница 4

Страница 5

Страница 6

Страница 7

Страница 8

Страница 9

Страница 10

Страница 11

Страница 12

Страница 13

Страница 14

Страница 15

Страница 16

Страница 17

Страница 18

Страница 19

Страница 20

Страница 21

Страница 22

Страница 23

Страница 24

Страница 25

Страница 26

Страница 27

Страница 28

Страница 29

Страница 30

Страница 31

Страница 32

Страница 33

Страница 34

Страница 35

Страница 36

Страница 37

Страница 38

Страница 39

Страница 40

Страница 41

Страница 42

Страница 43

Страница 44

Страница 45

Страница 46

Страница 47

Страница 48

Страница 49

Страница 50

Страница 51

Страница 52

Страница 53

Страница 54

Страница 55

Страница 56

Страница 57

Страница 58

Страница 59

Страница 60

Страница 61

