Машины и оборудование строительные. Внешние вибраторы для бетона
На нашем сайте можно бесплатно скачать ГОСТ ISO 18652-2014 в удобном формате. Узнать актуальный статус ГОСТА «Машины и оборудование строительные. Внешние вибраторы для бетона» на 2016 год.
Скрыть дополнительную информацию
Выберите формат отображения документа:

Страница 1

Страница 2

Страница 3

Страница 4

Страница 5

Страница 6

Страница 7

Страница 8

Страница 9

Страница 10

Страница 11

Страница 12

Страница 13

Страница 14

Страница 15

Страница 16

Страница 17

Страница 18

Страница 19

Страница 20

Страница 21

Страница 22

Страница 23

Страница 24
МЕЖГОСУДАРСТВЕННЫЙ СОВЕТ ПО СТАНДАРТИЗАЦИИ, МЕТРОЛОГИИ И СЕРТИФИКАЦИИ
(МГС)
INTERSTATE COUNCIL FOR STANDARDIZATION, METROLOGY AND CERTIFICATION
(ISC)
МЕЖГОСУДАРСТВЕННЫЙ
СТАНДАРТ
ГОСТ
ISO 18652-2014
Машины и оборудование строительные
ВНЕШНИЕ ВИБРАТОРЫ ДЛЯ БЕТОНА
(ISO 18652:2005, ЮТ)
Издание официальное
Москва Стенда ртинформ 2015
Предисловие
Цели, основные принципы и основной порядок проведения работ по межгосударственной стандартизации установлены ГОСТ 1.0-92 «Межгосударственная система стандартизации. Основные положения» и ГОСТ 1.2—2009 «Межгосударственная система стандартизации. Стандарты
межгосударственные, правила и рекомендации по межгосударственной стандартизации. Правила разработки. принятия, применения, обновления и отмены»
Сведения о стандарте
1 ПОДГОТОВЛЕН Обществом с ограниченной ответственностью «ИЦ «ЦНИП СДМ» (ООО «ИЦ «ЦНИП СДМ»)на основе собственного аутентичного перевода на русский язык англоязычной версии международного стандарта, указанного в пункте 5
2 ВНЕСЕН Техническим комитетом по стандартизации ТК 267 «Строительно-дорожные машины и оборудование»
3 ПРИНЯТ Евразийским советом по стандартизации, метрологии и сертификации (протокол от 22 декабря 2014 г. № 73-П)
За принятие проголосовали:
|
Краткое наименование страны по МК (ИСО 3166) 0<М—97 |
Код страны по МК |ИСО 3166) 004-97 |
Сокращенное наименование национального органа по стандартизации |
|
Азербайджан |
A Z |
Азстандарт |
|
Армения |
AM |
Минэкономики Республики Армения |
|
Беларусь |
BY |
Госстандарт Республики Беларусь |
|
Казахстан |
KZ |
Госстандарт Республики Казахстан |
|
Киргизия |
KG |
Кыргызстандарт |
|
Молдова |
MD |
Молдова-Стандарт |
|
Россия |
RU |
Росстандарт |
|
Таджикистан |
TJ |
Таджикстандарт |
|
Туркменистан |
TM |
Главгосслужба «Туркмеистандартлары» |
|
Узбекистан |
UZ |
Узстандарт |
|
Украина |
UA |
Минэкономразвития Украины |
4 Приказом Федерального агентства по техническому регулированию и метрологии от 15 июня 2015 г. No 690-ст межгосударственный стандарт ГОСТ ISO 18652—2014 введен в действие в качестве национального стандарта Российской Федерации с 1 ноября 2015 г.
5 Настоящий стандарт идентичен международному стандарту ISO 18652:2005 Building construction machinery and equipment — External vibrators for concrete (Машины и оборудование строительные. Внешние вибраторы для бетона)
Международный стандарт разработан Техническим комитетом по стандартизации ISO/TC 195 «Строительные машины и оборудование» Международной организации по стандартизации (ISO) и утвержден Европейскиуа комитетом по стандартизации CEN в качестве европейского стандарта без внесения изменений.
Перевод с английского языка (еп).
Сведения о соответствии межгосударственных стандартов ссылочным международным стандартам приведены в дополнительном приложении ДА.
Степень соответствия — идентичная (ЮТ).
6 Настоящий стандарт может быть использован при ежегодной актуализации перечня стандартов, содержащих правила и методы исследований (испытаний), а так же стандартов, в результате применения которых на добровольной основе обеспечивается соблюдение требований технического регламента Таможенного союза «О безопасности машин и оборудования»
и
7 ВВЕДЕН ВПЕРВЫЕ
ГОСТ ISO 18652—2014
8.5 Измерение напряжения и потребляемой мощности
Напряжение и потребляемую мощность измеряют с помощью амперметра и ваттметра в соответствии с 6.4.
8.6 Проверка требований безопасности
8.6.1 Фиксированные и съемные внешние электрические вибраторы
8.6.1.1 Степень защиты
Испытания для подтверждения IP-кода проводят в соответствии с методом, приведенным в МЭК 60034-5.
8.6.1.2 Защита от перегрузки
Испытание эффективности защиты вибратора от перегрузки осуществляют путем его перегрузки и проверки отключения вибратора. Перегрузка может быть выполнена разными методами, например, подачей напряжения выше номинального на защитное устройство.
8.6.1.3 Тепловые характеристики
Испытание тепловых характеристик проводят по методу, приведенному в МЭК 60034-1 (раздел 7).
8.6.1.4 Заземление
Визуально проверяют защиту клеммы в отношении расположения и назначения, измеряют поперечное сечение площади проводника в соответствии с требованиями МЭК 60034-1 (пункт 10.1).
8.6.1.5 Испытание изоляционной системы
Испытание изоляционной системы проводят с использованием метода приведенного в МЭК 60034-1 (пункт 8.1).
8.6.2 Пневматичоскио и гидравлические вношнио вибраторы
Закрепляют на вибратор полезную нагрузку. Проверяют правильность работы вибратора при номинальном и максимальном давлении.
Проверяют подтверждающие документы на шланги и быстросъемныв муфты (если они есть) в соответствии с 6.5.3.
8.6.3 Проверка руководства по эксплуатации
Проверяют содержание руководства по эксплуатации в соответствии с разделом 7.
9 Проверка и оценка
Вибраторы должны быть проверены путем проведения испытаний, указанных в разделе 8 и одобрены. если результаты удовлетворяют требованиям раздела 6.
10 Обозначения
Обозначение вибратора зависит от его частоты и/или источника энергии и его мощности в соответствии с таблицей 1.
Буквенный код:
NF — нормальная частота электродвигателя:
HF — высокая частота электродвигателя;
Р — пневматический привод:
Н — гидравлический привод.
Мощность должна указываться в Вт.
Пример — Вибратор с электродвигателем мощностью 750 Вт нормальной частоты обозначается: NF 750.
11 Требования к табличке изготовителя
Информация на табличке изготовителя должна быть нанесена соответствующим размером, не стираться и содержать следующую информацию:
a) наименование изготовителя (или его уполномоченного представителя) и его адрес;
b) обозначение типа и серийный номер;
c) год выпуска;
d) частота тока. Гц;
7
Информация об изменениях к настоящему стандарту публикуется в ежегодном информационном указателе «Национальные стандарты» (по состоянию на 1 января текущего года), а текст изменений и поправок — в ежемесячном информационном указателе «Национальные стандарты». В случав пересмотра (замены) или отмены настоящего стандарты соответствующее уведомление будет опубликовано в ежемесячном информационном указателе «Национальные стандарты». Соответствующая информация, уведомление и тексты размещаются также в информационной системе общего пользования — на официальном сайте Федерального агентства по техническому регулированию и метрологии в сети Интернет
© Стамдартимформ. 2015
В Российской Федерации настоящий стандарт не может быть полностью или частично воспроизведен, тиражирован и распространен в качестве официального издания без разрешения Федерального агентства по техническому регулированию и метрологии
hi
ГОСТ ISO 18652—2014
Содержание
1 Область применения……………………………………………1
2 Нормативные ссылки…………………………………………..1
3 Термины и определения…………………………………………2
4 Классификация………………………………………………3
5 Конструкция …………. . 3
6 Эксплуатационные требования . …………………………………….3
7 Руководство по эксплуатации………………………………………5
8 Методы испытаний…………………………………………….5
9 Проверка и оценка …………………………………………….7
10 Обозначения……….«……………………………………..7
11 Требования к табличке изготовителя………………………………….7
12 Технические условия поставки……………………………………..8
Приложение А (справочное) Конструкция и размерные характеристики внешних вибраторов.
Примеры…………………………………………..9
Приложение В (обязательное) Испытания внешних вибраторов под нагрузкой и без нагрузки.
Виброизоляторы…………………………………….16
Приложение ДА (справочное) Сведения о соответствии межгосударственных стандартов ссылочным
международным стандартам……………………………..19
Библиография………………………………………………..20
IV
МЕЖГОСУДАРСТВЕННЫЙ СТАНДАРТ
Машины и оборудование строительные ВНЕШНИЕ ВИБРАТОРЫ ДЛЯ БЕТОНА
Building construction machinery and equipment. External vibrators for concrete
Дата введения — 2015—11—01
1 Область применения
Настоящий стандарт устанавливает терминологию и определяет классификацию, эксплуатационные требования, методы испытаний, назначение и технические характеристики внешних вибраторов для бетона (далее, вибраторов).
Настоящий стандарт применяется к внешним вибраторам с механическим приводом, предназначенным для уплотнения бетонной смеси вибрацией с наружной стороны.
Примечание — Внешние вибраторы используются как приспособления к опалубкам, вибрационным стендам, столам, площадкам и брусьям для уплотнения бетонной смеси.
2 Нормативные ссылки
Для применения настоящего стандарта необходимы следующие ссылочные документы. Для датированных ссылок применяют только указанное издание ссылочного документа, для недатированных ссылок применяют последнее издание ссылочного документа.
ISO 2398:1995 Rubber hose, textile-reinforced, for compressed air — Specification (Рукава резиновые. армированные текстилем, для сжатого воздуха. Технические условия)
ISO 4414:1998 Pneumatic fluid power — General rules relating to systems (Пневматика. Общие правила. касающиеся пневматических систем)
ISO 6150:1988 Pneumatic fluid power — Cylindrical quick-action couplings for maximum working pressures of 10 bar. 16 bar and 25 bar (1 MPa. 1.6 MPa. and 2.5 MPa) — Plug connecting dimensions, specifications, application guidelines and testing) (Приводы пневматические. Цилиндрические быстроразъемные соединители, рассчитанные на максимальное давление 10,16 и 25 бар (1.1.6 и 2.5 МПа). Присоединительные размеры входящей части. Характеристики, правила применения и испытания)
ISO 7241-1 Hydraulic fluid power — Quick-action couplings — Part 1: Dimensions and requirements (Приводы гидравлические. Быстроразъемные соединения. Часть 1. Размеры и технические требования)
ISO 8041 Human response to vibration — Measuring instrumentation (Реакция человеческого организма на вибрацию. Контрольно-измерительные приборы)
ISO 8331 Rubber and plastics hoses and hose assemblies — Guide to selection, storage, use and maintenance (Рукава и рукава в сборе резиновые и пластмассовые. Руководство по выбору, хранению, использованию и техническому обслуживанию)
ISO 11375:1998 Building construction machinery and equipment — Terms and definitions (Машины и оборудование строительные. Термины и определения)
ISO 12100-2:2003 Safety of machinery — Basic concepts, general principles for design —Pari 2: Technical principles (Безопасность машин. Основные понятия, общие принципы расчета. Часть 2. Технические принципы)
Издание официальное
IEC 60034-1:2004 Rotating electrical machines — Part 1: Rating and performance МЭК 60034-1:2004 (Машины электрические вращающиеся. Часть 1. Номинальные значения параметров и эксплуатационные характеристики)
IEC 60034-5. Rotating electrical machines — Part 5: Degrees of protection provided by the integral design of rotating electrical machines (IP code) — Classification (Машины электрические вращающиеся. Часть 5. Степени защиты, обеспечиваемые собственной конструкцией вращающихся электрических машин (код IP). Классификация)
IEC 60204-1:2000, Safety of machinery — Electrical equipment of machines — Part 1: General requirements (Электрооборудование промышленных машин. Безопасность. Часть 1. Общие требования)
IEC 60745-1:2003. Hand-held motor-operated electric tools — Safety — Part 1: General requirements (Электроинструменты ручные с приводом от двигателя. Безопасность. Часть 1. Общие требования)
3 Термины и определения
В настоящем стандарте используются следующие термины с соответствующими определениями:
3.1 электрический вношний вибратор (electricexternal vibrator): Вибратор, в котором источником энергии является электрический двигатель.
Примечание — Привод электрического вибратора осуществляется одно- или трехфазным асинхронным двигателем с короткозамкнутым ротором, на концах вала которого закреплен эксцентрик с дебалансом (см. рисунки А.1 и А.7).
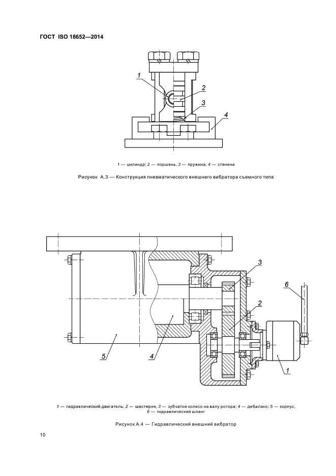
3.2 пневматический внешний вибратор (pneumatic external vibrator): Вибратор, работающий по принципу турбины с пневматическим приводом.
Примечание 1 — Пневматический вибратор обычно имеет ротационный генератор вибрации роликового или шарикового типа, в корпусе которого расположен вращающийся по фиксированной оси ролик. В комплект оборудования входит вибратор, гибкий шланг подачи с краном включения/выключения и различные приспособления для использования металлических и деревянных типов опалубок. Кран включения/выключения позволяет изменять параметры вибрации.
Примечание 2 — См. рисунки А.2. АЗ. А 8 и А.9.
3.3 гидравлический внешний вибратор (hydraulic external vibrator): Вибратор, состоящий из вращающей эксцентриковую массу, непосредственно соединенной с гидравлическим двигателем.
Примечание 1 — Г идравлический вибратор включает в себя гидравлический насос и органы управления давлением и потоком с целью точного регулирования частоты вибрации в соответствии с требованиями.
Примечание 2 — См.рисунокА.4.
3.4 высокочастотный внешний вибратор (high-frequency external vibrator; HF external vibrator): Вибратор, работающий с частотой 70 Гц и выше.
Примечание — Высокочастотный вибратор состоит из короткозамкнутого асинхронного двигателя с питанием от трансформатора.
3.5 сродночастотный вношний вибратор (normal frequency external vibrator; NF external vibrator): Вибратор, работающий с частотой ниже 70 Гц.
Примечание — Среднечастотный вибратор состоит из короткозамкнутого асинхронного двигателя с питанием от сети переменного тока.
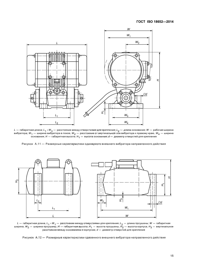
3.6 внешний вибратор направленной вибрации (external vibrator of directed vibration): Вибратор, генерирующий направленную вибрацию.
Примечание — См. рисунки А.10. А.11 и А.12.
3.7 одинарный вношний вибратор направленной вибрации (single external vibrator of directed vibration): Вибратор, генерирующий линейные вертикальные колебания специальным шарниром.
Примечание — См. рисунки А.10 Ь)и А.11.
3.8 сдвоенный вношний вибратор направлонной вибрации (double external vibrator of directed vibration): Вибратор, генерирующий линейные направленные колебания и состоящий из двух вращающихся в противоположных направлениях внешних вибраторов и соединительного механизма.
Примечание 1 — Такие вибраторы могут приводиться в движение внешним двигателем или состоять из двух асинхронных двигателей, приводимых в движение одновременно и заключенных в общий корпус.
2
ГОСТ ISO 18652—2014
Примечание 2 — См. рисунки А.10а)и А.12.
3.9 фиксированный внешний вибратор (fixed external vibrator): Вибратор, закрепляемый непосредственно к объекту вибрации с помощью направляющей.
Примечание — См. рисунки А.1. А.2 и А.5.
3.10 съемный внешний вибратор (removable external vibrator): Вибратор, закрепляемый к объекту вибрации не напрямую, а с помощью быстросъомного соединения.
Примечание — См. рисунки А.З. А.6 и А.9.
3.11 внешний вибратор с внешним двигателем (external vibrator with external motor): Вибратор, приводимый в движение внешним электрическим двигателем или двигателем внутреннего сгорания.
3.12 преобразователь частоты тока и напряжения для внешних вибраторов (frequency and voltage converter for external vibrator): Устройство, используемое для электропитания внешних вибраторов с частотой выше, чем в электросети.
3.13 средне и высокочастотная генераторная установка (high-and-normal frequency generating set): Устройство, состоящее из двигателя внутреннего сгорания, электрического генератора и преобразователя частоты.
4 Классификация
В таблице 1 дана классификация вибраторов в зависимости от частоты тока, источника питания и конструкции.
Таблица 1 — Классификация внешних вибраторов
|
Класс |
Частота |
Источник питания |
Конструкция |
Мощность. Вт |
|
NF |
Средняя |
Электрический двигатель |
Фиксированного типа Съемного типа |
25. 35. 50. 75. 100. 150. 200. 250, 400. 550. 750. 1100. 1500. 1700. 2200.3000. 4000 |
|
HF |
высокая |
30. 50. 100. 150. 200. 300. 400. 550.750.1000. 1500.2000.2500 |
||
|
Р |
— |
Пневматический |
Фиксированного типа Съемного типа |
— |
|
Н |
— |
Гидравлический |
Фиксированного типа Съемного типа |
— |
5 Конструкция
Конструкция вибратора зависит от типа привода (электрический, пневматический, гидравлический). параметров (частота и центробежная сила) и метода крепления к вибрируемым объектам. Примеры различных конструкций вибратора приведены в приложении А.
6 Эксплуатационные требования
6.1 Частота
Вибраторы должны классифицироваться согласно их частоте, в соответствии с таблицей 2. учитывая нагрузку при испытании согласно 8.2. Частота вибратора должна соответствовать данным, заявленным изготовителем.
Таблица 2 — Частота внешних вибраторов
|
Наименование |
Частота |
|
NF |
Менее 70 Гц |
|
HF |
70 Гц и более |
3
6.2 Центробежная сила
Первичный источник энергии вибратора должен быть достаточным для приведения в действия оборудования, без потери скорости и непрерывного сохранения заявленной центробежной силы при максимальной нагрузке.
6.3 Номинальная продолжительность работы
Номинальный режим работы вибратора — непрерывный. Для электрических внешних вибраторов, кратковременный режим (класс использования) указывается в соответствии с МЭК60034-1. пункты 3.2 и
4.2 и может быть согласован между изготовителем и покупателем. Обозначение таких вибраторов должно соответствовать МЭК 60745-1, пункт 7.2.
6.4 Напряжение и потребляемая мощность
Напряжение и потребляемая мощность электрических вибраторов, при нагрузке в соответствии с 8.2. должны соответствовать данным, заявленным изготовителем.
6.5 Требования безопасности
6.5.1 Общие требования
Конструкция внешних вибраторов должна обеспечивать безопасную эксплуатацию, установку и регулировку вибраторов и их механизмов. В случае неисправности вибратора, конструкция должна обеспечивать безопасность персонала. Возможность повреждения оборудования и загрязнения окружающей среды должна быть сведена к минимуму. Должны быть предусмотрены меры безопасности в случае неисправности и неправильного использования оборудования.
Рекомендуемые технические принципы и характеристики при конструировании вибраторов, отвечающие требованиям безопасности при их использовании по назначению указаны в ISO 12100-2.
6.5.2 Электрические внешние вибраторы
6.5.2.1 Общие требования
Вибраторы должны соответствовать требованиям МЭК 60204-1 и МЭК 60034-1. если иное не указано в настоящем стандарте, и должны быть сконструированы в соответствии с международно-признанной практикой проектирования, соответствующей назначению оборудования.
6.5.2.2 Степень защиты
Кабели вибраторов в результате воздействия воды и пыли должны быть защищены от воды и пыли (степень защиты минимум IP 55 в соответствии с МЭК 60034-5).
6.5.2.3 Защита от перегрузки
Для электрических вибраторов должна быть предусмотрена защита от перегрузки для каждого блока мощностью более 0.5 кВт (см. МЭК 60204-1. пункт 7.3).
6.5.2.4 Защита от перегрева
Для смонтированных должным образом вибраторов, повышение температуры должно оставаться в пределах класса изоляции в соответствии с МЭК 60034-1. раздел 7.
6.5.2.5 Заземление
Вибраторы должны быть оснащены средствами для подключения защитного провода или провода заземления. Эффективность этих средств должна соответствовать требованиям МЭК 60034-1. пункт 10.1.
6.5.2.6 Сопротивление изоляции
В соответствии с МЭК 60204-1 (пункт 19.3) сопротивление изоляции при напряжении в 500 В постоянного тока между проводниками силовых цепей и цепями защиты должно быть не менее 1 МОм.
6.5.2.7 Испытания изоляции напряжением
Электрический внешний вибратор при испытаниях должен выдерживать напряжение не менее 1 с между силовыми проводами питания и цепями защиты. Напряжение при испытаниях должно:
— составлять двойное значение номинального напряжения питания или 1000 В:
— иметь частоту 50 Гц:
— подаваться от трансформатора мощностью минимум 500 ВА.
(см. МЭК 60034-1. пункт 8.1 или МЭК 60204-1, пункт 19.4).
6.5.3 Пневматические и гидравлические внешние вибраторы
Пневматические и гидравлические внешние вибраторы должны:
— при испытаниях демонстрировать правильность функционирования:
— пройти испытание при максимальном рабочем давлении при всех условиях использования по назначению.
Утечки и повреждения элементов вибратора не должны вызвать опасность выброса жидкости.
4
ГОСТ ISO 18652—2014
Конструкция вибратора должна соответствовать требованиями ISO 4414.
Особое внимание должно быть уделено всем гибким шлангам и быстроразъемным муфтам, которыми может быть оборудован вибратор. Шланги должны соответствовать требованиям ISO 2398 и ISO 8331. муфты — ISO 6150 и ISO 7241-1.
6.5.4 Требования к испытаниям без нагрузки
Вибратор в течении 2 мин работы должен показать исправную работу (см. 8.1 и приложение В).
6.5.5 Требования к испытаниям под нагрузкой
Вибратор должен проработать под нагрузкой не менее 30 мин без каких-либо неисправностей (см. 8.2 и приложение В).
7 Руководство по эксплуатации
Руководство по эксплуатации должно содержать информацию, необходимую для установки, эксплуатации и технического обслуживания вибратора. Должны быть приведены следующие данные:
a) описание;
b) технические характеристики;
c) схемы;
d) документы, подтверждающие соответствие вибратора обязательным требованиям;
e) информация, связанная с:
— использованием;
— техническим обслуживанием;
— транспортировкой, переноской и храненном;
* вводом в эксплуатацию.
— опасностями и мерами, связанными с безопасностью, включая обращение особого внимания на необходимость периодической проверки эффективности защиты от поражения электрическим током и предотвращения разрыва шлангов (если они есть), а так же определение срока службы шлангов и запасных частей.
8 Методы испытаний
8.1 Испытания без нагрузки
Вибратор помещают в горизонтальном положении на виброизолятор, выбранный в соответствии с массой вибратора, (см. приложение В. В.1).
Все детали должны быть надежно закреплены, исключая их ослабление. Шланги должны быть расположены по прямой линии.
Вибратор включают на 2 мин.
Работа вибратора должна соответствовать требованиям 6.5.4.
8.2 Испытания под нагрузкой
Для использования в качестве прикрепляемой полезной нагрузки при испытаниях вибратора применяют приспособление кубической формы, изготовленное из стали или чугуна. Масса данного приспособления выбирается в соответствии с таблицей 3. Для пневматических и гидравлических приводов вибратора масса полезной нагрузки должна выбираться на основе расчетной потребляемой мощности.
Надежно закрепляют полезную нагрузку на вибраторе.
Устанавливают вибратор с полезной нагрузкой в горизонтальном положении на основание виброизолятора (см. приложение В) и приводят вибратор в действие. Вибратор работает в течении 30 мин. Работа вибратора должна соответствовать требованиям 6.5.5.
Таблица 3 — Масса закрепленной полезной нагрузки на вибраторе во время испытания полезной нагрузкой
|
Класс и мощность двигателя. Вт |
Масса *. кг |
Класс и мощность двигателя. Вт |
Масса •. кт |
|
NF 25 |
5 |
NF 100 |
20 |
|
NF 35 |
5 |
NF 150 |
30 |
|
NF 50 |
10 |
NF 200 |
50 |
|
NF 75 |
15 |
NF 250 |
60 |
Окончание таблицы 3
|
Класс и мощность двигателя. Вт |
Масса *, кг |
Класс и мощность ДОИ1ВТСЛЯ Вт |
Масса •. кг |
|
NF 400 |
100 |
HF 100 |
25 |
|
NF 550 |
120 |
HF 150 |
40 |
|
NF 750 |
200 |
HF 200 |
50 |
|
NF 1100 |
250 |
HF 300 |
80 |
|
NF 1500 |
350 |
HF 400 |
100 |
|
NF 1700 |
400 |
HF 550 |
150 |
|
NF 2200 |
500 |
HF 750 |
200 |
|
NF 3000 |
700 |
HF 1000 |
280 |
|
NF 4000 |
950 |
HF 1500 |
420 |
|
HF 30 |
10 |
HF 2000 |
560 |
|
HF 50 |
15 |
HF 2500 |
700 |
|
а Допустимое отклонение массы — 2.5 %. |
|||
8.3 Измерение частоты и ускорения
Вибратор с полезной нагрузкой устанавливают также, как и при испытании под нагрузкой (см. 8.2 и приложение В). Для электрических вибраторов значение напряжения питания должно соответствовать данным, указанным изготовителем. Для пневматических и гидравлических вибраторов давление воздуха и масла должно иметь номинальное значение.
Частоту измеряют с помощью измерительного прибора или стробоскопа. Для измерения частоты вращения двигателя может быть использован тахометр. Для измерения общих показателей вибрации используют однокомпононтный акселерометр с одной измерительной осью. Надежно закрепляют к полезной нагрузке или верхней части вибратора крепежный винт.
Полученные данные записывают и обрабатывают в спектральных полосах в реальном времени.
Для измерительных устройств ускорения и средств измерений см. ISO 8041.
Результаты измерений частоты должны соответствовать требованиям 6.1. Результаты измерений ускорения должны соответствовать требованиям 6.5.5.
8.4 Определение центробежной силы
Центробежную силу определяют по формуле
с_тхг*я2хп2 _т*гх к2 xf2 900000 250 ‘
где т — масса дебаланса, кг;
г— эксцентриковый радиус, мм; п — число оборотов, мин-1; f— частота, в Гц.
Масса дебаланса может быть определена путем расчета или взвешивания в положении поворота к горизонтальной плоскости.
Значение эксцентрикового радиуса определяют разными методами, например, с помощью расчетов или графически, путем остановки плоских дебалансов в двух различных положениях и проведения на них вертикальных линий, проходящих через точки смещения подвеса, где они пересекаются с эксцентриковым радиусом.
Для измерения частоты см. 8.3.
Примечание — Центробежная сила может измеряться с использованием специального прибора, в котором вибратор подвешивают на струнную систему, связанную с датчиками нагрузки, чтобы избежать ответного действия опор.
