Уголь. Метод прямого весового определения влаги в аналитической пробе
Заменяет

Страница 1

Страница 2

Страница 3

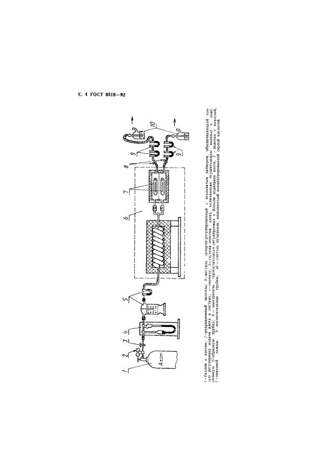
Страница 4

Страница 5

Страница 6

Страница 7

Страница 8

Страница 9

Страница 10
ГОСУДАРСТВЕННЫЙ СТАНДАРТ СОЮЗА ССР
УГОЛЬ
МЕТОД ПРЯМОГО ВЕСОВОГО ОПРЕДЕЛЕНИЯ ВЛАГИ В АНАЛИТИЧЕСКОЙ ПРОБЕ
ГОСТ 9516-92 (ИСО 331-83)
БЗ 11-12-91/1205
Издание официальное
ГОССТАНДАРТ РОССИИ М о с к в а
УДК 662.62:543.06:006.354 Группа AI9
ГОСУДАРСТВЕННЫЙ СТАНДАРТ СОЮЗА ССР
УГОЛЬ
гост
9516-92 (ИСО 331-83)
Метол пряного весового определения влаги в аналитической пробе
Соа’.. Determination of moisture in tiic aiuriysfo Wimple. Direct gravimetric nictlvoi!
ОКСТУ 0309
Дата введения 01.01.93
Влажность аналитической пробы угля вслсдстпис его гигроскопичности зависит от влажности атмосферы. Поэтому массовую долю н аналитической пробе следует определять всякий раз, когда oi6i;p Дополнения и изменения, отражающие потребности народного хтяйстна, выделены курсивом. I. НАЗНАЧЕНИЕ И ОБЛАСТЬ ПРИМЕНЕНИЯ Настоящий стандарт устанавливает весовой метод определения влаги в аналитической пробе каменного и бурого угля, антраци-ю» и л нал ито». Примечание. Альтернативный обьсмиын метод определения со- Л1-|>—аы1И n-i.li и приведен в ГОСТ 27314 2. ССЫЛКИ ГОСТ 27311* Топливо твердое минеральное. Методы определения влаги * Допускается до введения ИСО 1015 в качестве государственного стандарта И >даин; официальное <© Издательство стандартов, 1992 Настоящий стандарт не может быть полностью или частично воспрои»ведеи, тирах, про:-ап и раеярчюранем Сел разрешения Госстандарта России С 2 ГОСТ 9516-92 3. СУЩНОСТЬ МЕТОДА Уголь нагревают при температуре 105—МОХ о гоке сухого азота, очищенного от кислорода. Выделившаяся при эгом влага собирается в поглотительной трубке, содержащей осушитель. Содержание влаги в угле определяют по увеличению массы поглотительной трубки (послевычитания результата контрольного определения). Примечание. Если при проведении анализа соблюдать осторожно,ти и не допускать повторного поглощения плат высушенным vi.n-v, можно и»-ыернть также потер» массы пробы и сравнить сс с увеличением массы поглотительной трубки. Этот метод одинаково применим для углей, богатых абсорбированными газами и бедных ими. 4. РЕАКТИВЫ 4.1. Поглотитель В качестве поглотителя можег быть использовав сухой маг-1!ИЙ .хлорнокислый (ангидрон). Необходимо использовать один и тот же поглотитель в осушительной колонке и в поглоти к’лыгых трубках, поскольку поступающий азот и газ, выходящий из системы, должны быть высушены до одинаковой степени. Примечание. При работе с хлорнокислым нагнием следует соблюдать осторожность. 4.2. Азот. Максимальное содержание кислорода в азоте —30 частей на миллион частей (см. приложение). Допускается использовать азот пи ГОСТ 9293, содержащий не более 0.5% кислорода. 5. АППАРАТУРА Весы аналитические с точностью взвешивания до 0.1 мг. Допускается использовать весы лабораторные общего назначения по ГОСТ 24104 не ниже 2 го класса с погрешностью взвешивания до 0.2 мг. 5.1. Электропечь, термостатически регулируемая, обеспечивающая в ретортной трубке постоянную температуру в пределах 105—J lO’C. Допускается использовить термоста/ически регулируемую электропечь по чертежам ИТ И им. Ф. 3. Дзержинского. Установку для анализа собираю/ в соответствии со схемой, приведенной на чертеже. 5 2. Колонка осушительная, наполненная поглотителем для сушки азота, поступающего и ретортную трубку. Осушительную колонку следует дополнить контрольной стеклянной U-обризной Iрубкой типа TX-U-2 — /00 или TX-U-2—150 по ГОСТ 25336. ГОГ.Т 9516-92 Г. У 5.3. Расходомеры для измерения скорости потока газа, обеспечивающие двухкратный обмен азота в ретортной трубке и I мнн. Допускается использовать стеклянный реометр лабораторный типа РКС по ГОСТ 9932 для измерения расхода азота от 100 до 250 см3)мин. Если расходомер работает по принципу измерения паления давления при прохождении потока газа через сужение сечения, то жидкость в манометре должна быть нелетучим маслом. 5.4. Стеклянные ретортные трубки вместимостью 50 см*, имеющие входное отверстие для сухого азота и выходное отверстие для насыщенного влагой азота, вмещающие примерно 1 г анализируемой пробы, распределенной равномерным слоем в самой трубке или лодочке, вставленной в трубку. Попускается ретортные трубки изготовлять из непкис.тощего металла. 5.5. Лодочки (если они используются), изготовленные из не-окисляющегося материала, например стекла или глазурованного фарфора. Допускается использовать фарфоровую лодочку Л С2 или ЛСЗ по ГОСТ 9/47. 5.G. Поглотительные трубки, заполненные таким количеством поглотителя, которое может полностью поглотить влагу из потока азота. Допускается использовать стеклянные трубки типа TX-U 2—100 или TX-U-2—150 по ГОСТ 25336. масса которых с поглотителем не должна превышать 190 г. Поглотительная система состоит из основной и контрольной трубок. в. ПРИГОТОВЛЕНИЕ ПРОБЫ Аналитическую пробу угля готовят по ГОСТ 10742. Уголь, используемый для определения содержания влаги, должен быть измельчен до прохождения через сито с размером отверстий 0.212 мм. Если необходимо, тонкий слой угля выдерживают минимальное время на воздухе для достижения приблизительного равновесия влагн в пробе с влажностью атмосферы лаборатории. Перед началом определения воздушно-сухую пробу угля тщательно перемешивают не менее I мин, желательно механическим способом. 7. ПРОВЕДЕНИЕ ИСПЫТАНИЯ Перед проведением анализа регулируют скорость потока азота (п. 4.2), проходящего через осушительную колонку и расходомер таким образом, чтобы в ретортной трубке обеспечивался двухкратный обмен азота в 1 мнн. Пустую ретортную трубку присоединяют к поглотительной трубке и к источнику азота черех расходомер. С. 4 ГОСТ 9516—#2 ГОСТ 9516-92 С. Б Систему проверяют на герметичность, открывают поглотительную трубку и, в случае необходимости, снова регулируют скорость потока газа. Ретортную трубку вставляют в печь, нагретую до температуры 105— I !0″С, н пропускают азот (п. 4.2) в течение 15 мин. Поглотительную трубку закрывают, отсоединяют, вытирают и оставляют на 20 мин в комнате для взвешивания. Через 20 мин трубку на мгновение открывают, чтобы уравновесить давление, и взвешивают с точностью до 0.2 мг, используя в качестве противовеса точно такую же трубку (см. примечание 1). Пока поглотительная трубка находится в комнате для взвешивания, ретортную трубку удаляют из печи и охлаждают током сухого азота, проходящего через нее. После охлаждения в трубку (или в лодочку) взвешивают с точностью до 0,1 мг около 1 г угля и распределяют его ровным слоем по длине трубки (лодочки) не более 0.15 г угля на 1 см2. Снова подсоединяют взвешенную поглотительную трубку, проверяют на герметичность и, пропуская азот, нагревают пробу до 105—110°С. Через определенное время (см. примечание 2) поглотительную трубку закрывают, отсоединяют и взвешивают, точно следуя процедуре, описанной выше. Перед отсоединением поглотительной трубки перекрывают поток азота и закрывают выходной конец ретортной трубки. После взвешивания снова отсоединяют поглотительную трубку, регулируют скорость потока азота и продолжают нагревание. Эту процедуру повторяют с интервалом в 30 мин ло тех пор» пока изменение в массе поглотительной трубки будет не более 0,2 мг. Уголь можно взвешивать также в лодочке, которую вставляют в ретортную трубку после подсоединения поглотительной трубки. В этом случае ретортную трубку между двумя последовательными взвешиваниями можно не удалять из печи и не охлаждать (см. примечание к разд. 3). Примечания: 1. При взвешивании поглотительной трубки в качестве противовеса можно использовать такую же трубку. Эту трубку подготавливают тем же способом. что и поглотительную трубку, но без продувки азотом. В процессе определения противовес подмешивают рядом с Поглотительной трубкой, 2. Для антрацитов и каменных углей достаточно нагревать пробу и тече-iiw 1 ч Для лигннгов и бурых углей требуется более длительное ире«», зависящее от вида угля. В. контрольное определение Аппаратуру для контрольного определения готовят так же, как описано в разд. 7, но без пробы. Увеличение массы поглотитель- С. 6 ГОСТ 9510-92 ной трубки при контрольном определении не должно превышать I мг. Величину, полученную при контрольном определении, вычитают из величины массы волы, собранной в поглотительной трубке, при определении содержания влаги Увеличение массы контрольной U-обраэной трубки системы очистки азота при контрольном определении не должно превышать I мг. 9. ВЫЧИСЛЕНИЕ РЕЗУЛЬТАТОВ Массовую долю влаги (U?) и анализируемом угле в процентах вычисляют по формуле \р» .ioo, IW, где m, — масса навески угля, г; гп2 — увеличение массы поглотительной трубки в процессе испытания, г; ш» -увеличение массы поглотительной трубки в процессе контрольного определения, г. Р(чультаты (предпочтительно среднее двух определений, см. п. 10 I) должны быть записаны с точностью до 0,1%. 10. ТОЧНОСТЬ ОПРЕДЕЛЕНИЯ Мпясчмалыоо допусгиыс* расхождение между рмудьтитами Влажность » одной лаборатории » рипых ллЛорагори*х Кходмчость» (посиропнюдимогть) 0,2 абс. СЬ (см. П. 10. 2) До 10% 0,2 лбе, % с». 104» 2.0 а Ос. % 10.1. Сходимость Расхождение между результатами двух определений, проведенных в одной и той же лаборатории, одним лаборантом, на одном и том же приборе, на представительных навесках, взвешенных в одно и то же< время из одной аналитической пробы, не должно превышать указанных в таблице величин. 10.2. Воспроизводимость Поскольку получаемые результаты зависят от условий влажности в различных лабораториях, дать оценку предельной величины для воспроизводимости практически невозможно. ГОСТ 95(6—92 С. 7 II. ПРОТОКОЛ ИСПЫТАНИЯ Протокол испытания должен содержать следующие данные: 1. характеристику испытываемого продукта; 2) ссылку на применяемый метод; 3) результаты и способ их выражения; 4) особенности, замеченные во время определения; 5) операции, не предусмотренные настоящим стандартом или необязательные; 6) дату проведения испытания. ПРИЛОЖЕНИИ УСТАНОВКА ДЛЯ ОЧИСТКИ АЗОТА Необходимо, чтобы азот, используемый для продувки минимально свободного Пространства печи. был сравнительно чистым, поскольку лаже небольшое остаточное количество кислорода, имеющегося в азоте, может назвать окисление и снизить содержание влаги, определяемое как потеря массы при сушке. Поэтому требуется хороша» установка для очистки азота. Ниже оппсывается установка, способная очистить не менее 600 смЗ/мин при давлении к несколько гектопаскалей (мм рт. ст.). Источником газа является баллон со сжатым азотом. Установка для очистки азота состоит из кварщчюй трубки длиной 500 мм (внутренний диаметр 37 мм), содержащей 1,2 кг восстановленной меди в виде проволоки. Трубку с медью нагревают в печи, которая окружает трубку на длину 380 мм и оставляет часть трубки с медной проволокой, выступающей приблизительно на 80 ми на выходном конце с «елью достижения температурного перепада в потоке газа Восстановленную медь нагревают приблизительно до 500*0, Последние следы кислорода удаляют за счет большой площади поверхности меди. Если необходимо восстановить оксид меди, образующийся в происссе-очистки азота, через трубку с медью, нагретую до 450—500°С. пропускают водооод. Воду, образующуюся при воестаиоилекии. удаляют в атмосферу Перед дальнейшим использованием через трубку следует пропустить азот, удалить восстановленную медь и ра:рушнть агломерированный материал, г осле чего трубку снова наполнить При отсутствии установки для очистки можно исполыовать азот содержащим не боле* 30 частей на I млн частей кислорода. В любом случае очищенный азот следует пропустить через колонку с хлорно-кислым магнием для удалении следоя влаги, которые мог\т о чем присутствовать. 8 ГОСТ 9516-92 ИНФОРМАЦИОННЫЕ ДАННЫЕ I. РАЗРАБОТАН И ВНЕСЕН Техническим комитетом ‘ГК 179 «Уголь и продукты его переработки» РАЗРАБОТЧИК В. Н. Сухова (ВТИ им. Ф Э. Дзержинского) 1. УТВЕРЖДЕН И ВВЕДЕН В ДЕЙСТВИЕ Постановлением Комитета стандартизации и метрологии СССР № 305 от 30.03.92 Настоящий стандарт разработан методом прямого применения международного стандарта ИСО 331—83 «Уголь. Прямой весо рой метод определения содержания влаги в аналитической пробе» с дополнительными требованиями, отражающими потребности народного хозяйства 3. Срок первой проверки — 1998 г. Периодичность проверки — 5 лет 4. ВЗАМЕН ГОСТ 9516-60 5. ССЫЛОЧНЫЕ НОРМАТИВНО-ТЕХНИЧЕСКИЕ ДОКУМЕНТЫ (MIO.’IIIA’IOOIIO HI Д. 11* ьошрид Дама CibMxb ОГ-идеелме Номер раздела. ox>riieicia>K>mc!o ишм« шдартй ИСО 1 «>н “ у ГОСТ 9147—80 55 ГОСТ 929-1-74 — 4.2 ГОСТ 99.12-75 — 5Л ГОСТ 10742-71 ИСО ЯШ-83, 6 ИСО 1988-75 ГОСТ 24104-88 — 5 ГОСТ 25336-82 — 5 2. 56 ГОСТ 27314-91 ИСО 1015-75 2 Редактор Р. С. Федорова Технический редактор Г. А. Теребинкина Корректор Af. С. Kafaiuona C4UHO и иаб. « СИ W Лот н веч. 02.06.3? Уел. п. л. 0.02*. Уел. кр.-огг. 0.63 Уч -изд. л $.4*. Тираж 604 мл. Ордена «Знак Почета» Hjaht***^t*o стандартов. 12)557. Москва. ГСП, НоволмсяеисвмА игр.* 3 Тип «Московский вечагвотс». Москва. Л ял вот пер., 6. Зак 1173
