Соединения семиконтактные разъемные для автомобилей и тракторов
Заменяет

Страница 1

Страница 2

Страница 3

Страница 4

Страница 5

Страница 6

Страница 7

Страница 8

Страница 9

Страница 10

Страница 11

Страница 12

Страница 13

Страница 14

Страница 15

Страница 16

Страница 17

Страница 18

Страница 19

Страница 20
ГОСУДАРСТВЕННЫЙ СТАНДАРТ СОЮЗА ССР
СОЕДИНЕНИЯ СЕМИКОНТАКТНЫЕ РАЗЪЕМНЫЕ ДЛЯ АВТОМОБИЛЕЙ И ТРАКТОРОВ
ГОСТ 9200-76 (ИСО 1185-75, ИСО 1724-80, ИСО 3731-80, ИСО 3732-82, ИСО 4091—78)
БЗ 5—92
Издание официальное
ГОССТАНДАРТ РОССИИ Москва
УДК 621.316.541.2:629.114.066(083.74) Группа Е71
|
ГОСУДАРСТВЕННЫЙ СТАНДАРТ СОЮЗА ССР |
||||||||||
|
||||||||||
|
Дата а •едения 01.01.77 |
Настоящий стандарт распространяется на семнконтактные разъемные соединения на номинальное напряжение 12 и 24 В, предназначенные для соединения электрических цепей постоянного или переменного тока автотракторных тягачей с электрическими цепями буксируемых ими прицепов.
Стандарт полностью соответствует ИСО 1185—75, ИСО 1724— —80, ИСО 3731-80. ИСО 3732-82, ИСО 4091—78.
Требования настоящего стандарта, кроме пн. 2.23, 4.9, 5.2 и 5.4, являются обязательными, требования пп. 2.23, 4.9, 5.2 и 5.4 являются рекомендуемыми.
(Измененная редакция, Изм. № 2).
I ОСНОВНЫЕ РАЗМЕРЫ. НАЗНАЧЕНИЕ КОНТАКТОВ
1.1. Основные размеры разъемных соединений в зависимости от номинального напряжения и расположения контактов должны соответствовать указанным на:
черт. 1 и 2 — тип 24N на номинальное напряжение 24 В;
черт. 3 и 4 — тип 24S на номинальное напряжение 24 В;
черт. 5 н 6 — тип 12N на номинальное напряжение 12 В;
черт. 7 и 8 — тип 12S на номинальное напряжение 12 В.
Примечание. Допускается по требованию потребителя ка автомобильных тягачах и буксируемых ими прицепах и полуприцепах, поставленных на производство до 01.07.92 и имеющих номинальное напряжение электрических цепей 24 В, применение разъемов I2N.
Издание официальное
★ ‘
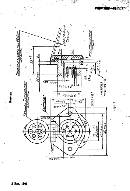
Настоящий стандарт не может быть полностью или частично воспроизведен, тиражирован и распространен без разрешения Госстандарта России a»i 4iE г Положение крышки при введенной вилке Крышка 8 открытой положении 65 тех Контакт 1 Utmin. f Запирающий Выступ Уплотнительное кольцо 039min Базовая / !Q0 max плоскость г.) Черт. 1 .у базовая плоскость Г20тол и/и/$/ ф За сделка, направленная Вниз, , вправо или влево (по i/смотре ■ ни/о изготовителя) С. Э ГОСТ WOO-76 H,StO,OS A-A ГОСТ 920f—те С. 4 Примечание. Внутренние диаметры гнезд вилки должны быть тмя-*и, чтобы гнезда при контактировании с соответствующими штырями ровета обеспечивали усилия отсоединения разъемного соединения по п. 2.12. Назначение контактов, приведенных на черт. 1 и 2, и цвета проводов Обошачсвгс контакт» ■Туики.нч соединения Цде* ПРО*ОД4 1 Масса Белый 2 ЗаднлЙ габаритный н контурные левые фонари, фонарь огпмцения номерного знака Черный 3 Укззатель поворота левый Желты* 4 Сигнал торможения Красный 5 Указатель поворота правый Зеленый 6 Задний габаритный и контурные правые фонари. Коричне внутреннее освещение прнпепа вый 7 Тормозное управление для прицепов и полуприцепов Г алубой ‘ Крышка В открытом положении Поломение крышки при 6ве *• денной Вилке 65тах Контакт] r. Si- О,OS ‘Запирающий «Выступ Уплотнительное ф21М-0,< кольцо Ч>39 mi п бозоВая i- плоскость i * •’ « Черт. 3 Примечании: 1 Розетка должна быть ейзбжена большим контактным пружинящем гнездом (контакт I) и шестью малыми контактными штырями (контакты 2—7). 2. Внутренний диаметр гнезда (контакт 1) должен быть таким, чтобы гнездо при контактировании с соответствующим штырек вилки обеспечивало усилия отсоединения по п. 2.12. WDmo* ГОСТ NW-7I С. « Вым базовая плоскость 120 та* 30 «тал ’PuKCUQi/rOUjUU 33 тт. Выступ Зощеляд, направленная вниз, N вправо или влеЪо (по усмотрению изготовителя) Примечания: 1. Вилка должна быть снабжена большим контактным штырем (кожтагг I) и шестью контактными пружинящими гнездами (контакты 2—7). 2. Внутренние диаметры гясэд (контакты 2—7) должны быть такими чтобы гнезда при контактировании с соответствующими штырями pojenm обеспечивали усилия отсоединения разъемного соединении по о. 2.12. С Т ГОСТ 9И»-7в Нымтаис контактов, приведенных ил черт. S я 4, я цжста проаодо» ОбоаичШае К1ЖГ4ЛТ» Фуикадя сседи*оаия Цмт ПрОМД! 1 Масса Белый i Без назначения Черный 3 Фонаря заднего хода Желтый 4 Питание потребителей орицепа Красный S Сигнализатор отказа контуров тормозов Зеленый 6 Питание потребителей прицепа Коричне вый 7 Фонарь задний противотуманный Голубой Родеткд A — фаскя выполняют под углом 60*—90* на глубину 0,5 мн. rod mo-n c.-« Черт, 5 • Для розеток, спроектированных до 01.07S2, допускается юиструктиаиое реп: ем не под болты с потайной головкой. Примечания: 1. Розетка должна быть снабжена четырьмя гнездами (контакты 1, 3. 4 и 6) и тремя пружинящими штырями (комтакти 2.5 и 7). 2. Диаметры штырей розетки должны быть такими, чтобы штыри вошли а соответствующие гнезда вилки, обеспечивая усилия отсоединения разъемного со«днненвя по п. 2.12. №кж По дгй hlп^.-В.-‘пю’цегр Bb;’myiQ Черт. 6 Примечания: быть свабжена четырьмя пруж такты 1.3.4 *6) и тремя гнездами (контакты 2. 5 я 7). 2. Диаметры штырей и внутренние диаметры гнезд должны быть такими, чтобы штыри и гнезда при «оитжтмроаании с соответствующими гяеадами ■ штырями розетки обеспечивали усилия отсоединения разъемного соединения во о. 112. rteCT ШО—74 С. 1в~ Назначение контактов, прямленных на черт. 5 и б, к цвета проводов Обоммчеияе ковгакт* Фуихоия со*дци«н*к * имгг провода 1 Указатель поворота леный Желта* 2 Фонарь противотуманный задний Голубой 3 Масса Б«ль»й 4 Указател». поворота праный Зеленый 5 Задний габаритный и контурные правые фонари фонарь освсшения номерного знака Коричне вый 6 Сигнал торможения Красны! 7 Задние габаритный и контурные левые фонари, фонарь освещения номерного знака Черный С. II ГОСТ WOO—78 Розетка Kbvu/kq В открытом ■ пояатейии Полотенце крышхи/три^ ВоеЗенмидчлкг sSmax Штырь .tig з ) tO/Bin РФ/мл St 0,6 es.r1-’i7 Гмезёз ‘о nvgn.Tfi. cut и о But туп Jg/wpawuee 07,SmcA utmpoocmeo fiP/rri.7 Гнездо цОеяичеммой QfiirHbt Л — фэски выполняют под углом 60*—90е на глубину 0.5 мм. Черт. 7 Примечания: I. Ро»етка должна быть снабжена четырьмя гнездами (контакты /, 3, 4 и 6), одним гнездом увеличенной длины н» 3 мм (контакт 7) и двумя пружинными штырями (контакты 2 и 5). 1. Диаметры штырей (контакты 2 и 5) должны быть такими, чтобы штыря входили в соответствующие гнезда, обеспечивая усилия отсоединения разъемного соединения по п. 2.12. 1 4W Вилка Черт. 8 Примечания: гост нт-п с I* 1. Вилка должна быть снабжена четырьмя пружинящими штырями (контакты I. 3. 4 и б), одним пружинящим штырем увеличенной длины на 3 мм (контакт 7) и двумя гнездами (контакты 2 и 5). 2. Диаметр штырей н внутренний диаметр гнезд должны быть такими, чтобы штыри и гнезда при контактировании с соответствующими гнетами я штырями розетки обеспечивали усилия отсоединения разъемного соединения по п. 2.12. С. 13 ГОСТ Ю00—7в Назначение контактов, приведенных на черт. 7 и 8, м цвета проводов Овозимлшо комтита Фугсцвя соедикеп» 11в*т прОЬОлл / Фонарь заднего хода и (или) задний выключатель инерционного торможения Желтый 2 Без назначения Голубой 3 Масса Белы-3 4 Лишние потребителе# прицепа (дополнительное питание) Зеленый 5 Сигнализатор, связанный с «массой» Коричне вый 6 Питание потребителей прицела Красный 7 Без назначения Черный Разд. 1. (Измененная редакция, Изм. ЛЬ 2). 2 ТЕХНИЧЕСКИЕ ТРЕБОВАНИЯ 2.1. Разъемные соединения должны изготовляться в соответствии с требованиями настоящего стандарта, ГОСТ 3940-84 по рабочим чертежам, утверждепным в установленном порядке. 2.2. Климатические исполнения разъемных соединении • но ГОСТ 3940-84. (Измененная редакция, Изм. № 2). 2.3. Степень защиты разъемных соединений — IP55 по ГОСТ 14254-80. 2.4. Разъемные соединения должны обеспечивать продолжительный режим работы при номинальном суммарном токе 40 А. Каждый контакт (штырь и гнездо) разъемных соединений, проектирование которых начато после 01.07.92, должен выдерживать продолжительную нагрузку постоянным током 15 А. 2.5. Штыри и гнезда разъемного соединения должны быть утоплены в изоляционные колодки с комбинированным расположением их в соответствии с черт. 1—8. 2.6. Штыри розеток и вилок (черт. 5, 6, 7, 2.7. Штыри и гнезда с контактными зажимами ие должны вращаться в своих посадочных местах и менять своего фиксированного положения. 2.8. На изоляторах розетки и вилки, а также на крышке розетки с внутренней стороны должно быть ианесепо обозначение контактов в соответствии с черт. 1—8. 2.9. Обозначение контактов (штырей и гнезд) должно быть нанесено надежным способом знаками высотой не менее 2 мм. ГОСТ 8200—7i С. 14 — При обозначениях контактов иных, чем цифровые, должно сохраняться нх расположение на вилках н розетках в соответствии с функциональным назначением. 2.4— 2.9. (Измененная редакция, Изм. № 2). 2.10. Установившееся превышение температуры на контактных выводах должно быть не более 45 °С при температуре окружающей среды (20±5) °С и токе нагрузки на 25 % выше номинального. (Измененная редакция, Изм. № I, 2). 2.11. Конструкция вилки должна обеспечивать надежное закрепление кабеля диаметром от 12,4 до 16,5 мм с одновременной разгрузкой мест электрического присоединения проводов от механических усилий и выдерживать без повреждений растягивающее усилие 700 Н, приложенное к кабелю. 2.12. Усилие соединения разъемного соединения должно быть не более 200 Н, усилие разъединения — не менее 20 Н и не более 200 Н. 2.11; 2.12. (Измененная редакция, Изм. № 2). 2.12.1. (Исключен, Изм. Як 2). 2.13. Сопротивление изоляции разъемного соединения после 48 ч пребывания на воздухе с относительной влажностью 95—98 % при температуре (20±5) °С должно быть не менее 2 МОм. 2.13.1. Изоляция между контактами и между каждым контактом и корпусом (если он металлический) должна выдерживать без повреждений воздействие практически синусоидального переменного тока частотой 50 Гц :*ффсктивным напряжением 1000 В в течение 1 мин. (Введен дополнительно, Изм. ЛЬ 2). 2.14. Падение напряжения между соответствующими штырями внлкн и розетки в соединенном положении не должно превышать 150 мВ. (Измененная редакция, Изм. № 2). 2.14.1. Падение напряжения на разъемном соединении не должно превышать следующих значений при токе 10 Л: а) между штырем и соответствующим гнездом — 5,0 мВ/А; б) между контактом и точкой, находящейся на расстоянии 10 мм от контакта на соединительном проводе сечением 1,5 мм2,— 0,5 мВ/А. 2.14.2. Падение напряжения разъемного соединения, имеющего провода, неотсоединяемые в вилке или в розетке (но не в обеих частях сраз\г). не должно превышать следующих значений при токе 10 А: а) между каждым контактом на вилке (розетке), у которой провода отсоединяются, и точкой на соответствующем проводе, который не отсоединяется от розетки (вилки), на расстоянии 100 мм от торцевой поверхности розетки (вилки) — 5,5 мВ/А; С. 15 ГОСТ §200—7в б) между каждым доступным контактом н точкой, находящейся на расстоянии 10 мм от контакта на соединительном проводе сечением 1,5 мм2, — 0,5 мВ/А. 2.14.3. Падения напряжения разъемного соединения, имеющего провода, не отсоединяемые в розетке н вилке, измеряются на соответствующих проводах в точках, находящихся на расстоянии 100 мм от торцевых поверхностей вилки и розетки, они не должны превышать 6 мВ/А при токе 10 А. » 2.14.1—2.14.3. (Введены дополнительно, Изм. Л 2). 2.15. (Исключен, Изм. ЛЬ 2). 2.16. Розетка должна обеспечивать подводку проводов к контактным зажимам сзади и сбоку корпуса. (Измененная редакция, Изм. № 2). 2.17. К контактным зажимам разъемного соединения должен быть обеспечен свободный доступ для присоединения проводов. 2.18. Выводы розетки должны быть рассчитаны для подсоединения двух проводов сеченнем не менее 1,5 мм2 каждый. Выводы вилки должны быть рассчитаны для подсоединения одного провода сеченнем не менее 2,5 мм2. Зажимные винты не должны перерезать жилы проводов. (Измененная редакция, Изм. № 2). 2.19. (Исключен, Изм. Ля 2). 2.20. Все металлические части розетки н вилки должны быть изготовлены нз коррознонностойкого материала или должны быть защищены от воздействия коррозии. Вилка и розетка должны выдерживать испытания в тумане нейтрального раствора хлористого натрия в течение 48 ч. 2.21. Семнконтактные соединения типа N должны отличаться от сеыиконтактных соединений типа S цветом по крайней мере изоляционных частей. Для типа N следует применять темную устойчивую окраску, преимущественно черную. Для типа S следует применять светлую устойчивую окраску. 2.22. Розетка должна быть снабжена крышкой, которая автоматически закрывается при отсоединении вилкн. Крышка, прикрепленная на шарнирах к розетке, должна быть снабжена запирающим устройством для удерживания вилкн во включенном положении. Примечание. Требования пп. 2.13.1. 2.14.1, 2.14.2, 2.14.3, 2.20. 2.21 и 2.22 распространяются на сеииконтаюиые раэьсмиые соединения, проектирование котрых начато после 01.07.92. 2.23. Семиконтактные разъемные соединения относятся к перемонтируемым изделиям. 90 %-ная наработка до отказа разъемных соединений — не менее 5000 соединений и отсоединений. ГОСТ WOO-76 С. I» Критерий отказа разъемных соединений — отсутствие функционирования. 2.20—2.23. (Введены дополнительно, Изм. 2). 3. ПРАВИЛА ПРИЕМКИ 3.1. Правила приемки разъемных соединений — по ГОСТ 3940-84. 3.2. Для проверки соответствия разъемных соединений требованиям настоящего стандарта предприятие-изготовитель должно-проводить приемо-сдаточные, периодические и типовые испытания. 3.3. Приемо-сдаточным испытаниям должно подвергаться каждое разъемное соединение на соответствие требованиям пп. 2.1;. 2.5; 2.6; 2.8; 2.9. 3.4. Периодические испытания должны проводиться не реже одного раза в год по всем пунктам технических требований настоящего стандарта. 3.5. Типовые испытания должны проводиться по полной или сокращенной программе периодических испытаний в зависимости от внесенных изменений. 3.6. Входной контроль разъемных соединений потребителем должен проводиться в объеме приемо-сдаточных испытаний на 5 % разъемных соединений от партии. 4. МЕТОДЫ ИСПЫТАНИЯ 4.1. Методы испытаний разъемных соединений — по ГОСТ 3940-84. 4.2. Испытание по п. 2.3 следует проводить: отдельно розетки с закрытой крышкой, при этом отверстия для выводов проводов закрывают; разъемного соединения в состыкованном состоянии, при этом отверстия для выводов проводов закрывают. (Измененная редакция, Изм. № 2). 4.3. Проверку по пп. 2.5—2.9 следует проводить внешним осмотром. 4.4. Усилия по пп. 2.11 и 2.12 соединения и разъединения ро зетки и вилки измеряют методом статической нагрузки на десятом цикле соединения и разъединения. Погрешность динамометра не должна превышать 10%. Контакты разъемного соединения должны быть чистыми и сухими. Крышка розетки должна быть открыта. , 4.5. Испытания по пп. 2.4; 2.10; 2.23 следует проводить на: стенде предприятия-изготовителя. 4.4; 4.5. (Измененная редакция, Изм. 2). ■С 17 ГОСТ t2W-re 4.5.1. Требования п. 2.4 для разъемных соединений, проектирование которых начато после 01.07.92, считают выполненными, если превышение температуры каждого контакта, измеренное как можно ближе к изоляции, не превышает 20 °С. При этом через каждый контакт, но не более двух соседних контактов одновременно, один из которых является контактом на массу, поочередно должен проходить постоянный ток 15 А в течение 1 ч. 4.6 Испытание изоляции на пробивное напряжение по п. 2.13.1 проводят отдельно на розетке и вилке при температуре окружающей среды (20±5) и относительной влажности (65±5) %. 4.7. Падение напряжения по п. 2.14.1. 2.14.2, 2.14 3 измеряют на десятом соединении. 4.8. Испытание на соответствие требованиях» п. 2.20 следует разделять на две самостоятельные части: вилку соединяют с розеткой и устанавливают в таком положении, как на автомобиле. Отверстия для вывода проводов закрывают; розетку с закрытой крышкой устанавливают в таком положении, как на автомобиле. Отверстие для вывода проводов закрывают. После окончания данного испытания проводят контроль напряжения согласно пп. 2.14.1, 2.14.2 и 2.14.3. 4.9. Контроль заданных показателей надежности но п. 2.23 осуществляют путем контрольных испытаний на надежность. Статистические планы контроля — по ГОСТ 27.410-87 при следующих значениях исходных статистических параметров достоверности контроля: риск поставщика а-0,1, ри.ск потребителя р-0,1, доверительная вероятность р = 0,8. Испытание следует проводить с периодичностью соединения с последующим разъединением до 10 раз в 1 мин, ток нагрузки 2 А. До проведения испытаний при необходимости штыри соединения покрывают смазкой. После окончания испытаний проводят контроль разъемных соединений, проектирование которых начато после 01.07.92, в соответствии с nit. 2.11, 2.12, 2.14.1, 2.14.2 и 2.14.3. п. 4.5.1; 4.6—4.9. (Введены дополнительно, Изм. J6 2). Б. МАРКИРОВКА. УПАКОВКА. ТРАНСПОРТИРОВАНИЕ И ХРАНЕНИЕ 5.1. На каждой розетке или вилке должны быть указаны: наименование или товарный знак предприятия-изготовителя; условное сокращенное обозначение изделия; номинальный ток и номинальное напряжение; ГОСТ 0200-76 С. 1в дата изготовления (месяц, год) (допускаются условные обозначения); обозначение настоящего стандарта. Место, размеры и способ нанесения маркировки должны быть указаны в конструкторской документации и должны обеспечивать ее сохранность в течение срока службы розетки и вилки. 5.2. Каждую розетку или вилку следует обертывать бумагой по ГОСТ 8273-75 и укладывать в деревянный ящик, выложенный изнутри упаковочной бумагой по ГОСТ 8828-89 или ГОСТ 515-77. Пустоты в ящике следует заполнять отходами упаковочного материала влажностью не более 20 %. Допускается упаковка розеток или вилок в производственную тару по ГОСТ 14861-91, выложенную изнутри прокладками из гофрированного картона. о.З. Масса ящика с розетками или вилками не должна превышать 50 кг. 5.4. Содержание сопроводительной докухГОСТ 3940-84. Разд. 5 (Измененная редакция, Изм. № 2). в ГАРАНТИИ ИЗГОТОВИТЕЛЯ 6.1. Изготовитель должен гарантировать соответствие разъем-ных соединений требованиям настоящего стандарта при соблюдении потребителем правил транспортирования, хранения и эксплуатации. 6.2. Гарантийный срок эксплуатации должен быть равен гарантийному сроку транспортного средства, на которое устанавливается разъемное соединение. С. 19 ГОСТ 9200-79 ИНФОРМАЦИОННЫЕ ДАННЫЕ 1. ВНЕСЕН ТК 58 «Дорожный транспорт» РАЗРАБОТЧИКИ , В. А. Набоких, канд. техн. наук; Б. Е. Бадо, J1. М. Корец, канд. техн. наук; Н. М. Колсанова 2. УТВЕРЖДЕН И ВВЕДЕН В ДЕЙСТВИЕ Постановлением Государственного комитета стандартов Совета Министров СССР от 19 января 1976 г. X» 130 3. Срок проверки — 1996 г., периодичность проверки — 5 лет 4. Стандарт полностью соответствует международным стандартам ИСО 1185-75, ИСО 1724-80, ИСО 3731—80, ИСО 3732-82 и ИСО 4091-78 5. Взамен ГОСТ 9200-59 6. ССЫЛОЧНЫЕ НОРМАТИВНО-ТЕХНИЧЕСКИЕ ДОКУМЕНТЫ Обозначение НТД. на которы* дана ссылка . Номер пункта ГОСТ 27.410-87 4.9 ГОСТ 515-77 5.2 ГОСТ 3940-84 2.1, 2.2. 3.1. 4.1. 5.3 ГОСТ 8273-75 5.2 ГОСТ 8828-89 5.2 ГОСТ 14254 -80 2.3 ГОСТ 14881-91 5.2 7. ПЕРЕИЗДАНИЕ (июнь 1992 г.) с ИЗМЕНЕНИЯМИ №1, 2, утвержденными в июле 1986 г., феврале 1992 г., (ИУС 10—86, 5-92) 8. Проверен в 199! г. Ограничение срока действия снято Постановлением Госстандарта СССР от 10.07.91 1237 Редактор Т. С. Шеко Технический редактор О. Н. Никитина Корректор О. Я. Чернецом Сдано ь наб. 03ОД.92 Поди, в печ. I8.W.92 Уел. а.д. 1.25. Уел ир. огт. 1.25. Уч. и>д л. 1.М. Тираж Ш »к». Орлечз «Знак Почета* {Ьдательство стандартов. 12Ш7. Москва. ГСП. НооосресневскиП пер.. 3. Калужская типография стандартов, ул. Московская. 256 Зак. 1806
должны быть пружинящими, с продольными прорезями. В вилке (черт. 2, 4) гнезда должны быть пружинящими.


