Коробки для установки выключателей и штепсельных розеток при скрытой электропроводке. Общие технические условия
Заменяет

Страница 1

Страница 2

Страница 3

Страница 4

Страница 5

Страница 6

Страница 7

Страница 8

Страница 9

Страница 10

Страница 11

Страница 12

Страница 13

Страница 14

Страница 15

Страница 16
ГОСУДАРСТВЕННЫЙ СТАНДАРТ
СОЮЗА ССР
КОРОБКИ ДЛЯ УСТАНОВКИ
ВЫКЛЮЧАТЕЛЕЙ
И ШТЕПСЕЛЬНЫХ РОЗЕТОК
ПРИ СКРЫТОЙ ЭЛЕКТРОПРОВОДКЕ
ОБЩИЕ ТЕХНИЧЕСКИЕ УСЛОВИЯ
ГОСТ 8594-80
Государственный КОМИТЕТ СССР ПО СТАНДАРТАМ
Москва
ГОСУДАРСТВЕННЫЙ СТАНДАРТ СОЮЗА ССР
|
КОРОБКИ ДЛЯ УСТАНОВКИ ВЫКЛЮЧАТЕЛЕЙ И Общие технические условия Boxes for incorporation of switches and receptacles for buried wiring. |
ГОСТ Взамен |
Дата введения 01.01.82
Постановлением Госстандарта № 2233 от 27.12.91 снято ограничение срока действия
Настоящий стандарт распространяется на коробки для монтажа выключателей по ГОСТ 7397.0-89 и штепсельных розеток по ГОСТ 7396.1-89 (в дальнейшем — электроустановочные устройства) с помощью распорных лапок при выполнении скрытой электропроводки.
Виды климатического исполнения коробок по ГОСТ 15150-69 должны быть установлены в ТУ на коробки конкретных типов.
Стандарт устанавливает требования к коробкам, изготовляемым для нужд народного хозяйства и экспорта.
Требования разд. 2 и 7, пп. 3.2 — 3.5, 3.9, 4.1, 4.2, 5.2, 5.3, 6.1, 6.2, 6.5, 6.6 настоящего стандарта являются обязательными, остальные требования — рекомендуемыми. Необходимость применения рекомендуемых показателей устанавливают в ТУ на коробки конкретных типов или изготовитель и потребитель определяют при заключении договоров.
(Измененная редакция, Изм. № 3).
1. КЛАССИФИКАЦИЯ
1.1. Коробки должны изготавливаться следующих видов:
I — для установки в кирпичные, гипсолитовые, железобетонные и др. стены (перегородки) при производстве электромонтажных работ;
II — для замоноличивания в железобетонные панели на заводах железобетонных изделий и домостроительных комбинатах, в том числе коробки, сдвоенные по оси.
Примеры конструкций коробок приведены в приложении 1.
(Измененная редакция, Изм. № 2).
2. ОСНОВНЫЕ РАЗМЕРЫ
2.1. Основные размеры коробок должны быть, мм:
внутренний диаметр dвн1, измеренный по выступам конструктивных элементов для закрепления распорных лапок, не менее………………………………………. 66
внутренний диаметр dвн2, измеренный по впадинам конструктивных элементов для закрепления распорных лапок, не более………………………………………. 74
наружный диаметр dн:
для коробок вида I, не более………………………………………………………… 78
для коробок вида II………………………………………………………………………. не регламентируется
глубина под электроустановочное устройство h, не менее……………. 35
Высоту конструктивных элементов устанавливают в технических условиях на конкретные типы коробок.
Примечание. Коробки вида II должны соответствовать указанным размерам после замоноличивания их в панели.
(Измененная редакция, Изм. № 1, 2, 3).
2.2. Форма и размеры отверстий, предназначенных для ввода проводов, должны быть, мм:
для коробок вида I круглые, диаметром……………………………. 20+1
овальные…………………………………………………………………………. 12+1×20+1
для коробок вида II………………………………………………………….. не регламентируется
3. ТЕХНИЧЕСКИЕ ТРЕБОВАНИЯ
3.1. Коробки должны соответствовать требованиям настоящего стандарта, ТУ на коробки конкретных типов и рабочим чертежам, утвержденным в установленном порядке.
3.2. Конструкция коробок и способ их крепления должны обеспечивать возможность их надежного закрепления в стенах. Усилие удержания коробки в стене — не менее 180 Н. Способ крепления коробок в стенах приводят в ТУ на коробки конкретных типов.
3.1, 3.2. (Измененная редакция Изм. № 3).
3.3. Конструкция коробок должна обеспечивать надежное закрепление в них электроустановочных устройств. Усилие разъединения электроустановочного устройства и коробки — не менее 180 Н.
3.4. Коробки должны иметь глухие (в виде утонений для пластмассовых коробок или надрубов для металлических коробок), или сквозные отверстия, предназначенные для ввода проводов. Коробки вида II из термопластов могут иметь площадки для образования отверстий ввода проводов.
Вид отверстий (глухие или сквозные), количество и расположение отверстий и площадок должны устанавливаться в технических условиях на коробки конкретных типов.
3.3, 3.4. (Измененная редакция, Изм. № 1, 3).
3.5. Конструктивные элементы для закрепления распорных лапок электроустановочных устройств должны быть расположены на поясе, верхний край которого должен находиться от верхнего края коробки на расстоянии не более 17 мм, а нижний край — на расстоянии не менее 27 мм.
Конструктивные элементы для закрепления лапок должны быть расположены по дуге, имеющей длину:
для коробок вида I, каждый элемент, мм, не менее………………………. 0,1pdнв2.
для коробок вида II, мм, не менее………………………………………………… pdнв2.
(Измененная редакция, Изм. № 1, 2).
3.6. Номинальные значения климатических факторов по ГОСТ 15150-69.
(Измененная редакция, Изм. № 1, 3).
3.7. Коробки должны изготавливаться из стали с лакокрасочным или металлическим покрытием или пластмассы.
3.8. (Исключен, Изм. № 1).
3.9. Пластмасса, применяемая для изготовления коробок вида П, должна иметь нагревостойкость не ниже 105 °С.
3.10. Лакокрасочные покрытия должны соответствовать ГОСТ 9.032-74, балл адгезии — не ниже 2 по ГОСТ 15140-78.
Толщину покрытия следует указывать в ТУ на коробки конкретных типов.
3.9. 3.10. (Измененная редакция, Изм. № 3).
3.10а. Металлические покрытия должны соответствовать требованиям ГОСТ 9.301-86 и ГОСТ 9.303-84.
(Введен дополнительно, Изм. № 3).
3.11. Установленный срок службы до замены — не менее 20 лет. Критерии предельного состояния должны указываться в технических условиях на коробки конкретных типов.
(Измененная редакция, Изм. № 1, 3).
3.12. (Исключен, Изм. № 1).
3.13. Требования к массе и удельной массе коробок устанавливают в ТУ на коробки конкретных типов.
(Измененная редакция, Изм. № 3).
3.14. В комплект коробок входят:
коробка — 1 шт.;
эксплуатационная документация по ГОСТ 2.601-68;
количество экземпляров эксплуатационной документации устанавливают в ТУ на коробки конкретных типов.
(Введен дополнительно, Изм. № 1).
(Измененная редакция, Изм. № 3).
4. ПРАВИЛА ПРИЕМКИ
4.1. Для проверки соответствия коробок требованиям настоящего стандарта, технических условий на конкретные типы коробок проводят приемосдаточные и периодические испытания.
4.2. Приемосдаточным испытаниям подвергают каждую партию коробок.
За партию принимают выпуск коробок за одну смену.
При приемосдаточных испытаниях проводят оплошной контроль на соответствие требованиям п. 3.14 и выборочный контроль на соответствие требованиям пп. 3.1 (в части внешнего вида), 3.5, 3.10 (за исключением требования к баллу адгезии), 3.10а (за исключением требования к прочности сцепления), 6.1, 6.3, 6.3а.
Объем выборки — 0,2 % коробок от партии, но не менее 10 шт.
При получении неудовлетворительных результатов приемосдаточных испытаний хотя бы по одному из показателей проводят повторные испытания удвоенного количества коробок. Результаты повторных испытаний являются окончательными и распространяются на всю партию.
4.3. Периодические испытания должны проводиться не реже одного раза в пять лет по программе, приведенной в таблице.
Испытания следует проводить на коробках, прошедших приемо-сдаточные испытания. Объем выборки не менее 10 коробок каждого типа.
|
Виды испытаний и проверок |
Пункты |
|
|
технических требований |
методов испытаний |
|
|
1 Проверка внешнего вида |
3.1 |
5.1а |
|
2 Проверка размеров |
3.1, 3.5 |
5.2 |
|
3 Проверка прочности закрепления коробки в стене |
3.2 |
5.3 |
|
4 Проверка прочности закрепления электроустановочного устройства в коробке |
3.3 |
5.3 |
|
5 Климатические испытания |
3.6 |
5.4 |
|
6 Проверка материала коробок |
3.7, 3.9 |
5.5 |
|
7 Проверка лакокрасочных покрытий |
3.10 |
5.6 |
|
8 Проверка металлических покрытий |
3.10а |
5.6а |
|
9 Проверка установленного срока службы |
3.11 |
5.7 |
|
10 Проверка массы и удельной массы коробок |
3.13 |
5.8 |
|
11 Проверка комплектности |
3.14 |
5.1а |
|
12 Проверка маркировки коробок |
6.1 |
5.1а |
|
13 Проверка упаковки |
6.3 |
5.1а |
|
14 Проверка наличия противокоррозионной защиты |
6.3а |
5.1а |
|
15 Проверка транспортной маркировки |
6.5 |
5.1а |
|
16 Проверка наличия и правильности оформления упаковочного листа |
6.6 |
5.1а |
При получении неудовлетворительных результатов периодических испытаний хотя бы по одному из показателей проводят повторные испытания удвоенного количества коробок. Результаты повторных испытаний являются окончательными.
4.1 — 4.3. (Измененная редакция, Изм. № 1, 3).
4.4 — 4.8. (Исключены, Изм. № 1).
5. МЕТОДЫ ИСПЫТАНИЙ
5.1. Испытания и проверки следует проводить при нормальных климатических условиях испытаний по ГОСТ 15150-69 в соответствии с настоящим стандартом и ТУ на коробки конкретных типов.
(Измененная редакция, Изм. № 3).
5.1а. Проверку коробок на соответствие п. 3.1 (в части внешнего вида), 3.14, 6.1, 6.3, 6.3а, 6.5, 6.6 следует проводить визуальным контролем.
(Введен дополнительно, Изм. № 3).
5.2. Проверку на соответствие пп. 2.1, 2.2, 3.1 (в части размеров), 3.5 следует проводить средствами измерений, которые должны быть указаны в ТУ на коробки конкретных типов.
5.3. Прочность закрепления коробки в стене и электроустановочного устройства в коробке (пп. 3.2, 3.3) проверяют при помощи калибра, показанного в приложении 2.
Коробку устанавливают (замоноличивают) в брусок. Брусок закрепляют неподвижно.
Калибр устанавливают в коробке и резьбовые соединения узда крепления затягивают динамометрическим инструментом с крутящим моментом 1,2 Н·м.
К петле калибра прикладывают силу, направленную вдоль оси коробки, плавно увеличивая ее от нуля до (180 ± 5) Н со скоростью, позволяющей проводить визуальный контроль величины прикладываемой силы.
После воздействия силы в течение (60 ± 5) с ее плавно уменьшают до нуля.
Результаты проверки считают удовлетворительными, если:
после приложения силы коробка осталась в бруске, а калибр в коробке;
отсутствуют механические повреждения коробки, препятствующие ее дальнейшей эксплуатации.
5.2, 5.3. (Измененная редакция, Изм. № 3).
5.4. Испытание на стойкость к воздействию климатических факторов внешней среды (п. 3.6) следует проводить по ГОСТ 16962.1-89. Виды климатических испытаний должны быть установлены в технических условиях на коробки конкретных типов.
(Измененная редакция, Изм. № 1, 3).
5.5. Соответствие применяемых материалов требованиям пп. 3.7, 3.9 устанавливают проверкой сертификатов предприятия-изготовителя материалов.
(Измененная редакция, Изм. № 3).
5.6. Проверку лакокрасочных покрытий (п. 3.10) следует проводить визуальным контролем, измерением толщины покрытий и определением балла адгезии. Визуальный контроль выполняют по ГОСТ 9.032-74, толщину покрытия измеряют толщиномером с погрешностью измерения не более 15 %, балл адгезии определяют по ГОСТ 15140-78. Тип толщиномера устанавливают в технических условиях на коробки конкретных типов.
(Измененная редакция, Изм. № 1, 3).
5.6а. Проверку металлических покрытий (п. 3.10) следует проводить визуальным контролем, контролем прочности сцепления и измерением толщины покрытия по ГОСТ 9.302-88 с погрешностью измерения толщины покрытия — не более 15 %. Средства измерения и метод контроля прочности сцепления покрытия устанавливают в технических условиях на коробки конкретных типов.
(Введен дополнительно, Изм. № 1).
(Измененная редакция, Изм. № 1, 3).
5.7. Проверку установленного срока службы коробок (п. 3.11) проводят на основании данных эксплуатационных наблюдений.
(Измененная редакция, Изм. № 1).
5.8. Проверку массы коробок (п. 3.13) следует проводить по ГОСТ 2933-93.
Удельную массу коробок следует определять делением массы коробок на внутренний диаметр dвн2.
(Введен дополнительно, Изм. № 1).
(Измененная редакция, Изм. № 3).
6. МАРКИРОВКА, УПАКОВКА, ТРАНСПОРТИРОВАНИЕ И ХРАНЕНИЕ
6.1. На каждой коробке должна быть маркировка.
Маркировка коробок, предназначенных для внутрисоюзных поставок, должна содержать:
товарный знак предприятия-изготовителя;
тип коробки;
дату изготовления;
обозначение стандарта или технических условий.
Маркировка изделий, предназначенных для экспорта, должна содержать:
тип коробки;
дату изготовления;
надпись «Страна-изготовитель и (или) поставщик».
(Измененная редакция, Изм. № 1).
6.2. Место нанесения и способ нанесения маркировки должны указываться в конструкторской документации на коробки конкретных типов.
(Измененная редакция, Изм. № 3).
6.3. Упаковка коробок, предназначенных для нужд народного хозяйства, — в ящики из гофрированного картона по ГОСТ 9142-90.
Укладка коробок в ящики должна производиться рядами с прокладками из гофрированного картона по ГОСТ 7376-89 или двух слоев оберточной бумаги по ГОСТ 8273-75 между рядами.
Клапаны ящика в местах соединения склеиваются клеевой бумажной лентой по ГОСТ 18251-87 или перевязывают шпагатом по ГОСТ 17308-88.
Для мелких отправок должны применяться плотные дощатые ящики по ГОСТ 2991-85.
Упаковка, маркировка, транспортирование и хранение коробок, отправляемых в районы Крайнего Севера и труднодоступные районы,- по ГОСТ 15846-79. Вид упаковки устанавливают в стандартах или технических условиях на коробки конкретных типов.
Упаковка коробок, предназначенных на экспорт, — в плотные дощатые ящики по ГОСТ 2991-85, выполненные с учетом дополнительных требований ГОСТ 24634-81 и выложенные пергамином по ГОСТ 2697-83. Внутренняя упаковка коробок такая же, как и для нужд народного хозяйства.
Допускаются другие виды упаковки, при условии обеспечения сохранности коробок от повреждения.
(Измененная редакция, Изм. № 1).
6.3а. Коробки для экспорта, имеющие металлическое покрытие, должны иметь временную противокоррозионную защиту по ГОСТ 9.014-78. Вариант временной защиты, вариант внутренней упаковки и срок защиты без переконсервации должны быть указаны в технических условиях на коробки конкретных типов.
(Введен дополнительно, Изм. № 1).
6.4. Масса ящика (брутто), не более:
25 кг — при упаковывании коробок в ящики по ГОСТ 9142-90;
100 кг — в ящики по ГОСТ 2991-85.
6.5. Транспортная маркировка грузовых мест должна быть выполнена по ГОСТ 14192-77.
На ящиках из гофрированного картона по ГОСТ 9142-90 должен быть нанесен манипуляционный знак № 3 «Боится сырости».
6.4, 6.5. (Измененная редакция, Изм. № 1).
6.6. В каждом ящике с коробками должен быть вложен упаковочный лист, содержащий следующие данные:
полное наименование министерства и предприятия-изготовителя;
тип коробок и их количество в ящике;
дату упаковки (месяц, год) и штамп упаковщика;
штамп ОТК;
номер технических условий на конкретный тип коробок.
Для экспорта товаросопроводительную документацию оформляют в соответствии с заказом-нарядом внешнеторговой организации.
Эксплуатационная документация, прикладываемая к партии коробок, должна быть вложена в непромокаемый пакет в грузовое место № 1.
(Измененная редакция, Изм. № 1, 2, 3).
6.7. Упакованные коробки транспортируют транспортом всех видов в крытых транспортных средствах в соответствии с правилами перевозок грузов, действующими на транспорте данного вида.
(Измененная редакция, Изм. № 1).
6.8. Условия транспортирования упакованных коробок в части воздействия климатических факторов внешней среды такие же, как условия хранения — по ГОСТ 15150-69:
5 — для макроклиматических районов с умеренным и холодным климатом;
6 — для макроклиматических районов с тропическим климатом.
(Измененная редакция, Изм. № 1, 3).
6.9. Транспортирование грузовых мест пакетами должно производиться любым видом транспорта. Способы и средства пакетирования должны указываться в стандартах или технических условиях на конкретные типы коробок.
6.10. Прочность ящиков из гофрированного картона должна исключать возможность их деформации в нижнем ряду от нагрузки верхних рядов при транспортировании с установленными скоростями при загрузке на всю высоту вагона или контейнера.
6.11. Условия хранения коробок в части воздействия климатических факторов внешней среды — по ГОСТ 15150-69 и, при необходимости, допустимый срок сохраняемости до ввода в эксплуатацию следует указывать в ТУ на коробки конкретных типов.
(Измененная редакция, Изм. № 3).
7. ГАРАНТИИ ИЗГОТОВИТЕЛЯ
7.1. Изготовитель должен гарантировать соответствие коробок требованиям настоящего стандарта при соблюдении условий хранения, транспортирования, монтажа и эксплуатации.
7.2. Гарантийный срок эксплуатации — 2 года со дня ввода коробок в эксплуатацию или со дня продажи через розничную торговую сеть.
7.3. Гарантийный срок эксплуатации коробок для экспорта — один год со дня ввода в эксплуатацию, но не более 2 лет с момента проследования через Государственную границу СССР, если иной срок не указан в заказе-наряде.
(Введен дополнительно, Изм. № 1).
ПРИЛОЖЕНИЕ
Рекомендуемое Коробки вида I
1 — отверстие для ввода проводов
Черт. 1
1 — отверстие для ввода проводов
Черт. 2
Коробки вида II
1 — отверстие для ввода проводов
Черт. 3
1 — отверстие для ввода проводов
Черт. 4
1 — отверстие для ввода проводов
Черт. 5
1 — площадка для образования отверстия ввода провода; 2 — элемент крепления коробки к арматурному каркасу; 3 — элемент, удаляемый перед монтажом электроустановочных изделий
Черт. 6
(Измененная редакция, Изм. № 1, 2).
ПРИЛОЖЕНИЕ 2
Обязательное
Калибр для проверки прочности закрепления электроустановочных устройств в коробках
1 — основание (см. черт. 2), 2 — петля (проволока 1 — 2,0 ГОСТ 9389-75), 3 — скоба (см. черт. 3), 4 — лапка (см. черт. 4), 5 — винт M4 6g×18 48 016 ГОСТ 1491-80
Черт. 1
Основание
1. Материал: сталь Ст3 ГОСТ 380-88.
2. Неуказанные предельные отклонения — Н14, h14, .
3. Покрытие Ц6.хр.
Черт. 2
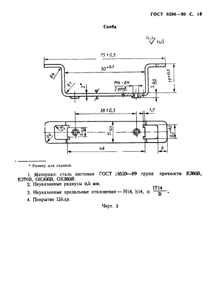
Скоба
_____________
* Размер для справок.
1. Материал: сталь листовая ГОСТ 16523-89 групп прочности К260В, К270В, ОК300В, ОК360В.
2. Неуказанные радиусы 0,5 мм.
3. Неуказанные предельные отклонения — Н14, h14, .
4. Покрытие Ц6.хр.
Черт. 3
Лапка
______________
* Размеры для справок.
1. Материал сталь листовая ГОСТ 16523-89 групп прочности К260В, К270В, ОК300В, ОК460В
2. Неуказанные предельные отклонения — Н14, h14, .
3. Кромки А не притуплять.
4. При гибке допускается вытягивание отверстия.
5. Покрытие Ц6.хр.
(Введено дополнительно, Изм. № 3).
СОДЕРЖАНИЕ
|
1. Классификация. 2 2. Основные размеры.. 2 3. Технические требования. 2 4. Правила приемки. 3 5. Методы испытаний. 4 6. Маркировка, упаковка, транспортирование и хранение. 5 7. Гарантии изготовителя. 7 Приложение 1. Коробки вида i 7 Приложение 2. Калибр для проверки прочности закрепления электроустановочных устройств в коробках. 10 |











