Кирпич глиняный лекальный

Страница 1

Страница 2

Страница 3

Страница 4

Страница 5

Страница 6
Группа Ж11
ГОСУДАРСТВЕННЫЙ СТАНДАРТ СОЮЗА ССР
КИРПИЧ ГЛИНЯНЫЙ ЛЕКАЛЬНЫЙ
ГОСТ
8426-57
Утвержден Государственным комитетом Совета Министров СССР по делам строительства 25/111 1957 г. Срок введения установлен
с 1/VII 1957 г.
Несоблюдение стандарта преследуется по закону
I. ОБЛАСТЬ РАСПРОСТРАНЕНИЯ СТАНДАРТА
1. Настоящий стандарт распространяется на кирпич глиняный лекальный пластического прессования, изготовленный из глин с добавками или без них и обожженный.
2. Кирпич лекальный предназначается для кладки промышленных кирпичных дымовых труб и футеровки в случаях нагрева кирпича дымовыми газами до температуры не более 700°С.
II. ТЕХНИЧЕСКИЕ УСЛОВИЯ
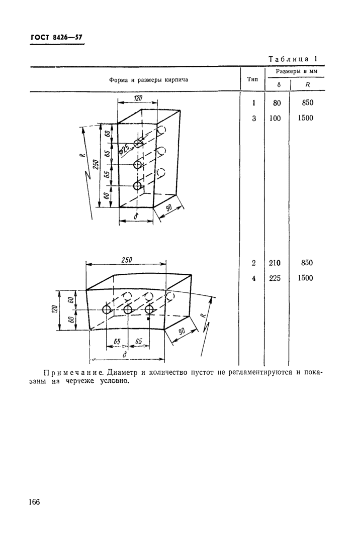
3. Формы и размеры лекального кирпича должны соответствовать указанным в табл. 1.
4. В зависимости от предела прочности при сжатии и изгибе по сечению брутто (без вычета площади пустот) кирпич подразделяется на три марки: «150», «125» и «100».
5. Марка кирпича устанавливается по показателям предела прочности при сжатии и изгибе, указанным в табл. 2.
Внесен Министерством промышленности строительных материалов СССР и Министерством строительства предприятий металлургической и химической
промышленности СССР
Издание официальное
Перепечатка воспрещена 165
Таблица 1
2 210
4 225
850
1500
Примечание. Диаметр и количество пустот не регламентируются и показаны на чертеже условно.
106
ГОСТ 8426-57
Таблица 2
|
Марки кирпича |
Пpiдел прочности |
|||
|
при сжатии |
при нагибе |
|||
|
средний для 5 образцов |
наименьший для отдельного образца |
средний для 5 образцов |
наименьший для отдельного образца |
|
|
• кгс/см’, на мсиае |
||||
|
.150- |
150 |
125 |
28 |
22 |
|
,125″ |
125 |
100 |
25 |
20 |
|
.100″ |
100 |
85 |
22 |
18 |
Примечание. По специальному заказу может изговляться кирпич более высоких марок.
6. Допускаемые отклонения от размеров кирпича не должны превышать:
мм
по длине………±6
по ширине………±4
по толщине …….±3
по радиусу (R)…….±12
7. Кирпич должен быть правильной формы с ровными ребрами и гранями.
По форме и внешнему виду кирпича допускаются следующие отклонения:
а) искривление граней кирпича не более 4 мм;
б) отбитости или притупленности ребер и углов размеров по длине ребра не более 9 мм до двух на одном кирпиче;
в) трещины сквозные на всю толщину кирпича протяженностью по ширине кирпича до 5 мм вкл., не более одной на одном кирпиче; общее количество кирпича с трещинами не должно превышать 25%’ от партии.
8. Кирпич «недожог» не допускается.
9. Известковые включения («дутики»), вызывающие разрушение кирпича, не допускаются.
10. Водопоглощение кирпича должно быть не менее 8%’ от веса кирпича, высушенного до постоянного веса.
11. По морозостойкости насыщенный водой кирпич должен выдерживать без каких-либо внешних признаков разрушения не менее 15 повторных циклов попеременного замораживания при температуре минус 15°С и ниже с последующим оттаиванием в воде при температуре 15±5°С.
III. ПРАВИЛА ПРИЕМКИ
12. Отгружаемый потребителям кирпич должен быть принят отделом технического контроля (ОТК) предприятия-изготовителя в соответствии с требованиями настоящего стандарта.
167
13. Кирпич поставляется по спецификации заказчика.
Размер партии кирпича устанавливается в 100 тыс. шт. Кирпич в количестве менее 100 тыс. шт. принимается как целая партия.
14. Потребитель имеет право производить контрольную проверку соответствия кирпича требованиям настоящего стандарта, применяя при этом указанные ниже порядок отбора образцов и методы их испытаний.
15. При контрольной проверке от каждой партии кирпича отбирают образцы в количестве 0,5%. Отбор образцов производят из разных клеток в последовательности, заранее устанавливаемой приемщиком- кирпича. Отобранные образцы подвергают внешнему осмотру и поштучному обмеру для проверки их на соответствие требованиям настоящего стандарта.
16. Из числа образцов, указанных в п. 15, отбирают в заранее устанавливаемой приемщиком последовательности:
а) для определения предела прочности кирпича при сжатии — 5 шт.;
б) для определения предела прочности кирпича при изгибе — 5 шт.;
в) для определения водопоглощения и морозостойкости — 5 шт.
17. Каждая партия кирпича по результатам испытания должна быть отнесена к одной марке.
IV. МЕТОДЫ ИСПЫТАНИЙ
18. Размеры кирпича определяют с точностью до 1 мм металлическим измерительным инструментом. Радиус закругления граней определяют с той же точностью шаблоном или лекалом.
19. Протяженность сквозной трещины по ширине кирпича определяют с точностью до 1 мм по наибольшей ее длине.
20. Искривление граней и ребер определяют измерением с точностью до 1 мм наибольшего зазора между гранями или ребром кирпича и ребром приложенной к нему металлической линейки или угольника-
Отбитости или притупленности ребер и углов кирпича определяют замером (по ребру) с точностью до 1 мм наибольшей длины отбитости или притупленности.
21. Кирпич «недожог» устанавливается сравнением образцов, отобранных потребителем из поставляемой ему партии, с эталоном нормально обожженного кирпича.
Эталон должен храниться в отделе технического контроля предприятия-изготовителя.
22. Предел прочности кирпича при сжатии определяют следующим образом.
168
Отобранные образцы испытывают на сжатие в положении, соответствующем положению кирпича в кладке.
Верхнюю и нижнюю поверхности образцов, соприкасающиеся при испытании с плитами пресса, выравнивают цементным тестом из цемента марки «300» слоем не более 3 мм. Образцы перед испытанием выдерживают в помещении в течение 3—4 суток при температуре 15±5°С.
Давление на образец по время испытания должно производиться плавно, без толчков и сотрясений, перпендикулярно к поверхности кирпича.
Предел прочности при сжатии отдельного образца вычисляют как частное от деления разрушающей нагрузки (в кге) на площадь постели кирпича (в см*).
Предел прочности при сжатии кирпича данной партии вычисляют как среднее арифметическое результатов испытаний пяти образцов.
23. Предел прочности кирпича при изгибе определяют следующим образом.
Образец укладывают плашмя по схеме балки, свободно лежащей на двух опорах, нагруженной сосредоточенным грузом по середине пролета, равного 20 см.
На постелях кирпича, отобранного для испытания, выравнивают по уровню три полоски шириной 2—3 см: по середине верхней постели в месте приложения нагрузки — одну полоску и по краям нижней постели в местах опирания образца —две полоски.
Выравнивание производят цементным тестом из цемента марки «300» последующим выдерживанием образцов в помещении в течение 3—4 суток при температуре 15±5°С.
Опоры применяют в виде цилиндрических катков диаметром 20—30 мм или в виде призм с закругленными ребрами. Нагрузка должна передаваться через каток или призму с закругленными
ри наличии в кирпиче трещин кирпич укладывается таким образом, чтобы постель с трещиной наибольшей длины располагалась внизу.
Для испытания применяют пресс любой системы, снабженной прибором, позволяющим регистрировать величину разрушающего груз с точностью до 25 кг.
Предел прочности при изгибе (о„) в кгс/см8 вычисляют по формуле:
где: Р — разрушающий груз в кге;
I — длина пролета между опорами в см; b — ширина кирпича в см;
А — высота (толщина) кирпича по середине пролета в см.
ами.
169
ГОСТ 8416-57
Предел прочности при изгибе кирпича данной партии вычисляют как среднее арифметическое результатов испытаний пяти образцов.
24. Водопоглощение и морозостойкость кирпича определяют по ГОСТ 7025-67.
V. МАРКИРОВКА И ПАСПОРТИЗАЦИЯ
25. Кирпич должен иметь на одной из боковых граней обозначения марки предприятия и типа кирпича (см. табл. 1).
26. Каждая партия отпускаемого кирпича должна быть снабжена паспортом предприятия, в котором указывается:
а) наименование и адрес предприятия-изготовителя;
б) номер паспорта;
в) даты выдачи паспорта;
г) номер партии;
д) тип, марка и количество кирпича;
е) предел прочности при сжатии и изгибе, водопоглощение и морозостойкость кирпича;
ж) номер настоящего стандарта.
VI. ХРАНЕНИЕ И ТРАНСПОРТИРОВАНИЕ
27. Кирпич должен храниться уложенным в клетку с укладкой на постель или ребро.
28. При транспортировании кирпича не допускается нагрузка его навалом (набрасыванием) и выгрузка сбрасыванием.
Замана
170
ГОСТ 7025-67 введен взамен ГОСТ 7025-54.

