Отвесы стальные строительные. Технические условия
Заменяет

Страница 1

Страница 2

Страница 3

Страница 4

Страница 5

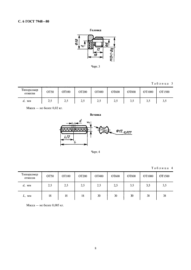
Страница 6

Страница 7

Страница 8

Страница 9
ГОСУДАРСТВЕННЫЙ СТАНДАРТ СОЮЗА ССР
Отвесы стальные строительные ГОСТ
Технические условия 7948-80
Steel construction plumb-lines. Specifications
Дата введения 01.01.82
Настоящий стандарт распространяется на стальные отвесы, применяемые при производстве строительно-монтажных работ.
1. Основные параметры и размеры
1.1. Типоразмеры, основные размеры и масса отвесов должны соответствовать указанным в табл.1 и на чертеже.
1.2. Конструкция, размеры деталей отвесов и их масса приведены на черт.1-4 приложения.
Таблица 1
Размеры в мм
|
Типоразмер |
D ±0,5 |
L ±2 |
Масса, кг, не более |
|
ОТ50 |
18 |
39 |
0,05 |
|
ОТ100 |
18 |
64 |
0,1 |
|
ОТ200 |
18 |
114 |
0,2 |
|
ОТ400 |
30 |
98 |
0,4 |
|
ОТ600 |
30 |
132 |
0,6 |
|
ОТ800 |
30 |
165 |
0,8 |
|
ОТ1000 |
38 |
144 |
1,0 |
|
ОТ1500 |
38 |
200 |
1,5 |
|
Примечание. В таблице указана масса отвеса и его головки. |
|||
Пример условного обозначения отвеса типоразмера ОТ50, исполнения 1:
Отвес ОТ50-1 ГОСТ 7948-80
Отвес типа ОТ
