Счетчики электрические активной и реактивной энергии индукционные. Общие технические условия

Страница 1

Страница 2

Страница 3

Страница 4

Страница 5

Страница 6

Страница 7

Страница 8

Страница 9

Страница 10

Страница 11

Страница 12

Страница 13

Страница 14

Страница 15

Страница 16

Страница 17

Страница 18

Страница 19

Страница 20

Страница 21

Страница 22

Страница 23

Страница 24

Страница 25

Страница 26

Страница 27

Страница 28

Страница 29

Страница 30

Страница 31

Страница 32

Страница 33

Страница 34

Страница 35

Страница 36

Страница 37

Страница 38

Страница 39

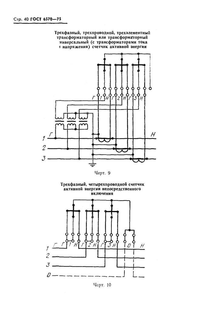
Страница 40

Страница 41

Страница 42

Страница 43

Страница 44

Страница 45

Страница 46

Страница 47

Страница 48

Страница 49
,-SG
* арственныя e
—
T Д H Д A t T
СЧЕТЧИКИ ЭЛЕКТРИЧЕСКИЕ АКТИВНОЙ И РЕАКТИВНОЙ ЭНЕРГИИ ИНДУКЦИОННЫЕ
ОБЩИЕ ТЕХНИЧЕСКИЕ УСЛОВИЯ
ГОСТ 6570-75 (СТ СЭВ 1108—78)
Издание официальное
Е
ГОСУДАРСТВЕННЫЙ КОМИТЕТ СССР ПО СТАНДАРТАМ Москва
ГОСУДАРСТВЕННЫЙ СТАНДАРТ СОЮЗА ССР
СЧЕТЧИКИ ЭЛЕКТРИЧЕСКИЕ АКТИВНОЙ И РЕАКТИВНОЙ ЭНЕРГИИ ИНДУКЦИОННЫЕ
ОБЩИЕ ТЕХНИЧЕСКИЕ УСЛОВИЯ
ГОСТ 6570-75 (СТ СЭВ 1108—78)
Издание официальное
Е
МОСКВА—1987
Стр. 8 ГОСТ 6570-75
Таблица 6
|
Коэффициент мощности |
Допускаемый коэффициент % на 1 °С, не более, для счетчиков классов точности |
||||||
|
Значение тока |
cos ср (sin ф) |
0,5 |
1,0 |
1,5 |
2,0 |
2,5 |
3,0 |
|
От 10% номинального до максимального значения включ. |
1,0 |
±0,03 |
±0,05 |
±0,07 |
±0,075 |
±0,10 |
±0,10 |
|
От 20% номинального до максимального значения включ. |
0,5 инд. |
±0,05 |
±0,07 |
±0,10 |
1 ±0,10 |
j ±0,15 |
±0,15 |
г) коэффициент Ks изменения систематической составляющей относительной погрешности на один градус наклона не должен превышать значений, указанных в табл. 7.
Таблица 7
|
Значение тока |
! Коэффициент мощности |
Допускаемый коэффициент К8, градус наклона, не более, для классов точности |
% на один счетчиков |
||||
|
COS ф (sin ф) |
0,5 |
1,0 |
1,5 |
2,0 |
2,5 |
3,0 |
|
|
5% номинального |
1,0 |
±0,50 |
±0,67 |
±0,67 |
±1,0 |
±1,0 |
|
|
10% номинального 100% номиналь |
1,0 |
— |
— |
—> |
— |
±0,67 |
|
|
ного Максимальное зна |
1,0 |
±0,10 |
±0,13 |
—’ |
±0,17 |
±0,33 |
|
|
чение |
1,0 |
±0,10 |
±0,13 |
±0,17 |
±0,17 |
±0,33 |
±0,33 |
Допускаемое отклонение счетчиков от вертикального положения в любом направлении не должно превышать 3°.
L5—1.9. (Измененная редакция, Изм. № 2).
1.10. Изменение систематической составляющей относительной погрешности, вызванное внешним магнитным полем индукции 0,5 мТл, созданным током одинаковой частоты с частотой напряжения счетчика, при наиболее неблагоприятных фазе и направлении, при номинальном токе, номинальном напряжении и cos ф=1 (sin ф=1) не должно превышать ±3%—для счетчиков классов точности 2,0; 2,5 и 3,0; ±2% — Для счетчиков классов точности 1,0 и 1,5 и ±1,5% — для счетчиков класса точности 0,5.
(Измененная редакция, Изм, № 1, 2).
1.10а. Изменение систематической составляющей относительной погрешности, вызванное магнитным полем вспомогательных устройств многотарифных счетчиков, при токе 5% номинального и cos ф=1 (sin ф=1) не должно превышать:
© Издательство стандартов, 1987
УДК 621.317J85.02S : 006.354 Группа П32
ГОСУДАРСТВЕННЫЙ СТАНДАРТ СОЮЗА ССР
СЧЕТЧИКИ ЭЛЕКТРИЧЕСКИЕ АКТИВНОЙ И РЕАКТИВНОЙ ЭНЕРГИИ ИНДУКЦИОННЫЕ
ГОСТ
Общие технические условия
6570-75* *
Electrical induction active and reactive energy meters. General specifications
ОКП 42 2820, 42 2830, 42 2840
tCT СЭВ 1108—78)
Взамен ГОСТ 6570-60
Утвержден Постановлением Государственного комитета стандартов Совета Министров СССР от 27 февраля *975 г. № 526. Срок введения установлен
с 01.01.76
Проверен в 1985 г. Постановлением Госстандарта от 20.12.85 № 4649
срок действия продлен до 01.01.91
Несоблюдение стандарта преследуется по закону
Настоящий стандарт распространяется на стационарные од-нофазные и трехфазные электрические счетчики индукционной системы (в дальнейшем—счетчики), применяемые для учета активной и реактивной энергии переменного тока частотой от 45 до 65 Гц в условиях умеренного и тропического климата в закрытых помещениях при отсутствии в воздухе этих помещений агрессивных паров и газов.
Стандарт не распространяется на образцовые счетчики, на счетчики полной энергии, счетчики с предварительной оплатой, счетчики с указателем максимума нагрузки, счетчики с датчиком импульсов, счетчики потерь энергии в меди и стали, а также на измерительные трансформаторы, подключаемые к счетчикам.
Стандарт полностью соответствует СТ СЭВ 1108—78.
Настоящий стандарт устанавливает требования к счетчикам, изготавливаемым для нужд народного хозяйства и для экспорта.
(Измененная редакция, Изм. № 1, 2).
1. ТЕХНИЧЕСКИЕ ТРЕБОВАНИЯ
1.1. Счетчики должны изготовляться в соответствии с требованиями настоящего стандарта по рабочим чертежам, утвержден-
Издание официальное Перепечатка воспрещена
Е
* Переиздание (октябрь 1986 г.) с Изменениями М 1, 2, утвержденными в апреле 1980 г., декабре 1986 г. (МУС М 7—80, 4—86).
Стр. 2 ГОСТ «570—75
ным в установленном порядке. К счетчикам, предназначенным на экспорт, могут предъявляться требования, отличные от установленных в настоящем стандарте, в соответствии с условиями заказ-наряда.
1.2. По точности учета электроэнергии счетчики активной энергии должны изготовляться классов точности 0,5; 1,0; 2,0 и 2,5;
счетчики реактивной энергии — классов точности 1,5; 2,0 и 3,0.
Трансформаторные и. трансформаторные универсальные счетчики учета активной и реактивной энергии должны быть класса точности 2,0 и более точные.
1.3. Счетчики должны изготовляться на:
номинальные токи 1*; 2*; 2,5*; 5*; 10*; 15; 20; 30; 40; 50; 80; 100 А;
номинальные напряжения 57,7*; 63,5*; 100*; ПО*; 115*; 120;
127; 173; 190; 200*; 220; 240; 277; 290; 380; 400; 415; 420; 480; 500; 600; 660 В;
максимальные токи 125**; 200; 250; 300; 400; 500; 600; 700; 800; 900; 1000% от номинального тока.
П р и меча н н е. Для однофазных счетчиков класса точности 2,0 с 01.07.88 максимальныП ток должен быть 400, 500 и 600% и 125, 300 и 400% номинального — для трехфазных счетчиков. Остальные значения максимальных токов из указанных в пункте — по требованию потребителя.
1.4. В зависимости от условий эксплуатации и места размещения счетчики должны изготовляться следующих исполнений и категорий размещения по ГОСТ 15150-69;
а) классов точности 2,0; 2,5 и 3,0;
исполнения УХЛ, категории 4, но для работы при температурах от 0 до 40°С и относительной влажности воздуха не более 80% при температуре 25°С, а для однофазных счетчиков класса точности 2,0 — при температурах от минус 20 до плюс 55°С;
исполнения Т, категории 3, а для однофазных счетчиков класса точности 2,0 — при температурах от минус 20 до плюс 55°С;
б) классов точности 0,5; 1,0 и 1,5;
исполнения УХЛ, категории 4.2;
исполнения Т, категории 4.1, но для работы при температурах от 10 до 35°С и относительной влажности воздуха не более 98% при температуре 35°С.
1.3, 1.4. (Измененная редакция, Изм. № 1, 2).
1.5. Габаритные и установочные размеры и масса счетчиков должны устанавливаться в стандартах и технических условиях на
* Токи и напряжения для счетчиков как непосредственного, так и трансформаторного включения. Остальные значения — для счетчиков непосредственного включения;
** Максимальный ток только для трансформаторных и трансформаторных универсальных счетчиков.
ГОСТ 6570-75 Стр. 3
счетчики «конкретных типов. При этом установочные размеры однофазных счетчиков должны быть:
от 90 до 110 мм — по горизонтали;
от 120 до 150 мм — по вертикали.
Масса однофазных счетчиков класса точности 2,0 в корпусе из пластмассы должна быть не более 1,75 кг.
1,7 кг — с 01.07.88;
1,6 кг — с 01.01.89;
1,5 и (1,2) кг — с 01.01.90.
Значение, указанное в скобках — по требованию потребителя.
1.6. Потребляемая мощность Р (активная и полная) при номинальном напряжении и номинальной частоте ни в одной из цепей напряжения не должна превышать значений, указанных в табл. 1.
1.7. Потребляемая полная мощность в каждой токовой цепи при номинальных токе и частоте не должна превышать значений, установленных в табл. 1а.
Таблица 1
|
Вид счетчика |
Потребляемая мощность Р, не более, для счетчиков классов точности |
||||||||||||
|
0,5 |
1,0 |
1,5 |
2,0 |
2,5 |
3,0 |
||||||||
|
Вт |
В • А |
Вт |
В . А |
Вт |
В • А |
Вт |
В • А |
Вт |
В • А |
Вт |
В • А |
||
|
Однофазный |
— |
— |
— |
— |
— |
— |
1,3 |
5,4; 4,5** |
2,0 |
6,0; 5,5*** |
— |
— |
|
|
Трех фазный |
Активной энергии |
2,7 |
10,0; 8,0м |
2,7 |
10,0; 8,0*; (4,0)м |
— |
— |
1,5 |
6,0; 5,0 м; (3,7)** |
— |
— |
— |
|
|
Реактивной энергии |
— |
— |
— |
— |
2,7 |
10,0; 8,0* |
1.5 |
6,0; 5.5*; (5,0)м |
— |
— |
2,0 |
6,0; 5,5*; (5,О)*4 |
|
* С 01.01.88.
** С 01.07.88.
*** С 01.01,89.
*4 С 01.01.90.
Примечание. Значения, указанные в скобках, — по требованию потреби теля.
Стр, 4 ГОСТ 6570-75
Таблица Ja
Потребляемая полная мощность, В ■ А, не более, для счетчиков классов точности
|
Вид счетчика и его включения |
0,5 |
1,0 |
1,5 |
2,0 |
2,5 |
3,0 |
||
|
Однофазный |
Непосредст венное |
— |
— |
— |
0,4; 0,3** |
1.0; 0,7*** |
||
|
Через трансформатор тока |
||||||||
|
Трех- фазный |
Активной энергии |
Непосредственное и при /ном>30 А |
6,0* 4,0*** |
3,5; 2,5*; (1,2)*** |
— |
3,5; 3,0*; (2,5)*; (1,2)*** |
— |
— |
|
Через трансформатор тока и При /ном^ЗО А |
1,0; 0,6***; (0,3)*** |
|||||||
|
Реактивной энергии |
Непосредственное и при /ном^ЗО А |
— |
— |
3,5; 3,0* |
3,5; 3,0* |
— |
3,0; 2,5* |
|
|
Через трансформатор тока и При /ном<С30 А |
2,5 |
ljO; (0,8)*** |
1,5; 1,0*; (0,85)*** |
|||||
* С 01.01.88.
** С 01.07.88.
*** С 01.01.90.
Примечание. Значения, указанные в скобках, — по требованию потребителя.
и
ГОСТ 6570-75 Стр.
Стр. 6 ГОСТ 6570—7S
1.8. Систематическая составляющая относительной погрешности Ас трехфазных счетчиков, нагруженных одинаково в каждой фазе и при симметричном трехфазном напряжении (с отклонением не более 2%), а также однофазных счетчиков не должна превышать значений, указанных в табл. 2 и 3.
Таблица 2
Пределы допускаемой систематической составляющей относительной погрешности Дсд счетчиков активной энергии
|
Значение тока |
Коэффици- |
Пределы Дсд, %, не более, для счетчиков классов точности |
|||
|
ент мощности COS ф |
0,5 |
1,0 |
2,0 |
2,5 |
|
|
5% номинального От 10 до 20% номи |
1,0 |
±1,0 |
±1,5 |
±2,5 |
— |
|
нального От 10% номинального до максимального зна |
1,0 |
±3,5 |
|||
|
чения включ. От 20% номинального до максимального зна |
1,0 |
±0,5 |
±1,0 |
±2,0 |
|
|
чения включ. |
1,0 |
— |
— |
— |
±2,5 |
|
10% номинального |
0,5 инд. |
± 1,3 |
±1,5 |
±2,5 |
|
|
10% номинального От 20% номинального до максимального зна |
0,8 ем к. |
±1,3 |
±1,5 |
||
|
чения включ. От 20% номинального до максимального зна |
0,5 инд. |
±0,8 |
±1,0 |
±2,0 |
±4,0 |
|
чения включ. |
0,8 емк. |
±0,8 |
±1,0 |
— |
— |
Примечание. Для счетчиков класса точности 1,0, разработанных до 01.01.85, погрешность при Cos ср — 0,8 не нормируется, погрешность при токе нагрузки 5% номинального и Cos <р=1, а также при токе нагрузки 10% номинального и Cos ф=0,5 не должна превышать 2%.
Таблица 3
Пределы допускаемой систематической составляющей относительной погрешности Лсд счетчиков реактивной энергии
|
Значение тока |
Коэффициент |
Пределы Дсд, %, не более для счетчиков классов точности |
||
|
мощности sin (р |
1,5 |
2,0 |
3,0 |
|
|
10% номинального От 20% номинального до максимального зна |
ьо |
±2,5 |
±3,0 |
±4,0 |
|
чения включ. От 20i% номинального до максимального зна |
1,0 |
±1,5 |
±2,0 |
±3,0 |
|
чения включ. |
0,5 инд. (емк.) |
±1,5 |
±2,0 |
±3,0 |
ГОСТ 6570-75 Стр, 7
1.9. Функции влияния:
а) коэффициент /Си изменения систематической составляющей относительной погрешности на один процент изменения напряже-ня не должен превышать значений, указанных в табл. 4.
Таблица 4
|
Значение тока |
Коэффициент мощности |
Допускаемый коэффициент Ки, %, на один процент изменения напряжения, не более, для счетчиков классов точности |
|||||
|
COS ф (sin ф) |
0,5 |
1,0 |
1,5 |
2,0 |
2,5 |
3,0 |
|
|
10% номинального 50% максимального 50% максимального |
1,0 1,0 0,5 инд. |
±0,08 ±0,05 ±0,07 |
±0,10 ±0,07 ±0,10 |
±0,125 |
±0,15 ±0,10 ±0,15 |
±0,20 ±0,15 |
±0,20 |
|
От 100% номинального до максимального значения в ключ. |
1,0 |
±0,10 |
±0,15 |
||||
Допускаемое изменение напряжения не должно превышать ±10% от номинального;
б) коэффициент i(f изменения систематической составляющей относительной погрешности на один процент изменения частоты не должен превышать значений, указанных в табл. 5.
Таблица 5
|
Значение тока |
Коэффициент мощности |
Допускаемый коэффициент Kf, % на один процент изменения частоты, не более, для счетчиков класса точности |
|||||
|
COS ф (sin ф) |
0,5 |
1,0 |
1,5 |
2,0 |
2,5 |
3,0 |
|
|
10% номинального |
1,0 |
±0,14 |
±0,20 |
±0,30 |
±0,30 |
±0,30 |
±0,50 |
|
50% максималь |
|||||||
|
ного |
1,0 |
±0,12 |
±0,16 |
— |
±0,26 |
±0,30 |
— |
|
50% максималь |
|||||||
|
ного |
0,5 инд. |
±0,16 |
±0,20 |
— |
±0,30 |
±0,30 |
— |
|
100% номинального |
1,0 и 0,5 инд. |
_ |
±0,30 |
_ |
±0,50 |
||
Допускаемое изменение частоты не должно превышать ±5% от номинальной;
в) коэффициент Kt изменения систематической составляющей относительной погрешности на один градус изменения температуры при отклонении температуры окружающего воздуха от среднего значения до любой температуры в пределах рабочих температур не должен превышать значений, указанных в табл. 6.
