Материалы электроизоляционные твердые. Методы определения электрической прочности при переменном (частоты 50 Гц) и постоянном напряжении
Заменяет

Страница 1

Страница 2

Страница 3

Страница 4

Страница 5

Страница 6

Страница 7

Страница 8

Страница 9

Страница 10

Страница 11

Страница 12

Страница 13

Страница 14

Страница 15

Страница 16

Страница 17

Страница 18

Страница 19

Страница 20

Страница 21
УДК 621.315.611.019.3:006.354 1 Группа Е39
ГОСУДАРСТВЕННЫЙ стандарт СОЮЗА ССР
|
Материалы электроизоляционные твердые МЕТОДЫ ОПРЕДЕЛЕНИЯ ЭЛЕКТРИЧЕСКОИ ПРОЧНОСТИ ПРИ ПЕРЕМЕННОМ (ЧАСТОТЫ 50 Гц) И ПОСТОЯННОМ НАПРЯЖЕНИИ Solid electrical insulating materials. Methods for evaluation of electrical strength at a. c. voltage at power (50 Hz) frequency and d. c. voltage |
ГОСТ 6433.3-711 (СТ СЗВ 3165-81) Взамен ГОСТ 6433-65 в части определения электрической прочности |
Постановлением Государственного комитета стандартов Совета Министров СССР от 24 мая 1971 г. JV* 1002 срок введения установлен
с 01.07.72
Ограничение срока действия снято Постановлением Госстандарта от 10.09.92 № 1157
Настоящий стандарт распространяется на твердые электроизоляционные материалы, включая пленки из высокомолекулярных соединений и электроизоляционные бумаги, и устанавливает для этих материалов методы определения электрической прочности (£пр) при переменном (частоты 50 Гц) и постоянном напряжении.
Методы, приведенные в настоящем стандарте, применимы в диапазоне температур от минус 60 до плюс 250°С.
Стандарт полностью соответствует СТ СЭВ 3165—81 и Публикации МЭК 243, 1967 г.
(Измененная редакция, Изм. № 1).
1. ОТБОР ОБРАЗЦОВ
1.1. Образцы для испытаний не должны иметь видимых невооруженным глазом короблений, препятствующих плотному прилеганию электродов, а также трещин, сколов, вмятин, загрязнений. Поверхности образцов, подвергавшиеся механической обработке, должны быть гладкими, без выбоин и царапин; плоскости образцов должны быть параллельными.
32
1
Переиздание март 1994 г., с Изменением № 1, утвержденным в феврале 1982 г. (ИУС 6—82).
ГОСТ 6433.3-71 С. 2
1.2. Обработка образцов не должна изменять свойств материала. Способ обработки должен указываться в стандартах или технических условиях на материал.
1.3. Форма, размеры, количество образцов для испытания должны указываться в стандартах или технических условиях на материал из числа рекомендуемых настоящим стандартом.
1.4. Форма, размеры и количество образцов для определения электрической прочности в направлении, перпендикулярном к поверхности образца, или у слоистых материалов — в направлении, перпендикулярном к слоям, должны выбираться из табл. 1.
|
Таблица 1 |
||||||||||||
|
||||||||||||
|
Примечание. Если напряжение перекрытия образцов при определении электрической прочности оказывается ниже пробивного напряжения или на поверхности образна возникают скользящие разряды и образцы нельзя пробивать в изоляционной жидкости, допускается использовать образцы больших размеров, что должно быть оговорено в стандартах или технических условияя на материал. |
1.5. Определение электрической прочности параллельно поверхности образца или у слоистых материалов вдоль слоев производят на образцах, форма которых показана на черт. 1—3, где t—толщина образца. Минимальный размер образцов 65X60 мм.
33
С 3 ГОСТ 6433.3-71
1.1
|
||||||
|
Черт. 3 |
||||||
Для испытания при помощи электродов в виде пластины применяют плоские образцы толщиной не менее 1,5 мм в виде брусков длиной приблизительно 100 мм и шириной (25±0,2) мм, а при испытании труб и цилиндров — образцы в виде кольца высотой (25±2) мм, длиной 100 мм, или его части.
1.6. В случае, когда толщина плоских, трубчатых и цилиндрических образцов не позволяет определить электрическую прочность в направлении, перпендикулярном к поверхности образца, или у слоистых материалов в направлении, перпендикулярном слоям, на образцах, указанных в табл. 1, испытания следует проводить на образцах, форма которых приведена на черт. 4.
Плоский образец Трубчатый или
цилиндрический образец
|
I , |
|||
|
щ у |
Ё- ‘Л. |
||
|
1 S3 |
Г |
||
|
Г |
D—диаметр электрода; Г—ширина электрода: /—толщина образца Черт. 4
Примечание. Образцы до толщины 3 мм растачивают в месте расположения электродов под размер большего электрода.
1.5, 1.6 (Измененная редакция, Изм. № 1).
1.7. Определение электрической прочности лаков производят на образцах в виде пленок, нанесенных на подложку из бумаги, стеклоткани или металлической пластинки. Подложку выбирают э соответствии со стандартами или техническими условиями на материал.
34
ГОСТ 6433.3-71 С. 4
1.8. Определение электрической прочности пресс-порошков и заливочных составов производят на образцах, изготовленных в виде пластин и дисков. Толщина образца от (1,0±0,1) мм или (3,0±0,2) мм. Форма и толщина образца должны указываться в стандартах или технических условиях на материал.
В случае необходимости образцы заливочных составов могут быть изготовлены в металлических формах (тарелочках).
Рекомендуемые размеры форм:
внутренний диаметр — не менее 100 мм;
внешний диаметр — не менее 110 мм;
высота бортика — не менее 4 мм.
Вид и марка металла для изготовления форм, а также размеры форм должны оговариваться в стандартах или технических условиях на материал.
(Измененная редакция, Изм. № 1).
1.9. Определение электрической прочности керамических материалов может производиться на плоских образцах, указанных в табл. 1, но предпочтительно является форма образца, приведенная на черт. 5.
1.10. Измерение толщины образцов производится до испытания. Методика измерения толщины должна указываться в стандартах или технических условиях на материал.
Погрешность измерения толщины не должна превышать ±(1 % +0,002 мм).
Разброс по толщине образца не должен превышать 2 % при толщинах больше или равных 0,5 мм и 5 % при толщинах меньше 0,5 мм.
Толщина лаковой пленки, нанесенной на металлическую пластину, должна определяться посредством измерения общей толщины за вычетом из полученно- ЧсРт— 5
го результата толщины металла. Если металлическая пластина покрыта лаковой пленкой с двух сторон, то полученный результат делят пополам.
1.11. Механические операции (сверление, расточка и т. д.) производят до подготовки образцов к испытанию.
1.12. Условия нормализации и кондиционирования образцов, а также условия проведения испытания должны указываться в стандартах или технических условиях на материал из числа указанных в ГОСТ 6433.1-71.
35
|
Таблица 2 |
||||||||||||||||||||
|
С б ГОСТ 6433.3-71
ч
|
Материал |
Способ создания контактов с образцом |
|
Электроды из суспензии коллоидного графита в дистиллированной воде |
Нанесен не кистью с последующей сушкой на воздухе |
|
Электроды из суспензии графита в лаке (эпоксидном, шеллачном, цапоне и т. д.) |
а) Напыление струен воздуха б) Нанесение кистью |
|
Электроды из токопроводящих серебряных покрытий, изготовленных из различных видов серебряных паст |
а) Нанесение кистью б) Нанесение кистью с последующим вжнганнем |
|
Электроды из порошка графита |
Засыпка |
|
Водопроводная вода |
Погружение или заливкл |
(Измененная редакция, Изм. № 1).
|
Продолжение табл. 2 |
||||||||||||
|
ГОСТ 6433.3-71 С. •
с. 7 ГОСТ 6433.3-71
2. ЭЛЕКТРОДЫ
2.1. Электроды должны обеспечивать хороший контакт с испытуемым образцом. Материал электродов, способ создания контакта с образцом должны соответствовать указанным в табл. 2.
2.2. Если электроды разной величины, то больший из них должен быть соединен с заземленным выводом обмотки высокого напряжения испытательного трансформатора. Если оба конца обмотки высокого напряжения трансформатора изолированы, то больший электрод присоединяется к выводу, потенциал которого ближе к потенциалу земли.
2.3. При определении электрической прочности плоских образцов в направлении, перпендикулярном поверхности образца, или у слоистых материалов — перпендикулярном слоям, применяют два цилиндрических электрода разных диаметров, причем диаметр нижнего электрода D{ должен не менее чем в три раза превышать диаметр верхнего электрода D или два цилиндрических электрода одинаковых диаметров. Размеры электродов должны соответствовать указанным в табл. 3 и на черт. 6. Форма и расположение электродов на образце указаны на черт. 6.
|
|
||||||||||||||||||||||||
-I
zsgg t
STTrrr
Черт. 6
Для испытания плоских образцов электроизоляционных материалов (кроме керамических) предпочтительными являются электроды следующих размеров: верхний электрод диаметром 25 мм и высотой не менее 25 мм, нижний электрод диаметром 75 мм и высотой 15 мм; радиус закругления краев электродов 3 мм. Для керамических материалов предпочтительными являются следующие электроды: нижний электрод цилиндрический диаметром 75 мм, верхний — полусферический или сферический диаметром 25 мм. Форма электродов указана на черт. 6 и 7.
38
ГОСТ 6433.3-71 С 8
Указанные предпочтительные электроды являются обязательными для испытания электроизоляционных материалов при взаимных поставках странам-членам СЭВ.
При необходимости создания лучшего контакта на образцах со сферическими выемками рекомендуется применение электродов, нанесенных на образец распылением металла, шоопировани-ем, а также электродов из суспензии графита в воде или лаке либо серебряной пасты. Контакт осуществляется с помощью металлических электродов, форма которых приведена на черт. 7.
2.4. Для определения электрической прочности узких полос и ленточных материалов применяют следующие электроды:
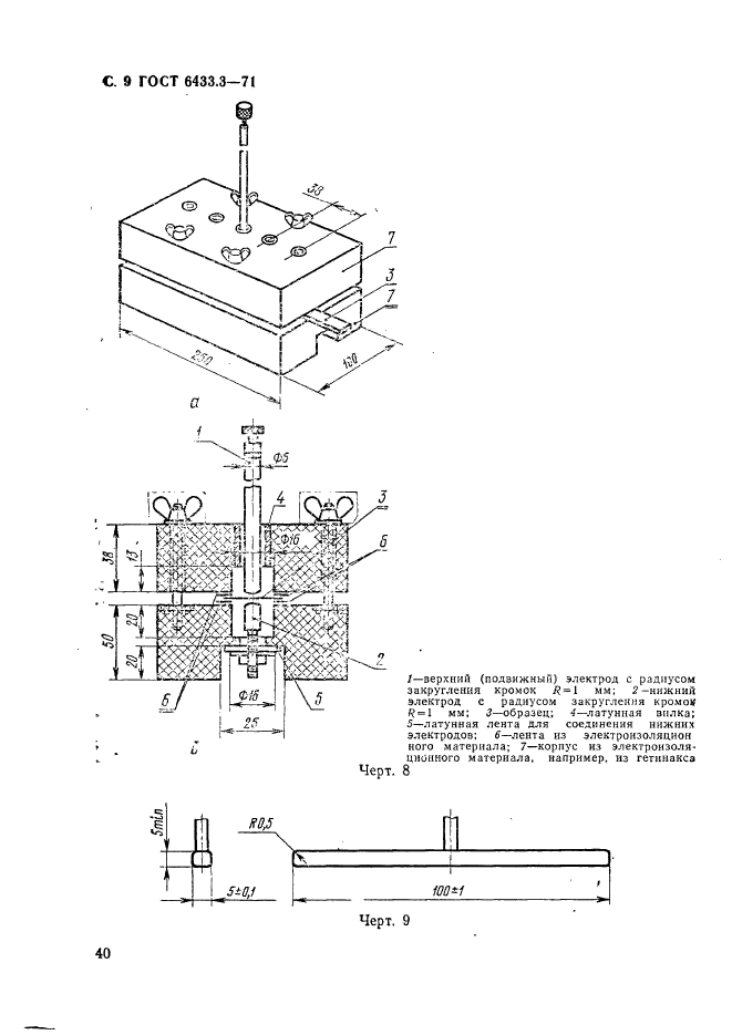
а) два одинаковых цилиндрических металлических электрода диаметром 6 мм с радиусом закругления краев 1 мм. Электроды помещают в приспособление коаксиально, чтобы образец был зажат между торцовыми поверхностями. Несоосность верхнего электрода относительно нижнего электрода должна быть не более 0,1 мм. Масса верхнего электрода (50±2) г. Пример размещения электродов и образца показан на черт. 8.
Для исключения перекрытия допускается присоединять к испытываемому образцу ленту из электроизоляционного материала, перекрывающую края образца;
б) два одинаковых металлических электрода в виде прямоугольных пластин шириной 5 мм, длиной 100 мм, с радиусом закругления краев 0,5 мм. Края электродов не должны быть смещены один относительно другого; форма электродов указана на черт. 9.
Электроды диаметром 6 мм являются предпочтительными при определении электрической прочности узких полос и ленточных материалов.
39
С. 9 ГОСТ 6433.3-71
/—верхний (подвижный) электрод с радиусом закругления кромок /? = 1 мм; 2-нижний электрод с радиусом закругления кромок R = 1 мм; 3—образец; 4—латунная зилка; 5—латунная лента для соединения нижних электродоз: 6—лента из электронзоляцион
ного материала; 7—корпус из электроизоляционного материала, например, из гегннакса 8
Черт.
Л
—Г»
100*1
Черт.
9
40
ГОСТ 6433.3-71 С. JO
2.5. Для определения электрической прочности гибких электроизоляционных трубок в качестве внутреннего электрода применяют металлические стержни. Диаметр стержней выбирают таким образом, чтобы трубка плотно прилегала к стержню. При плотной посадке растягивание не допускается. В качестве внешнего электрода применяют полоску металлической фольги шириной 25 мм и толщиной не более 0,025 мм, которая должна плотно наматываться на трубку. При испытании трубок в качестве внутренних электродов допускается применение воды, порошка графита или металлических жил, обеспечивающих наличие плотного контакта со стенками трубок. Воду применяют только в тех случаях, если она не проникает внутрь стенок .трубки и не вызывает изменения электрических свойств трубки. Трубки с внутренним диаметром более 12 мм могут быть разрезаны и испытаны как полосы или ленточные материалы в соответствии с п. 2.4.
2.4, 2.5 (Измененная редакция, Изм. № 1).
2.6. Для определения электрической прочности твердых трубок с внутренним диаметром до 100 мм в направлении, перпендикулярном к поверхности образца, в качестве внешнего электрода применяют полоску металлической фольги шириной 25 мм, плотно прилегающую к поверхности трубки. В качестве внутреннего электрода допускается применение металлической фольги или металлической трубки, плотно прилегающих к внутренней поверхности образца. Внутренний электрод должен выступать за внешний электрод не менее чем на 25 мм. Примерное расположе-ние электродов на образце приведено на черт. 10. При испытании трубок в качестве внутреннего электрода допускается использование воды или порошка графита. Воду применяют только в тех случаях, если она не проникает внутрь стенок трубки и не вызывает изменения электрических свойств трубок.
2.7. При определении электрической прочности цилиндров с внутренним диаметром более 100 мм в направлении, перпендикулярном к поверхности образца, в качестве внешнего электрода применяют полоску металлической фольги шириной 75 мм. В качестве внутреннего электрода применяют диск из металлической фольги диаметром 25 мм, плотно притертый к внутренней поверхности цилиндра. Расположение электродов на образце приведено на черт. 11.
Допускается производить определение электрической прочности цилиндров по п. 2.6.
Предпочтительным является определение электрической прочности цилиндров по п. 2.7.
41
С. 11 ГОСТ 6433.3-71
|
И-—1*1 |
Черт. 11
|
Черт. 10 |
2.8. При определении электрической прочности лаков, заливочных составов и пресспорошков применяют электроды, указанные в п. 2.3. Для лаковых пленок, нанесенных на металлические подложки, и заливочных составов, залитых в металлические формы (тарелочки), эти подложки и тарелочки используют в качестве электродов. Материал и размеры металлических тарелочек и подложек должны указываться в стандартах или технических условиях на материал.
2.9. Для определения электрической прочности в направлении, параллельном поверхности образца или у слоистых материалов вдоль слоев, применяют следующие электроды:
а) конические штифтовые электроды с конусностью J:50, которые вставляют в отверстия образцов, подготовленные по п. 1.5. Концы электродов должны выступать из образца не менее чем на 2 мм.
Если при испытании возникают перекрытия по поверхности, допускается применение электродов, форма которых приведена на черт. 13. Электроды представляют собой два цилиндрических металлических штифта диаметром (5±0,5) мм и длиной не менее 50 мм;
б) два одинаковых электрода, плотно прилегающие к боковым стенкам отверстия образца. Форма, размеры электродов, а также расположение их на образце приведены на черт. 14.
Предпочтительными являются электроды, указанные в п. 2.9а.
Эти же электроды являются обязательными для испытания материалов при взаимных поставках странам — членам СЭВ;
42
ГОСТ 6433.3-71 С. 12
|
Черт. 13* |
в) плоские электроды, представляющие собой две параллельные пластины, между которыми помещают образец, изготовленный по п. 1.5 в соответствии с черт. 14а.
|
/—образец; 2—электроды Черт. На |
Черт. 14
• Черт. 12 (Исключен, Изм. № 1).
43
С. 13 ГОСТ 6433.3-71
2.10. Тип, материал и размеры электродов (из приведенных в настоящем стандарте) должны указываться в стандартах или технических условиях на материал.
2.11. Параметр шероховатости рабочих поверхностей электродов должен быть 0,20 мкм на базовой длине / = 0,25 мм по ГОСТ 2789-73. Допускаются гальванические покрытия рабочих поверхностей, например, никелевое покрытие.
2.9—2.11 (Измененная редакция, Изм. № I).
2.12. Если прижимные электроды не обеспечивают давления на образец, указанного в табл. 2 или в стандартах и технических условиях на материал, то «а них допускается накладывать дополнительный груз, обеспечивающий необходимое давление.
2.13. Фольга для электродов не должна иметь повреждений или складок и должна быть чистой. Перед притиранием к поверхности образца электроды, вырезанные из фольги, должны быть смазаны тонким слоем вазелина, кремнийорганнческой жидкостью или другими аналогичными составами, не влияющими на свойства материала, указанными в табл. 2.
(Измененная редакция, Изм. № 1).
2.14. Серебряная паста в качестве электрода наносится на образец в соответствии с размерами электродов.
2.15. Металл (серебро, золото, платина, медь, алюминий) должен быть нанесен на образец под вакуумом в соответствии с размерами электродов.
2.16. Порошок графита или воду в качестве электрода для трубчатых образцов применяют следующим образом. Порошок графита засыпают (воду наливают) внутрь трубки, закрытой с одной стороны пробкой. Порошок графита уплотняют до получения надежного контакта. Место, занимаемое порошком графита (или водой), по размеру должно соответствовать внутреннему электроду. После этого трубку с другого конца закрывают пробкой и погружают в сосуд с порошком графита (или водой) так, чтобы оба конца трубки находились в воздухе, а размер погруженной в сосуд трубки соответствовал размеру внешнего электрода. Радиус изгиба трубки при погружении ее в сосуд с графитом или водой должен указываться в стандартах или технических условиях на материал.
2.17. Графитовая суспензия в качестве электрода должна применяться следующим образом. Суспензию в соответствии с размерами электродов наносят на обе стороны образца, используя кисть или распыление струей воздуха с помощью краскораспылителя и выдерживают при температуре не ниже 20 °С до затвердевания.
44
ГОСТ 6433 3—71 С. 14
2.18. Использование суспензии графита в дистиллированной или аммиачной воде в качестве электродов, а также использование суспензии графита в лаке, например на основе шеллака, эпоксидной смолы и др., рекомендуется в том случае, если материал испытуемых образцов не изменяется под воздействием влаги или растворителя, которые, в основном, должны испариться во время нанесения суспензии на образец в струе воздуха. Если нанесенный слой суспензии графита недостаточно тверд или есть необходимость избавиться от остатков растворителя, образцы с нанесенными электродами просушивают в течение 2 ч при температуре 50—70 °С. Подготовку образцов к испытанию производят после нанесения электродов.
2.19. Электродный слой (пп. 2.14; 2.15; 2.17) должен быть плотным и разномерным, без просветов, видимых через лупу с увеличением до 5х. Сопротивление электродного слоя должно быть не более 100 Ом. Проверку сопротивления электродного слоя производят между двумя точками, расположенными на расстоянии 1 см по всей поверхности электрода. Измерение сопротивления можно производить любыми приборами класса точности не более 2,5. В качестве электродов при измерении сопротивления электродного слоя можно применять металлические цилиндрические щупы диаметром 1,5—2 мм со сферическим концом.
3. ОПРЕДЕЛЕНИЕ ЭЛЕКТРИЧЕСКОЙ ПРОЧНОСТИ ПРИ ПЕРЕМЕННОМ (ЧАСТОТЫ 50 Гц) И ПОСТОЯННОМ НАПРЯЖЕНИИ
3.1. Требования к установке для испытания на переменном и а л р я же ни и
3.1.1. Электрическую прочность при переменном напряжении определяют на установке, принципиальная схема которой приведена на черт. 15.
3.1.2. Источник питания установки, испытательный трансформатор и регулирующее устройство должны обеспечивать на испытываемом образце синусоидальную форму кривой напряжения частоты 50 Гц с тем, чтобы коэффициент амплитуды испытательного напряжения (отношение максимального значения к эффективному) был в пределах (2±5) % или 1,34—1,48.
3.1.3. Мощность испытательной установки должна быть такой, при которой действующее значение установившегося тока короткого замыкания на частоте высокого напряжения было бы не менее 40 мА в диапазоне напряжений, на которое рассчитано оборудование.
45
С 15 ГОСТ 6433.3-7!
|
Примечание. Допускается проводить испытание на установке, имеющей меньшее значение тока короткого замыкания в том случае, если установлено, что результаты испытаний на этой установке равноценны результатам*, полученным на установке, указанной в настоящем стандарте. R |
|
Т—высоковольтный испытательныII трансформатор; Л—защитное сопротивление; РУ— устройство, позволяющее осуществлять подъем напряжения на образце; О—образец с электродами Черт. 15 |
3.1.4. При выборе защитного сопротивления следует руководствоваться динамической устойчивостью трансформатора. При отсутствии данных о динамической устойчивости трансформатора защитное сопротивление должно быть в пределах от 0,2 до 1 Ом на 1 В высокого напряжения испытательного трансформатора напряжением до 110 кВ включительно.
(Измененная редакция, Изм. № 1).
3.1.5. В момент пробоя образца должно срабатывать реле максимального тока, отключающее первичную цепь трансформатора.
Параметры реле максимального тока должны быть подобраны в соответствии с мощностью испытательного оборудования и изоляционных свойств испытываемого материала, чтобы трансформатор не отключался до момента пробоя.
3.1.6. Регулирующее устройство установки должно обеспечивать плавную регулировку напряжения. В случае невозможности получения таковой скачки изменения напряжения при регулировке не должны превышать 0,5 % номинального напряжения трансформатора.
3.1.6. Измерение напряжения допускается производить как на стороне высокого напряжения (непосредственно на образце) „ так и на стороне низкого напряжения. Предпочтительно измерение напряжения на стороне высокого напряжения. На стороне высокого напряжения измерение производится при помощи ки-
46
ГОСТ 6433.3-7! С. 16
ловольтметра, вольтметра с трансформатором напряжения или лри помощи измерительного прибора, подключенного к делителю напряжения, а на стороне низкого напряжения — при помощи вольтметра.
Во всех случаях, кроме измерения напряжения на образце амплитудным киловольтметром, шкала измерительного прибора должна быть проградуирована при помощи измерительного шарового разрядника или киловольтметра. Если коэффициент трансформации испытательного трансформатора существенно изменяется при присоединении испытываемого образца, то градуировка измерительного прибора должна производиться при присоединенном образце. Погрешность измерения напряжения не должна превышать 4 %.
(Измененная редакция, Изм. № 1).
3.2. Требования к установке для испытания на постоянном напряжении
3.2.1. Электрическую прочность при постоянном напряжении определяют на установке, рекомендуемая принципиальная схема которой представлена на черт. 16.
|
Т—высоковольтный испытательный трансформатор; R—защитное сопротивление; Pi- -устройство, позволяющее осуществить плавный подъем напряжения на образце; О—образец; С—конденсатор: ВУ—выпрями тельиое устройство |
Черт. 16
3.2.2. Выпрямительная установка в любых условиях испытания материалов должна обеспечивать возможность пробоя образца выпрямленным напряжением с пульсацией, не превышающей 5 % амплитудного значения.
3.2.3. Измерение напряжения допускается производить как на стороне высокого напряжения, так и на стороне низкого напряжения. Наиболее предпочтительно измерение напряжения про-
47
С. 17 ГОСТ 6433.3-71
изводить на стороне высокого напряжения. На стороне высокого-напряжения измерение должно производиться при помощи киловольтметра, а на стороне низкого напряжения при помощи вольтметра, шкала которого должна быть проградуирована в значениях выпрямленного высокого напряжения.
Примечание. В остальном требования к испытательной установке на постоянном напряжении те же, что оговорены для испытательной установки на переменном напряжении.
3.3. Проведение испытаний
3.3.1. Определение электрической прочности производят при плавном или ступенчатом подъеме напряжения.
3.3.2. Скорость подъема напряжения должна указываться в стандартах или технических условиях на материал в соответствии с требованиями п. 3.3.3.
3.3.3. При плавном подъеме напряжение должно повышаться с нуля равномерно таким образом, чтобы пробой происходил в диапазоне от 10 до 20 с после начала подъема напряжения. Это испытание требует некоторых знании о материале или проведения едного-двух предварительных испытаний. Необходимо, чтобы срсднеее арифметическое значение времени находилось в указанном диапазоне, хотя некоторые значения времени пробоя будут находиться и вне приведенного диапазона.
3.3.4. При ступенчатом подъеме напряжения определение электрической прочности производят двумя вариантами.
Вариант А. Напряжение должно повышаться ступенями с выдержкой на каждой ступени 20 с. Испытательное напряжение первой ступени выбирают по табл. 4, причем по величине оно должно быть близким к 40 % вероятного пробивного напряжения, полученного при плавном подъеме. Если предполагаемая величина пробивного напряжения неизвестна, то ее определяют по методу, описанному в п. 3.3.3. Если образец выдерживает в течение 20 с испытательное напряжение, то переходят на следующее, более высокое напряжение, согласно табл. 4. Продолжительность перехода от одной ступени к другой должна быть в пределах 1—2 с. Время повышения напряжения прибавляется ко времени испытания при более высоком напряжении. Если пробой произойдет в момент повышения напряжения, то пробивным должно считаться напряжение, соответствующее предыдущей ступени. Если пробой наступает в течение более короткого времени, чем 2 мин, желательно понизить величину исходного напряжения в соответствии с табл. 4.
48
ГОСТ 6433.3-71 С. 18
|
Таблица 4 Значения испытательного напряжения для определения электрической прочности изоляционных материалов методом ступенчатого подъема напряжения кВ (в случае переменного напряжения кВЭфф) |
||||||||||||||||||||||||||||||||||||||||||||||||||||||||||||||||||||||||||||||||||||||||||||||||||||||||||||||||||||||||
|
Вариант Б. Напряжение должно повышаться ступенями с выдержкой на каждой ступени 1 мин. Испытательное напряжение на первой ступени должно составлять 50 % пробивного напряжения, полученного при плавном подъеме напряжения.
Напряжение на первой ступени подают на образец плавным подъемом. Испытательное напряжение на каждой следующей ступени должно повышаться на 10 % от испытательного на первой ступени.
Продолжительность перехода от данной ступени к другой не должна превышать 10 с.
Если пробой произойдет в момент повышения напряжения, то пробивным должно считаться напряжение, соответствующее предыдущей ступени.
За величину пробивного напряжения при испытании на переменном напряжении принимают его эффективное значение.
3.3.5. Способ подъ






