Материалы электроизоляционные твердые. Методы определения электрического сопротивления при постоянном напряжении
Заменяет

Страница 1

Страница 2

Страница 3

Страница 4

Страница 5

Страница 6

Страница 7

Страница 8

Страница 9

Страница 10

Страница 11

Страница 12

Страница 13

Страница 14

Страница 15

Страница 16

Страница 17

Страница 18

Страница 19

Страница 20

Страница 21

Страница 22

Страница 23
УДК 621.316.611.019.3:006.354 Группа Е3$
ГОСУДАРСТВЕННЫЙ СТАНДАРТ СОЮЗА С С’Р
|
Материалы электроизоляционные твердые МЕТОДЫ ОПРЕДЕЛЕНИЯ ЭЛЕКТРИЧЕСКОГО СОПРОТИВЛЕНИЯ ПРИ ПОСТОЯННОМ НАПРЯЖЕНИИ Solid electrical insulating materials. Methods forevaluation of electrical resistances at d. c. voltages |
ГОСТ 6433.2—711 (CT СЭВ 2411-80) Взамен ГОСТ 6433-66 в части определения электрических сопротивлений |
Постановлением Государственного комитета стандартов Совета Министров СССР от 24 мая 1971 г. № 1001 срок введения установлен
с 01.07.72
Ограничение срока действия снято Постановлением Госстандарта от 26.06.91 № 1021
Настоящий стандарт распространяется на твердые электроизоляционные материалы, включая пленки из высокомолекулярных соединений толщиной 0,003 мм и более, и устанавливает для . этих материалов методы определения при постоянном напряжении:
а) удельного объемного сопротивления (р0);
б) удельного поверхностного сопротивления (р*);
в) внутреннего сопротивления (К/);
г) сопротивления изоляции (R).
Методы, приведенные в настоящем стандарте, применимы в диапазоне температур от минуса 60 до плюс 250°С.
Стандарт не распространяется на пенопоропласты, конденсаторную бумагу и на электроизоляционные материалы толщиной. 0,03 мм и менее.
Стандарт полностью соответствует СТ СЭВ 2411—80 и публикации МЭК 93, 1980.
{Измененная редакция, Изм. Лг 1).
1
Переиздание март 1994 г., с Изменением I. утвержденным в апреле 1981 г. (НУС 7~~S1).
С 2 ГОСТ 6453.2-71
1. ОТБОР ОБРАЗЦОВ
1.1. Образцы для испытаний не должны иметь видимых невооруженным глазом короблений, препятствующих плотному прилеганию электродов, а также трещин, сколов, вмятин, заусенцев, загрязнений. Поверхности образцов, подвергавшиеся механической обработке, должны быть гладкими, без выбоин и царапин; плоскости образцов должны быть параллельными.
Допускается поверхность образца очищать растворителем, не влияющим на свойства испытываемого материала.
(Измененная редакция, Изм. № 1).
1.2. Форма, . размеры, количество образцов для испытания должны указываться в стандартах или технических условиях на материал из числа рекомендуемых табл. 1 и п. 1.4.
|
Таблица 1 |
||||||||||||||||
|
В случае необходимости образцы заливочных составов могут быть изготовлены в металлических формах (тарелочках). Рекомендуемые размеры формы:
внутренний диаметр — не менее 100 мм; внешний диаметр — не менее 110 мм; высота бортика — не менее 4 мм. ‘
Вид и марка металла для форм должны оговариваться в стандартах или технических условиях на материал.
1.3. Механические операции (сверление, расточку и т.- д.; производят до подготовки образцов к испытанию. Обработка образцов не должна изменять свойств материала. Способ обработки должен указываться в стандарте или технических условиях на материал.
1.4. Форма, размеры, количество образцов для определения сопротивления изоляции внутреннего сопротивления должны выбираться из указанных ниже.
ГОСТ 6433.2-71 С. 3
1.4.1. Определение сопротивления изоляции плоских, трубча*-тых, цилиндрических и стержневых материалов толщиной от I до 50 мм производят на образцах с двумя сквозными отверстиями для электродов с расстоянием А между центрами- отэерс-тий, равным 25±1 или 15±1 мм. Форма образцов представлена на черт. 1.
Указанные образцы рекомендуется применять в тех случаях, когда при измерении сопротивления изоляции необходимо определить влияние тока, текущего через толщу образца.
Минимальные размеры плоских образцов при расстоянии между центрами отверстий (25± 1) мм должны быть 50×75 мм; при расстоянии между центрами отверстий 15±1 мм — 35X50 мм.
Трубчатые, цилиндрические и стержневые образцы должны бытб следующих размеров: длина не менее 75 мм; минимальный диаметр 20 мм.
(Измененная редакция, Изм. № 1).
|
Плоский образец Трубчатый образец 02Omin |
|
Черт. 1 |
1.4.2. Для определения сопротивления изоляции применяют’ образцы следующих размеров:
минимальные размеры плоских образцов 60×150 мм; трубчатые, цилиндрические и стержневые образцы — длина 60 мм, минимальный диаметр — 50 мм. Допускается производить
С. 4 ГОСТ 6433.2-71
определение сопротивления изоляции на образцах диаметром: менее 50 мм, но предпочтительным является минимальный диаметр 50 мм.
Указанные образцы рекомендуется применять в тех случаях, когда при измерении сопротивления изоляции необходимо определить влияние тока, текущего по поверхности образца.
1.4.3. Определение сопротивления изоляции листовых и ленточных материалов толщиной менее 1 мм производят на образцах следующих размеров: ширина не более 25 мм, длина не менее 50 .мм.
1.4.4. Определение внутреннего српротивления производят на образцах с двумя несквозными отверстиями для электродов, просверленными с противоположных сторон образца, расстояние между центрами отверстий 15 мм. Форма образца представлена на черт. 2 и 3.
Предпочтительные минимальные размеры образцов 50×75 мм. Определение внутреннего сопротивления, как правило, производят при толщине материалов более 8 мм.
1.4.5. Количество образцов при определении сопротивления изоляции внутреннего сопротивления должно быть не менее трех.
1.5. Толщину испытываемых образцов определяют как среднее арифметическое измерений в пяти точках в предполагаемой области расположения измерительного электрода.
|
Ф5 ‘*’■* |
|
tew М.Ъ Черт. 2 |
|
||||||||
|
\ tUu.1 |
||||||||
Черт. 3
Погрешность измерения толщины не должна превышать ±(1 %+ 0,002 мм). Разброс по толщине образца не должен превышать 2 % при толщинах больше или равных 0,5 мм и 5 % при толщинах меньше 0,5 мм. Толщина лаковой пленки, нанесенной на металлическую, пластину, должна определяться посредством измерения общей толщины и вычитания из полученного результата толщины металла. Если металлическая пла-стина покрыта лаковой пленкой с двух сторон, то полученный результат делят пополам. Метод измерения толщины должен указываться в стандартах или технических условиях на материал.
ГОСТ 6433.2-71 С. 5
Если в стандартах или технических условиях на конкретный материал не указано нажимное давление при измерении толщины, то его выбирают равным давлению электродов при испытании.
(Измененнная редакция, Изм. № I),
1.6. Условия нормализации и кондиционирования образцов, а также условия испытания должны указываться в стандартах или технических условиях на материал из числа указанных в ГОСТ 6433.1-71.
1.7. Измерение электрических сопротивлений (р0; р«; R и /?*) до, в процессе и после воздействия среды должно производиться на одних и тех же образцах однотипными электродами.
2. ЭЛЕКТРОДЫ
2.1. Электроды должны обладать высокой проводимостью и обеспечивать хороший электрический контакт по всей поверхности соприкосновения с образцом и не должны оказывать влияния
на его свойства. Материал электродов, способ создания контакта с образцом должны соответствовать указанным в табл. 2.
2.2. При определении удельного объемного и удельного поверхностного сопротивлений применяют электроды следующих размеров:
а) для плоских образцов — в соответствии с табл. 3.
Величина зазора g между измерительным и охранным электродами должна быть (2±0,2) мм. Допускается применение прямоугольных электродов. При применении прямоугольных электродов площадь • измерительного электрода должна быть примерно равна площади круглых электродов, приведенных в табл. 3;
б) для трубчатого и цилиндрического образцов ширина высоковольтного электрода должна быть от*75 до 300 мм, длина измерительного электрода — от 50 до 250 мм, ширина охранного электрода — не менее 10 мм. Величина зазора g между измерительным и охранным электродами должна быть (2±0,2) мм.
При измерении объемного сопротивления трубчатых и цилиндрических образцов при взаимных поставках странам-членам СЭВ зазор должен быть 1 мм;
в) для стержневого образца при -определении удельного поверхностного сопротивления должны быть применены два -кольцевых электрода шириной не менее 10 мм, расположенные на боковой поверхности образца с зазором (2±0,2) мм.
Способ создания контакта с образцом
Вид испытываемых материалов
Материал
|
Металлические нажимные электроды из нержавеющей стали цветных (например, медь, латунь) или благородных (например, серебро, золото и т. д.) металлов |
Нажатие давлением. Величина давления должна быть указана в стандарте или технических условиях на материал; если давление не указано. оно должно быть (10,0 ±0,2) кПа |
Все твердые материалы |
То же
То же
|
Электроды из отожженной алюминиевой, оловянной, свинцовой фольги толщиной от 5 до 20 мкм |
Притирание с помо щью тонкого слоя ва зелнна, трансформаторного, конденсаторного или вазелинового масла, кремний органической жидкости и смазки или другого аналогичного материала |
Все твердые материалы, на которые не оказывают влияния масла и жидкости, указанные в графе 2 |
Припрессовка с нагревом по технической документации, утвержденной п установленном порядке
Пластмассы, пленки
|
Таблица 2 |
||||||||||||||||
|
С 6 ГОСТ 6433.2-71 |
|||||||||||||||
|
Материал Способ создания контакта с образцом Вид испытываемых материалов |
|||||||||
|
|
Продолжение табл. 2 |
|||||||||||||
|
ГОСТ 6433.2-7! С 7 |
||||||||||||
|
Материал |
Способ создания контакта с образцом |
Вид ислытыва-см ых материалов |
|
Электроды из меди, алюминия, серебра, цинка |
Нанесение шоолирсь ванисм металла |
Материалу, которые при данном способе нанесения электродов не изменяют своих свойств |
|
Электроды из суспензии коллоидного графита в дистиллированной воде ■ |
Нанесение кистью с последующей сушкой при комнатной темпера-туре |
Негигроскопичные материалы |
|
Продолжение табл. 2 |
||||||||||
|
С. 8 ГОСТ 6433.2-г?1 |
|||||||||
|
Материал |
Способ создания контакта с образцом |
Вия испытываемых материалов |
|
Электроды нз суспензии графита в лаке (эпоксидном, шеллачном, цапоие и т. д.) |
а) Напыление струей воздуха б) Нанесение кистью |
Все твердые материалы, на свойства которых не влияет растворитель, содержащийся в лаке |
|
Электроды »*з токопроводящих серебряных но* крытнй, изготовленных нз различных видов серебряных паст |
а) Нанесение кистью б) Нанесение кистью с последующим вжига* ннем |
Материалы, которые при данном способе нанесения электродов не изменяют своих свойств Материалы, выдерживающие температуру отжига, например, керамика, стекло, слюда |
|
Ртутные элект- ‘ роды |
Заливка |
Все твердые матери алы |
|
Продолжение табл. 2 |
|||||||||||||||||||||||||
|
ГОСТ 6433.2-71 С. t |
||||||||||||||||||||||||
Способ создания контакта с образцом
Вид мспытавае-емых материалов
Материал
•Ртутные электрода
Все 1всрдыс материалы
Залнока
|
Продолжение табл. 2 |
||||||
|
X. 10 ГОСТ М33.2—71
|
Продолжение табл. й |
||||||||||||
|
Примечание. Для обеспечения контакта с электродами из фольги, серебряной пасты, распыленного металла, суспензированного графита рекомендуется применять металлические прижимные электроды из стали, латуни, меди. Давление прижимных электродов на образец должно быть указано в стандарте или технических условиях на материал; если указания отсутствуют, давление электрода на образец должно быть 100 гс/см2. В случае применения серебряноП пасты или распыленного металла допускается непосредственное припанвание проводов к электродам в том случае, если при пайке не изменяются своПства измеряемого материала.
С. 12 ГОСТ M33.2-7I
|
Таблица 3 мм |
||||||||||||||||||
|
Примечание. Ширина охранного электрода должна быть не менее двойной толщины образца.
2.3. Расположение электродов при определении удельного объемного и удельного поверхностного сопротивлений указано на черт. 4—6.
В схеме подключения образца при измерении удельного объемного сопротивления позиции на черт. 4, 5 означают:
1 — электрод напряжения;
2 — измерительный электрод;
3 — охранный электрод.
|
Расположение электродов на плоском образце |
Расположение электродов на цилиндрическом образце |
|
Черт. 5 |
Черт. 4
|
-Т2Л___ av-. • .я* 4 |
ГОСТ 6433.2-71 С. It
Расположение электродов на стержневом образце
2
J
г ь
Черт. 6
При измерении удельного объемного сопротивления у лаковых пленок, нанесенных на металлические подложки, и у компаундов, залитых в металлические формы (тарелочки), эти подложки и тарелочки играют роль высоковольтного электрода.
В схеме подключения образца при измерении удельного поверхностного сопротивления позиции на черт. 4—6 означают:
1 — охранный электрод;
2 — измерительный электрод;
3 — электрод напряжения.
Примечание. В случае, когда полученное в результате испытания соотношение объемного и поверхностного сопротивления указывает на недостоверность полученного при измерении значения RJt в стандарте или технических условиях на материал должна быть приведена специальная методика измерения Я».
2.4. При определении сопротивления изоляции (п. 1.4) должны применяться следующие электроды:
а) штифтовые электроды — это металлические (обычно из латуни) штифты конусностью 1:50, которые помещают в конусные отверстия с расстоянием между центрами (25± I) мм. Диаметр большего отверстия должен быть в пределах 4,5—5,5 мм. Концы электродов должны выступать за контур образца не менее 2 мм. Расположение электродов показано на черт. 7. Внутренний диаметр трубчатых образцов должен быть не менее 20 мм, а диаметр испытываемых образцов в виде стержней — не менее 20 мм;
з Зак. 737
С 14 ГОСТ 6433.2-71
lL_m.
ТТ. :»:
1ГТГ
|
||||||||||||
|
Черт. 7 |
||||||||||||
1
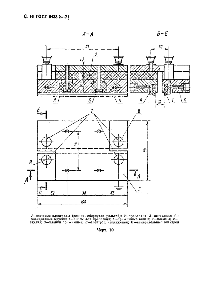
Допускается применять ножевые электроды, форма и размеры которых указаны на черт. 10;
в) электроды в форме брусков размером 10X10X50 мм применяют для измерения сопротивления изоляции плоских образцов и лент толщиной до 1 мм.
ГОСТ 6433.2-71 С, IS
|
-с.: 5 |
3! |
|||||
|
§ |
||||||
|
— |
muitf |
|||||
|
25min |
iOOti |
25/rnn |
||||
2Ьпик :0 : fa *5тп ; о , ,. j f
Устройство электродов показано на черт. 11.
2.2—2.4 (Измененная редакция, Изм. М 1).
2.5. При определении внутреннего сопротивления применяют два одинаковых электрода, плотно прилегающих к боковым стенкам отверстия образца. Форма и размеры электродов указаны на черт. 12.
2.6. Материал и размеры электродов (из приведенных в настоящем стандарте) должны быть указаны в стандартах или технических условиях на материал.
2.7. Фольга для электродов не должна иметь повреждений или складок и должна быть чистой. Перед притиранием к поверхности образца электроды, вырезанные из фольги, должны быть смазаны тонким слоем вазелина, кремнийорганической жидкостью или другими аналогичными составами, указанными в табл. 2.
2.8. Фольга и резина, образующие электрод напряжения измерительный и охранный электроды, должны быть собраны, как указано, например, на черт. 13 а и б, размеры электродов должны соответствовать указанным в табл. 3.
С. 1в ГОСТ 6433.2-71
А-А
В-В
/—ножевые электроды (резина. обернутая фольгой); 2~прокладка: 3—основание; 4— электродные Орускн; 5—аиигы для крепления; 6—прижимные винты; 7—клеммы; S— втулки; 5—планки прижимные: В— электрод напряжения; //—измерительный электрод
ГОСТ 64m—71 С. 17
|
/—образец: 2—изоляция; J—металлическая пластина. Черт. 11 |
|
||||
|
Черт. 12 |
2.9, Металл (серебро, золото, платина, медь, алюминий и т. д.) должен наноситься на образец под вакуумом в соответствии с размерами электродов, так, чтобы зазор на образце между измерительным и охранным электродами был свободен от металла.
2.10. Графит или ртуть в качестве электродов для плоских образцов должны применяться следующим образом. Порошок графита насыпают (ртуть наливают) ровным слоем в сосуд. На порошок (ртуть) кладут образец. На поверхности образца концентрически располагают три металлических кольца, как указано на черт. 14, так, чтобы при засыпке зазора между наружными кольцами порошком графита или при заливке ртутью полу-
С. 18 ГОСТ 6433.2-71
чить охранный электрод, соответствующий указанному в
табл. 3» а при засыпке порошком графита или при заливке ртутью внутреннего кольца — соответствующий измерительный
электрод. Порошок графита во внутреннем кольце уплотняется давлением (10,0±0,2) кПа.
(Измененная редакция, Изм. № I).
|
а) Измерительный или электрод напряжения б) Охранный электрод |
|
/—релиновый диск: 2—металлический держатель электрода; диск из фольги; 4—металлическое кольцо; О—диаметр электрода /— металлическое кольцо; 2—фольга: 3—резиновое кольцо; 4—металлический цилиндр; Ь—ширина электрода; £>’— внутренний диаметр охранного электрода |
g—зазор между измерительным и охранным электродами
Черт. 13
2.И. Графитовая суспензия в качестве электрода применяется следующим образом. Суспензию, в соответствии с размерами
электродов, наносят на обе стороны образца, используя, кисть или распыление струей воздуха с помощью краскораспылителя, и выдерживают при температуре не менее 20 °С до затвердевания. Если нанесенный слой графита недостаточно тверд, образцы с нанесенными электродами просушивают в течение 2 ч при температуре 50—70 °С.
|
/—образец; 2—охранный электрод (электрод напряжения); 3—измерительный электрод: 4—контакты: 5-электрод напряжения (охранный электрод) |
2.12. Использование суспензии графита в дистиллированной воде в качестве электродов, а также использование
У всех цилиндров угол скоса 20е Черт. 14
ГОСТ 6433.2-71 С. 19
суспензии графита в лаке, например, на основе шеллака, эпоксидной смолы и др., рекомендуется в том случае, если материал испытуемых образцов не изменяется под воздействием влаги или растворителя, которые в основном, должны испариться во время нанесения суспензии на образец в струе воздуха.
Если нанесенный слой суспензии графита недостаточно тверд или ест>ь необходимость избавиться от остатков растворителя, образцы с нанесенными электродами просушивают в течение 2 ч при температуре 50—70 °С. Подготовку образцов к испытанию проводят после нанесения электродов.
2.13. Серебряная паста в качестве электрода наносится на образец в соответствии с размерами электродов.
2.14. Проводящая резина, применяемая в качестве электродов, должна иметь сопротивление не более 100 Ом при измерении его нажимными металлическими электродами.
2.15. Электродный слой (пп. 2.9; 2.11; 2.13) должен быть плотным и равномерным, без просветов, видимых через лупу с увеличением до 5х.
Сопротивление электродного слоя должно быть не более 100 Ом.
Проверку сопротивления электродного слоя производят между двумя точками, расположенными на расстоянии 1 см, по всей поверхности электрода. Измерение сопротивления можно производить любыми приборами класса точности не более 2,5.
В качестве электродов при измерении сопротивления электродного слоя можно применять металлические цилиндрические щупы диаметром 1,5—2 мм со сферическим концом.
2.16. Параметр шероховатости рабочих поверхностей электродов должен быть ЯаГОСТ 2789-73.
Допускаются электрохимические или химические покрытия рабочих поверхностей электродов (например, никелем).
(Измененная редакция, Изм. № 1).
3. ИЗМЕРЕНИЕ
3.1. Т ребова н ия к изм е р ите л ьным устройства м
3.1.1. Измерение сопротивлений должно производиться при постоянном напряжении, нестабильность которого должна быть не более 1 % при токе не более 1 мА. Величина напряжения должна измеряться с погрешностью не более 2 %. В случае применения выпрямительных устройств пульсация не должна превышать 1 %. Образцовые сопротивления устройств должны иметь
С 20 ГОСТ 6433.2-71
погрешность не более 1 % при сопротивлении до 10й Ом и не более 2 % при сопротивлении от 1012 до 1014 Ом.
3.1.2. Электрические сопротивления определяют с помощью таких измерительных приборов и установок, которые позволяют осуществлять указанные измерения любыми методами, но с определенной погрешностью в требуемом диапазоне измеряемых величин, при возможности плавного регулирования испытательного напряжения или получения фиксированного напряжения, рекомендуемого в п. 3.2.2.
Способ подачи напряжения на образец (плавный подъем напряжения или подача фиксированного напряжения) должен быть указан в стандартах или технических условиях на материал. В случае плавного подъема напряжения должна быть оговорена скорость подъема. Зарядные явления, возникающие в результате подъема напряжения, не должны оказывать влияния на результаты измерения.
Пр имечание. Измерение сопротивления методом зарядки конденсатора непремениыо для испытания электроизоляционных материалов с высоким сопротивлением, у которых ток проводимости в течение 1 мин после измерения будет изменяться более чем на ИЗ %.
3.1.3. Измерительное устройство должно обеспечивать измерение сопротивлений с погрешностью не более приведенной в табл. 4.
|
Таблица 4 |
||||||||
|
3.1.4. При отключенном образце в измерительной цепи допускаемый ток (при том же напряжении, при котором производится измерение) должен быть не менее чем на два порядка ниже по сравнению с током, протекающим при подключенном образце.
3.2. Проведение испытания
3.2.1. Перед началом испытаний электроды на образце должны быть замкнуты не менее 1 мин до подачи испытательного напряжения, если нет специальных указаний в стандартах или технических условиях на материал/
3.2.2. Напряжение, при котором производится измерение сопротивления, должно быть указано в стандартах или технических
ГОСТ 6433.2-71 С 21
условиях на материал. Рекомендуемые величины испытательный напряжений следующие: 50, 100, 250, 500, 1000 В.
3.2.3. Время выдержки образца под напряжением должно быть указано в стандартах или технических условиях на материал. Для выбора этого времени необходимо снимать зависимости сопротивления от времени выдержки под напряжением, на основании которых определяется время выдержки образца под напряжением.
Если в стандартах или технических условиях на материал указания о времени выдержки образца под напряжением отсутствуют, то отсчет измерения должен производиться на 60-й секунде после приложения напряжения.
3.2.4. При повторении измерения испытываемый образец следует деполяризовать. Деполяризацию осуществляют путем за* земления электродов через измерительный прибор, причем наблюдают за током деполяризации в соответствии с п. 3.2.1.
(Введен дополнительно, Изм. № 1).
3.3. Расчет результатов ..измерения
|
3.3.1. Расчет удельных лам, приведенным в табл. |
сопротивлений производят по форму- s. Таблица 5 |
||
|
Наименование показателя |
Обозна* ченне |
Расчетная формула |
Единица измерения |
|
Удельное объемное сопоставление 1. Для плоских образцов: |
|||
|
а) круглые электроды |
ре |
(а+£)<£-{-£) „ r&= f |
Ом-м |
|
б) прямоугольные электроды |
r (l+g) r xv— f |
||
|
2. Для трубчатых и цилиндрических образцов |
|||
|
Удельное поверхностное сопротивление !. Для плоских образцов: а) круглые электроды |
fs = *»7^ |
||
|
б) прямоугольные электроды |
Р* |
2(a-f c+2g) ?s- g * |
Ом |
|
2. Для трубчатых и цилиндрических образцов |
|||
С 22 ГОСТ (И33.2—71
где Ri, R,-~ измеренные сопротивления. Ом;
d\ — диаметр измерительного электрода для плоского образца или внутренний диаметр трубок, м; d2—наружный диаметр трубок или внутренний диаметр охранного кольца для плоского образца, м; g — ширина зазора между измерительным и охранным электродами, м;
b — ширина электрода, м; t—толщина образца, м; а—длина измерительного электрода, м; с — ширина измерительного электрода, м;
Внутреннее сопротивление и сопротивление изоляции считывают со шкалы прибора или высчитывают по формуле
Л- 4 , Ом ,
где V — испытательное напряжение, В;
/ — ток, проходящий между электродами через образец, А.
При измерении ленточными электродами (п. 2.46) сопротивление изоляции трубчатых и цилиндрических образцов должно быть приведено к длине электродов 100 мм с помощью соотношения:
D __D
100 ‘Г’
где d — наружный диаметр трубки, цилиндра, мм;
Rx — измеренное сопротивление, Ом;
Я,оо — сопротивлен


