Сталь прокатная для шпунтовых свай

Страница 1

Страница 2

Страница 3

Страница 4

Страница 5

Страница 6

Страница 7

Страница 8

Страница 9

Страница 10

Страница 11

Страница 12

Страница 13

Страница 14
СССР
ГОСУДАРСТВЕННЫЕ СТАНДАРТЫ
СОРТАМЕНТ ЧЕРНЫХ МЕТАЛЛОВ
ПРОКАТ И КАЛИБРОВАННАЯ СТАЛЬ
Издание официальное
ИЗДАТЕЛЬСТВО КОМИТЕТА СТАНДАРТОВ,
МЕР И ИЗМЕРИТЕЛЬНЫХ ПРИБОРОВ ПРИ СОВЕТЕ МИНИСТРОВ СССР Москва 1969
УДК 669(012)
ОТ ИЗДАТЕЛЬСТВА
Сборник <гСортамент черных металлов. Прокат и калиброванная сталь> содержит стандарты, утвержденные до 1 января 1968 г.
В стандарты внесены все изменения, принятые до указанного срока. Около номера стандарта, в который внесено изменение, стоит знак*.
Текущая информация о вновь утвержденных и пересмотренных стандартах, а также о принятых к ним изменениям публикуется в выпускаемом ежемесячно «Информационном указателе стандартов>.
|
Зскзнен Гсстои —:—I |
Внес::::: ……ii V ИУ §]зда!им~6фициальное |
||
|
СССР |
ГОСУДАРСТВЕННЫЙ СТАНДАРТ |
ГОСТ |
|
|
Комитет стандартов, мер и измерительных приборов |
4781-55 |
||
|
СТАЛЬ ПРОКАТНАЯ |
Взамен |
||
|
при Совете Министров |
ДЛЯ ШПУНТОВЫХ СВАИ |
ГОСТ 4781-49 |
|
|
Союза ССР |
Группа В22 |
||
Настоящий стандарт распространяется на горячекатаную сталь
|
для шпунтовых сваи, изготовляемую из Mai |
ртеновской 6ffpo— |
|
|
— мерив^кия сталтс 1 L Г ДЙЙ2Т5КЯ Г.рсДШ j . ; ОШ. Я -HfGV¥8,c.’* |
[ 1. СОРТАМЕНТ |
Ш-:,-..л I JS.B П/М |
А. Сталь шпунтовая плоского профиля (ШП-1 и ШП-2)
Основное назначение — ячеистые конструкции
1. Основные размеры профиля и расчетные данные должны соответствовать черт. 1 и 2 и табл. 1.
Внесен Министерством строительства СССР
Утвержден Комитетом стандартов, мер и измерительных приборов 26/XII 1955 г.
Срок введения 1/1V 1956 Г., в части зетовых профилей с I /X 1956 г.
Несоблюдение стандарта преследуется по закону. Перепечатка воспрещена
Таблица 1
|
Условное обозначение профиля |
Площадь поперечного сечения F, см* |
Вес I пог. м 0, кг |
Момент инерции / , см* X |
Момент сопротивления W , см» X |
|
ШП-1 ШП-2 |
82 ЗУ |
G4 30 |
332 80 |
73 28 |
2. Размеры замков профилен ШП-1 и ШП-2 должны соответствовать черт- 3 и 4 и табл. 2.
а) Замок шпунтовой сваи ШП-1
Черт. 4
197
Таблиц а 2
|
Условное обозначение профиля |
Размеры, мм |
||||
|
Вход в замок |
Ширина голонки замка |
Отверстие замка |
Толщина стенки |
Толщина шейки замка |
|
|
А |
В |
С |
d |
D |
|
|
ШП-1 |
19,0 |
35.0 |
43,0 |
10,0 |
11,3 |
|
ШП-2 |
16,0 |
27,0 |
32,0 |
8,0 |
10,0 |
3. Допускаемые отклонения по размерам профилей и замкам шпунтовых свай ШП-1 и ШП-2 должны соответствовать табл. 3.
Таблица 3
|
Условное обозна чение профиля |
Допускаемые отклонения, мм |
||||||
|
ПО ширине профиля |
по толщине стенки профиля |
по входу в замок |
по ширине головки замка |
по отверстию в замке |
по толщине стенки |
по толщине шейки замка |
|
|
А |
В |
С |
d |
D |
|||
|
ШП-1 |
±4,0 |
±1.0 |
+2.0 |
+ 2,0 |
±2.0 |
±1.0 |
+ 1.5 |
|
-1.5 |
-1.5 |
-0,5 |
|||||
|
ШП-2 |
±4,0 |
-4-1,0 |
42.0 |
+2,0 |
+ 2,0 |
±1.0 |
+ 1.5 |
|
-1,5 |
-1.5 |
-0,5 |
|||||
4. Длина профиля ШП-1 и ШП-2 от 8 до 22 м.
По соглашению сторон допускается поставка профилей длиною от 5 до 8 м в количестве не более 10% в партии (по весу).
Допускаемое отклонение по мерной длине (оговоренной в заказе) + 100 иш.
Обозначение плоского профиля шпунтовой сваи (ШП) из стали марки Ст. 3:
Свая ШП-1 Ст. 3 ГОСТ 4781-55.
Б. Сталь шпунтовая корытного профиля (ШК-1 и ШК-2)
Основное назначение — противофильтраци
онные завесы
5. Основные размеры профиля и расчетные данные должны со ответствовать черт. 5 и б и табл. 4.
198
а) Шпунтовая-корытная свая ШК-1
Черт. 5
б) Шпунтовая корытная свая ШК-2
Таблица 4
|
Условное |
поперечного сечения, |
Вес 1 nor. м, |
Момент инерции. |
Момент сопротивления, |
|
обозначение |
см* |
кг |
см4 |
см» |
|
профиля |
||||
|
F |
G |
/ X |
W X |
|
|
ШК-1 |
G4 |
50 |
730 |
114 |
|
ШК-2 |
74 |
58 |
2243 |
2С0 |
199
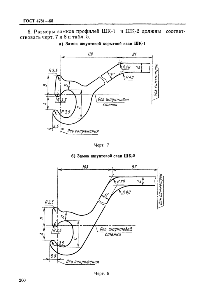
6. Размеры замков профилей ШК-1 и ШК-2 должны ствовать черт. 7 и 8 и табл. 5.
а) Замок шпунтовой корытной сваи ШК-1
Черт. 7
б) Замок шпунтовой сваи ШК-2
соответ
200
Черт. 8
Ось симметрии
Таблица о
|
Размеры, мм |
|||||
|
Условное обозначение профиля |
Вход в замок |
Ширина головки замка |
Отверстие замка |
Толщина стенки |
Толщина шейки замка |
|
А |
D |
С |
d |
О |
|
|
ШК-1 |
1G.0 |
24,0 |
32,0 |
10.0 |
10,0 |
|
ШК-2 |
16,0 |
24,0 |
32,0 |
10,0 |
10,0 |
7- Допускаемые отклонения по размерам профилей и замкам шпунтовых свай ШК-1 и ШК-2 должны соответствовать табл. 6.
Таблица 6
Допускаемые отклонения, мм
|
Условное обозначе ние профиля |
по ши рине про филя |
по тол щине стенки про филя |
по высоте про- |
по входу в замок |
по ширине головки замка |
по отверстию в замке |
по толщине стенки |
по толщине шейки замка |
|
фнля |
А |
В |
С |
d |
D |
|||
|
ШК-1 |
±4,0 |
±1.0 |
±2.0 |
+2,5 -1.5 |
+2,0 -1.5 |
±2,0 |
±1.0 |
+ 1.5 -1.0 |
|
111К-2 |
±4.0 |
±1.0 |
±2,0 |
+2,5 -1.6 |
+2.0 -1.5 |
±2,0 |
±1.0 |
+ 1.5 -1.0 |
8. Длина профиля ШК-1 и ШК-2 от 8 до 22 м.
По соглашению сторон допускается поставка профиля длиной от 5 до 8 м в количестве не более 10% от партии (по весу.
Допускаемое отклонение по мерной длине (оговоренной в заказе) +100 леи.
Обозначение корытного профиля шпунтовой сваи (ШК) из стали марки Ст. 3.
Свая ШК-1 Ст. 3 ГОСТ 4781-55.
201
ГОСТ 4781-55
В. Сталь шпунтовая зетового профиля ШД-3 и ШД-5
Основное назначение — подпорные стенки и причальные сооружения
9. Основные размеры профиля ШД-3 и ШД-5 и расчетные данные должны соответствовать черт. 9 и табл. 7.
Т я б л и ц а 7
|
Условное обозначе ние профиля |
Высота профиля. мм |
Толщина стенки. мм |
Толщина полки, мм |
Плошадь поперечно го сечения, см* |
Вес 1 пог. м, кг |
•Момент инерции, см4 |
Момент сопротив ления, см* |
|
Н |
d |
dx |
F |
G |
/ X |
** |
|
|
ШД-3 |
240 |
9 |
10 |
78 |
61 |
7600 |
630 |
|
ШД-5 |
320 |
12 |
14 |
119 |
93 |
20100 |
1256 |
10. Размеры замков профилей ШД-3 и ШД-5 должны соответствовать черт. 10 и 11 и табл. 8.
202
а) Замок шпунтовой сваи ШД-3
б) Замок шпунтовой сваи ШД-5
203
Черт. 11



