Вещества взрывчатые бризантные. Методы определения характеристик чувствительности к удару
На нашем сайте можно бесплатно скачать Руководящий документ ГОСТ 4545-88 в удобном формате. Узнать актуальный статус документа «Вещества взрывчатые бризантные. Методы определения характеристик чувствительности к удару» на 2016 год.
Скрыть дополнительную информацию
Страница 1

Страница 2

Страница 3

Страница 4

Страница 5

Страница 6

Страница 7

Страница 8

Страница 9

Страница 10

Страница 11

Страница 12

Страница 13

Страница 14

Страница 15

Страница 16

Страница 17

Страница 18
ГОСУДАРСТВЕННЫЙ СТАНДАРТ СОЮЗА ССР
ВЕЩЕСТВА ВЗРЫВЧАТЫЕ БРИЗАНТНЫЕ
МЕТОДЫ ОПРЕДЕЛЕНИЯ ХАРАКТЕРИСТИК ЧУВСТВИТЕЛЬНОСТИ К УДАРУ
ГОСТ 4545-88 Издание официальное
Цена 6 коп. БЗ 7-М;511
ГОСУДАРСТВЕННЫЙ КОМИТЕТ СССР ПО СТАНДАРТАМ Москва
УДК 662.215.5.001А :006.354 Групп* Л7®
ГОСУДАРСТВЕННЫЙ стандарт СОЮЗА ССР
ВЕЩЕСТВА ВЗРЫВЧАТЫЕ БРИЗАНТНЫЕ Методы определения характеристик чувствительности к удару
ГОСТ
4545-88
Explosives, high.
Sensitivity characteristics determination for impact
ОКСТУ 7276
Дата введения 01.07.S9
Настоящий стандарт распространяется на бризантные взрывчатые вещества (ВВ) и устанавливает методы определения характеристик чувствительности к удару:
нижнего предела чувствительности к удару твердых ВВ в приборе 2;
частости взрывов твердых ВВ в приборе 1—только для ВВ, нижний предел чувствительности к удару которых более 2С0 мм с грузом массой 10 кг;
частости взрывов жидких ВВ в приборе 3; нижнего предела чувствительности к удару жидких ВВ в приборе 3.
1. ОБШИС ПОЛОЖЕНИЯ
1.1. За твердые ВВ принимают порошкообразные, гранулированные. чешунрованные, прессовочные, литьевые, эластичные пластичные ВВ н пастообразные ВВ, не способные растекаться.
1.2. Определение характеристик чувствительности к удару пастообразных ВВ. способных растекаться, проводят такими же методами, как и для жидких ВВ.
1.3. Нижний предел чувствительности к удару — максимальная высота сбрасывания груза массой 10 или 2 кг на навеску В В: массой (0,100±0,005) г — для твердых ВВ или объемом (0.090± ±0,003) см3 —для жидких ВВ. при которой из 25 испытаний не происходит ни одного взрыва.
1.4. Частость взрывов —это количество взрывов из 25 испытаний при сбрасывании груза массой 10 или 2 кг на навеску ВВ:
|
Издание офнциалыюе ★ |
Перепечатка воспрещена © Издательство стандартов, 1988 |
ГОСТ 4545-88 С. 2
массой (0.050±0,005) г—для твердых ВВ или объемом (0,045±: i0.003 см3 —для жидких ВВ, с высоты 250 мм.
1.5. За взрыв принимают взрывчатое превращение вещества^ сопровождаемое звуковым эффектом, пламенем или следами ожогов на роликах или муфте прибора. Изменение цвета ВВ за взрыв не принимают.
1.6. Подготовку и проведение испытаний проводят при темпера; туре (20 Л10) °С.
Примечание. Методы, содержащиеся о стандарте, иш&илямт проводить испытания при температуре от минус 60 до плюс 3<Ю°С. При проведении испытаний при температуре, отличной от (20т 10) *“0. се дополнительно ухалкеа*)т при записи результатов испытаний.
2. ПОРЯДОК ОТБОРА ПРОБ
2.1. Проба ВВ, предназначенная для испытания, должна быть: массой 10—13 г — для твердых ВВ; объемом 8—10 см3 — для жидких ВВ.
2.2. Пробы гранулированных, чешуированных, прессовочных к литьевых ВВ, предназначенных для испытаний, измельчают до полного прохождения через сито из цветного металла или синтетической ткани с размером стороны ячеек 0,9—1,0 мм.
Измельчение гранулированных, чешуированных, прессовочных и литьевых ВВ производят в агатовой, яшмовой, халцедоновой или деревянной ступке пестиками из таких же материалов. Измельчение эластичных ВВ производят развальцовываннем их до толщины не более 1 мм с последующим разрезанием на деревянной поверхности остро отточенным ножом на квадраты или прямоугольники с размером стороны не более 1 мм.
Пробы эластичных ВВ не просеивают.
Пробы порошкообразных, пластичных п пастообразных В В не измельчают н не просеивают.
2.3. Пробы твердых ВВ упаковывают в пакет из плотной бумаги. полиэтиленовой пленки или другого материала, устойчивого к воздействию конкретного ВВ и не загрязняющего его.
2.4. Пробы жидких ВВ упаковывают в плотно закрывающийся сосуд из стекла, полиэтилена или другого материала, устойчивого к воздействию конкретного ВВ и не загрязняющего его.
2.5. На пакет или сосуд с пробой ВВ наносят надпись или прикрепляют ярлык с указанием:
условного наименования (шифра) ВВ;
номера партии;
даты отбора пробы;
химической стойкости по газовыделению.
2.6. Пробы ВВ перед взятием навесок на испытание тщательно
перемешивают. ^
С 3 ГОСТ 4545-88
3. АППАРАТУРА, ПОСУДА, МАТЕРИАЛЫ И РЕАКТИВЫ
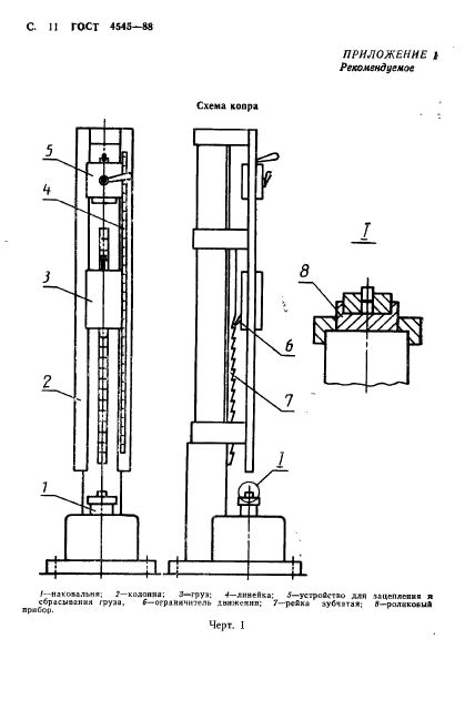
Копер (схема приведена на черт. 1 приложения 1), в который Ъходят:
наковальня, изготовленная из цельнотянутой стали. Неплос-костность горизонтальной поверхности наковальни не должна быть более 0,2 мм па 100 мм длины, а значение параметра шероховатости не должно быть более 3,2 мкм;
колонны, установленные вертикально и параллельно друг другу;
груз массой 10 и 2 кг с ограничителем движения. Допускаемое отклонение от номинальной массы груза не должно превышать:
±0.1 кг —для груза массой 10 кг н ±0.02 кг—для груза массой
2 кг. Сменный ударный боек груза должен быть изготовлен из закаленной инструментальной или шарикоподшипниковой стали и иметь твердость HRC, 61—64;
устройство для зацепления и сбрасывания груза;
рейка зубчатая совместно с ограничителем движения груза или другое устройство, препятствующее повторному падению груза на испытуемое ВБ;
линейка с ценой деления 1 мм.
Приборы роликовые:
1. приведенный на черт. 2 приложения 2;
2. приведенный на черт. 6 приложения 2;
3. приведенный на черт. 8 приложения 2.
Партия приборов должна состоять из приборов одной конструкции и включать 2000—3000 роликов, 50 поддонов и не менее 200 муфт.
Пресс винтовой ручной или любой другой с усилием не менее 9800 Н.
Пресс гидравлический, обеспечивающий давление 290 МПа.
Весы лабораторные 2 класса точности с наибольшим пределом взвешивания 200 г.
Микрометр и нутромер с ценой деления 0,01 мм.
Капельница или пипетка.
Шпатель из фторопласта или дерева, или цветного металла.
Ткань хлопчатобумажная или марля.
Масло смазочное.
• Бензин или керосин технические
Ацетон технический.
Спирт этиловый технический.
Растворитель органический, способный растворить испытуемое ВВ.
Тетрил или гексоген образцовые: тетрил или гсксоген, дважды перекрнсталлизованные из ацетона с обязательной фильтрацией насыщенного раствора БВ при температуре 50—55°С с размером кристплло-а 0,200—0,270 мм.
ГОСТ «45-8* с. ♦
«. ПОДГОТОВКА АППАРАТУРЫ К ИСПЫТАНИЮ
4.1. Копер после ремонта и каждую новую партию приборов под-‘ вергают проверке на образиовых тетриле или гексогене, для чего, производят 25 испытаний на определение частости взрывов в приборе 1,2 или 3, причем прибор 3 используют без колпачка.
4.2. Приборы н копер считают пригодными к испытаниям, если частость взрывов при температуре (20± 10) °С будет соответствовать:
для тетрила в приборах 1 и 3(без колпачка) — (48±8) %. в приборе 2 • (16±8) %;
для гексоген.ч в приборах I и 3 (без колпачка) — (72±12) %,. в приборе 2— (88±8)
4.3. Проверку копра проводят с использованием приборов, прошедших испытание по п. 4.2.
4.4. Проверку приборов проводят на копре, прошедшем испытания по п. 4.2.
4.5. При несоответствии результатов испытаний, когда величина, частости взрывов более или менее указанной в п. 4,2. проводят, повторные испытания.
При получение неудовлетворительных результатов повторных испытании копра его подвергают ремонту.
При получении неудовлетворительных результатов повторных’ испытаний партии приборов ее бракуют.
4.6. Прибор, подготовленный для’ испытания, должен иметь разность между диаметрами муфты и ролика 0.02—0.03 мм. которую, контролируют микрометром н нутромером.
4.7. Поверхность приборов перед каждым испытанием для обез
жиривания промывают бензином или керосином, затем ацетоном и тщательно протирают сначала тканыо, смоченной этиловым, спиртом, затем сухой тканыо. ,
4.8. Приборы допускается использовать повторно.
При этом поверхность приборов полностью освобождают от ВВ (растворяя в соответствующем органическом растворителе), следов ожога или нагара, обезжиривают в соответствии с требованиями п. 4.7.
После этого приборы должны полностью соответствовать чертежу.
4 9. Копер перед каждой серией испытаний проверяют на свободное падение груза, характеристикой которого является высота отскока груза. Проверку проводят на приборе без ВВ.
Копер считают пригодным, если при сбрасывании груза на прибор без ВВ с высоты до 500 мм высота отскока груза составы 70—75 % (среднее арифметическое результатов трех сбрасываний) от высоты сбрасывания груза.
С 5 ГОСТ 4545-88
4.10. Ежедневно перед началом работы поверхостн направляющих копра, по которым скользит груз, протирают тканью, смоченной бензином, смазывают тонким слоем смазочного масла и проверяют надежность крепления стоек и исправность груза.
в. МЕТОД ОПРЕДЕЛЕНИЯ НИЖНЕГО ПРЕДЕЛА ЧУВСТВИТЕЛЬНОСТИ К УДАРУ ТВЕРДЫХ ВВ В ПРИБОРЕ 2
5.1. Порядок отбора проб — в соответствии с требованиями разд. 2.
5.2. Аппаратура, посуда, материалы и реактивы — в соответствии с ’требованиями разд. 3 и поддон, приведенный на черт. 3 приложения 2.
5.3. Подготовка к испытанию
5.3.1. Аппаратуру к испытанию готовят в соответствии с требованиями, установленными в разд. 4.
5.3.2. Для установления первоначальной высоты сбрасывания груза при определении нижнего предела чувствительности к удару твердых ВВ в приборе 2 определяют частость взрывов в этом приборе.
Для этого в поддон 1 прибора 2 (черт. 6 приложения 2) вкладывают муфту 2 положением «канавка вниз», вставляют в муфту ролик 4 и на ролик помещают навеску испытуемого ВВ массой 1(0,050 ^ 0,005) г.
На навеску ВВ осторожно устанавливают второй ролик и. слегка прижимая и пращая два — три раза верхним роликом, разравнивают ВВ между роликами.
Затем верхнюю часть муфты накрывают дополнительным поддоном так, чтобы муфта прибора оказалась в гнезде дополнительного поддона, и прибор переворачивают. Нижний поддон, находящийся теперь сверху, снимают. Слегка нажимая на муфту, ее смещают относительно роликов до упора. При этом муфта прибора будет находиться в положении «канавка вверх», а ВВ будет располагаться напротив канавки муфты.
Собранный таким образом прибор с ВВ устанавливают на наковальню копра (черт. 1 приложения 1) и сбрасывают груз массой 10 кг с высоты 250 мм, фиксируя при этом наличие или отсутствие взрыва. Проводят 10 испытаний. Частость взрывов в приборе 2 (А’;) в процентах вычисляют по формуле
V я-100
Л»—W ‘
где /« — количество взрывов из проведенных 10 испытании;
10 — количество проведенных испытании.
Вычисленное значение частоты взрывов (А’,) используют для определения первоначальной высоты сбрасывания груза по табл. 1.
ГОСТ 4WS-R# С. 6
|
Таблица 1 |
||||||||||||||||||||||||||||||||||||||||||||||||||||||||||||||||||||||
|
||||||||||||||||||||||||||||||||||||||||||||||||||||||||||||||||||||||
5.4. Проведение испытания
5.4.1. В поддон 1 прибора 2 (черт. 6 приложения 2) вкладывают муфту 2 положением «канавка вниз», вставляют н муфту ролик 4 и на ролик помещают навеску испытуемого ВВ массой (0.100:2: ±0.005) г.
На навеску ВВ осторожно устанавливают второй ролик и, слегка прижимая и вращая два —три раза верхним роликом, разравнивают ВВ между роликами.
5.4.2. Прибор с ВВ устанавливают на гидравлический пресс, где ВВ подпрессовывают до давления 290 МПа. Для пластичных и пастообразных ВВ давление подпрессовывания подбирают предварительно таким образом, чтобы была исключена возможность вытекания ВВ из-под торнов роликов, а ВВ, для которых невозможно создать давление (вытекают при самом незначительном давлении), испытывают без подпрессовывания.
5.4.3. Затем верхнюю часть муфты накрывают дополнительным поддоном так, чтобы муфта прибора оказалась в гнезде дополнительного поддона, и прибор переворачивают. Нижний поддон, находящийся теперь сверху, снимают. Слегка нажимая на муфту, ее смещают относительно роликов до упора.
Если смещение муфты относительно роликов с ВВ затруднено, смещение производят только на винтовом или другом прессе.
5.4.4. Прибор с ВВ устанавливают на наковальню копра (черт. 1 приложения 1)н сбрасывают груз массой 10 кг, фиксируя при этом наличие или отсутствие взрыва.
5.4.5. Первоначальную высоту сбрасывания груза выбирают из значений, установленных в табл. 1, исходя из частости взрывов в приборе 2 (A’i), определенной в соответствии с требованиями п. 5.3.2.
Испытания проводят, сбрасывая груз массой 10 кг, до нахождения максимальной высоты, при которой из 25 испытании не происходит ни одного взрыва. Высоту сбрасывания груза выбира-
С. 7 ГОСТ 4545-88
ют нз следующего ряда: 50, 70, 100, 120, 150, 200, 250, 300, 400» 500 мм.
При наличии взрывов в 25 испытаниях при сбрасывании груза массой 10 кг с высоты 50 мм проводят в условиях разд. 5 испытания с грузом массой 2 кг, причем начинать испытания рекомендуется с высоты 200 мм.
5.5. Оформление результатов
5.5.1. При записи результатов указывают:
1) при испытаниях с грузом массой 10 кг; прибор, в котором проводили испытания и численное значение высоты сбрасывания груза (иапример: «Нижний предел чувствительности к удару в приборе 2 —… мм*);
2) при отсутствии взрывов в 25 испытаниях при сбрасывании груза массой J0 кг с высоты 500 мм: «Нижний предел чувствительности к удару в приборе 2 испытуемого ВВ равен или боле«-500 мм»;
3) при наличии взрывов в 25 испытаниях при сбрасывании груза массой 10 кг с. высоты 50 мм: «Нижний предел чувствительности к удару в приборе 2 испытуемого ВВ менее 50 мм»;
4) при испытаниях с грузом массой 2 кг: прибор, в котором проводили испытания, массу груза М и численное значение высоты сбрасывания груза (например: «Нижний предел чувствительности к удару в приборе 2 при М=2 кг—… мм»).
в МГТОД ОПРЕДЕЛЕНИЯ ЧАСТОСТИ ВЗРЫВОВ ТВЕРДЫХ ВВ В ПРИБОРЕ I
0.1. Порядок отбора проб—в соответствии с требованиями разд. 2.
6.2. Аппаратура, посуда, материалы и реактивы —в соответствии с требованиями разд. 3.
6.3. Подготовка аппаратуры к испытанию — в соответствии с требованиями разд. 4.
6.4. Проведение испытании
6.4.1. В поддон 1 прибора 1 (черт. 2 приложения 2) вкладывают муфту 2, в нее вставляют ролик 4 и на ролик помещают навеску испытуемого ВВ массой (0,050 ± 0,005) г.
На навеску ВВ осторожно устанавливают второй ролик 4 и , слегка прижимая и вращая два—три раза верхним роликом, разравнивают ВВ между роликами.
6.4.2. Затем прибор с ВВ устанавливают на наковальню копра (черт. 1 приложения 1) нсб’расывают груз массой 10 кг с высоты 250 мм._ фиксируя при этом наличие или отсутствие взрыва. Проводят 25 испытаний.
ГОСТ 4545-88 С 8
6.5. Обработка результатов
6.5.1. Частость взрывов в приборе 1 (Л’г) в процентах вычисляют по формуле
V _п,-100
* **’ 25 *
где л, — количество взрывов из проведенных 25 испытаний;
25 — количество проведенных испытаний.
6.5.2. Если частость взрывов в приборе 1 с грузом массой 10 кг будет получена 96—100 %, то испытания проводят с грузом массой 2 кг в условиях, приведенных в п. 6.4.
6.5.3. При записи результатов испытаний указывают:
1) при испытаниях с грузом массой 10 кг: прибор, в котором проводили испытания, и численное значение частости взрывов (например: «Частость взрывов в приборе 1 — … %»);
2) при испытаниях с грузом массой 2 кг: прибор, в котором
проводили испытания, массу груза М и численное значение частости взрывов (например: «Частость взрывов в приборе 1 при
М-2кг—… %>).
7. МЕТОД ОПРЕДЕЛЕНИЯ ЧАСТОСТИ ВЗРЫВОВ ЖИДКИХ ВВ В ПРИБОРЕ 3
7.1. Порядок отбора проб —в соответствии с требованиями разд. 2.
7.2. Аппаратура, посуда, материалы к реактивы — в соответствии с требованиями разд. 3.
7.3. Подготовка аппаратуры к испытанию— в соответствии с требованиями разд. 4.
7.4. Проведение испытания
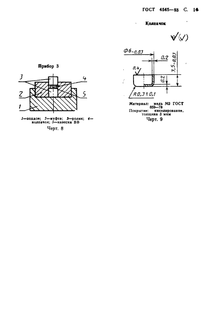
7.4.1. В поддон 1 прибора 3 (черт 8 приложения 2) вкладывают муфту 2, в нее вставляют ролик 3 и на середину ролика помещают колпачок 4, который затем заполняют на половину объема испытуемым ВВ.
7.4.2. Заполнение колпачка жидкими ВВ производят пипеткой или капельницей, пастообразными ВВ, способными растекаться,— шпателем.
Для заполнения колпачка на половину объема испытуемым ВВ колпачок предварительно тарируют, т. е.:
для жидких ВВ определяют количество капель ВВ. необходимое для полного (с выпуклым мениском) заполнения объема колпачка;
для пастообразных ВВ. способных растекаться, взвешиванием определяют массу ВВ, необходимую для полного заполнения объема колпачка (до краев колпачка, но без выпуклого мениска). Половина количества капель ВВ или половина массы ВВ, занимаю-
С. 9 гост 4548-И
щих полный объем колпачка, соответствует заполнению колпачка строго на половину его объема.
7.4.3. Затем на колпачок с ВВ осторожно помещают второй ролик, устанавливают прибор на наковальню копра (черт. 1 приложении I) и сбрасывают груз массой 10 кг с высоты 250 мм, фиксируя при этом наличие или отсутствие взрыва. Проводят 25 испытаний.
7.5. Обработка результатов
7.5.1. Частость взрывов в приборе 3 (Аз) в процентах вычисляют по формуле
У /ц-100
* ~2S— ’
где л:—количество взрывов из проведенных 25 испытаний;
25—количество проведенных испытаний.
7.5.2. Если частость взрывов в приборе 3 с грузом массой 10 кг будет получена 96—100 %, то испытания проводят с грузом массой 2 кг в условиях, установленных в п. 7.4
7.5.3. При записи результатов испытаний указывают:
1) при испытаниях с грузом массой 10 кг: прибор, в котором проводили испытания и численное значение частости взрывов (например: «Частость взрывов в приборе 3—… %»);
2) при испытаниях с грузом массой 2 кг: прибор, в котором проводили испытания, массу груза М и численное значение частости взрывов (например: «Частость взрывов в приборе 3 при М=2кг —… %»).
6. МЕТОД ОПРЕДЕЛЕНИЯ НИЖНЕГО ПРЕДЕЛА ЧУВСТВИТЕЛЬНОСТИ К УДАРУ ЖИДКИХ ВВ В ПРИБОРЕ 3
8.1. Порядок отбора проб — в соответствии с требованиями разд. 2.
8 2. Аппаратура, посуда, материалы и реактивы — в соответствии с требованиями разд. 3.
8.3 Подготовка аппаратуры к испытанию — в соответствии с требованиями разд. 4.
8.4. Проведение испытания
8.4.1. В поддон 1 прибора 3 (черт. 8 приложения 2) вкладывают муфту 2, в нее вставляют ролик 3 и на середину ролика помешают колпачок 4, который затем полностью заполняют ВВ.
8.4.2. Заполнение колпачка считают полным, если для жидких ВВ кочпачок заполнен с выпуклым мениском, а для пастообразных ВВ, способных растекаться до краев колпачка (без выпуклого мениск»).
8.4.3. Прибор с ВВ устанавливают на наковальню копра (черт. 1 приложения 1) и сбрасывают груз массой 10 кг. фиксируя при этом наличие или отсутствие взрыва.
ГОСТ 4545-W С. 10
|
8.4.4. Первоначальную высоту сбрасывания груза выбирают из значений, установленных в табл. 2, исходя из частости взрывов « приборе 3 (ЛГ*). определенной в соответствии с требованиями разд. 7. Таблица 2 |
||||||||||||||
|
Испытания проводят, сбрасывая груз массой 10 кг. до нахождения максимальной высоты, при которой из 25 испытаний не происходит ни одного взрыва. Высоту сбрасывания груза выбирают из следующего ряда: 50; 70; 100; 120; 150; 200; 250; 300; 400; 500 мм.
При наличии взрывов в 25 испытаниях при сбрасывании груза массой 10 кг с высоты 50 мм проводят в условиях разд. 8 испытания с грузом 2 кг, причем начинать испытания рекомендуется с высоты 200 мм.
8.5 Оформление результатов
Оформление результатов проводят в соответствии с требованиями п. 5.5.
9. ТРЕБОВАНИЯ БЕЗОПАСНОСТИ
9.1. Все работы с бризантными ВВ на предприятиях-пзготови-телях ВВ проводят в соответствии с требованиями действующих правил эксплуатации производств, утвержденных в установленном порядке, а на предприятиях-потребителях ВВ — в соответствии с правилами безопасности при взрывных работах, утвержденными Госгортехнадзором СССР.
9.2. Удаление ВВ из приборов после испытания проводят растворением в соответствующем растворителе. Механическое удаление ВВ из прибора не допускается.
9.3. Смещение муфт относительно роликов с ВВ после подпрес-совывання, а также выдавливание роликов нз муфт после испытания проводят только прессом за защитным устройством, предохраняющим испытателя от возможного взрыва и поражения осколками прибора. Аналогичное защитное устройство должен иметь и копер.
с. I! ГОСТ 4545—S8
ПРИЛОЖЕНИЕ 1 Рекояендуемое
|
Схема копра |
|
/—иакомдьи*; колоппа; 3-груа; •*-линейка: J-устровстжо для мцеплсвия я сСрасмагиам груза. ограничитель движения; 7-р*Лка эубчатэЯ; 0~радяко»иД |
яряСор.
Черт. 1
ГОСТ «13-88 С. 12
ПРИЛОЖЕНИЕ 2 Обязательное
Поддоя
Кб
Прибор I
|
поддон. I—чуфт»: 3— ■аасска ВВ; 4—рол «к Черт. 2 Муфта |
HRC, 61—0 Материал, сталь инструментальная углгро-ласта* во ГОСТ I«55—74 Черт. 3 Ролик |
с»
»•
•л
‘К
RO,?’-O.Ob
RQ.2-Q.Qb /
ФЮ-О.О*
О. в/
VV)
5ч фддв’О.о
|
\вП0.1 |
|
HRC, 57-61 Материал: сталь аисгрум’ятяльиая jrr-лероаиств* во ГОСТ 1435-74 Черт. 4 |
HRC, 61-G6 М*rtpanx: сталь шарикопод шипниковая по ГОСТ Ml—7U Черт. б |
С 13 ГОСТ 4M5-S8
|
Прибор 2 Положение муфты «канавка ■верх» |
Положение муфты «канавка ми» |
/-поддев; J-*уфгв; 3— marc** ВВ: «-ролик
Черт. б
Муфта
/.6
vV>
|
фд_дв*0.05 |
|
|
*1* |
|
HRC* 57-6!
Материал: сталь иворуиентвльаа* уг.1«-
рохкст*в во ГОСТ 14»—7*
Черт. 7
ГОСТ 4М5-&3 с. 14
Колпачок
vV)
Фб-а.ОЭ
|
Прибор 3 |
|
оовас«: ?— иуфт»: э—роли*: <— «ОЛ01Ч0К: HtDCCKI ВВ |
|
Матермя: m«*w М2 ГОСТ Х&-71 Покрытие: пкк’Лировшхе. толщина 3 мки |
Черт. 9
Черт. 8
С 15 ГОСТ 4645—М
ИНФОРМАЦИОННЫЕ ДАННЫЕ
1. УТВЕРЖДЕН И ВВЕДЕН В ДЕЙСТВИЕ Постановлением Государственного комитета СССР по стандартам от 10.09.88 ЛЬ 3175
2. Срок первой проверки 1993 г.
Периодичность проверки 5 лет.
3. ВВЕДЕН ВЗАМЕН ГОСТ 4545-80.
|
А. ССЫЛОЧНЫЕ НОРМАТИВНО-ТЕХНИЧЕСКИЕ ДОКУМЕН- |
||||||||||||
|
||||||||||||
Рсдактор Н. В. Бобксеа Технический редактор Л. А. Никитина Корректор Л. В. Мыяыкоя
•Сл*но % iufi. 20.10.88 Иодп. п псч. 08.12.88 ».0 уел. псч. л. 1.0 уел. кр.-огг. 0.9» уч.-пад. д. Тираж АООО Цои» 5 коп.
Орле я» сЗн«к Пс*«т*» Издательство стандарт®». 123840. Москва. ГСП. НоаопрсснеххкА пер.. 3.
К*луже*в« т»поерв|1>11Я стандартов. ул. .Ч«*овская. 2S6. Зах. 2339
Группа JI79
Изменение № 1 ГОСТ 4545 — 88 Венества взрывчатые бризантные. Методы определения характеристик чувствительности к удару Принято Межгосударственным Советом по стандартизации, метрологии и сертификации (протокол № 13 от 28.0S.98)
Зарегистрировано Техническим секретариатом МГС N? 2934
|
За принятие изменения проголосовали: |
||||
|
Вводную часть изложить в новой редакции:
«Настоящий стандарт распространяется на бризантные взрывчатые вещества (ВВ) и устанавливает методы определения характеристик чувствительности к удару:
(Продолжение см. с. 96)
(Продолжение изменения № I к ГОСТ 4545-88)
нижнего предела чувствительности к удару твердых ВВ на приборе 2; частости взрывов твердых ВВ в приборе 1 — только для ВВ, нижний предел чувствительности к удару грузом массой 10 кг которых составляет 50 мм и более;
частости взрывов жидких ВВ в приборе 3;
нижнего предела чувствительности к удару жидких ВВ в приборе 3». Пункт 2.2. Второй абзац изложить в новой редакции: «Гранулированные, чешу ирова иные, прессованные и литьевые ВВ измельчают в агатовой, яшмовой, халцедоновой или деревянной ступке пестиками, изготовленными из таких же материалов. Эластичные ВВ измельчают развальцовыванисм их до толщины от 0,3 до 1.0 мм с последующим разрезанием на деревянной поверхности остро отточенным ножом на кусочки, размер стороны которых не более 1 мм*.
Раздел 3. Двенадцатый абзац изложить в новой редакции:
«Партия приборов должна состоять из приборов одной конструкции и включать в себя не менее 500 роликов, не менее 25 поддонов и не менее 100 муфт».
Пункт 5.4.2 дополнить словами:
«ВВ, содержащие волу или растворители в количестве 3 % и более (по массе), не подпрессовываюг».
(ИУС № 2 1999 г.)



