Изделия огнеупорные. Метод определения температуры деформации под нагрузкой

Страница 1

Страница 2

Страница 3

Страница 4

Страница 5

Страница 6

Страница 7

Страница 8

Страница 9

Страница 10

Страница 11

Страница 12

Страница 13

Страница 14

Страница 15
ГОСТ 4070-2000
(ИСО 1893-89)
МЕЖГОСУДАРСТВЕННЫЙ СТАНДАРТ
ИЗДЕЛИЯ ОГНЕУПОРНЫЕ
Метод определения температуры
деформации под нагрузкой
МЕЖГОСУДАРСТВЕННЫЙ СОВЕТ
ПО СТАНДАРТИЗАЦИИ, МЕТРОЛОГИИ И СЕРТИФИКАЦИИ
Минск
Предисловие
1 РАЗРАБОТАН МТК 9 ОАО «Санкт-Петербургский институт огнеупоров» (ОАО «СПбИО»)
ВНЕСЕН Госстандартом России
2 ПРИНЯТ Межгосударственным Советом по стандартизации, метрологии и сертификации (протокол № 17-2000 от 22 июня 2000 г.)
За принятие проголосовали:
|
Наименование государства |
Наименование национального органа по стандартизации |
|
Азербайджанская Республика |
Азгосстандарт |
|
Республика Армения |
Армгосстандарт |
|
Республика Беларусь |
Госстандарт Республики Беларусь |
|
Республика Казахстан |
Госстандарт Республики Казахстан |
|
Киргизская Республика |
Киргизстандарт |
|
Российская Федерация |
Госстандарт России |
|
Республика Таджикистан |
Таджикстандарт |
|
Туркменистан |
Главгосинспекция «Туркменстандартлары» |
|
Республика Узбекистан |
Узгосстандарт |
|
Украина |
Госстандарт Украины |
3 Приложение А к настоящему стандарту представляет собой аутентичный текст международного стандарта ИСО 1893-89 «Огнеупорные изделия. Определение деформации под нагрузкой. Дифференциальный метод измерения при возрастающей температуре»
4 Постановлением Государственного комитета Российской Федерации по стандартизации и метрологии от 9 октября 2000 г. № 254-ст межгосударственный стандарт ГОСТ 4070 введен в действие непосредственно в качестве государственного стандарта Российской Федерации с 1 июня 2000 г.
5 ВЗАМЕН ГОСТ 4070-83
Содержание
|
1 Область применения |
|
2 Нормативные ссылки |
|
3 Определения |
|
4 Сущность метода |
|
5 Аппаратура |
|
6 Образец для испытания |
|
7 Порядок проведения испытания |
|
8 Обработка результатов |
|
9 Протокол испытания |
|
Приложение А Дифференциальный метод измерения деформации огнеупорных изделий под нагрузкой при возрастающей температуре (ИСО 1893-89). |
МЕЖГОСУДАРСТВЕННЫЙ СТАНДАРТ
ИЗДЕЛИЯ ОГНЕУПОРНЫЕ
Метод определения температуры деформации под нагрузкой
Refractory products.
Method for determination of refractoriness-under-load
Дата введения 2001-06-01
1 Область применения
Настоящий стандарт устанавливает метод определения температуры деформации под нагрузкой огнеупорных изделий с общей пористостью менее 45 %.
Стандарт не распространяется на теплоизоляционные огнеупорные изделия.
Допускается проводить определение по международному стандарту ИСО 1893, приведенному в приложении А, если это оговорено в нормативном документе или контракте.
2 Нормативные ссылки
В настоящем стандарте использованы ссылки на следующие стандарты: ГОСТ 166-89 (ИСО 3599-76) Штангенциркули. Технические условия ГОСТ 5378-88 Угломеры с нониусом. Технические условия ГОСТ 6672-75 Стекла покровные для микропрепаратов. Технические условия ГОСТ 7164-78 Приборы автоматические следящего уравновешивания ГСП. Общие технические условия
ГОСТ 8179-98 (ИСО 5022-79) Изделия огнеупорные. Отбор образцов и приемочные испытания ГОСТ 8335-81 Пирометры визуальные с исчезающей нитью. Общие технические условия ГОСТ 28874-90 Огнеупоры. Классификация
3 Определения
В настоящем стандарте применяют следующие термины с соответствующими определениями.
3.1 деформация под нагрузкой: Относительное изменение высоты огнеупорного образца при совместном воздействии механической нагрузки, повышающейся температуры и времени.
3.2 теплоизоляционные огнеупорные изделия: Изделия с общей пористостью 45 % и выше (ГОСТ 28874).
4 Сущность метода
Образец подвергают действию сжимающей и тепловой нагрузки и регистрируют температуры, соответствующие определенной степени деформации.
5 Аппаратура
5.1 Электрическая вертикальная трубчатая печь сопротивления с воздушной атмосферой, диаметром рабочего пространства и высотой зоны наивысшей температуры не менее 100 мм, обеспечивающая подъем температуры с заданной скоростью. Перепад температур по высоте зоны не должен превышать 10 °С. Для измерения температуры применяется горизонтальная визирная трубка на уровне середины высоты зоны.
5.2 Нагружающее устройство, состоящее из верхнего и нижнего штемпелей, двух прокладок и системы грузов.
Устройство должно обеспечивать приложение нагрузки перпендикулярно основанию образца с погрешностью ±1 Н.
Диаметр штемпелей и прокладок 50-75 мм. Толщина нижней прокладки (10±1) мм, верхней — 9-15 мм. Разность толщин прокладок в двух диаметрально противоположных точках не должна превышать 0,2 мм.
Детали устройства, работающие в зоне высоких температур (штемпели и прокладки), не должны деформироваться при температуре испытания под нагрузкой, соответствующей давлению (0,20±0,01) Н/мм2. Это проверяется при холостом пуске установки с помощью образца — цилиндра высотой и диаметром (50±1) мм, изготовленного из того же материала, что и нагрузочные штемпели.
5.3 Устройство для измерения деформации, обеспечивающее измерение высоты образца с точностью до 0,01 мм.
5.4 Устройства для измерения температуры
5.4.1 Термопара по нормативной документации с измерительным прибором класса 0,5 по ГОСТ 7164 или другой нормативной документации (НД).
5.4.2 Пирометр любого типа с основной погрешностью измерения ±20 °С в интервале температур 1200-1800 °С по ГОСТ 8335 или другой НД.
5.5 Штангенциркуль по ГОСТ 166 или другой измерительный инструмент с допускаемой точностью измерения линейных размеров ±0,1 мм по НД.
5.6 Угломер по ГОСТ 5378. Допускается применять шаблон, обеспечивающий измерение угла с погрешностью не более 0,5 %.
5.7 Шкаф сушильный с температурой не ниже 110 °С по НД.
5.8 Весы технические с погрешностью ±0,1 г по НД.
6 Образец для испытания
6.1 Для испытания отбирают одно изделие в соответствии с ГОСТ 8179 и вырезают образец, ось которого должна совпадать с направлением усилия прессования изделия,
6.2 При изготовлении образца допускается применять охлаждающую жидкость, не реагирующую с материалом образца (вода, керосин и т. д.).
6.3 Образец высушивают до постоянной массы. Массу считают постоянной, если результат последующего взвешивания, проведенного через 1 ч сушки, отличается от предыдущего не более чем на 0,1 %.
6.4 Образец должен быть в форме цилиндра высотой (50±1) мм и диаметром (36±1) мм, если в нормативной документации на огнеупорные изделия не предусмотрены образцы других размеров.
6.5 Основания цилиндра должны быть взаимно параллельными и перпендикулярными оси цилиндра. Угол между основанием и образующей цилиндра должен быть (90±0,5) °С.
6.6 Разность высот образца в двух диаметрально противоположных точках не должна превышать 0,2 мм.
6.7 На поверхности образца не должно быть видимых дефектов.
7 Порядок проведения испытания
7.1 Образец устанавливают в печь на нижний штемпель на высоте середины зоны наивысшей температуры так, чтобы ось образца совпадала с вертикальной осью трубы печи и обоих штемпелей. Затем устанавливают верхний штемпель. Между образцом и штемпелями помещают прокладки из того же материала, что и штемпели.
7.2 К образцу прикладывают нагрузку, соответствующую давлению (0,20±0,01) Н/мм2.
Примечание — При испытании муллитовых огнеупорных изделий для кладки лещади доменных печей давление устанавливают (0,40±0,01) Н/мм2.
7.3 При измерении температуры термопару вводят в печь в защитном чехле вдоль верхнего нагрузочного штемпеля или перпендикулярно ему через визирную трубку так, чтобы спай термопары находился на уровне середины высоты образца на расстоянии не более 10 мм от его боковой поверхности.
При измерении температуры пирометром наружный конец визирной трубки должен быть закрыт специальной оправкой с покровным стеклом по ГОСТ 6672.
Допускается применять призму с полным внутренним отражением, при этом в отсчеты по пирометру вносят поправки на призмы и стекло, установленные их предварительной градуировкой.
7.4 Образец нагревают до температуры 800 °С со скоростью не более 10 °С/мин, при температуре свыше 800 °С — со скоростью 4-5 °С/мин.
7.5 Во время испытания после достижения 800 °С температуру и расширение образца регистрируют каждые 10 мин, при достижении максимального расширения образца показания регистрируют каждые 3-5 мин до окончания испытания. Затем печь отключают и снимают нагрузку с образца.
8 Обработка результатов
8.1 Образец после охлаждения подвергают внешнему осмотру. Результаты испытания считают недействительными, если при осмотре обнаружены:
— неправильная грибовидная форма образца, вызванная смещением зоны наивысшей температуры;
— одностороннее оплавление или другие признаки неравномерного нагрева образца;
— перекос образца из-за несоосного нагружения.
8.2 По данным, полученным в ходе проведения испытания, строят диаграмму зависимости изменения высоты (деформации) образца DL от температуры, приведенную на рисунке 1.
Рисунок 1 — Диаграмма «температура — деформация»
Примечание — При испытаниях серийной продукции допускается не строить диаграмму «температура — деформация», а вносить в протокол испытания полученные численные значения.
8.3 На диаграмме и в журнале испытаний отмечают:
— tmax,температуру, соответствующую максимальному расширению образца;
— t0,6, температуру начала размягчения, соответствующую уменьшению высоты образца на 0,3 мм (0,6 %) от максимального расширения;
— t4, температуру, соответствующую уменьшению высоты образца на 2 мм (4 %) от максимального расширения;
— tразр, температуру, соответствующую разрушению образца.
Результат измерения температуры округляют до второй значащей цифры, например температуру 1484 °С записывают 1480 °С.
8.4 При испытаниях образцов высотой менее 50 мм за t0,6 и t4 принимают температуру, при которой показания измерителя деформации в миллиметрах меньше максимально достигнутого расширения соответственно на 0,6 и 4 % от исходной высоты образца.
8.5 Расхождение двух параллельных определений в одной лаборатории не должно превышать ±20 °С.
9 Протокол испытания
9.1 Результаты испытания записывают в протокол, в котором указывают:
— обозначение настоящего стандарта;
— место и дату испытания;
— наименование и марку изделия или материала;
— результаты испытания: t0,6, t4 или tразр;
— подпись исполнителя.
ПРИЛОЖЕНИЕ А
(рекомендуемое)
Дифференциальный метод измерения деформации огнеупорных изделий под нагрузкой при возрастающей температуре (ИСО 1893-89)
А.1 Область применения
Настоящий стандарт устанавливает метод определения деформации плотных и теплоизоляционных огнеупорных изделий, подвергнутых воздействию постоянной нагрузки в условиях постепенного повышения температуры (деформация под нагрузкой) — дифференциальный метод при повышающейся температуре. Максимальная температура испытания -1700 °С.
А.2 Нормативные ссылки
В настоящем стандарте использованы ссылки на следующие стандарты:
ИСО 3187-89 Изделия огнеупорные. Определение ползучести при сжатии
МЭК 584-1-77 Термопары. Часть 1. Справочные таблицы
МЭК 584-2-82 Термопары. Часть 2. Допуски
ИСО 3599-76 Штангенциркуль с точностью до 0,1 и 0,05 мм
ИСО 5016-97 Теплоизоляционные огнеупорные изделия. Определение кажущейся плотности и истинной пористости
ИСО 5017-88 Плотные огнеупорные изделия. Определение кажущейся плотности, открытой и общей пористости
А.3 Определения
А.3.1 В настоящем стандарте применяют следующие термины с соответствующими определениями:
А.3.1.1 деформация под нагрузкой: Поведение огнеупорного изделия, подвергнутого объединенному воздействию нагрузки, повышающейся температуры и времени.
А.3.1.2 теплоизоляционные огнеупорные изделия: Изделия с общей пористостью свыше 45 % (по объему), определяемой по ИСО 5016.
А.3.1.3 плотные огнеупорные изделия: Огнеупорные изделия с общей пористостью не более 45 % (по объему), определяемой по ИСО 5017.
А.4 Сущность метода
Образец цилиндрической формы подвергают действию постоянной сжимающей нагрузки, одновременно нагревая его с определенной скоростью повышения температуры до тех пор, пока не произойдет заданная деформация, и регистрируют температуры, соответствующие определенной степени деформации.
А.5 Аппаратура
А.5.1 Печь
Печь (предпочтительно вертикальная) с воздушной атмосферой, обеспечивающая повышение температуры образца с заданной скоростью до конечной температуры испытания. Температура в зоне печи, в которую помещают образец (на расстоянии 12,5 мм выше и ниже образца), после достижения 500 °С должна быть равномерной в пределах ±20 °С. Это должно быть проверено во время проведения испытания с помощью термопар, помещенных в разных точках боковой поверхности образца.
Примечание — Конструкция печи должна обеспечивать доступ к опорам перемещением неподвижной опоры или самой печи.
Сборка должна давать возможность устанавливать образец и нагружающую опору в вертикальное положение для обеспечения соосности с неподвижной опорой в ненагруженном состоянии.
А.5.2 Нагружающее устройство
А.5.2.1 Общие положения
Нагружающее устройство (А.5.2.2-А.5.2.5) должно обеспечивать приложение нагрузки по обшей оси нагружающей (подвижной) опоры, образца и неподвижной опоры.
Прилагаемая нагрузка должна быть направлена вертикально вдоль этой оси в направлении сверху вниз к испытуемому образцу на всех этапах испытания.
Деформацию испытуемого образца измеряют с помощью измерительного устройства (дилатометра), проходящего через нагружающую опору или середину неподвижной опоры.
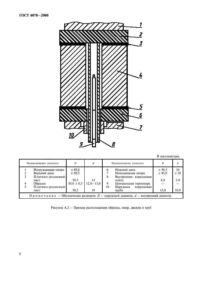
Измерительное устройство, проходящее через неподвижную опору, приведено на рисунках А.1 и А.2. Измерительное устройство, проходящее через нагружающую опору (рисунок А.3), получают заменой опоры и огнеупорной плиты со сквозными отверстиями на опору и плиту без отверстий.
1 — нагружающая опора; 2 — диск; 3 — центральная термопара; 4 — контрольная термопара; 5 — образец; 6 — диск; 7- внутренняя корундовая труба; 8- наружная корундовая труба; 9- неподвижная опора; 10- измерительный инструмент
Рисунок А. 1 — Измерительное устройство, проходящее через неподвижную опору
