Трансформаторы силовые. Методы электромагнитных испытаний
Заменяет

Страница 1

Страница 2

Страница 3

Страница 4

Страница 5

Страница 6

Страница 7

Страница 8

Страница 9

Страница 10

Страница 11

Страница 12

Страница 13

Страница 14

Страница 15

Страница 16

Страница 17

Страница 18

Страница 19

Страница 20

Страница 21

Страница 22

Страница 23

Страница 24

Страница 25

Страница 26

Страница 27

Страница 28

Страница 29

Страница 30

Страница 31

Страница 32

Страница 33

Страница 34

Страница 35

Страница 36

Страница 37

Страница 38

Страница 39

Страница 40
ГОСТ 3484.1-88 (СТ СЭВ 1070-78)
Группа Е69
ГОСУДАРСТВЕННЫЙ СТАНДАРТ СОЮЗА ССР ТРАНСФОРМАТОРЫ СИЛОВЫЕ Методы электромагнитных испытаний Power transformers. Electromagnetic test methods
ОКП 34 1000
Дата введения 1990-01-01
ИНФОРМАЦИОННЫЕ ДАННЫЕ
1. РАЗРАБОТАН И ВНЕСЕН Министерством электротехнической промышленности СССР
ИСПОЛНИТЕЛИ
В.В.Боднар, канд. техн. наук (руководитель темы); В.Л.Береза, канд. техн. наук; И.Б.Григоров, канд. техн. наук
2. УТВЕРЖДЕН И ВВЕДЕН В ДЕЙСТВИЕ Постановлением Государственного комитета СССР по стандартам от 30.08.88 N 3051
3. Срок проверки — 1994 г.; периодичность проверки — 5 лет
4. Стандарт полностью соответствует СТ СЭВ 1070-78
5. Стандарт полностью соответствует международному стандарту МЭК 76-1-76
6. ВЗАМЕН ГОСТ 3484-77 в части разд. 1-7
7. ССЫЛОЧНЫЕ НОРМАТИВНО-ТЕХНИЧЕСКИЕ ДОКУМЕНТЫ
|
Обозначение НТД, на который дана ссылка |
Номер пункта, приложения |
|
ГОСТ 8.207-76 ГОСТ 11677-85 |
Приложения 1 и 2 Вводная часть; 1.6 |
ВНЕСЕНО Изменение N 1, утвержденное и введенное в действие Постановлением Госсстандарта СССР от 15.05.91 N 687 с 01.11.91 и опубликованное в ИУС N 8, 1991 год
Изменение N 1 внесено юридическим бюро «Кодекс» по тексту ИУС N 8, 1991 год
Настоящий стандарт распространяется на силовые трансформаторы общего назначения по ГОСТ 11677-85 и устанавливает методы проверки коэффициента трансформации и группы соединения обмоток, измерения сопротивления обмоток постоянному току, измерения потерь и напряжения короткого замыкания, потерь и тока холостого хода, сопротивления нулевой последовательности.
Методы испытаний, установленные настоящим стандартом, применяют также для трансформаторов специального назначения, если применение данных методов предусмотрено стандартами или техническими условиями на эти трансформаторы.
Требования настоящего стандарта являются обязательными.
(Измененная редакция, Изм. N 1).
1. ОБЩИЕ ПОЛОЖЕНИЯ
1.1. Трансформаторы испытывают на аттестованных измерительных стендах. Ток и напряжение следует измерять приборами класса точности не ниже 0,5, частоту — не ниже 1,0. Класс точности измерительных трансформаторов должен быть не ниже 0,2. Допускается использовать измерительные трансформаторы тока класса точности 0,5 при условии обязательного внесения поправок, учитывающих угловые погрешности трансформаторов тока, согласно приложению
4, для измерения:
потерь холостого хода трансформаторов мощностью до 6300 кВА напряжением до 35 кВ включительно;
потерь короткого замыкания трансформаторов мощностью до 2500 кВ А включительно.
(Измененная редакция, Изм. N 1).
1.2. Трансформаторы испытывают с установленными на них деталями и наружными вспомогательными устройствами, которые могут оказать влияние на результаты испытаний трансформатора.
1.3. Температура окружающего воздуха при испытаниях должна быть от 10 до 40 °С.
1.4. При испытаниях трансформаторов с негорючим жидким диэлектриком применяют методы, установленные для масляных трансформаторов, если в стандартах или технических условиях на указанные трансформаторы не установлены специальные методы испытаний.
1.5. Измерение потерь и тока холостого хода следует проводить после испытания электрической прочности изоляции.
1.6. Выбор трансформаторов для испытаний — по ГОСТ 11677-85.
2. ПРОВЕРКА КОЭФФИЦИЕНТА ТРАНСФОРМАЦИИ
2.1. Общие требования
2.1.1. Коэффициент трансформации определяют на всех ответвлениях обмоток для всех фаз, причем на ответвлениях обмоток, недоступных для переключения на собранном трансформаторе, его определяют до полной сборки трансформатора.
При испытании трехобмоточных трансформаторов и трансформаторов с расщепленными обмотками коэффициент трансформации достаточно проверить для двух пар обмоток, причем измерения на всех ответвлениях каждой из обмоток достаточно провести один раз.
2.1.2. Если устройство переключения ответвлений обмоток имеет предызбиратель ответвлений, которым проводят реверсирование регулировочной части обмотки или переключение грубых ступеней регулирования, то измерения допускается проводить при одном положении предызбирателя ответвлений, соответствующем меньшему из значений напряжений на регулируемой обмотке. При этом дополнительно проводят по одному измерению на всех других положениях предызбирателя ответвлений.
2.1.3. При испытании трехфазных трансформаторов при трехфазном возбуждении измеряют линейные напряжения, соответствующие одноименным линейным зажимам проверяемых обмоток. При возможности измерения фазных напряжений допускается определять коэффициент трансформации по фазным напряжениям соответствующих фаз. Коэффициент трансформации по фазным напряжениям проверяют при однофазном или трехфазном возбуждении трансформатора.
При испытании трехфазных трансформаторов с обмотками, соединенными по схемам «звезда-треугольник» и «треугольник-звезда», коэффициент трансформации по фазным напряжениям определяют при поочередном коротком замыкании фаз. При этом одну из соединенных в «треугольник» фаз (например фазу А) замыкают, затем при однофазном возбуждении линейных концов определяют коэффициент трансформации оставшейся свободной пары фаз,
который при данном методе должен быть равным 2 (если обмотка ВН соединена в «звезду») и 0,5 (если обмотка НН соединена в «звезду»), где
TT- ■MTI
Аа = yt- — фазный коэффициент трансформации. Аналогично проводят
Ф ^ННф
измерения при коротком замыкании фаз В и С.
При испытании трансформаторов с теми же схемами соединения обмоток допускается проводить измерения при трехфазном возбуждении, если установлено, что отличие наибольшего и наименьшего линейных напряжений не превышает 2%.
2.2. Выполнение измерений
2.2.1. Коэффициент трансформации определяют при помощи специального моста или при помощи двух вольтметров. Измерение коэффициента трансформации при помощи моста предпочтительно.
2.2.2. При измерениях специальным трехфазным или однофазным мостом (или компенсационной установкой) обеспечивают отсчет коэффициента трансформации с точностью не менее четырех значащих цифр, а при непосредственном измерении погрешности коэффициента трансформации — с точностью не менее двух значащих цифр.
2.2.3. При помощи двух вольтметров измерения проводят следующим образом. К одной из обмоток трансформатора подводят напряжение и измеряют его одним из вольтметров. Одновременно другим вольтметром измеряют напряжение на другой обмотке трансформатора. Измерения следует проводить вольтметрами класса не ниже 0,2.
Допускается применять измерительные трансформаторы напряжения, а также внешние добавочные резисторы к вольтметрам. Класс точности трансформаторов напряжения и добавочных резисторов — не ниже 0,2. Подводимое напряжение не должно превышать номинальное напряжение трансформатора, но не должно быть менее 1% номинального. Подводить напряжение менее 1% номинального допускается в случае, если при подведении напряжения свыше 1% номинального требуется применять трансформатор напряжения. Вольтметр на стороне подводимого напряжения допускается присоединять к питающим проводам, если это практически не отразится на точности измерений. При измерении коэффициента трансформации сопротивление проводов измерительной цепи должно составлять не более 0,001 внутреннего сопротивления вольтметра.
При проверке коэффициента трансформации при помощи двух вольтметров для каждого первого образца трансформатора следует рассчитать
доверительную границу неискпюченных погрешностей средств измерений в
соответствии с приложением 1.
При обеспечении электрически синхронизированного отсчета показаний вольтметров допускается применять электронные измерительные устройства класса точности не ниже 0,5.
3. ПРОВЕРКА ГРУППЫ СОЕДИНЕНИЯ ОБМОТОК
3.1. Выполнение измерений
3.1.1. Группу соединения обмоток трансформатора проверяют одним из следующих способов: прямым при помощи фазометра, при помощи моста, при помощи двух вольтметров, постоянным током.
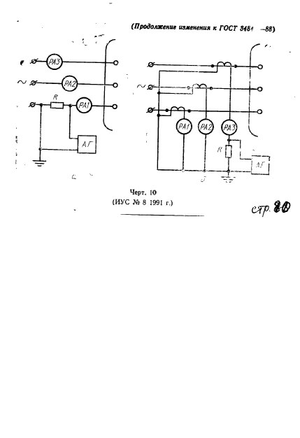
3.1.2. При выполнении измерений прямым способом (фазометром) последовательную обмотку однофазного фазометра присоединяют через резистор к зажимам одной из обмоток, а параллельную обмотку — к одноименным зажимам другой обмотки испытуемого трансформатора в соответствии с черт.1.
— фазометр; А, В, С, а, Ь, с- зажимы испытуемого трансформатора
R — регулируемый резистор:
Черт.1
К одной из обмоток испытуемого трансформатора подводят трехфазное напряжение, достаточное для нормальной работы фазометра. Рекомендуется применять четырехквадрантный фазометр. По измеренному угловому смещению ЭДС в соответствии с таблицей определяют группу соединений. Следует проводить не менее двух измерений (для двух пар соответствующих линейных зажимов). Полную схему (с фазометром) перед измерениями проверяют при заранее известной группе соединения, соответствующей проверяемой. При определении группы соединений рекомендуется применять специальный прибор -группомер, представляющий собой электронный или логометрический фазометр, проградуированный непосредственно в числах, характеризующих группу соединения в часовом обозначении.
3.1.3. Группу соединений при помощи моста проверяют одновременно с измерением коэффициента трансформации при помощи того же трехфазного или однофазного измерительного моста.
3.1.4. Для проверки группы соединений трансформаторов при помощи двух вольтметров соединяют зажимы А и а (см. черт.2) испытуемого трансформатора. К одной из обмоток подводят напряжение и измеряют напряжение между зажимами х — X \ — при испытании однофазных трансформаторов в соответствии с черт.2а, и зажимами в-В, e-С, с-В — при испытании трехфазных
трансформаторов в соответствии с черт.2б. Измеренные напряжения ,
Ufr-C, &с-В или ^х-Х сРавнивают с соответствующими расчетными
напряжениями, рассчитанными по формулам в соответствии с таблицей (в формулы подставляется измеренное в соответствии с требованиями разд.2
значение линейного коэффициента трансформации Кп).
Для однофазных трансформаторов
Для трехфазных трансформаторов
PV1, PV2 — вольтметры; А, В, С,\а \ б, с, а , Ь’, с’-зажимы; TV- трансформаторы
напряжения
Черт.2
При определении группы соединений трансформаторов с Кп>20 применение измерительных трансформаторов напряжения обязательно, при этом в формулы
у-
tj- TJ-/
таблицы вместо Ал подставляют значения =
где К-
TV
TV
коэффициент трансформации трансформатора напряжения.
Группу соединений следует считать правильной, если отклонения измеренных в соответствии с черт.2 напряжений от рассчитанных по формулам таблицы не превышают ±3%.
3.1.5. При помощи постоянного тока определяют группу соединений однофазных трансформаторов, трехфазных трансформаторов со схемой
соединения обмоток Уд /Уд и со схемой соединения обмоток Д/Д, когда
соединение в «треугольник» выполняется вне бака трансформатора.
Группу соединений определяют по схеме черт.З путем поочередной проверки полярности зажимов А ~ X и а ~ х вольтметром магнитоэлектрической
системы PV, имеющим соответствующие пределы измерения (к зажимам А ~ Х\ подводится напряжение постоянного тока от 2 до 12 В). Полярность зажимов А ~ X устанавливают при включении тока, затем вольтметр отсоединяют, не отсоединяя питающие провода, и присоединяют его к зажимам а ~ X. Полярность зажимов а ~ х устанавливают в момент включения и отключения тока. Если полярность зажимов а ~ х при включении тока окажется одинаковой с
полярностью зажимов А-Х, а при отключении — разной, то трансформатор относят к группе соединений 0, в противном случае — к группе соединений 6.
4. ИЗМЕРЕНИЕ СОПРОТИВЛЕНИЯ ОБМОТОК ПОСТОЯННОМУ ТОКУ
4.1. Общие требования
4.1.1. Сопротивление обмоток постоянному току измеряют способом падения напряжения (допустимо сравнением с падением напряжения на резисторе, сопротивление которого известно) или при помощи моста. Значение постоянного тока при измерениях, как правило, не должно превышать 0,2 номинального тока нагрузки.
Группа соединения
Угло
вое
сме-
ще-
ние
ЭДС
Возможные соединения обмоток
Vb-B
№х-Х)
Векторная диаграмма линейных ЭДС
УУ, ДД
0
5
30°
УД, ДУ
W
5
150°
УД, ДУ
ил-ф+43‘Кх+х1
zl-m + k:
6
180°
УУ, ДД
Ux’Jl + Xn+zjl
7
210°
УД, ДУ
ил—£ОГк~ч£
\7к1
11
330°
УД, ДУ
&
zl-m + k:
С
Кл — линейный
Измерения длительностью до 60 с допускается проводить при значениях тока от 0,2 до 0,5 номинального тока нагрузки. При измерении сопротивления одной обмотки другие обмотки должны быть разомкнуты.
4.1.2. Сопротивление следует измерять на всех ответвлениях обмоток (при всех положениях устройства переключения ответвлений). Если это устройство имеет предызбиратель, предназначенный для реверсирования регулировочной части обмотки или переключения грубых ступеней регулирования, то измерения проводят при одном положении предызбирателя ответвлений. Дополнительно проводят по одному измерению сопротивлений на каждом из других положений предызбирателя ответвлений.
4.1.3. При измерении линейных сопротивлений и при наличии зажимов нейтрали измеряют также одно из фазных сопротивлений (между зажимом нейтрали и одним из линейных зажимов). В такой схеме допускается измерять только фазные сопротивления, но при условии, что сопротивление отвода нейтрали не превышает 2% фазного сопротивления обмотки.
4.1.4. Установившимся показанием прибора следует считать показание, которое изменяется не более чем на 1% отсчитанного значения в течение не менее 30 с.
4.1.5. В качестве источника питания в опыте используют аккумуляторные батареи, емкость которых должна быть достаточной для стабильного поддержания напряжения и тока в процессе измерений. Допускается применять в качестве источника питания выпрямительные устройства с пульсацией напряжения на выходе не более 1%.
4.1.6. Сопротивления обмоток постоянному току следует измерять при помощи приборов классов точности не ниже 0,5.
4.2. Измерения способом падения напряжения
4.2.1. При измерениях способом падения напряжения в зависимости от измеряемого сопротивления выбирают одну из схем измерения в соответствии с черт.4.
Г
|
Черт.4 |
4.2.2. При измерениях сопротивлений (менее 10 Ом) провода цепи вольтметра присоединяют к зажимам трансформатора непосредственно в соответствии с черт.4а. Если при этом расчетное значение измеряемого сопротивления составляет 0,5% и более сопротивления вольтметра, то значение определяемого сопротивления (г_) в омах рассчитывают по формуле
г=г’-—^-т-, (1)
1- —
‘V
где | /’■’ — сопротивление, вычисляемое по измеренным значениям тока и напряжения, Ом;
Гу — сопротивление вольтметра, Ом.
Примечание. Сопротивление проводов в цепи вольтметра должно быть не более 0,5% ■
4.2.3. Сопротивление более 10 Ом измеряют по схеме, указанной на черт.46. Если сопротивление амперметра и подводящих проводов, соединяющих зажимы амперметра и трансформатора, составляет более 0,5% значения измеряемого сопротивления, то после расчета общего сопротивления цепи из него вычитают сопротивление амперметра и подводящих проводов.
4.2.4. С целью предохранения вольтметра в переходных процессах от повреждения его включают кнопкой при установившемся значении тока, а отключают до отключения тока. Измерения проводят при установившихся показаниях приборов.
4.2.5. Для сокращения времени установления тока применяют схему, приведенную на черт.4в. Время установления тока в измерительной цепи сокращают путем кратковременного форсирования тока замыканием резистора [i?j Сопротивление резистора берут в 5-10 раз больше измеряемого сопротивления обмотки. Резистор вводят в цепь при отключенном вольтметре.
С целью сокращения времени установления тока при измерении сопротивления рекомендуется применять (когда это допускается конструкцией трансформатора) схемы соединения обмоток, при которых не создаются потоки, замыкающиеся по магнитной системе трансформатора.
4.2.6. При измерениях сопротивлений обмоток способом падения напряжения для каждого первого образца трансформатора оценивают доверительную границу неискпюченных погрешностей средств измерений в соответствии с приложением 2.
4.3. Измерения при помощи моста
4.3.1. Измерения при помощи моста выполняют в соответствии с инструкцией на используемый измерительный мост постоянного тока. Измерение сопротивлений менее 0,0001 Ом следует выполнять при помощи двойного измерительного моста или другого метода, равноценного по точности.
4.4. Определение температуры обмотки
4.4.1. При измерении сопротивления обмотки отмечают ее температуру.
4.4.2. Температуру обмоток масляных трансформаторов принимают равной, температуре верхних слоев масла, если заполненный маслом, трансформатор находится в нерабочем состоянии не менее 20 ч, и температуре средних слоев масла, если трансформатор находится в нерабочем состоянии не менее 3 ч. Температуру средних слоев масла определяют как полусумму температур верхних и нижних слоев.
4.4.3. Температуру обмотки трансформатора определяют также по результатам измерения сопротивления обмотки в данном нагретом состоянии трансформатора, если в другом его состоянии известны сопротивления обмотки и ее температура.
Для пересчетов температур и сопротивлений обмотки следует пользоваться отношением
= Т+02 (2) % t + u
где и ©21 — температуры обмотки, при которых измерялось ее
сопротивление, °С;
/© — измеренные сопротивления обмотки при температурах 0[ и
г®!
соответственно, Ом;
Т -температура, равная 235 °С для обмоток из меди и 225 °С — из алюминия.
4.4.4. Для масляных трансформаторов мощностью до 1 MBA, не включавшихся и не подвергавшихся нагреву, за температуру обмотки принимают температуру верхних слоев масла, при условии, что измерения проводят не ранее чем через 30 мин после заливки. Для трансформаторов с герметичным баком допускается за температуру верхних слоев масла принимать температуру масла, измеренную в емкости, из которой проводят заливку, с учетом поправки на остывание масла.
4.4.5. Для сухих трансформаторов и активных частей трансформаторов, не подвергавшихся нагреву и находящихся не менее 20 ч в помещении с неизменной температурой воздуха (с предельный отклонением 3 °С), за температуру обмотки принимают температуру окружающего воздуха, измеренную термометром на высоте 1,5 м от пола, на котором установлен трансформатор, и не более чем в 5 м от него. Термометр должен быть погружен в сосуд с одинарными стенками,
заполненный трансформаторным маслом. Объем сосуда 0,001 м
Когда условие стабильности температуры окружающего воздуха не выполняется, за температуру обмотки трансформатора принимают среднее арифметическое показаний трех термометров, установленных на поверхности одной из наружных обмоток (для трехфазных трансформаторов фазы В) с трех сторон примерно на середине высоты. При приемо-сдаточных испытаниях допускается применять один из указанных термометров.
Примечание. Для трансформаторов мощностью до 6,3 MBA класса напряжения до 35 кВ включительно, заливаемых одновременно маслом одной температуры, допускается за температуру обмоток принимать температуру верхних слоев масла одного из трансформаторов, измеренную не ранее чем через 10 ч после заливки.
5. ИЗМЕРЕНИЕ ПОТЕРЬ И НАПРЯЖЕНИЯ КОРОТКОГО
ЗАМЫКАНИЯ
5.1. Требования к выполнению опыта и схемы измерений
5.1.1. Опыт короткого замыкания выполняют для каждой пары обмоток. Одну из обмоток замыкают накоротко, другую питают от источника переменного тока номинальной частоты, остальные обмотки размыкают. Замыкание обмотки накоротко осуществляют соединением ее линейных зажимов между собой. Допускаемое в опыте отклонение частоты от номинальной — в пределах ±1%.
5.1.2. Для автотрансформаторов опыт короткого замыкания проводят так же, как для соответствующих трансформаторов между сторонами ВН-НН, СН-НН, ВН-СН.
5.1.3. Сопротивление закорачивающих и подводящих проводов в опыте короткого замыкания должно быть настолько малым, чтобы оно не влияло на результаты измерения потерь и напряжения. Если это условие трудно выполнимо и не соблюдается, то измерения следует выполнять при помощи калиброванных проводов, чтобы можно было, при необходимости, внести расчетные поправки, учитывающие потери в них. Как указано в приложении 3, эти поправки следует вносить, если они превышают 1% измеряемой активной мощности. Допускается и экспериментальный метод оценки потерь в подводящих проводах и схеме, при этом испытуемый трансформатор отсоединяют от измерительной схемы, ее выходные зажимы закорачивают и измеряют потери при токе опыта.
Кроме того, сопротивление закорачивающих и подводящих проводов не должно заметно изменяться за счет нагрева их в опыте короткого замыкания. Следует по возможности дальше удалять закорачивающие и подводящие провода от ферромагнитных поверхностей трансформатора.
5.1.4. Для измерения потерь, напряжения и тока в опыте короткого замыкания следует применять схемы, приведенные на черт.5 и 6 (без вольтметра средних значений). Измерение потерь и напряжения короткого замыкания трехфазного трансформатора следует выполнять при помощи трехфазной измерительной
|
PV- вольтметр действующих значений; |
PVCр — вольтметр средних значений;
PF- частотомер; PW — ваттметр; РА — амперметр; ТА — трансформатор тока; TV-трансформатор напряжения; R — добавочное сопротивление
Черт. 5
3
Черт.6
Конкретную схему измерения выбирают при испытании первого образца трансформатора в зависимости от коэффициента мощности данного
трансформатора в опыте cos <роп.
В опыте короткого замыкания трехфазного трансформатора при cos <роп 1 0,15 следует пользоваться схемами измерения активной мощности при
помощи трех малокосинусных ваттметров (cos(p-yj =0,1, класс точности 0,5) в соответствии с черт.66, г, д.
Примечание. Примечание. Включение вольтметров в измерительных схемах показано только на черт.66 и 6г.
Схема черт.бд может быть использована как при наличии, так и при отсутствии нулевого вывода в трансформаторе. Эта схема позволяет более точно внести поправки на угловые погрешности измерительных трансформаторов (в отличии от схемы черт.бг). Допускается использовать в схеме черт.бв три измерительных трансформатора напряжения, включенных по схеме У7У (при этом вывод вторичной обмотки фазы В трансформатора напряжения используют как общую точку напряжения ваттметров).
При cosf?on )-0,15 разрешается пользоваться схемой измерения активной
мощности при помощи двух ваттметров (созр^ =1,0, класс точности 0,5) в соответствии с черт.ба, в. Если используются более точные ваттметры (cosp^f =1,0 класс точности 0,1 или 0,2), то схемой двух ваттметров можно
пользоваться при costf9OIt !> 0,1.
Коэффициент мощности трехфазного трансформатора в опыте cos$?on рассчитывают по формуле
Р
cos Pm = _ т , (3)
-h’U’l ‘
где Р — измеренная в опыте активная мощность, Вт;
U — измеренное в опыте линейное напряжение, В;
1_ — измеренный в опыте линейный ток, А.
5.1.5. Для измерения потерь в опыте короткого замыкания допускается применять специальные мосты.
5.1.6. При операционном и эксплуатационном контроле допускается выполнять опыт короткого замыкания трехфазного трансформатора, поочередно подводя напряжение к парам зажимов (А и В, В и С, А и С) одной обмотки при выполнении короткого замыкания другой обмотки. Токи в опытах должны быть одинаковыми.
Потери короткого замыкания (i^|) в ваттах в этом случае рассчитывают по
формуле
D _ ^кАВ + ^кВС + ^кАС
т 2 ’ ^’
напряжение короткого замыкания № в вольтах рассчитывают по формуле
,, ,V3№ab + ^кВС + ^кАс)
ик _-5-■ (5)
где |, ‘ потеРи короткого замыкания в соответствующих
опытах, Вт;
^кАВ’ ^кВС опытах, В.
с/,
5.2. Выбор значения тока и длительности его пропускания
5.2.1. Опыт короткого замыкания проводят при токе от 0,25 номинального до номинального.
Примечание. Допускается по согласованию между изготовителем и потребителем проводить опыт короткого замыкания при токе менее 0,25 номинального без измерительных трансформаторов до 01.01.91 г.
— напряжения короткого замыкания в соответствующих
5.2.2. При значениях тока в опыте короткого замыкания более 0,4 номинального следует контролировать, чтобы время от момента подачи напряжения до снятия показаний с приборов не превышало:
240
т л =—для обмоток, изготовленных из алюминиевого провода;
°1′ °2
480
для обмоток, изготовленных из медного провода, где тд и —
of а2
время пропускания тока в опыте, с;
jcTj и 2 ' значения плотности токов в опыте в первичной и вторичной
2
обмотках, рассчитанные по наименьшим сечениям обмоток, А/мм .
При соблюдении этих требований увеличение активного сопротивления обмоток в результате протекания по ним тока опыта не превысит 1%.
5.2.3. При измерениях в опыте короткого замыкания трехфазного трансформатора ток и напряжение определяют как среднее арифметическое показаний приборов всех трех фаз. Если наибольшее отклонение от среднего арифметического показания приборов в пределах ±2%, то при приемо-сдаточных испытаниях трансформаторов массового производства за значение тока в опыте короткого замыкания допускается принимать значение тока наиболее близкое из трех измеренных к среднему арифметическому значению тока, а за значение напряжения — значение того из трех напряжений, которое наиболее близко к среднему арифметическому значению напряжения.
5.3. Приведение результатов измерений к номинальным условиям
5.3.1. Потери короткого замыкания (-^), в ваттах соответствующие номинальному току, рассчитывают по формуле
(W
(6)
4
где ^ — потери в опыте короткого замыкания, Вт;
— ток в опыте короткого замыкания, А;
^hdmj ‘ ток основного ответвления обмотки, к которой подведено напряжение, соответствующий наименьшей мощности обмотки из участвующих в опыте, А.
Напряжение короткого замыкания, приведенное к номинальной мощности трансформатора (^к) в процентах от номинального напряжения, рассчитывают по формуле
Е/к = ^’/ни«,3 -1002,
(7)
—’ TJTilJr ■‘“Т:»
— НОМ к
где U^ — напряжение в опыте короткого замыкания, В;
^ном ‘ номинальное напряжение основного ответвления обмотки, к которой подведено напряжение, В;
■ ток основного ответвления обмотки, к которой подведено напряжение, соответствующий номинальной мощности трансформатора, А.
^ном ’ 4юи2 -те же параметры, но для неосновного ответвления.
5.3.2. Потери, измеренные в опыте короткого замыкания и приведенные к номинальному току, следует привести к расчетной условной температуре обмотки
©р (для изоляционных материалов классов нагревостойкости А, Е, В принимаем ©р =80 °С — при направленной циркуляции масла и ©р =75 °С — для остальных трансформаторов; для классов Н, С, F — ©п =115 °С).
Для этого из приведенных к номинальному току по формуле (6) потерь
2
короткого замыкания вычитают сумму потерь в обмотках Х^нои ‘^’ К0Т0РУЮ
рассчитывают по сопротивлению постоянному току, измеренному в соответствии с разд.4.
Если температура обмоток, при которой измерение сопротивления отличается
т2
от температуры обмотки при опыте короткого замыкания, то потери ^/ши ‘ г предварительно приводят к температуре обмотки в опыте короткого замыкания ©
— оп ■
2
При расчете величины S^hom’^ в автотрансформаторах ток
последовательной обмотки принимают равным току в линии ВН, а ток общей обмотки принимают равным разности токов в линиях СН и ВН.
при температуре опыта ©оп рассчитывают по
Добавочные потери формуле
S^hom ■ (®)
2
Затем потери приводят к расчетной температуре обмотки по
иагт
формуле
а добавочные потери — по формуле
где К — коэффициент, рассчитываемый по формуле
Г + 0„ К=-^
Г + 0„
где Т — температура по п.4.4.3.
Потери короткого замыкания, приведенные к расчетной температуре 0р, рассчитывают по формуле
г 4- Р
НОИ ‘ ©р 2Д0б©р
=Е4
(12)
Если для данного типа трансформатора отношение
Р,
доб©р
—<0,05
(13)
НОИ
то для приведения потерь короткого замыкания к расчетной температуре допускается пользоваться формулой
^нЭр -Р*£
(14)
■ДО00Т,
При условии 0,05 <
<0,1
и массовом производстве
трансформаторов допускается упрощенный расчет по формуле
Д» =РЕ‘Г-^рдоб0р'(^-1)
(15)
1НЭр
где ^ср цоб©>р ‘ сРеДнее статистическое значение добавочных потерь для трансформатора данного типа при расчетной температуре.
5.3.3. Напряжение короткого замыкания приводят к расчетной температуре обмотки следующим образом. Напряжение короткого замыкания £/к^ в
процентах, соответствующее расчетной температуре (75, 80 или 115 °С), рассчитывают по формуле
(16)
где и ^р© ‘ активная и реактивная составляющие напряжения
короткого замыкания в процентах при температуре 0ОП, рассчитанные по формулам:
‘ ia£.
(17)
(18)
напряжение короткого замыкания, %, соответствующее
где U
номинальному току, измеренное при температуре
0п
— потери короткого замыкания, Вт, соответствующие номинальному току и
температуре 0О
рассчитываемые по формуле (6);
— номинальная мощность трансформатора, кВ А.
Напряжение короткого замыкания допускается не приводить к расчетной температуре 0р , если активная составляющая напряжения короткого замыкания
Уа@1Ш не превышает 15% напряжения короткого замыкания
5.3.4. Если условия испытания не позволяют установить номинальную частоту (с допускаемым отклонением в пределах ±1%), то допускается проводить измерение при частоте f’\, отличающейся от номинальной не более чем на ±3%.
Напряжение короткого замыкания при номинальной частоте в
проц











