Конструкции деревянные клееные. Методы определения прочности клеевых соединений
Заменяет ГОСТ 25884-83: Метод определения прочности клеевых соединений при послойном скалывании
Заменяет ГОСТ 25885-83: Метод определения прочности клеевых соединений древесноплитных материалов с древесиной
Заменяет ГОСТ 15613.1-84: Методы определения предела прочности клеевого соединения при скалывании вдоль волокон
Заменяет ГОСТ 15613.4-78: Методы определения предела прочности зубчатых клеевых соединений при статическом изгибе
На нашем сайте можно бесплатно скачать Руководящий документ ГОСТ 33120-2014 в удобном формате. Узнать актуальный статус документа «Конструкции деревянные клееные. Методы определения прочности клеевых соединений» на 2016 год.
Скрыть дополнительную информацию
Выберите формат отображения документа:

Страница 1

Страница 2

Страница 3

Страница 4

Страница 5

Страница 6

Страница 7

Страница 8

Страница 9

Страница 10

Страница 11

Страница 12

Страница 13

Страница 14

Страница 15

Страница 16

Страница 17

Страница 18

Страница 19

Страница 20
МЕЖГОСУДАРСТВЕННЫЙ СОВЕТ ПО СТАНДАРТИЗАЦИИ. МЕТРОЛОГИИ И СЕРТИФИКАЦИИ
(МГС)
INTERSTATE COUNCIL FOR STANDARDIZATION. METROLOGY AND CERTIFICATION
(ISC)
МЕЖГОСУДАРСТВЕННЫЙ
СТАНДАРТ
ГОСТ
33120—
2014
КОНСТРУКЦИИ ДЕРЕВЯННЫЕ КЛЕЕНЫЕ
Методы определения прочности клеевых соединений
(EN 302-1:2013, NEQ)
Издание официальное
Москва
Стандартинформ
2015
ГОСТ 33120-2014
Предисловие
Цели, основные принципы и основной порядок проведения работ по межгосударственной стандартизации установлены в ГОСТ 1.0-92 «Межгосударственная система стандартизации. Основные положения» и ГОСТ 1.2-2009 «Межгосударственная система стандартизации. Стандарты межгосударственные, правила и рекомендации по межгосударственной стандартизации. Правила разработки, принятия, применения, обновления и отмены»
Сведения о стандарте
1 РАЗРАБОТАН Центральным научно-исследовательским, проектно-конструкторским и технологическим институтом им. В. А. Кучеренко (ЦНИИСК им. В.А. Кучеренко), отделением ОАО «НИЦ «Строительство»
2 ВНЕСЕН Техническим комитетом по стандартизации ТК 465 «Строительство»
3 ПРИНЯТ Межгосударственным советом по стандартизации, метрологии и сертификации (протокол от 5 декабря 2014 г. Nt> 46-2014)
За принятие проголосовали:
|
Краткое наименование страны по МК (ИСО 3166) 004-97 |
Код страны по МК (ИСО 3166) 004-97 |
Сокращенное наименование национального органа по стандартизации |
|
Армения |
AM |
Минэкономики Республики Армения |
|
Киргизия |
KG |
Кыргызстандарт |
|
Молдова |
MD |
Молдова-Стандарт |
|
Россия |
RU |
Росстандарт |
|
Таджикистан |
TJ |
Таджикстандарт |
|
Узбекистан |
UZ |
Узстандарт |
4 Настоящий стандарт соответствует европейскому региональному стандарту EN 302-1:2013 Adhesives for load-bearing timber structures — Test methods — Part 1: Determination of longitudinal tensile shear strength. German version EN 302-1:2013 (Клеи для несущих деревянных конструкций. Методы испытаний. Часть 1. Определение предела прочности при растяжении на продольный сдвиг) в части метода испытаний, типа и размера образцов
Перевод с английского языка (еп)
Степень соответствия — неэквивалентная (NEQ)
5 Приказом Федерального агентства по техническому регулированию и метрологии от 12 декабря 2014 г. № 2027-ст межгосударственный стандарт ГОСТ 33120-2014 введен в действие в качестве национального стандарта Российской Федерации с 1 июля 2015 г.
6 ВЗАМЕН ГОСТ 15613.4-78. 15613.1-84. 25884-83. 25885-83.
Информация об изменениях к настоящему стандарту публикуется в ежегодном информационном указателе «Национальные стандарты», а текст изменений и поправок — в ежемесячном информационном указателе «Национальные стандарты». В случае пересмотра (замены) или отмены настоящего стандарта соответствующее уведомление будет опубликовано в ежемесячном информационном указателе кНациональные стандарты». Соответствующая информация, уведомление и тексты размещаются также в информационной системе общего пользования — на официальном сайте Федерального агентства по техническому регулированию и метрологии в сети Интернет
© Стандартинформ. 2015
В Российской Федерации настоящий стандарт не может быть полностью или частично воспроизведен, тиражирован и распространен в качестве официального издания без разрешения Федерального агентства по техническому регулированию и метрологии
ГОСТ 33120-2014
Результаты испытаний образцов, разрушившихся за пределами рабочей части по допускаемым порокам и дефектам, не учитывают.
Р/2 Р/2
1 — нагружающие ножи с R = (1.5 — 2)Л; 2 — образец; 3 — цилиндрический шарнир:
4 — опора
Рисунок 9 — Схема испытаний зубчатых клеевых соединений при статическом изгибе
9.3 Значение предела прочности зубчатого клеевого соединения определяют по формуле
о = Р1Л>Ьг. (2)
где Р — разрушающая нагрузка. Н;
/— величина пролета испытуемого образца, см; b — ширина сечения образца, см; h — высота сечения образца, см.
9.4 Результаты испытаний фиксируют в протоколе испытаний (приложение Г).
При проведении испытаний должны соблюдаться требования 4.4-4.9. 6.5.
10 Метод определения предела прочности вклеенных металлических стержней
10.1 Определение предела прочности вклеенных металлических стержней в древесину осуществляют путем механических испытаний образцов на сдвиг при сжатии (продавливание). Образцы изготовляют специально и одновременно с вклеиванием стержней в элементы конструкций.
10.2 Заготовка для вклеивания стержней и размеры образца для испытаний показаны на рисунке 10а.
Условия изготовления образцов (размеры отверстий, диаметр стержней и их подготовка, рецептура и состояние клея, условия выдержки и др.) должны быть идентичными условиям изготовления узловых соединений реальных конструкций.
10.3 Испытания образцов проводят не ранее, чем через 3 суток после заливки клея при температуре воздуха (20 ± 2) °С.
10.4 Испытания образцов проводят в соответствии со схемой, приведенной на рисунке 106. Образец в испытательном прессе необходимо устанавливать строго вертикально, причем вертикальная ось образца должна совпадать с центральной вертикальной осью прижимного башмака пресса. При этом проводят испытания поочередно каждого вклеенного стержня в заготовке, не распиливая ее. После испытаний для определения характера разрушения рекомендуется заготовку распилить и путем выкалывания обнажить стержни.
10.5 Предел прочности соединений при сдвиге. МПа. определяют по формуле
Т = Рра>р / ‘ТС/о-в/агл. (3)
где Ррвзр — разрушающая нагрузка. Н;
А™ — длина заделки, см; doia — диаметр отверстия, см.
10.6 Результаты испытаний фиксируют в протоколе испытаний (приложение Д).
При проведении испытаний должны соблюдаться требования 4.4-4.9. 6.5.
9
МЕЖГОСУДАРСТВЕННЫЙ
СТАНДАРТ
КОНСТРУКЦИИ ДЕРЕВЯННЫЕ КЛЕЕНЫЕ Методы определения прочности клеевых соединений
Glued timber structures. Methods for determining strength of glue joints
Дата введения — 2015—07—01
1 Область применения
Настоящий стандарт устанавливает методы испытаний по определению прочности клеевых соединений деревянных клееных конструкций (далее — конструкции) и древесноллитных материалов с древесиной.
2 Нормативные ссылки
В настоящем стандарте приведены нормативные ссылки на следующие межгосударственные стандарты:
ГОСТ 166-89 (ИСО 3599-79) Штангенциркули. Технические условия
ГОСТ 3749-77 Угольники поверочные 90°. Технические условия
ГОСТ 8026-92 Линейки поверочные. Технические условия
ГОСТ 16483.0-89 (ИСО 3129-75) Древесина. Общие требования к физико-механическим испытаниям
ГОСТ 16588-91 (ИСО 4470-81) Пилопродукция и деревянные детали. Методы определения влажности
ГОСТ 20850-2014 Конструкции деревянные клееные несущие. Общие технические условия
ГОСТ 24104-2001 Весы лабораторные. Общие технические требования
ГОСТ 28840-90 Машины для испытаний материалов на растяжение, сжатие и изгиб. Общие технические требования
Примечание — При пользовании настоящим стандартом целесообразно проверить действие ссылочных стандартов по указателю «Национальные стандарты», составленному по состоянию на 1 января текущего года, и по соответствующим информационным указателям, опубликованным в текущем году. Если ссылочный стандарт заменен (изменен), то при пользовании настоящим стандартом, следует руководствоваться заменяющим (измененным) стандартом. Если ссылочный стандарт отменен без замены, то положение, в котором дана ссылка на него, применяется в части, не затрагивающей эту ссылку.
3 Термины и определения
В настоящем стандарте применены термины по ГОСТ 20850.
4 Отбор и подготовка образцов
4.1В зависимости от целей испытаний образцы выпиливают:
а) из изделий или конструкций по завершении технологического процесса изготовления (внутризаводской контроль):
б) из изделий или конструкций на различных этапах эксплуатации при их мониторинге;
в) из специально изготовленных заготовок при выполнении исследовательских и лабораторных работ (при разработке и оценке клеев, выборе и контроле режимов склеивания и др.).
Образцы с видимыми пороками древесины или дефектами изготовления испытаниям не допускаются.
Влажность древесины образцов должна быть 8 %-12 %, если иное не предусмотрено методикой испытаний.
4.2 До начала испытаний образцы или заготовки, из которых выпиливают образцы, необходимо выдерживать (кондиционировать) в нормальных температурно-влажностных условиях [относительной влажности воздуха (60 ± 5) % и температуре (20 ± 2) °С) для отверждения клея и релаксации внутренних напряжений в древесине в течение, не менее:_
Издание официальное
1
— 1 суток — при внутризаводском контроле.
— до полного отверждения клея согласно технической документации от поставщика клея — при лабораторных испытаниях и исследовательских работах.
Выпиливание образцов из элементов или конструкций проводят не ранее, чем через 24 ч после их распрессовки.
Условия кондиционирования образцов для проведения исследовательских и лабораторных работ могут отличаться от указанных выше.
4.3 При проведении испытаний в целях заводского контроля фиксируют основные параметры изготовления изделий и конструкций; при лабораторном контроле эти параметры задаются в зависимости от целей проводимых исследований.
4.4 Число испытываемых образцов при заводском контроле указывают в нормативных документах на конструкции, при лабораторных и исследовательских испытаниях — устанавливают методикой конкретных исследований, но не менее 10.
4.5 Перед испытаниями образцов должны быть измерены их геометрические размеры и определена влажность древесины, а также, при необходимости, другие физические характеристики (плотность древесины, ширина годичных колец и др.).
Влажность образцов должна соответствовать требованиям стандартов на конкретные конструкции.
4.6 Размеры и форму образцов принимают в зависимости от принятых методик испытаний, приведенных ниже.
Величина допустимых отклонений от номинальных размеров образцов должна находиться в пределах ± 0.1 мм. Размеры образца, не входящие в расчетные формулы (например, длина образца при испытаниях зубчатых соединений на изгиб), должны быть выдержаны с точностью до 3—5 мм.
При изготовлении одна из осей образца должны располагаться вдоль волокон древесины. Годичные слои на торцевых поверхностях должны быть параллельны одной паре противоположных граней и перпендикулярны другой. Между смежными гранями образцов должны быть прямые углы.
4.7 На каждый образец должна быть нанесена маркировка, указывающая номер образца.
4.8 При проведении испытаний фиксируют значение разрушающей нагрузки и характер разрушения образца (отношение площади разрушения образца по древесине к площади разрушения по клеевой прослойке, выраженное в процентах).
4.9 Испытания образцов проводят при температуре воздуха (20 ± 2) °С и влажности (65 ± 5) %. Допускается проводить кратковременные испытания в помещении с другой температурой и влажностью воздуха при условии их проведения сразу же после кондиционирования образцов.
5 Приборы и инструмент
5.1 Для проведения испытаний необходимы следующие оборудование и инструмент:
— испытательная машина по ГОСТ 28840 с погрешностью измерения нагрузки не более 1 %, позволяющая проводить испытания со скоростью перемещения нагружающей головки от 0,5 до 10 мм/мин;
— приспособления для зажима образцов и передачи на них нагрузки (указаны далее применительно к каждому виду испытаний);
— влагомер по ГОСТ 16588 для определения влажности древесины образцов с погрешностью не более ±1 %;
— весы по ГОСТ 24104 с пределом измерения до 1 кг и точностью ±1 г;
— приборы для измерения температуры и влажности воздуха;
— штангенциркуль по ГОСТ 166 с погрешностью измерения не более 0.1 мм;
— измерительная линейка с точностью измерения до 1 мм по ГОСТ 8026;
— поверочный угольник 90° по ГОСТ 3749.
5.2 Все используемые оборудование и инструмент должны своевременно поверяться в соответствующих метрологических центрах.
6 Метод определения предела прочности клеевого соединения при скалывании вдоль волокон древесины
6.1 Принцип испытаний основан на приложении усилия к единичному клеевому соединению при продольном сжатии (параллельно волокнам древесины).
6.2 Форма и размеры образцов для испытаний показаны на рисунках 1а. 16. Допускается изготовлять образцы шириной менее чем указано на рисунке 1, если ширина клеевого слоя в изделии 2
2
ГОСТ 33120-2014
не позволяет получить образец требуемой ширины.
При формировании уступов в образце на рисунке 1а и нижнего уступа в образце рисунке 1аб не допускается перерезание клеевого слоя. Волокна древесины с поверхности клеевого слоя на уступах должны быть тщательно удалены.
Рисунок 1 — Форма и размеры образца для испытаний на скалывание
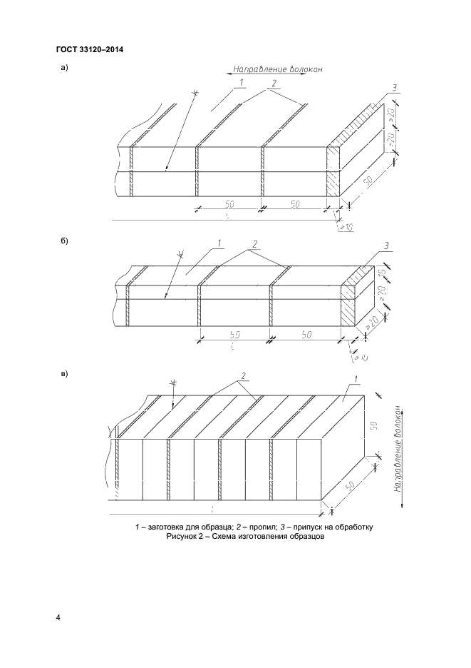
Схемы изготовления образцов из специально склеенных заготовок представлены на рисунках 2а. 26. Длину заготовки /. Схему изготовления образцов, вырезанных из готовой продукции — на рисунке 2в.
6.3 При испытаниях образец устанавливают в приспособление (см. рисунки 3. 4). Поверхности нижних уступов на рисунке 1а и нижнего уступа на рисунке 16 должны плотно прилегать к соответствующим поверхностям приспособлений.
6.4 Приспособление с установленным в нем образцом помещают на опорную платформу испытательной машины таким образом, чтобы ось пуансона приспособления совпадала с осью нагружающего устройства испытательной машины.
6.5 Образец нагружают непрерывно при скорости перемещения нагружающей головки испытательной машины (0.60 ± 0,15) мм/мин. Испытание продолжают до разрушения образца. Разрушающую нагрузку определяют с погрешностью не более 50 Н. Величина разрушающей нагрузки не должна находиться в начальном диапазоне — 10 % предельного значения измерительной шкалы испытательной машины.
6.6 Предел прочности клеевого соединения вычисляют с точностью до 0.1 МПа по формуле
n = P/F. (1)
где Р — разрушающая нагрузка. Н;
F— площадь клеевого соединения, м2.
За результаты испытания принимают статистические данные (среднее арифметическое значение предела прочности, вариационный коэффициент и минимальное вероятностное значение предела прочности), определяемые по ГОСТ 16483.0. При этом фиксируют также характер разрушения клеевого соединения.
6.7 Результаты испытаний фиксируют в протоколе испытаний (приложение А).
При проведении испытаний должны соблюдаться требования 4.4-4.9.
3
ГОСТ 33120-2014
Направление 6 о локон
а)
б)
в)
1 — заготовка для образца: 2 — пропил; 3 — припуск иа обработку Рисунок 2 — Схема изготовления образцов
4
ГОСТ 33120-2014
1 — пуансон; 2 — самоцентрирующая опора; 3 — вкладыш; 4 — пружина; 5 — стойка; 6 — образец; Рисунок 3 — Приспособление для испытаний на скалывание
5
/’
1 — корпус; 2 — пружина; 3 — подвижная планка; 4 — ролики; 5 — нажимная призма с шаровой опорой; 6 — образец; 7 — подвижная опора; 8 — устройство для прижима подвижной опоры Рисунок 4 — Приспособление для испытаний на скалывание
7 Метод определения предела прочности клеевого соединения при послойном скалывании вдоль волокон древесины
7.1 При контроле качества изготовления заготовки для образцов выпиливают из торцевых частей изделий или конструкций при доведении их до проектных размеров (рисунок 5). При этом толщина отпада должна быть не менее 50 мм.
Заготовки распиливают на образцы (рисунок 6) в виде прямоугольной призмы сечением (50×50) ± 0.5 мм и высотой Н. равной высоте сечения изделия или конструкции. Противоположные плоскости образцов должны быть параллельны между собой, а клеевые прослойки — перпендикулярны плоскости пропила.
5
При большой высоте сечения изделия или конструкции заготовка для образцов может быть разделена на две—три части.
1 — образцы; 2 — пропилы; Н— высота конструкции Рисунок 6 — Схема распиливания заготовки на образцы для испытаний на послойное скалывание
7.2 Образец устанавливают в приспособление для испытания (рисунок 7).
При испытании задняя грань ножа пуансона и передняя грань передвижной опорной площадки приспособления должны находиться в одной плоскости с погрешностью не более ± 0.5 мм.
Перемещением прижимной опоры закрепляют образец в приспособлении. Нагрузку на образец передают через пуансон.
7.3 Образец испытывают до разрушения с постоянной скоростью перемещения пуансона (1,5— 2)*10″* м/с и фиксируют разрушающую нагрузку Р. которую определяют с погрешностью не более 50 Н.
7.4 Предел прочности клеевого соединения вычисляют по формуле (1).
При необходимости для сравнения показателей прочности древесины и клеевого соединения идентичным образом проводятся скалывание древесины вне зоны клеевого соединения.
7.5 Результаты испытаний фиксируют в протоколе испытаний (приложение Б).
При проведении испытаний должны соблюдаться требования 4.4—4.9. 6.5.
✓ // /
А — проектный размер конструкции;
Н — высота конструкции; В — ширина конструкции: 1 — пропилы;
2 — заготовка для образцов; 3 — отпад Рисунок 5 — Схема выпиливания заготовки для образцов на послойное скалывание
6
ГОСТ 33120-2014
1 — образец; 2 — прижимная опора; 3 — рукоятка; 4 — пуансон; 5 — нож пуансона;
6 — корпус; 7 — клеовое соединение; 8 — передвижная опорная площадка. 9 — винт упора Рисунок 7 — Приспособление для испытаний на послойное скалывание
8 Метод определения предела прочности клеевого соединения при растяжении вдоль волокон древесины
8.1 Данный метод предназначен для проведения лабораторных испытаний и исследовательских работ в целях получения данных для дальнейшей классификации клеев, используемых при изготовлении несущих конструкций.
8.2 Принцип испытаний основан на приложении усилия к единичному клеевому соединению, выполненному внахлестку, при растяжении вдоль волокон древесины.
8.3 Форма и размер образца представлены на рисунке 8.
Образцы для проведения испытания должны быть изготовлены из бука плотностью не менее (700 + 50) кг/м3. Влажность древесины должна находиться в пределах (12 * 1)%. угол между годичными кольцами и поверхностью склеивания должен быть в пределах между 30- и 90°.
7
ГОСТ 33120-2014
/ / / /
/’ /
Рисунок 8 — Форма и размеры образца для испытаний на растяжение
8.4 Образец помещают в захваты испытательной машины таким образом, чтобы расстояние между захватами находилось в пределах от 50 до 90 мм. обеспечивая самовыравнивание испытательного образца и предотвращая смещение в процессе нагружения, испытывают до разрушения с постоянной скоростью перемещения пуансона (2.0 + 0.5) кН/мин и фиксируют разрушающую нагрузку Р, которую определяют с погрешностью не более 50 Н.
8.5 Предел прочности клеевого соединения вычисляют по формуле (1).
Результаты испытаний фиксируют в протоколе испытаний (приложение В).
При проведении испытаний должны соблюдаться требования 4.4-4.Э. 6.5.
9 Метод определения предела прочности зубчатых клеевых соединений при статическом изгибе
9.1 Образцы для испытаний выпиливают из слоев, подготовленных для склеивания, в виде прямоугольной призмы с зубчатым клеевым соединением посредине длины.
Длина образца должна быть не менее его 15-кратной толщины. За толщину образца h принимают размер по направлению приложения нагрузки.
Средняя (рабочая) часть длины образца размером не менее 6h должна быть свободной от видимых пороков древесины (допускаются пластевые сучки диаметром не более 10 мм) и дефектов склеивания.
Образцы должны иметь поперечное сечение (толщину и ширину), равное полному сечению слоя. Если оборудование не позволяет испытывать образцы полного сечения, допускается испытание образцов уменьшенного сечения. В этом случае заготовки распиливают на несколько образцов равной ширины, каждый из которых испытывают.
9.2 Испытания проводят по схеме, указанной на рисунке 9. с приложением нагрузки в третях пролета на пласть.
Образец нагружают равномерно с постоянной скоростью нагружения, при этом скорость нагружения должна быть такой, чтобы образец разрушился через 3—7 мин после начала нагружения.
8


