Котлы газовые центрального отопления. Котлы типа c с номинальной теплопроизводительностью более 70 кВт, но не более 1000 кВт. Классификация, требования, методы испытаний и маркировка
На нашем сайте можно бесплатно скачать ГОСТ 33011-2014 в удобном формате. Узнать актуальный статус ГОСТА «Котлы газовые центрального отопления. Котлы типа c с номинальной теплопроизводительностью более 70 кВт, но не более 1000 кВт. Классификация, требования, методы испытаний и маркировка» на 2016 год.
Скрыть дополнительную информацию
Выберите формат отображения документа:

Страница 1

Страница 2

Страница 3

Страница 4

Страница 5

Страница 6

Страница 7

Страница 8

Страница 9

Страница 10

Страница 11

Страница 12

Страница 13

Страница 14

Страница 15

Страница 16

Страница 17

Страница 18

Страница 19

Страница 20

Страница 21

Страница 22

Страница 23

Страница 24

Страница 25

Страница 26

Страница 27

Страница 28

Страница 29

Страница 30

Страница 31

Страница 32

Страница 33

Страница 34

Страница 35

Страница 36

Страница 37

Страница 38

Страница 39

Страница 40

Страница 41

Страница 42

Страница 43

Страница 44

Страница 45

Страница 46

Страница 47

Страница 48

Страница 49

Страница 50

Страница 51

Страница 52

Страница 53

Страница 54

Страница 55

Страница 56

Страница 57

Страница 58

Страница 59

Страница 60

Страница 61

Страница 62

Страница 63

Страница 64

Страница 65

Страница 66

Страница 67

Страница 68

Страница 69

Страница 70

Страница 71

Страница 72

Страница 73

Страница 74

Страница 75

Страница 76

Страница 77

Страница 78

Страница 79

Страница 80

Страница 81

Страница 82

Страница 83

Страница 84

Страница 85

Страница 86

Страница 87

Страница 88

Страница 89

Страница 90

Страница 91

Страница 92

Страница 93

Страница 94

Страница 95

Страница 96

Страница 97

Страница 98

Страница 99

Страница 100

Страница 101

Страница 102

Страница 103

Страница 104

Страница 105

Страница 106

Страница 107

Страница 108

Страница 109

Страница 110

Страница 111

Страница 112

Страница 113

Страница 114

Страница 115

Страница 116

Страница 117

Страница 118

Страница 119

Страница 120

Страница 121

Страница 122

Страница 123

Страница 124

Страница 125

Страница 126

Страница 127

Страница 128

Страница 129

Страница 130

Страница 131

Страница 132

Страница 133

Страница 134

Страница 135

Страница 136

Страница 137

Страница 138

Страница 139

Страница 140

Страница 141

Страница 142

Страница 143

Страница 144

Страница 145

Страница 146

Страница 147

Страница 148

Страница 149

Страница 150

Страница 151

Страница 152

Страница 153

Страница 154

Страница 155

Страница 156

Страница 157

Страница 158

Страница 159

Страница 160

Страница 161

Страница 162

Страница 163

Страница 164

Страница 165

Страница 166

Страница 167

Страница 168

Страница 169

Страница 170

Страница 171

Страница 172

Страница 173
|
МгЖГОСУДАРСТВЕННЫ! СОВЕТПО СТАНДАРТИЗАЦИИ, МЕТРОЛОГИИ И СЕРТИФИКАЦИИ (NIX) INTERSTATE COUNCIL FOR STANDARDIZATION, METROLOGY AND CERTIFICATION (ISC) |
|
|
ГОСТ |
|
|
МЕЖГОСУДАРСТВЕННЫЙ |
33011— |
|
СТАНДАРТ |
2014 |
|
(EN 15420:2010) |
|
Котлы газовые центрального отопления
КОТЛЫ ТИПА С С НОМИНАЛЬНОЙ ТЕПЛОПРОИЗВОДИТЕЛЬНОСТЪЮ БОЛЕЕ 70 кВт, НО НЕ БОЛЕЕ 1000 кВт
Классификация, требования, методы испытаний и маркировка
(EN 15420:2010, MOD)
Издание официальное
Москва
Стацдартинформ
2015
Предисловие
Цели, основные принципы и порядок проведения работ по межгосударственной стандартизации установлены ГОСТ 1.0—92 «Межгосударственная система
стандартизации. Основные положения» и ГОСТ 1.2-2009 «Межгосударственная система стандартизации. Стандарты межгосударственные, правила и рекомендации по межгосударственной стандартизации. Правила разработки, принятия, применения, обновления и отмены»
Сведения о стандарте
1 ПОДГОТОВЛЕН Федеральным государственным унитарным предприятием «Всероссийский научно-исследовательский институт стандартизации и сертификации в машиностроении» (ВНИИНМАШ) и Обществом с ограниченной ответственностью «Сертификационно-испытательный центр электротехнических изделий и газового оборудования» (ООО «СИЦ ЭТИГАЗ») на основе собственного аутентичного перевода на русский язык стандарта, указанного в пункте 5
2 ВНЕСЕН Федеральным агентством по техническому регулированию и метрологии
3 ПРИНЯТ Межгосударственным советом по стандартизации, метрологии и сертиф икации по переписке (протокол от 20 октября 2014 г. №71-П)
За принятие проголосовали:
|
Краткое наименование страны по М К(ИСО 3166) 004—97 |
Код страны по МК (ИСО 31 66) 004—97 |
Сокращенное наименование национального органа по стандартизации |
|
Армения |
AM |
Минэкономики Республики Армения |
|
Беларусь |
BY |
Гоостанд арт Р есп убл ики Бе лар усь |
|
Кыргызстан |
KG |
Кыргызстандарт |
|
Россия |
RU |
Росстандарт |
|
Таджикистан |
TJ |
Таджикстандарт |
|
Украина |
UA |
Минэкономразвития Украины |
4 Приказом Федерального агентства по техническому регулированию и метрологии 09 июня 2015 г. № 585-ст межгосударственный стандарт ГОСТ 33011-2014 (EN 15420:2010) введен в действие в качестве национального стандарта Российской Федерации с 1 января 2016 г.
5 Настоящий стандарт модифицирован по отношению к европейскому региональному стандарту EN 15420:2010 Gas-fired central heating boilers. Type C boilers of nominal heat input exceeding 70 kW, but not exceeding 1000 kW (Газовые котлы центрального отопления. Котлы типа С с номинальной теплопроизводительностью 70 кВт, но не превышая 1000 кВт) путем изменения отдельных фраз (слов, значений показателей, ссылок), которые выделены в тексте курсивом.
Перевод с английского языка (еп).
П
ГОСТ 33011-2014
3.2.17 регулятор подачи первичного воздуха: Устройство, которое позволяет установить желаемое значение подачи воздуха в горелку в соответствии с условиями газоснабжения.
3.2.1.8 опломбирование устройства настройки: Фиксирование устройства настройки с использованием материалов, разрушающихся при любой попытке изменить настройку, что делает очевидным вмешательство в настройку. Устройство предварительной настройки в этом положении считается опломбированным.
Устройство настройки, опломбированное изготовителем, рассматривается как отсутствующее.
3.2.1.9 отключение устройства настройки или регулирования: Перевод устройства настройки или регулирования (например, расхода, давления и т.п.) в нерабочее состояние и опломбирование его в этом положении.
3.2.1.10 Горелка
основная горелка: Горелка, выполняющая функцию нагрева в котле; в общем случае обозначается как горелка.
горелка с полным предварительным смешением: Горелка, в которой топливо смешивается с воздухом для горения перед выходными отверстиями горелки или в которую подводится готовая горючая смесь.
устройство зажигания: Любое устройство (пламя, электрическое устройство зажигания или другое устройство), которое служит для воспламенения газа на запальной или основной горелках.
ручное устройство зажигания: Устройство, с помощью которого горелку разжигают вручную.
автоматическое устройство зажигания: Автоматическое устройство, которое поджигает запальную горелку или непосредственно основную горелку.
запальная горелка: Горелка, пламя которой предназначено для зажигания других горелок.
постоянная запальная горелка: Запальная горелка, которая работает
непрерывно в течение всего периода использования котла.
периодическая запальная горелка: Запальная горелка, разжигаемая до основной горелки и гаснущая вместе с основной горелкой.
переменная запальная горелка: Запальная горелка, которая гаснет после розжига основной горелки и повторно разжигается от пламени основной горелки непосредственно перед тем, как последняя гаснет.
5
ГОСТ 33011-2014
Степень соответствия — модифицированная (MOD)
6 ВВЕДЕН ВПЕРВЫЕ
Информация об изменениях к настоящему стандарту публикуется в ежегодном информационном указателе «Национальные стандарты» (по состоянию на 1 января текущего года), а текст изменений и поправок — в ежемесячном информационном указателе «Национальные стандарты». В случае пересмотра (замены) или отмены настоящего стандарта соответствующее уведомление будет опубликовано в ежемесячном информационном указателе «Национальные стандарты». Соответст&ующая информация, уведомление и тексты размещаются также в информационной системе общего пользования — на официальном сайте Федерального агентства по техническому регулированию и метрологии в сети Интернет
© Стандартинф орм ,2015
В Российской Федерации настоящий стандарт не может быть полностью или частично воспроизведен, тиражирован и распространен в качестве официального издания без разрешения Федерального агентства по техническому регулированию и метрологии
Ш
Содержание
1 Область применения…………………………………………………………………….
2 Нормативные ссылки………………………………………………………………..
3 Термины и определения………………………………………………………………
4 Классификация котлов………………………………………………………………………………..
4.1 Газы и категории………………………………………………………………………………….
4.2 Способ подачи воздуха для горения и отвода продуктов сгорания…….
4.3 Классификация котлов в зависимости от условий эксплуатации………..
4.4 Модульные котлы………………………………………………………………………………..
5 Требования к конструкции…………………………………………………………………………
5.1 Общие сведения……………………………………………………………………………….
5.2 Перевод котла на другой газ……………………………………………………………….
5.3 Материалы и методы изготовления…………………………………………………….
5.4 Трубопровод отвода продуктов сгорания…………………………………………….
5.5 Конструкция.,……………………………………………………………………………………..
5.6 Эксплуатация и техническое обслуживание………………………………………..
5.7 Подключение к газовой и водопроводной сети…………………………………….
5.8 Герметичность…………………………………………………………………………………..
5.9 Подача воздуха для горения и отвод продуктов сгорания………………….
5.10 Контроль режима работы………………………………………………………………….
5.11 Слив………………………………………………………………………………………………..
5.12 Электрооборудование………………………………………………………………………
5.13 Эксплуатационная надежность при отказе подачи резервного питания.
5.14 Требования к устройствам настройки, регулирования, управления
и безопасности…………………………………………………………………………………
5.15 Горелки……………….. -…………………………………………….
5.16 Штуцеры для измерения давления……………………………………………………
5.17 Химический состав конденсата…………………………………………………………
6 Эксплуатационные требования…………………………………………………………………..
6.1 Общие сведения………………………………………………………………………………..
6.2 Герметичность…………………………………………………………………………………..
6.3 Подводимая тепловая мощность и теплопроизводительность………….
6.4 Безопасность эксплуатации………………………………………………………………..
ГОСТ 33011-2014
6.5 Устройства предварительной настройки, регулирования
и безопасности…………………………………………………………………………………..
6.6 Горение……………………………………………………………………………………………..
6.7 КПД……………………………………………………………………………………………………
6.8 Конденсация в продуктах сгорания……………………………………………………..
6.9 Прочность………………………………………………………………………………………….
6.10 Гидравлическое сопротивление в водяном контуре………………………….
6.11 Конденсация в котле………………………………………………………………………..
6.12 Регулирующие заслонки в контуре подачи воздуха и отвода продуктов
сгорания…………………………………………………………………………………………..
7 Методы испытаний…………………………………………………………………………………….
7.1 Общие сведения………………………………………………………………………………..
7.2 Герметичность…………………………………………………………………………………..
7.3 Подводимые тепловые мощности и теплопроизводительность……………
7.4 Безопасность эксплуатации………………………………………………………………
7.5 Устройства регулирования, управления и безопасности……………………
7.6 Горение……………………………………………………………………………………………..
7.7 КПД…………………………………………………………………………………………………..
7.8 Конденсация в дымоходе……………………………………………………………………
7.9 Прочность………………………………………………………………………………………….
7.10 Гидравлическое сопротивление в водяном контуре………………………….
7.11 Конденсация в котле………………………………………………………………………..
7.12 Регулирующие заслонки в контуре подачи воздуха и отвода продуктов
сгорания…………………………………………………………………………………………..
8 Маркировка и инструкции…………………………………………………………………………..
8.1 Маркировка котла………………………………………………………………………………
8.2 Инструкции………………………………………………………………………………………..
8.3 Редакционное предложение……………………………………………………………….
Приложение А (справочное) Национальные условия……………………………………
Приложение В (справочное) Особые национальные условия……………………….
Приложение С (справочное) Отклонения «А» от стандарта………………………….
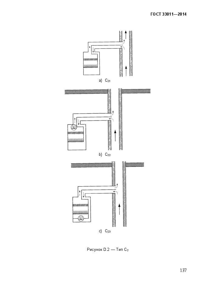
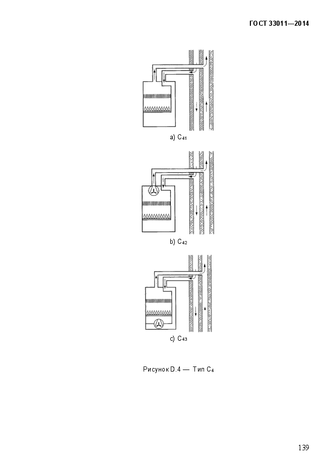
Приложение D (справочное) Классификация котлов типа С………………………….
Приложение Е (справочное) Метод калибровки испытательного
стенда для определения потерь тепла ……………………………….
V
ГОСТ33011—2014
Приложение F (справочное) Основные применяемые обозначения параметров..
Приложение G (справочное) Сводная таблица условий испытаний……………..
Приложение Н (справочное) Оборудование газового тракта клапанами………
Приложение I (справочное) Определение потерь тепла испытательного стенда для косвенного метода определения КПД и дополнительного подвода тепла от циркуляционного
насоса испытательного стенда………………………………………
Приложение J (справочное) Определение времени работы котла при
зажигании с полной нагрузкой…………………………………………………
Приложение К (справочное) Пример вычисления нагрузочных коэффициентов
для котла с несколькими значениями тепловой мощности…….
Приложение L (справочное) Соотношения между единицами измерений
содержания NOx………………………………………………………..
Приложение М (обязательное) Испытательный стенд для котлов
типа Сг ………………………………………………………………………………..
Приложение N (справочное) Требования и методы испытаний для
раздельных трубопроводов подачи воздуха для горения/отвода
продуктов сгорания для котлов типа Сб………………………………….
Приложение О (справочное) Применение испытательных газов………………….
Библиограф ия…………………………………………………………………………….
VI
(EN 15420:2010)
МЕЖГОСУДАРСТВЕННЫЙ СТАНДАРТ
Котлы газовые центрального отопления
КОТЛЫ ТИПА С С НОМИНАЛЬНОЙ ТЕПЛОПРОИЗВОДИТЕЛЬНОСТЬЮ БОЛЕЕ 70 кВт, НО НЕ БОЛЕЕ 1000 кВт
Классификация,требования, методы испытаний и маркировка
Gas-fired central heating boilers. Type C boilers of nominal heat input exceeding 70 kW, but not exceeding 1000 Kw. Classification, requirements, test methods and marking
Дата введения -2016-01-01
1 Область применения
Настоящий стандарт определяет конструктивные и эксплуатационные требования, требования безопасности, методы испытаний,требования к маркировке, а также классификацию котлов газовых центрального отопления (далее — котлы), оснащенных атмосферными горелками (с вентиляторами или без вентиляторов) или горелками с полным предварительным смешением.
Настоящий стандарт распространяется на котлы типа С, рассчитанные на подключение к замкнутым или открытым системам отопления:
— которые работают с одним или несколькими горючими газами трех семейств при значениях давления, указанных в таблицах 14 и 15;
— которые рассчитаны на номинальную теплопроизводительность более 70 кВт, но не более чем 1000 кВт (включая комбинированные котлы);
— у которых в стандартных эксплуатационных условиях температура жидкого теплоносителя не превышает 105 °С;
— у которых максимальное рабочее давление в водяном контуре не превышает 0,6 МПа-,
— у которых в определенных условиях возможно образование конденсата.
Настоящий стандарт не распространяется на котлы:
— которые рассчитаны на установку на открытом воздухе или в жилых помещениях;
— которые оснащены двумя и более вытяжными патрубками;
— которые принадлежат к типу «конденсационный котел»;
И еда ше оф iu#ia л ьное
ГОСТ33011—2014
— которые должны подключаться к общей системе отвода продуктов сгорания с механическим отводом;
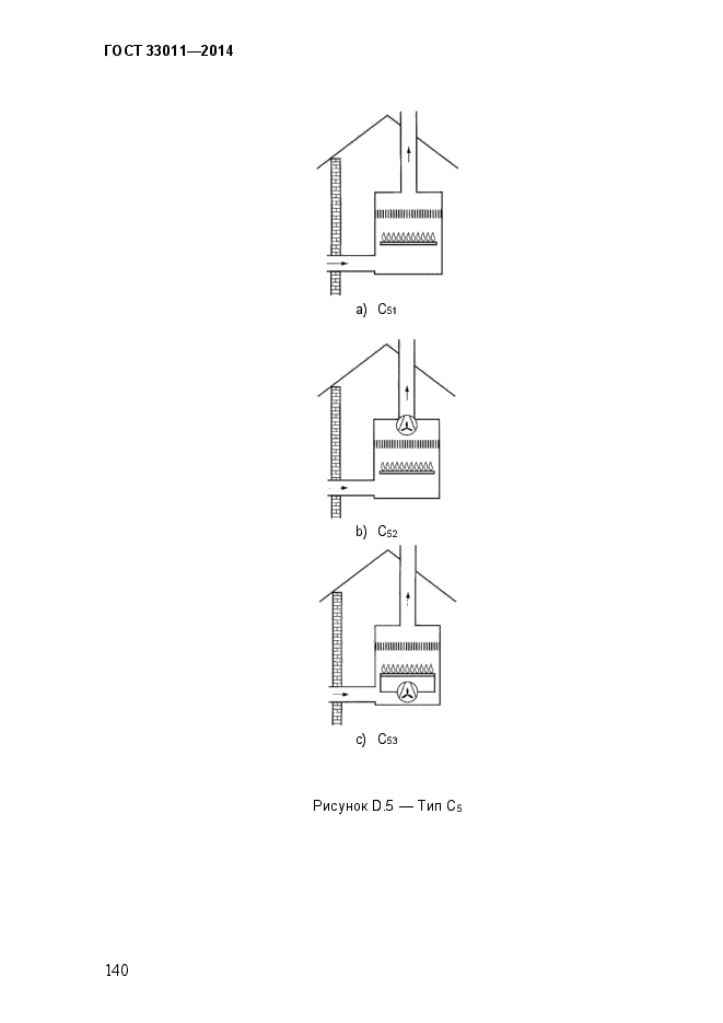
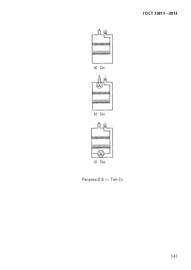
— которые относятся к типам C2i, С41, Csi, Cei, С71 и Cei;
— которые оснащены газовыми автоматическими горелками с принудительной подачей воздуха;
— которые производят горячую воду для санитарно-технических нужд.
2 Нормативные ссылки
В настоящем стандарте использованы нормативные ссылки на следующие стан да рты:
ГОСТ 7.67-2003 Система стандартов по информации, библиотечному и издательскому делу. Коды названий стран
ГОСТ 1412-85 Чугун с пластинчатым графитом для отливок. Марки ГОСТ 6211-81 Основные нормы взаимозаменяемости. Резьба трубная коническая
ГОСТ 6357-81 Основные нормы взаимозаменяемости. Резьба трубная ц или ндриче с кая
ГОСТ 12815-80 Фланцы арматуры, соединительных частей и трубопроводов на Ру от 0,1 до 20,0 МПа (от 1 до 200 кгс/см2). Типы. Присоединительные размеры и размеры уплотнительных поверхностей
ГОСТ 14254-96 Степени защиты, обеспечиваемые оболочками (код IP)
ГОСТ29297—92 Сварка, высокотемпературная и низкотемпературная пайка, пайкосварка металлов. Перечень и условные обозначения процессов
ГОСТ 32028-2012 Клапаны автоматические отсечные для газовых горелок и аппаратов. Общие технические требования и методы испытаний
ГОСТ 32029-2012 Термостаты (терморегуляторы) механические для газовых приборов. Общие технические требования и методы испытаний
ГОСТ МЭК 60335-1—2008 Бытовые и аналогичные электрические приборы. Безопасность. Часть 1. Общие требования
ГОСТ IEC 60730-2-9—2011 Автоматические электрические управляющие устройства бытового и аналогичного назначения. Часть 2-9. Частные требования к термочувствительным управляющим устройствам
Примечание — При пользовании настоящим стандартом целесообразно проверить действие осылочкых стандартов в информационной системе общего пользования — на официальном сайте Федерального агентства по техническому регулированию и метрологии в сети Интернет или по ежегодному информационному указателю «Национальные стандарты», который опубликован по о
ГОСТ 33011-2014
состоянию на 1 января текущего года, и по выпускам ежемесячного информационного указателя «•Национальные стандарты» за текущий год. Если ссылочный стандарт заменен (изменен), то при пользовании настоящим стандартом следует руководствоваться заменяющим (измененным) стандартом. Если ссылочный стандарт отменен без замены, то положение, в котором дана ссылка на него, применяется в части, не затрагивающей эту ссылку.
3 Термины и определения
В настоящем стандарте применены следующие термины с соответствующими определениями:
3.1 горючие газы
3.1.1 испытательные газы: Газы, предназначенные для проверки
эксплуатационных характеристик котлов, работающих на газообразных видах топлива.
Испытательные газы подразделяются на эталонные и предельные газы.
3.1.2 эталонные газы: Испытательные газы, с которыми котлы достигают номинальных параметров, если они работают с соответствующим номинальным давлением.
3.1.3 предельные газы: Испытательные газы, имеющие крайние значения характеристик газов, для которых котлы были разработаны.
3.1.4 стандартные условия: 15 °С и 101,325 кПа,еели не указано иное.
3.1.5 относительная плотность d: Отношение масс равных объемов сухого газа и сухого воздуха, измеренных при одинаковых значениях давления и температуры: 15 °С или 0 °С, 101,325 кПа.
3.1.6 теплота сгорания, МДж/м3; МДж/кг: Количество тепла, которое
выделяется при полном сгорании единицы объема или массы газа при постоянном давлении, равном 101,325 кПа, причем составные части горючего газа (смеси газов) определяются при стандартных условиях, и продукты сгорания приводятся к тем же условиям.
Различают:
— высшую теплоту сгорания (Н$, в которой учитывается теплота конденсации водяных паров;
— низшую теплоту сгорания (Н), в которой не учитывается теплота конденсации водяных паров.
3.1.7 число Воббе, МДж/м3; МДж/кг: Отношение теплоты сгорания газа к корню квадратному его относительной плотности при стандартных условиях.
В зависимости от используемой высшей или низшей теплоты сгорания различают соответственно высшее число Воббе (Ws) и низшее число Воббе (W).
о
ГОСТ33011—2014
3.1.8 давление газа, к/7а: Статическое давление движущегося газа относительно атмосферного давления.
3.1.9 испытательные давления, ifla: Давления газа, применяемые для проверки эксплуатационных характеристик котлов, работающих на газообразных видах топлива.
Различают номинальное и предельное давления.
3.1.10 номинальное давление р„: Давление, при котором котлы достигают номинальных параметров при работе на соответствующем эталонном газе.
3.1.11 предельные давления ртах, ртп: Давления, имеющие крайние отклонения от условий газоснабжения котла (максимальное, минимальное).
3.1.12 пара давлений: Комбинация двух различных давлений подводимого газа, применяемая из-за существенного различия между числами Воббе в пределах одного семейства или группы, в которой более высокое давление соответствует газам с низким числом Воббе, а более низкое давление — газам с высоким числом Воббе.
3.2 Компоненты котла
3.2.1 Газоснабжение
3.2.1.1 соединение для подключения газа: Часть котла, предназначенная для подключения к системе газоснабжения.
3.2.1.2 газовый тракт: Части котла между основным запорным органом и горелкой (горелками), по которым подают или в которых находится газ.
3.2.1.3 входной дроссель: Устройство с одним или несколькими отверстиями, установленное в газовом тракте для создания перепада давления и тем самым снижения до заданного значения давления газа перед горелкой и расхода газа.
3.2.1.4 сопло: Деталь, через которую газ поступает в горелку.
3.2.1.5 устройство настройки расхода газа: Устройство, позволяющее устанавливать заданное значение расхода газа через горелку в соответствии с условиями газоснабжении; процесс настройки этого устройства называется настройка расхода газа.
3.2.1.6 устройство задания диапазона тепловой мощности: Устройство в котле, предназначенное для настройки монтажником подводимой тепловой мощности котла в пределах заявленного изготовителем диапазона подводимой тепловой мощности в соответствии необходимым количеством тепла.
4
