Терморегуляторы автоматические отопительных приборов систем водяного отопления зданий. Общие технические условия
На нашем сайте можно бесплатно скачать ГОСТ 30815-2002 в удобном формате. Узнать актуальный статус ГОСТА «Терморегуляторы автоматические отопительных приборов систем водяного отопления зданий. Общие технические условия» на 2016 год.
Скрыть дополнительную информацию
Страница 1

Страница 2

Страница 3

Страница 4

Страница 5

Страница 6

Страница 7

Страница 8

Страница 9

Страница 10

Страница 11

Страница 12

Страница 13

Страница 14

Страница 15

Страница 16

Страница 17

Страница 18

Страница 19

Страница 20

Страница 21

Страница 22

Страница 23

Страница 24

Страница 25

Страница 26

Страница 27

Страница 28

Страница 29

Страница 30

Страница 31

Страница 32

Страница 33

Страница 34

Страница 35

Страница 36

Страница 37

Страница 38
ГОСТ 30815-2002
МЕЖГОСУДАРСТВЕННЫЙ СТАНДАРТ
ТЕРМОРЕГУЛЯТОРЫ АВТОМАТИЧЕСКИЕ
ОТОПИТЕЛЬНЫХ ПРИБОРОВ СИСТЕМ
ВОДЯНОГО ОТОПЛЕНИЯ ЗДАНИЙ
Общие технические условия
МЕЖГОСУДАРСТВЕННАЯ НАУЧНО-ТЕХНИЧЕСКАЯ КОМИССИЯ
ПО СТАНДАРТИЗАЦИИ, ТЕХНИЧЕСКОМУ НОРМИРОВАНИЮ
И СЕРТИФИКАЦИИ В СТРОИТЕЛЬСТВЕ (МНТКС)
Москва
Предисловие
1 РАЗРАБОТАН Федеральным государственным унитарным предприятием — Центром методологии нормирования и стандартизации в строительстве (ФГУП ЦНС), Федеральным государственным унитарным предприятием «Научно-исследовательский институт санитарной техники» (ФГУП НИИсантехники), Федеральным центром сертификации в строительстве (ФЦС), ЗАО «Данфосс» и группой специалистов
ВНЕСЕН Госстроем России
2 ПРИНЯТ Межгосударственной научно-технической комиссией по стандартизации, техническому нормированию и сертификации в строительстве (МНТКС) 24 апреля 2002 г.
За принятие проголосовали
|
Наименование государства |
Наименование органа государственного управления строительством |
|
Азербайджанская Республика |
Госстрой Азербайджанской Республики |
|
Республика Армения |
Министерство градостроительства Республики Армения |
|
Республика Казахстан |
Казстройкомитет Республики Казахстан |
|
Кыргызская Республика |
Государственная Комиссия по архитектуре и строительству при Правительстве Кыргызской Республики |
|
Республика Молдова |
Министерство экологии, строительства и развития территорий Республики Молдова |
|
Российская Федерация |
Госстрой России |
|
Республика Таджикистан |
Комархстрой Республики Таджикистан |
|
Республика Узбекистан |
Госкомархитектстрой Республики Узбекистан |
3 ВВЕДЕН ВПЕРВЫЕ
4 ВВЕДЕН В ДЕЙСТВИЕ с 1 апреля 2002 г. в качестве государственного стандарта Российской Федерации постановлением Госстроя России от 15 января 2002 г. № 2
Введение
Настоящий стандарт «Терморегуляторы автоматические отопительных приборов систем водяного отопления зданий. Общие технические условия» устанавливает нормы для изготовления двухходовых термостатических регуляторов для отопительных приборов. Автоматические терморегуляторы, представленные в настоящем стандарте, работают в условиях предварительной настройки или без предварительной настройки при температуре теплоносителя до 120 °С и номинальном давлении до 1,0 МПа включительно.
Настоящий стандарт соответствует стандарту EN 215, часть 1 (1988) «Термостатические клапаны для отопительных приборов. Требования и методы испытаний» в части определений, типов и основных размеров, технических требований и методов испытаний. Оборудование для испытаний идентично оборудованию, рекомендуемому стандартом EN 215.
Использование индивидуального автоматического регулирования теплоотдачи отопительных приборов путем применения терморегуляторов является частью комплексной программы «Энергосбережение» в зданиях массового и индивидуального строительства. Экономическая эффективность применения автоматического терморегулятора подтверждена многолетним отечественным и мировым опытом. Терморегуляторы в системах отопления позволяют автоматически поддерживать температуру воздуха в помещении на заданном уровне с точностью до 1 °С. Терморегуляторы могут быть установлены в одно- или двухтрубных системах отопления строящихся или существующих зданий различных этажности и назначения.
МЕЖГОСУДАРСТВЕННЫЙ СТАНДАРТ
ТЕРМОРЕГУЛЯТОРЫ АВТОМАТИЧЕСКИЕ
ОТОПИТЕЛЬНЫХ ПРИБОРОВ
СИСТЕМ ВОДЯНОГО ОТОПЛЕНИЯ ЗДАНИЙ
Общие технические условия
AUTOMATIC VALVES FOR REGULATION
OF TEMPERATURE IN HEATING DEVICES
OF SYSTEMS OF WATER HEATING OF BUILDINGS
General specifications
Дата введения 2002-04-01
1 Область применения
Настоящий стандарт распространяется на автоматические терморегулирующие клапаны (далее — терморегуляторы), работающие без использования постороннего источника энергии (прямого действия), предназначенные для регулирования тепловой мощности отопительных приборов в системах водяного отопления зданий и сооружений.
Терморегуляторы предназначены для работы в следующих условиях:
— параметры теплоносителя: избыточное рабочее давление — до 1,0 МПа включительно, температура — до 120 °С;
— параметры окружающей среды: температура 5-45 °С, относительная влажность 30-80 %.
2 Нормативные ссылки
В настоящем стандарте использованы ссылки на следующие стандарты.
ГОСТ 2.601-95 ЕСКД. Эксплуатационные документы
ГОСТ 12.2.063-81 ССБТ. Арматура промышленная трубопроводная. Общие требования безопасности
ГОСТ 613-79 Бронзы оловянные литейные. Марки
ГОСТ 2991-85 Ящики дощатые неразборные для грузов массой до 500 кг. Общие технические условия
ГОСТ 5959-80 Ящики из листовых древесных материалов неразборные для грузов массой до 200 кг. Общие технические условия
ГОСТ 6357-81 Основные нормы взаимозаменяемости. Резьба трубная цилиндрическая
ГОСТ 10589-87 Полиамид 610 литьевой. Технические условия
ГОСТ 14192-96 Маркировка грузов
ГОСТ 15150-69 Машины, приборы и другие технические изделия. Исполнения для различных климатических районов. Категории, условия эксплуатации, хранения и транспортирования в части воздействия климатических факторов внешней среды
ГОСТ 15527-70 Сплавы медно-цинковые (латуни), обрабатываемые давлением. Марки
ГОСТ 17711-93 Сплавы медно-цинковые (латуни) литейные. Марки
ГОСТ 26663-85 Пакеты транспортные. Формирование с применением средств пакетирования. Общие технические требования
ГОСТ 26996-86 Е Полипропилен и сополимеры пропилена. Технические условия
3 Определения
В настоящем стандарте применяют следующие термины с соответствующими определениями.
Терморегулятор — вид трубопроводной арматуры, обеспечивающей автоматическое изменение количества протекающего через клапан терморегулятора теплоносителя в зависимости от заданной температуры воздуха.
Регулятор температуры (термоголовка) — узел (деталь) терморегулятора, включающий датчик и рукоятку установки температуры и обеспечивающий необходимое перекрытие проходного сечения клапана в автоматическом режиме.
Регулирующий клапан (клапан) — терморегулятор без устройства автоматического регулирования температуры (может иметь рукоятку или защитный колпачок для изменения вручную количества протекающего через него теплоносителя).
Кривые открытия и закрытия — графическое представление величины потока теплоносителя как функции температуры при движении клапана в направлении открытия и закрытия при постоянном перепаде давлений на клапане и неизменяемом положении рукоятки установки температуры.
Гистерезис терморегулятора — разность температур между точками на кривых открытия и закрытия, полученных при номинальном потоке теплоносителя.
Влияние статического давления — разность температур между соответствующими точками на двух кривых закрытия, полученных при разных статических давлениях и одной величине потока теплоносителя.
Влияние перепада давлений — разность температур между точками S на теоретических прямых закрытия, полученная при различных перепадах давления теплоносителя на клапане.
Влияние изменения температуры теплоносителя — разность температур на кривых закрытия, эквивалентная отклонению величины потока, вызванная изменением температуры теплоносителя, проходящей через клапан.
Влияние окружающей температуры на работу терморегулятора с дистанционным датчиком — разность температур между соответствующими точками на кривых открытия при одинаковой величине потока, полученная как при равных температурах встроенной и выносной частей датчика, так и при разных температурах.
Время срабатывания терморегулятора — время, необходимое для достижения требуемого изменения величины потока теплоносителя при изменении температуры воздуха.
Температура датчика — температура датчика, равная при испытаниях температуре воды в ванне или воздуха в воздушной камере.
Теоретическая прямая — прямая линия, проходящая через точки 0,5 gms и 0,25 gms на кривой открытия или закрытия.
Точка S — точка пересечения теоретической прямой с осью абсцисс графика регулирования, соответствующая gm = 0.
Условные обозначения
gm — величина потока теплоносителя
gmN — номинальная величина потока для промежуточного положения рукоятки установки температуры
gm max — максимально достигаемая величина потока при перепаде давлений 0,1 МПа
gms — величина потока, достигаемая при температуре S-2 °С и перепаде давлений 0,01 МПа при всех возможных положениях рукоятки установки температуры
gms max — величина потока при максимальном положении рукоятки установки температуры
gms min — величина потока при минимальном положении рукоятки регулятора температуры
gmx1, gmx2 — вспомогательные значения величины потока для измерения времени срабатывания
ts — температура датчика, соответствующая gms, °C
ts max — значение температуры датчика при максимальном положении рукоятки установки температуры, °С
ts min — значение температуры датчика при минимальном положении рукоятки установки температуры, °С
td или te — температура датчика, соответствующая gm = 0 на кривой открытия или закрытия
DР — перепад давлений теплоносителя на входе и выходе из регулирующего клапана, МПа
4 Типы и основные размеры
4.1 Типы регуляторов температуры и их наименование должны соответствовать указанным в таблице 1 и на рисунке 1.
4.2 Схема одного из конструктивных вариантов исполнения терморегулятора со встроенными регулятором температуры и датчиком приведена на рисунке 2. В корпусе клапана для двухтрубных систем отопления должен быть встроен механизм предварительной гидравлической настройки.
Таблица 1
|
Тип |
Наименование |
|
Т1 |
Терморегулятор со встроенным регулятором температуры и датчиком |
|
Т2 |
Терморегулятор со встроенным регулятором температуры и дистанционным датчиком |
|
Т3 |
Терморегулятор с дистанционным датчиком, который объединен с регулятором температуры |
|
Т4 |
Терморегулятор с дистанционным датчиком и отдельно расположенным регулятором температуры |
а — терморегулятор со встроенным регулятором температуры и датчиком; б — терморегулятор со встроенным регулятором температуры и дистанционным датчиком; в — терморегулятор с дистанционным датчиком, который объединен с регулятором температуры; г — терморегулятор с дистанционным датчиком и отдельно расположенным регулятором температуры
Рисунок 1 — Типы регуляторов температуры
1 — регулятор температуры; 2 — датчик; 3 — рукоятка установки температуры; 4 — шкала выбора температуры; 5 — соединительная гайка; 6 — присоединительный патрубок; 7 — накидная гайка; 8 — затвор; 9 — седло клапана; 10 — передаточный шток; 11 — уплотнение; 12 — клапан
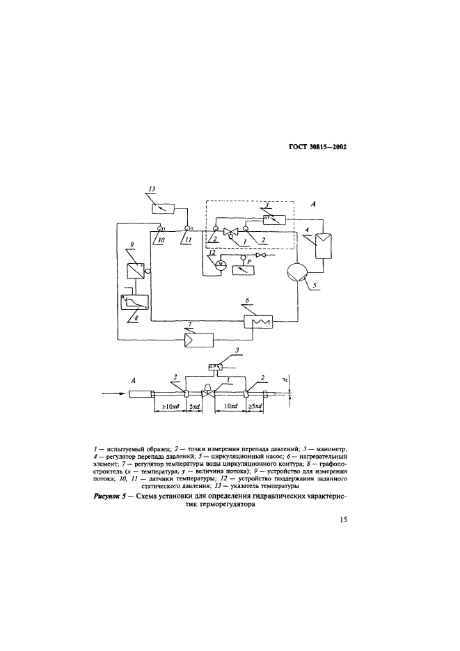
Рисунок 2 — Принципиальная схема конструкции терморегулятора (со встроенным регулятором температуры и датчиком)
4.3 Конструкция и материал рукояток терморегуляторов должны исключать ее нагрев на поверхности более 45 °С.
4.4 Типы клапанов — проходной и угловой приведены на рисунке 3. Кроме указанных, клапаны могут быть трехосевые правого и левого исполнения.
Допускаются другие типы конструкций клапанов, в том числе встроенные в отопительные приборы, обеспечивающие требования настоящего стандарта.
4.5 Условное обозначение терморегулятора состоит из: обозначения типа регулятора температуры (таблица 1); величины условного диаметра клапана; типа клапана и его разновидности в зависимости от системы отопления (о — однотрубная, д — двухтрубная) и обозначения настоящего стандарта.
а — терморегулятор угловой; 6 — терморегулятор проходной с уплотнением
Рисунок 3 — Типы клапанов
Тип клапана обозначается буквой: У — угловой; П — проходной и А — трехосевой.
Пример условного обозначения терморегулятора диаметром Ду = 15 мм для однотрубной системы отопления, с проходным клапаном, со встроенными регулятором температуры и датчиком:
Терморегулятор T1-15 — По ГОСТ 30815-2002.
То же, терморегулятора диаметром Д = 20 мм для двухтрубной системы отопления, с угловым клапаном и дистанционным датчиком:
Терморегулятор Т2-20-Уд ГОСТ 30815-2002.
5 Технические требования
5.1 Требования надежности
5.1.1 Терморегуляторы должны выдерживать испытательное давление не менее 1,5 МПа без утечки в соединениях и в сборных элементах корпуса клапана терморегулятора.
5.1.2 Замена уплотнения штока клапана должна осуществляться без спуска воды из системы, в которой установлен терморегулятор.
5.1.3 Корпус клапана должен выдерживать нагрузку на изгиб без разрушений, появления трещин, сколов и деформаций.
5.1.4 Рукоятка регулятора температуры должна быть прочной при испытании на вращение и изгиб.
5.1.5 Крутящий момент на рукоятке управления терморегулятора при открытии и закрытии не должен превышать 2,0 Н×м.
5.2 Рабочие характеристики
5.2.1 Номинальная величина потока теплоносителя, соответствующая величине потока при температуре S — 2 °С, указанная предприятием-изготовителем и определенная при испытаниях, не должна отличаться более чем на: 10 % для величины потока более 33 кг/ч и на 3 кг/ч — для величины потока менее или равного 33 кг/ч.
Величина потока, соответствующая величине потока при температуре S — 1 °С, не должна превышать 70 % величины номинального потока.
5.2.2 Величина потока теплоносителя при минимальном и максимальном положении рукоятки регулятора температуры gms должна иметь следующие пределы:
— при максимальном положении gms max ³ 0,8 gmN;
— при минимальном положении 1,20 gmN ³ gms min ³ 0,5 gmN.
5.2.3 Величина потока теплоносителя для термостатического клапана с предварительной гидравлической настройкой в промежуточном положении между минимальной и максимальной позицией регулятора температуры не должна отклоняться от значений, заданных изготовителем и указанных в 5.2.1.
5.2.4 Разность температур на кривых открытия и закрытия при изменении перепада давлений на клапане более чем 0,01 МПа не должна превышать 1 °С.
5.2.5 Разность температур на кривых закрытия клапана при изменении статического давления от 0,01 МПа до 1,0 при прочих равных условиях не должна превышать 1 °С.
5.2.6 Гистерезис терморегулятора не должен превышать 1 °С (рисунок 4).
5.2.7 Разница температур между точкой S и температурой закрытия td или открытия te клапана не должна превышать 0,8 °С.
5.2.8 Разность температур на кривых открытия клапана с дистанционным датчиком и встроенным датчиком при промежуточном положении рукоятки не должна превышать 1,5 °С.
