Короткие замыкания в электроустановках. Методика расчета в электроустановках постоянного тока
На нашем сайте можно бесплатно скачать Руководящий документ ГОСТ 29176-91 в удобном формате. Узнать актуальный статус документа «Короткие замыкания в электроустановках. Методика расчета в электроустановках постоянного тока» на 2016 год.
Скрыть дополнительную информацию
Страница 1

Страница 2

Страница 3

Страница 4

Страница 5

Страница 6

Страница 7

Страница 8

Страница 9

Страница 10

Страница 11

Страница 12

Страница 13

Страница 14

Страница 15

Страница 16

Страница 17

Страница 18

Страница 19

Страница 20

Страница 21

Страница 22

Страница 23

Страница 24

Страница 25

Страница 26

Страница 27

Страница 28

Страница 29

Страница 30

Страница 31

Страница 32

Страница 33

Страница 34

Страница 35

Страница 36
ГОСТ 29176-91
МЕЖГОСУДАРСТВЕННЫЙ СТАНДАРТ
КОРОТКИЕ ЗАМЫКАНИЯ В ЭЛЕКТРОУСТАНОВКАХ
МЕТОДИКА РАСЧЕТА В ЭЛЕКТРОУСТАНОВКАХ ПОСТОЯННОГО ТОКА
Издание официальное
БЗ 12-2003
И ПК ИЗДАТЕЛЬСТВО СТАНДАРТОВ Москва
УДК 621.3.064.1.001.24:006.354 Группа Е09
МЕЖГОСУДАРСТВЕННЫЙ СТАНДАРТ
КОРОТКИЕ ЗАМЫКАНИЯ В ЭЛЕКТРОУСТАНОВКАХ
Методика расчета в электроустановках постоянного тока ГОСТ
29176_91
Short-circuits in dcctrical installations.
Calculation methods in d. c. clectncal equipment
MKC 29.020 ОКСТУ 3400
Дата ввелення 01.07.92
Настоящий стандарт распространяется на электроустановки постоянного тока, в которых источниками энергии постоянного тока (преобразователями) являются:
— свинцово-кислотные аккумуляторные батареи;
— машины постоянного тока параллельного возбуждения;
— трехфазные вентильные полупроводниковые выпрямители, выполненные по схеме две обратные звезды с уравнительным реактором;
— трехфазные вентильные полупроводниковые выпрямители, выполненные по симметричной мостовой схеме.
Стандарт не распространяется на электроустановки постоянного тока напряжением выше ± 750 кВ.
Стандарт не регламентирует:
— методику расчета токов при внутренних повреждениях в источниках энергии постоянного тока (преобразователях) (при замыкании пластин в аккумуляторах, при замыкании витков и секций обмоток в машинах постоянного тока, при пробоях вентилей в преобразователях);
— методику расчета токов КЗ, учитывающую развитие аварии (КЗ в сети постоянного тока и внутреннее повреждение);
— методику расчета токов КЗ при сложных видах повреждений в сети постоянного тока (КЗ полюсных проводов — отжиг провода — замыкание провода на землю);
— методику расчета токов КЗ. учитывающую взаимное атияние через общую ветвь тока источников (преобразователей) постоянного тока разных видов (типов);
— методику расчета токов КЗ, учитывающую электромеханические переходные режимы электрических машин;
— методику расчета токов КЗ, учитывающую распределенность параметров длинных линий постоянного тока;
— методику расчета токов КЗ в специальных установках (автономные системы, установки постоянного тока подвижного состава);
— методику расчета токов КЗ в каналах МГД-установок;
— методику расчета токов КЗ с учетом нелинейностей электрических характеристик машин постоянного тока, токоограничивающих и сглаживающих реакторов.
Все требования стандарта являются обязательными.
1. ОБЩИЕ ПОЛОЖЕНИЯ
1.1. Исходные положения
1.1.1. Настоящий стандарт устанавливает общую методику расчета токов КЗ в электроустановках постоянного тока в начальный и произвольный моменты времени, необходимых для выбора электрооборудования и проверки его по условиям КЗ, для выбора установок и оценки действия защит и автоматики, для расчета заземляющих устройств.
Издание официальное Перепечатка воскрешена
© Издательство стандартов, 1992 © И ПК Издательство стандартов, 2(Ю5
ГОСТ 29176-91 С. 2
1.1.2. Стандарт устанавливает методику расчетов токов при замыкании полюсов сети постоянного тока, а также при замыкании полюса на землю (корпус) заземленной сети.
1.1.3. Величины, подлежащие определению, и допустимая погрешность расчетов токов КЗ определяются указанными в п. 1.1.1 целями. Для выбора электрооборудования и зашит допускаются приближенные методы расчета. Определению подлежат:
— значение тока КЗ в цепях постоянного тока в произвольный момент времени;
— максимальное (пиковое) значение тока КЗ в цепях постоянного тока:
— ударный ток КЗ в цепях переменного тока вентильных преобразователей (при трех- и двухфазных КЗ в вентильных обмотках преобраювательных трансформаторов);
— максимальное значение установившегося тока КЗ в цепях постоянного тока вентильных преобра зовател ей;
— минимальное значение установившегося тока КЗ в цепях постоянного тока вентильных п реобра зовател е й.
1.2. Исходные данные
1.2.1. Для расчета токов КЗ в электроустановках постоянного тока необходимы достоверные данные о параметрах используемого электрооборудования.
1.2.2. Приведенные ниже расчетные методики устанавливают связь параметров электрооборудования с параметрами эквивалентных схем замещения, позволяющую учесть его основные характеристики.
1.3. Схемы замещения
1.3.1. Электрооборудование установок постоянного тока в схемах замещения, соответствующих расчетным схемам, следует учитывать элементами с сосредоточенными параметрами.
1.3.2. Все элементы схемы замещения, кроме элемента, заметающего электрическую дугу, допустимо считать обладающими линейными характеристиками, т. е. их самоиндуктивность и вза-нмонндуктивность. коэффициент магнитного рассеяния, а также электрическое сопротивление постоянному и переменному току принимать неизменными, не зависящими от значения тока и напряжения.
1.4 Параметры схем замещения
1.4.1 Параметры схем замещения могут быть выражены как в именованных, так и в относительных единицах. Предпочтительно использование системы именованных единиц.
1.4.2. Параметры элементов схемы замещения следует относить к ступени напряжения сети постоянного тока.
1.4.3. При расчетах токов КЗ в электроустановках, в которых источниками энергии (преобразователями) яатяются трехфазные вентильные выпрямители, составление схем замещения трехфазных цепей переменного тока, а также определение параметров различных элементов и приведение их к одной сту пени напряжения следует производить в соответствии с ГОСТ 27514.
При упрощенных расчетах допустимо источники энергии (преобразователи) в схемах замещения представлять эквивалентными параметрами, косвенно учитывающими параметры схемы и режима питающей сети переменного тока.
1.5. Исполыование ЭВМ
1.5.1. ЭВМ рекомендуется использовать при массовых расчетах токов КЗ для оценки аварийных режимов оборудования электроустановок постоянного тока, а также при расчетах переходных режимов регулируемых вентильных преобразователей, в частности, преобразователей электропередач или вставок постоянного тока.
2. РАСЧЕТ ТОКОВ КЗ В ЭЛЕКТРОУСТАНОВКАХ, ПОЛУЧАЮЩИХ ПИТАНИЕ ОТ АККУМУЛЯТОРНЫХ БАТАРЕЙ
2.1. Исходные данные для расчета и их условные обозначения
2.1.1. Геометрические параметры пластин свинцового аккумулятора:
И — высота электродных пластин, м;
d — длина электродных пластин, м;
/ — расстояние между электродными пластинами, м.
2.1.2. Число элементов аккумуляторной батареи:
п — число последовательно соединенных элементов;
т — число параллельно соединенных элементов.
С. 3 ГОСТ 29176-91
2.1.3. Начальные параметры:
„ — начальная относительная плотность электролита;
RM — начальное сопротивление электролита. Ом;
R о — начальное сопротивление положительной пластины, Ом;
/^„ — начальное сопротивление сепаратора. Ом.
2.1.4. Электрохимические константы:
I) — коэффициент диффузии ионов HSOt~, мг с**’;
Л’ — положительная константа, характеризующая интенсивность электродных реакций.
моль-л— ‘•м-А_|; у> — удельная электропроводность электролита. См м‘
g,„ g2l — положительная и отрицательная константы, определяемые при аппроксимации
уравнений Нернста, В/(мольл-1).
2.1.5. Расчетные значения параметров аккумулятора СК-1 и значения электрохимических констант свинцово-кислотных аккумуляторов приведены в приложении 1.
2.1.6. Определяемые параметры (промежуточные), используемые при расчетах:
В — константа, характеризующая удельное сопротивление электролита при заданной
концентрации и температуре. Ом/м;
Еа — обратимая ЭДС аккумулятора. В;
£„ — ЭДС поляризации аккумулятора. В;
£ul — внутренняя ЭДС аккумулятора, находящегося в режиме кратковременного разряда
большим током. В; графически определяют как точку пересечения спрямленной вольт-ампер! юй характеристики с осью ординат;
Ri} — внутреннее сопротивление аккумулятора, Ом.
2.1.7. Параметры, характеризующие сеть постоянного тока:
— активное сопротивление внешней сети (цепи КЗ), Ом;
Rolll — активное сопротивление ошиновки. Ом;
— активное сопротивление кабелей. Ом;
/?„р — активное сопротиыение проводов. Ом;
R, к — активное сопротивление токовых катушек отключающих аппаратов. Ом;
RK с — сопротивление контактных соединений. Ом.
2.2. Схема замещения
2.2.1. При составлении схемы замещения для расчета токов КЗ в электроустановках, получа-юших питание от аккумуляторной батареи, допустимо не учитывать индуктивные сопротивления элементов цепей (см. черт. 1).
2.2.2. При расчете токов КЗ следует учитывать сопротивление постоянному току ошиновки, кабелей, проводов, токовых катушек отключающих аппаратов и переходное сопроти&аение контактных соединений, поэтому внешнее сопротивление цепи КЗ (R,u) в омах в общем случае равно
|
Схема замещения сети, питаемой от аккумуляторной 6а гарен |
ГОСТ 29176-91 С. 4
2.3. Расчет тока КЗ с учетом электрической дуги в месте КЗ
2.3.1. Г1рн определении минимального значения тока КЗ необходимо учитывать влияние на ток КЗ активного сопротивления электрической дуги, возникающей в месте КЗ. Это значение рекомендуется определять по формуле
/ = К I
к л «ачм’
где Кл — поправочный коэффициент;
/к и — ток металлического КЗ.
Значения коэффициента Кл для электроустановок с аккумуляторными батареями являются функцией результирующего сопротивления цепи КЗ
*= *,, + Кт
и их следует определять по кривой 1 на черт. 11.
2.3.2. При определении минимального значения тока КЗ рекомендуется учитывать увеличение активного сопротивления кабеля к моменту отключения КЗ вследствие его нагревания токами КЗ. Активное сопротивление кабеля (rlV) в омах при нагреве его током КЗ рассчитывают по формуле
г6 = Cfl ЪО,
где С0 — коэффициент, учитывающий увеличение активного сопротивления медного или алюминиевого кабеля. При приближенных расчетах значение коэффициента Сл допускается принимать равным 1,5. При уточненных расчетах коэффициент С0 следует определять в соответствии с черт. 13—15 в зависимости от сечения кабеля, тока и продолжительности КЗ;
г20 — активное сопротивление медного или алюминиевого кабеля при температу ре й = +20 ‘С. Ом.
2.3.3. При расчете максимального значения тока КЗ паление напряжения на электрической дуге допустимо не учитывать, когда ток КЗ в установке не превышает 25 кЛ, а также в установках с большими токами КЗ, если не приняты меры, исключающие включение источника питания коммутационным аппаратом на предварительно установленную закоротку или на цепь, предварительно закороченную путем неправильного включения коммутационных аппаратов.
2.4. Расчет токов КЗ в сети, питаемой от свинцово-кислотного аккумулятора
2.4.1. Расчет тока КЗ в произвольный момент времени
2.4.1.1. Ток КЗ (ток разряда /^) в амперах свинцово-кислотного аккумулятора с плоскопараллельными электродными пластинами на постоянное активное сопротивление в произвольный момент времени следует определять по формуле
/ -I (2)
р| 2(Л„ + Л,,„) + В //siir.v, ’
где / — время с начала разряда, с;
^»ill — + **1 Я» = М’*!йтЬ1)л=0,(Ю2;
= 0,32 + 1,43ft;
2<Л.,о+ я.ш>
хк — корни уравнения ctg х = ■ ■ х.
С. 5 ГОСТ 29176-91
Для определения корней уравнения типа ctg х = ах применяют метод численной итерации.
Прим е ч а н и с. В качестве примера на черт. 16 приведена зависимость разрядного тока аккумулятора типа СК-1 от длительности КЗ при КЗ на его зажимах.
2.4.2. Расчет гока КЗ п начальный момент времени
2.4.2.1. Начальный ток КЗ (ток разряда) свинцово-кислотного аккумулятора (/р1>) в амперах следует определять по формуле
До = i-—-• <3>
Р *_ |2<Л„+ Я.и) +Я//sin-\
Примечание. В качестве примера на черт. 17 приведена зависимость напряжения на зажимах заряженного аккумулятора типа СК-1 ог силы тока в начальный момент КЗ.
2.4.2.2. При упрошенных расчетах начальный ток разряда свинцово-кислотного аккумулятора допустимо определять по формуле
и принимать Е» = 2.05 — 2.15 В; = 0,10- 0,15 В и Ru, — 0,004-0.007 Ом.
2.5. Расчет токов КЗ в сети, питаемой от свинцово-кислотной аккумуляторной батареи
2.5.1. Расчет тока КЗ от аккумуляторной батареи в произвольный момент времени следует рассчитывать по формуле (2), заменив в ней £’„ на £0‘ = нЕа, RUI на Ra\ = (n/m)R,, и Еао на = — нЬио.
2.5.2. Ток КЗ от аккумуляторной батареи в начальный момент времени следует рассчитывать по формуле (3) с учетом п. 2.5.1.
2.5.3. При упрощенных расчетах начальный ток КЗ от аккумуляторной батареи следует определять по методике, изложенной в приложении 5.
3. РАСЧЕТ ТОКОВ КЗ В ЭЛЕКТРОУСТАНОВКАХ, ПОЛУЧАЮЩИХ ПИТАНИЕ ОТ МАШИН ПОСТОЯННОГО ТОКА
3.1. Исходные данные для расчета, их условные обозначения и базисные условия
3.1.1. Исходные данные номинального режима машины:
РАОи — активная мощность (мощность на валу), кВт: йном — напряжение якоря. В;
/Н1>и — ток якоря. А;
//ион — ток обмотки возбуждения. А;
«ном — частота вращения якоря, об/мин;
3.1.2. Начальные значения параметров режима:
£i, — ЭДС машины при холостом ходе. В:
I# — ток обмотки возбуждения при холостом ходе. А;
«и — частота вращения якоря в момент КЗ. об/мин.
3.1.3. Дополнительные параметры режима:
A S — линейная нагрузка якоря при номинальном режиме работы машины. А/см:
— ампер-витки поперечной реакции якоря при нохшнальном режиме работы машины;
/!**•„ — ампер-витки последовательной обмотки при номинальном режиме работы машины;
Awtx — ампер-витки возбуждения при холостом ходе машины.
3.1.4. Определяемые и другие параметры, используемые при расчетах токов КЗ:
Ne — число проводников обмотки якоря;
ну — число витков обмотки возбуждения;
wn — число витков последовательной обмотки;
а — число пар параллельных ветвей якорной обмотки;
а{ — число параллельных ветвей обмотки возбуждения;
а„ — число параллельных ветвей последовательной обмотки;
а — коэффициент магнитного рассеяния главных полюсов:
ГОСТ 29176-91 С. 6
р — число пар полюсов машины;
Ьк — коэффициент (ширина) коммутационной зоны;
eR — реактивная ЭДС короткозамкнутой секции обмотки якоря. В;
рк — число перекрытых щеткой коллекторных пластин;
А6′ш— переходное падение напряжения щеточного контакта. В:
Ra — активное сопротивление якорной обмотки, Ом;
Rw — активное сопротивление обмотки добавочных полюсов и компенсационной обмотки. Ом; R„ — активное сопротивление последовательной обмотки. Ом;
/?,!, — переходное сопротивление щеточного контакта. Ом;
/f…| — суммарное активное сопротивление всех обмоток якорной цепи, Ом;
— суммарное активное сопротивление всех обмоток якорной цепи с учетом переходного сопротивления щеточного контакта. Ом;
R,a — суммарное активное сопротивление цепи якоря. Ом;
Rnui — активное сопротивление внешней сети (цепи КЗ), Ом, которое следует определять по п. 2.2.2.
3.1.5. Базисные условия для определения величин в системе относительных единиц:
<4 = Ч-: = 4»: *<■, = ад-
3.2. Схема замещения
3.2.1. При составлении схемы замещения сети, питаемой от машины постоянного тока, следует учитывать индуктивные сопротивления обмоток машины и активные сопротивления элементов цепей машины и внешней сети.
Схема замещения для расчета токов при КЗ полюсов сети постоянного тока приведена на черт. 2.
|
Электрическая схема и схема смешения сети, питаемой от машины постоянного тока |
3.3. Расчет токов КЗ в сети, питаемой от машины постоянного тока
3.3.1. Токи КЗ в цепи якоря (/л) и в цепи обмотки возбуждения (/„) машины постоянного тока
в произвольный момент времени следует определять по формулам:
4* = Ij- — Ь\ е*Ъ «■ (Ко — h-)
/„ = v + — i/ь) г»т; ♦ (/;„ — (8)
где /rf_ — установившийся ток КЗ в цепи якоря;
С. 7 ГОСТ 29176-91
if- — установившийся ток КЗ в цепи обмотки возбуждения;
Ijo — переходный ток КЗ в цепи якоря в начальный момент:
//о — переходный ток КЗ в цепи обмотки возбуждения в начальный момент;
TJ — переходная постоянная времени цепи якоря, с;
Г/ — переходная постоянная времени цепи обмотки возбуждения, с;
/ — время от начала КЗ, с.
Примечав н с. В общем случае машины постоянного тока имеют две обмотки возбуждения (самовозбуждения и независимого возбуждения). При математическом описании переходных процессов эти обмотки допустимо заменять одной эквивалентной обмоткой возбуждения.
Составляющие токов якоря и обмотки возбуждения при КЗ в сети, питаемой от машины постоянного тока, показаны на черт. 3.
|
Расчетные составляющие токов якоря и обмотки возбуждения ири КЗ машины постоянного тока |
3.3.2. Расчет начального переходного тока при КЗ в цепи якоря
3.3.2.1. Начальное переходное сопротивление цепи якоря (.R^) в омах следует определять по формуле
+ <*> где р — коэффициент, учитывающий реакцию якоря при запаздывающей коммутации, который допустимо определять по формуле
(Ю)
ГОСТ 29176-91 С. 8
а — коэффициент, учитывающий магнитное рассеяние главных полюсов, значение которого находится в пределах 1,15 £ а £ 1,18.
Суммарное активное сопротивление цепи якоря (Я,) в омах с учетом активного сопротивления внешней сети до точки КЗ следует определять, используя выражение
R,, = Rol + (А иш + Ж™ + (П)
причем суммарное активное сопротивление обмоток якорной цепи машины (/?„,) в омах рекомендуется принимать равным
Я,, = 1,24( + К + Л„). (12)
3.3.2.2. Начальный переходный ток цепи якоря (fo) в амперах при КЗ в этой цепи следует определять по формуле
Art) Л £{)/Ям* (13)
где е„ — начальная ЭДС, равная ЭДС холостого хода машины, В.
3.3.3. Расчет установившегося тока при КЗ в цепи якоря
3.3.3.1. Установившийся ток цепи якоря (/^) в амперах при КЗ в этой цепи и независимом возбуждении машины следует определять по формуле
= eJRd, (14)
где — ЭДС якоря в установившемся режиме КЗ, равная ЭДС холостого хода машины, В;
Rj — сопротивление цепи якоря в установившемся режиме КЗ. Ом, которое допустимо определять как
Л,= Ля + ф- ЦЯ* (15)
где у — коэффициент компаундирования машины, который для машин постоянного тока нормального исполнения при учете реакции коммутационных токов меньше Р и определяется по формуле
У = AM/JAW^. (16)
3.3.3.2. Установившийся ток цепи якоря в амперах при КЗ в этой цепи и самовозбуждении машины допустимо определять, используя приближенное соотношение
= KeJiR^ + Яиш), (17)
где К = 0.05 — 0,15. причем суммарное активное сопротивление обмоток якорной цепи и щеток (без учета изменения падения напряжения под щетками при КЗ) (Rai) в омах определяют по выражению
Яа1 = 1,24(4. + Ян + R„) + Яш . (18)
3.3.4. Расчет постоянных времени
3.3.4.1. Постоянную времени цепи якоря (7^) в секундах при неучете взаимоиндукции с обмоткой возбуждения следует определять по формуле
Tj- Тя = LJЯя, (19)
где L, — суммарная индуктивность обмоток цепи якоря. Гн, которая равна
4=4 + 4 + L„, (20)
где La — индуктивность якорной обмотки. Гн:
С. 9 ГОСТ 29176-91
Ln — индуктивность последовательной обмотки, Гн;
L„ — индуктивность компенсационной обмотки и обмотки добавочных полюсов. Hi.
3.3.4.2. Постоянную времени обмотки возбуждения (Tt) в секундах при неучете взаимоиндукции с якорной и последовательной обмотками следует определять по формуле
Т,= Lf/Rf,
(21)
где Lf— индуктивность обмотки возбуждения, Гн:
R. — активное сопротивление обмотки возбуждения, Ом, которое допустимо определять как
(22)
3.3.4.3. Переходную постоянную времени обмотки возбуждения (Г ’) в секундах следует определять по формуле
т; = т, (RJo/Rj).
(23)
3.3.4.4. Переходную постоянную времени цепи якоря (7^) в секундах в предположении, что обмотка возбуждения является сверхпроводящей, следует определять по формуле
(24)
7Л
3.3.4.5. Переходную постоянную времени цепи якоря (TJ) в секундах с учетом активного сопротиатения обмотки возбуждения следует определять по формуле
(25)
3.3.5. Расчет начального переходного тока в цепи обмотки возбуждения
3.3.5.1. Начальный переходный ток в цепи обмотки возбуждения (//0) в амперах при КЗ во внешней сети следует определять по формуле
I’!о = //о W*/),
(26)
где
r; = л;,( 1 — 27-/77).
(27)
3.3.6. Расчет установившегося тока в цепи обмотки возбуждения
3.3.6.1. Если машина постоянного тока имеет независимое возбуждение, то при коротком замыкании во внешней сети следует принимать if. = fa если же машина имеет самовозбуждение, то ifи близок к нулю.
3.3.7. Определение момента времени, когда токи в цепях якоря и параллельной обмотки возбуждения максимальны, и тока в месте КЗ
3.3.7.1. Время от момента возникновения КЗ до момента, когда ток в цепи якоря оказывается максимальным, (/„„J в секундах следует определять по выражению
|
г; |
(28)
где ij =• etl/Rj.
(29)
3.3.7.2. Ток машины, замыкаюшийся через внешнюю короткозамкнутую сеть (см. схему замещения на черт. 2), следует определять как
ГОСТ 29176-91 С. 10
В области максимальных токов допустимо считать
(31)
3.3.S. Упрошенные расчеты токов КЗ
3.3.8.1. При неполных исходных данных максимальное значение тока КЗ (1тш) в относительных единицах допустимо определять по одной из формул:
(32)
4 «их ‘ + (а _ I )/а f
(33)
2 +\и.ЗГш„/Ц)
л.ш * J,—+—+ Л/
где ДРл — потери активной мощности в цепи якоря машины, кВт;
D„ — диаметр якоря, см;
М — коэффициент, учитывающий влияние реакции якоря и потоков рассеяния: для некомпенсированных машин принимают А/ = 0.05 и для компенсированных машин Л/ = 0.025;
3.3.S.2. При отсутствии полной информации об исходных параметрах, максимальное значение тока КЗ от машины постоянного тока можно оценить, исходя из опытных данных, приведенных в приложении 6.
3.3.9. Учет электрической дуги в месте КЗ
3.3.9.1. При определении минимального значения тока КЗ от машины постоянного тока следует учитывать электрическую дугу. Методика учета аналогична ихюженной в п. 2.3.1.
Значения коэффициента К для электроустановок с машинами мощностью до 100—150 кВт допустимо определять по кривой 2 на черт. И. а апя электроустановок с генераторами большой мощности (ток КЗ до 140 кА) — по кривым черт. 12.
3.3.9.2. При определении минимального значения тока КЗ рекомендуется учитывать увеличение активного сопротивления кабеля вследствие его нагрева токами КЗ. Методика учета аналогична изложенной в п. 2.3.2.
3.4. Определение параметров схем замещения машин постоянного тока
Индуктивности обмоток машины постоянного тока и активное сопротивление обмотки якоря рекомендуется рассчитывать по формулам, приведенным в приложении 7.
4. РАСЧЕТ ТОКОВ КЗ В ЭЛЕКТРОУСТАНОВКАХ, ПОЛУЧАЮЩИХ ПИТАНИЕ ОТ ТРЕХФАЗНЫХ ВЕНТИЛЬНЫХ ПРЕОБРАЗОВАТЕЛЕЙ
4.1. Исходные данные для расчета и их условные обозначения
4.1.1. Исходные данные номинального режима вентильного преобразователя:
kjnoM — выпрямленное напряжение. В;
Ijuoh — выпрямленный ток. А:
«|.оы — угол включения вентилей, эл. град.
4.1.2. Паспортные данные полупроводниковых приборов:
11Л — ударный неповторяюшийся ток прибора. А;
J rdi — максимально допустимое значение интеграла Джоуля в интервале времени 10 мс (за-
шитый показатель), А2с;
С. 11 ГОСТ 29176-91
Rx — дифференциальное сопротивление прибора. Ом;
пит — числа соответственно последовательно и параллельно включенных в групповой вентиль полупроводниковых приборов.
4.1.3. Номинальные данные преобразовательных трансформаторов:
5ном — полная мощность, кВ Л:
Uuou] —линейное напряжение первичной (сетевой) обмотки. В;
Uh<,m2 — линейное напряжение вторичной (вентильной) обмотки. В;
А 1\ — потери короткого замыкания в трансформаторе. кВт;
ик — напряжение короткого замыкания. %.
4.1.4. Параметры реакторов:
Ltl — индуктивность сглаживающего реактора, Гн;
Rj — активное сопротнаюние сглаживающего реактора. Ом;
Цр — индуктивность уравнительного реактора. Гн.
4.1.5. Исходные данные, характеризующие сеть переменного тока:
гуа — удельное активное сопротивление линии переменного тока. Ом/км;
— удельное индуктивное сопротиачение линии переменного тока. Ом/км;
/ — длина линии, км.
4.1.6. Исходные данные, характеризующие сеть постоянного тока:
— удельное активное сопротивление полюсных кабелей (выводных, питающего, отсасывающего), Ом/км;
гкс — удельное активное сопротивление проводов контактной сети наземного транспорта,
Ом/км;
гр — удельное активное сопротивление рельсов ряда параллельно соединенных путей,
Ом/км;
гп „ — удельное активное сопротивление линии постоянного тока в системе «провод—про
вод*. Ом/км:
г„, — удельное активное сопротиачение линии постоянного тока в системе «провод—зем
ля», Ом/км.
4.1.7. Определяемые параметры, характеризующие вентильный преобразователь и примыкающую сеть переменного тока:
Л’< — эквивалентные активное и индуктивное сопротивления системы переменного тока. Ом; Л,. .V, — активное и индуктивное сопротивления преобразовательного трансформатора, отнесенные к одной вентильной обмотке. Ом;
Xt — активное и индуктивное сопротиачения линии переменного тока. Ом;
Ra — активное сопротиачение анодных проводников. Ом;
— активное сопротиачение вентиля (с учетом п последовательно и т параллельно соединенных полупроводниковых приборов). Ом;
4.1.8. Определяемые параметры, характеризующие сеть постоянного тока:
RlCi — активное сопротиапение выводных полюсных кабелей. Ом;
— активное сопротиатение питающего (+) кабеля. Ом;
Лс, — активное сопротиапение отсасывающего (—) кабеля. Ом;
Л, — сопротивление земли растеканию постоянного тока. Ом;
Л, к — сопротивление заземляющего контура (заземлителя). Ом;
RM — активное сопротиатение линии постоянного тока. Ом.
4.2. Расчет токов при коротком замыкании полюсов выпрямительного преобразователя
4.2.1. Расчетные схемы и схемы замещения
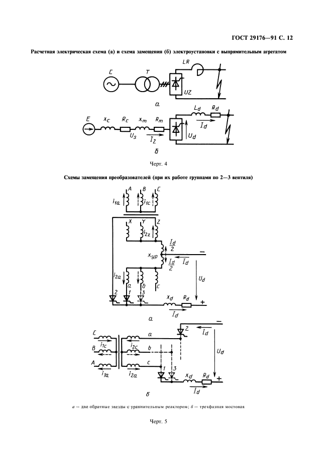
4.2.1.1. При составлении схемы замещения (черт. 4) параметры элементов расчетной схемы следует привести к ступени напряжения вторичной (вентильной) обмотки преобразовательного трансформатора в системе именованных единии. Рекомендуемые формулы для расчета параметров схем замещения приведены в приложении 8.
4.2.1.2. Схемы замещения трехфазных вентильных преобразователей, выполненных по схеме две обратные звезды с уравнительным реактором и по трехфазной мостовой схеме, приведены на черт. 5.
4.2.1.3. Катодный реактор с параметрами Xd, Rd при оценке условий КЗ следует рассматривать как токоограничивающий, а при оценке условий нормааьной работы нагрузки на постоянном токе — как сглаживающий.
ГОСТ 29176-91 С. 12
Расчетная электрическая схема (а) н схема замещения (б) электроустановки с выпрямительным агрегатом
С Т
Черт. 4
Схемы замещения преобразователей (при их работе группами по 2—3 вентиля)
I4 1В [С
tyy,
1CL
Черт. 5
|
а — две обратные me uи с уравнительным реактором; 6 — ipevi|xjjnaa мостоная |
С. 13 ГОСТ 29176-91
4.2.1.4. Расчеты гокоп КЗ в установках, выполненных по схеме двенадцатифазного преобразо-вания, следует выполнять с применением ЭВМ. используя, например, матрично-топологические методы расчета разветвленных цепей.
4.2.2. Расчетные условия
4.2.2.1. Токи КЗ для выбора и проверки агрегатного оборудования по условиям КЗ, а также для выбора защитных устройств следует рассчитывать при наиболее тяжелых условиях:
— КЗ полюсов выпрямителя не сопровождается дуговыми явлениями в месте повреждения (исключая электроустановки с токами КЗ выше 100 кЛ);
— момент возникновения КЗ совпадает с моментом открытия какого-либо вентиля.
4.2.2.2. Расчету подлежат амплитуда периодической составляющей фазного тока вторичной обмотки преобразовательного трансформатора, максимальное значение тока КЗ в цепи переменного тока и вентилей, ударный ток. протекающий в полупроводниковом приборе, максимальное и среднее значения выпрямленного тока в месте повреждения.
Кроме того, проверяют тепловое действие тока КЗ на полупроводниковый прибор.
4.2.3. Расчет токов в случае КЗ полюсов неуправляемого выпрямительного агрегата при отсутствии (без учета) катодного реактора
4.2.3.1. При расчете токов в случае, когда неуправляемый выпрямитель не имеет катодного реактора, следует учитывать, что КЗ полюсов такого выпрямителя эквивалентно трехфазному КЗ вторичных (вентильных) обмоток преобразовательного трансформатора.
4.2.3.2. Амплитуду периодической составляющей фазного тока вторичной (вентильной) обмотки преобразовательного трансформатора (/,„) в амперах следует определять по выражению
где А’ — действующее значение фазной ЭДС трехфазной системы переменного тока. В;
Rv — суммарное активное сопротивление элементов одной фазы переменного тока. Ом;
Хг — суммарное индуктивное сопротивление элементов одной фазы переменного тока. Ом. Указанные параметры следует определять по формулам:
К = К + я, + Яд + К-R„ = RJ(n/m);
Xt = Хс + Х1.
4.2.3.3. Максимальное значение тока КЗ в цепи переменного тока и вентилей (/тлх) в амперах следует определять по соотношению
(35)
где IntJI* — ударный коэффициент цепи КЗ, определяемый по кривой 1 на черт. 6, в зависимости от отношения R/X короткозамкнутой цепи.
4.2.3.4. Ударный ток. протекающий в полупроводниковом приборе, (/уд) в амперах следует определять с учетом т параллельных ветвей в цепи группового вентиля, т. е.
fyil Аиах/М-
(36)
4.2.3.5. Тепловое действие тока КЗ на полупроводниковый прибор следует проверять, используя соотношение
|
и |
где ik — продолжительность короткого замыкания, с:
(37)
ГОСТ 29176-91 С. 14
|
Зависимость отношения максимальной амплитуды тока КЗ к амплитуде периодической составляющей этого тока от отношения R/X короткозамкнутой цени |
|
I — неуправляемый выпрямитель: 2 — управляемый выпрямитель с электронной ишпкш |
о а, г ол 0,6 ал r/x
Черт. 6
Лф ~ эффективное значение тока, протекающего через вентиль во время КЗ, которое допустимо принимать равным />ф


