Реле измерительные с одной входной воздействующей величиной с зависимой выдержкой времени
На нашем сайте можно бесплатно скачать Руководящий документ ГОСТ 27918-88 в удобном формате. Узнать актуальный статус документа «Реле измерительные с одной входной воздействующей величиной с зависимой выдержкой времени» на 2016 год.
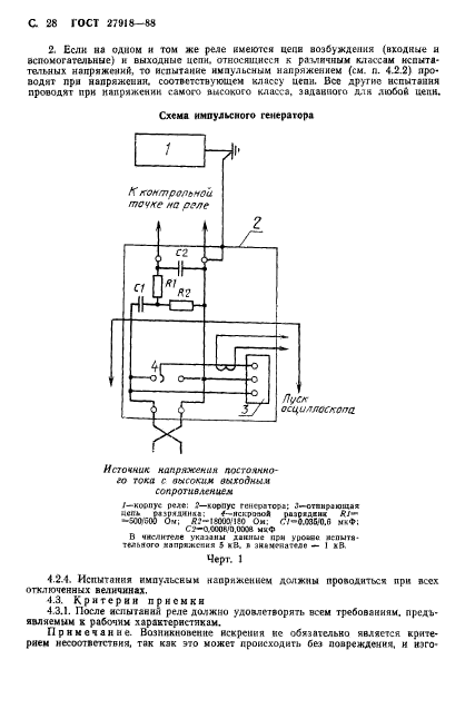
Скрыть дополнительную информацию
Страница 1

Страница 2

Страница 3

Страница 4

Страница 5

Страница 6

Страница 7

Страница 8

Страница 9

Страница 10

Страница 11

Страница 12

Страница 13

Страница 14

Страница 15

Страница 16

Страница 17

Страница 18

Страница 19

Страница 20

Страница 21

Страница 22

Страница 23

Страница 24

Страница 25

Страница 26

Страница 27

Страница 28

Страница 29

Страница 30

Страница 31

Страница 32

Страница 33

Страница 34

Страница 35
ГОСУДАРСТВЕННЫЙ СТАНДАРТ СОЮЗА ССР
РЕЛЕ ИЗМЕРИТЕЛЬНЫЕ С ОДНОЙ ВХОДНОЙ ВОЗДЕЙСТВУЮЩЕЙ ВЕЛИЧИНОЙ С ЗАВИСИМОЙ ВЫДЕРЖКОЙ ВРЕМЕНИ
ГОСТ 27918-88 (МЭК 255—4)
16 коп. БЗ 11—88/794
Издание официальное
ГОСУДАРСТВЕННЫЙ КОМИТЕТ СССР ПО СТАНДАРТАМ Моек в 1
УДК 621.318.5— S3:006.33-1 Группа E7I
ГОСУДАРСТВЕННЫЙ СТАНДАРТ СОЮЗА ССР
РЕЛЕ ИЗМЕРИТЕЛЬНЫЕ С ОДНОЙ ВХОДНОЙ ВОЗДЕЙСТВУЮЩЕЙ ВЕЛИЧИНОЙ С ЗАВИСИМОЙ ГПГТ
ВЫДЕРЖКОЙ ВРЕМЕНИ IUCI
Single input energizing quantity 27918 88
measuring relays with dependent specified little (МЭК 255_4)
ОКП 34 2500
Дата «ведения 01.01 92
I. ОБЩИЕ ПОЛОЖЕНИЯ
1.1. Область распространения
Настоящий стандарт распространяется на измерительные электрические реле, используемые в электротехнике, с контактом (ами), с одной входной воздействующей величиной с зависимой выдержкой времени, за исключением электротспловых реле, которые рассматриваются в отдельном стандарте.
Настоящий стандарт по соглашению между изготовителем и потребителем может также распространяться на многофазные реле и реле частоты с зависимой выдержкой времени, но в этом случае возможно необходимо будет учитывать дополнительные требования.
Стандарт распространяется только на новые реле.
Пели в воспринимающей, преобразующей, сравнивающей частях реле имеются статические элементы (усилители, выпрямители и т. д.), настоящий стандарт, при необходимости, должен быть дополнен специальными требованиями, указываемыми в нормативно-технической документации (НТД) на изделия.
Если измерительное реле с зависимой, но ненормируемой выдержкой времени имеет и независимую выдержку времени, то такое реле в части его характеристик должно соответствовать требованиям ГОСТ 27915.
Стандарт распространяется на реле, используемые в электротехнике, и не распространяется ка реле, применяемые в телеграфных и телефонных системах, в системах блокировки и сигнализации, используемых на железных дорогах.
|
Издание официальное 2 Зак. 2»7в |
Перепечатка воспрещена © Издательство стандартов, 1989 |
С. 2 ГОСТ 27918-88
Для специальных исполнений (морских. аэрокосмических, взрывоопасных, вычислительных машин н т. д.) настоящий стандарт может быть дополпеп специальными стандартами.
1.2. Назначение
Целью настоящего стандарта является установление:
а) нормированных значений, относящихся к входной н вспомогательной воздействующим величинам (п. 3);
б) эксплуатационных характеристик и характеристик реле при повышенной температуре;
в) требований к точности, относящихся к выдержкам времени, которые зависят от характеристической величины (п. 7);
г) требований к точности, относящихся к характеристической величине, если это имеет место (п. 7):
д) требований к механическим воздействиям и электрическим характеристикам, которым реле должны удовлетворять (пп. 8— — 10);
е) требований к маркировке и другим данным (п. 13);
ж) объемов и методов испытаний.
Испытания, указанные в настоящем стандарте, являются периодическими, объем и методы испытаний должны быть оговорены в стандартах или в другой НТД на изделия, согласованной между изготовителем и заказчиком.
2. ТЕРМИНЫ И ОПРЕДЕЛЕНИЯ
В настоящем стандарте используются термины и их определения, указанные и ГОСТ 16022 и ГОСТ 14312.
3. СТАНДАРТНЫЕ ВЕЛИЧИНЫ
3.1. Входная воздействующая величина
3.1.1. Первичные реле
Нет стандартных значений для переменного или постоянного тока.
3.1.2. Вторичные реле
а) Напряжение переменного тока (действующее значение)
Стандартные номинальные значения воздействующей величины напряжения для переменного тока: 100, 110; 200 В. а также эти значения, умноженные наКз или \[V3.
б) Номинальное значение переменного тока (действующее значение).
Стандартные номинальные значения воздействующей величины переменного тока: 0.5; 1; 2; 5 А, а также эти значения, умноженные на \Гъ или 1/^3~
ГОСТ 27918 -88 С. 3
3.1.3. Реле с шунтом
Стандартные номинальные значения напряжений: 30; 45; 50; 60; 75; 100; 150; 300; 600 мВ.
3.2. Вспомогательные воздействующие величины
Номинальные Значения должны быть выбраны из следующих значений.
3.2.1. Напряжение переменного тока (действующее значение):
12; 24; 48; 100/КЗ; 60; ПО/КЗ; 100; 110; 127; 220; 415/КзГ 380;
415; 500 В.
3.2.2. Переменный ток (действующее значение)
Нет стандартных номинальных значений.
3.2.3. Напряжение постоянного тока: J5; _12; 18;_24; 30; 48; 60;
ПО; 125 (см. примечание 2); 127 (см. примечание 2) 200; 220;
250; 440 В.
3.2.4. Постоянный ток
Нет стандартных номинальных значений.
П р к ы е ч а и и я:
1. Подчеркнутые значения мил к ют см предпочтительными.
2. Обычно значению J25 В (постоянного тока) отдают предпочтение по сравнению со значением 127 В (постоянного тока). (Однако значение 127 В сохранено вследствие нсоблоднмос-и иметь значении, характерные для постоянного и переменного токов, что требуется, в особенности, для реле, возбуждаемых от апарнйных источников питания).
3.3. Частота
Номинальное значение частоты как характеристической величины реле частоты должно быть выбрано из следующих значений: 50 или 60 Гц.
3.4. Контактные цепи
Контактные цепи должны быть указаны в НТД на отдельные изделия.
3.5. Характеристические кривые выдержек времени
В настоящем стандарте рассматриваются обычные реле с возрастающими и убывающими функциями. Допустимы другие характеристические кривые.
3.5.1. Реле с зависимой выдержкой времени с нарастающей функцией
К данной группе относятся реле, у которых выдержка времени увеличивается в соответствии с увеличением характеристической величины. Форма характеристической кривой должна быть указана изготовителем в НТД.
3.5.2. Реле с зависимой выдержкой времени с убывающей функцией
С. 4 ГОСТ 27918 88
К данной группе относятся реле, у которых выдержка времени уменьшается в соответствии с увеличением характеристической величины.
Самые общие характеристические кривые для реле с убывающей функцией обычно приблизительно соответствуют следующей формуле
_ к/ = |G/G,)*-i * где t — теоретическое время срабатывания;
К — постоянная, характеризующая реле;
G — значение характеристической величины;
С„— базисное значение характеристической величины;
а — индекс, характеризующий алгебраическую функцию.
В соответствии со значением а можно отметить три типа: А — для а<0.5; В — для 0,5
Для каждого из типов А, В, С стандартизованы соответственно следующие значении К: 0,14; 13,5; 80 и а: 0,02; 1.0; 2.0.
Характеристики любой другой формы кривой должны быть указаны изготовителем в НТД-
3.6. Стандартные нормальные значения влияющих величин н факторов и стандартные значения их номинальных и предельных диапазонов
3.6.1. Стандартные нормальные значения влияющих величин и факторов
Стандартные нормальные значения и допустимые отклонения влияющих величин и факторов при испытаниях приведены з табл. 1.
|
Таблица 1 Нормальные значения и допустимые отклонения при испытаниях влияющих величии и факторов |
|||||||||||||||||||
|
|||||||||||||||||||
ГОСТ 27918-88 С. 5
|
Продолжение табл. 1 |
|||||||||||||||||||||||||||||||||||||||||||||||||||
|
|||||||||||||||||||||||||||||||||||||||||||||||||||
С. 6 ГОСТ 27918-88
Продолжение табл. 1
Нормальное зиачспкс Доаустки>е олионеияе (см. примечание 1) г.ра acnwrauHix
Синусошальная Коэффициент искажения 5 % (см. _ примечания б и 6)
Иливюшая величина илш фактор
Форма волны
Вспомо
|
Пульсация (см. Нуль гательные воздей- ствующне величины примечание 7)__ Постоянная сос- Нуль тавляющая |
3% (см. примечание 2% пикового значения |
Примечания:
1. Специальные условия применения или вид самого реле обуславливают применение различных значений. В этих случаях изготовитель должен указать нормальные значения и их допустимые отклонения при испытаниях. Например, п некоторых случаях вместо нормального значения температуры окружающего воздуха 20°С может быть использовано 40 ®С.
2. Во время температурных испытаний влажность может быть превышена при условии, что не произойдет конденсации.
3. Обычно иклухцию Земли принимают рапной 0.05 мТ.
4. Если характеристика реле не зависит от частоты, допуск может быгъ больше . Кома характеристика реле сильно зависит от частоты и требуется высокая точность, то, возможно, будут необходимы меяьшие допуски.
5. Если характеристика сильно зависит от формы волны, возможно, что будут необходимы меньшие допуски.
6. Коэффициент искажения: отношение действующего значения гармоник, полученного вычитанием основной гармоники из косинусоидальной периодической функции, к действующему значению нееннусоидольиой функции Обычно выражается в процентах.
7. Пульсация источника питания постоянного тоха. выраженная в процентах, определяется, как ухозако в ГОСТ 27916.
8 В определенных случаях по соглашению между изготовителем и потребителем. возможно, потребуются меньшие допуски.
9. Для определения погрешностей диапазон возможных изменений характеристической величины равен нормальному диапазону.
Для определения дополнительных погрешностей, вызываемых другими влияющими факторами, изготовитель может указать в качестве- нормального значения только одно значение из диапазона возможных изменений характеристической величины.
3.6.2. Стандартные значения нормальных диапазонов влияющих величин и факторов
3.6.2.1. Значения нормальных диапазонов влияющих величин и факторов приведены в табл. 2.
ГОСТ 27918-88 С. 7
|
Таблица 2 Стандартные значения нормального диапазона влияющих величии и факторов |
|||||||||||||||||||||||||||||||||||||
|
|||||||||||||||||||||||||||||||||||||
Примечание. Специальные условия применения могут обусловить использование нестандартных значений. В таких случаях изготовитель должен установить эти значения в НТД.
С 8 ГОСТ 27918-88
3.6.2 2. Если входная воздействующая величина не идентична характеристической величине (например, реле частоты), входная воздействующая величина будет рассматриваться как влияющая величина и изготовитель должен установить предельные значения нормального диапазона, предпочтительно равными 80—110% от номинального значения.
3.6.2.3. Максимальные реле должны срабатывать при всех значениях входной величины между пороговым значением и значением термостойкости, если не оговорено особо изготовителем. Требования к минимальным реле должны определяться НТД. Требования должны удовлетворяться во всем нормальном диапазоне изменения вспомогательной воздействующей величины.
Примечания:
1. Изготовитель должен указать алиям не самонягрева реле при его эксплуатации, если оно значительно, г. е если самонагрев высыпает дополнительную погрешность, имеющую такой же порядок или больше, чем класс точности.
2. Изготовитель должен указать условия калибровки и дополнительную погрешность, вызываемую постоянной составляющей в переменном токе, если она имеет такой же порядок или больше, чем масс точности. В этом случае изготовителю следует указать погрешности для следующих трех значений постоянной времени: 0.40, 100 мс. Нормальные условия для переходного и установившегося режимов — в соответствии с требованиями п. 3.6.1.
3.6 3. Значения предельных диапазонов влияющих величин и факторов
Значения предельного диапазона температур: минус 20 и плюс 60 °С с учетом условий установки, хранения и транспортирования распространяются только на невозбужденные реле.
Примечание. Температура представляет собой пример тех влияющих величии, которые могут вызвать необратимые изменения в реле;
3.7. Значения диапазона уставок характеристической величины
Значения диапазона уставок характеристической величины должны быть установлены изготовителем в НТД.
3.8. Значения величины возврата и коэффициента возврата
Значения величины возврата и коэффициента возврата должны быть указаны изготовителем в НТД.
4. ЗНАЧЕНИЯ ПРЕДЕЛОВ РАБОЧЕГО ДИАПАЗОНА ВСПОМОГАТЕЛЬНЫХ ВОЗДЕЙСТВУЮЩИХ ВЕЛИЧИН
Пределы рабочего диапазона каждой вспомогательной воздействующей величины должны быть указаны изготовителем в соответствии с классом режима работы цени (см. п. 6.1.2).
4.1. Предпочтительные диапазоны вспомогательных воздействующих в ел и ч и и: от 80 до 110 % номинального значения, от 85 до 110 % номинального значения.
ГОСТ 27918-88 С. 9
4.2. Особые случаи
В некоторых случаях, в частности, в случае возбуждения от аккумуляторных батарей, пределы рабочего диапазона могут отличаться от предпочтительных значений, приведенных в п. 4.1.
В этих случаях изготовитель должен указать пределы диапазона и соответствующее номинальное значение.
4.3. Обозначение рабочего диапазона
4.3.1. Номинальные значения должны быть отделены от значений пределов рабочего (их) диапазона (ов) приемлемыми способами, например, подчеркиванием или использованием специального шрифта.
4.3.2. Значения могут быть указаны на реле с использованием например, обозначений, показанных в табл. 3 (см. п. 13).
|
Таблица 3 Примеры обозначений рабочего диапазона •гпоио! аюлыюй воздействующей величины |
||||||||||||||||||
|
||||||||||||||||||
|
5. КЛАССЫ РЕЖИМОВ РАБОТЫ |
Хотя режимы работы логических реле подразделяют на три класса (I — длительный режим; II — повторно-кратковременный режим; III — кратковременный режим), только два класса применимы к цепям возбуждения измерительных реле —I и III.
С 10 ГОСТ 27918-88
в. ТРЕБОВАНИЯ К НАГРЕВУ
К требованиям нагрева, указанным в настоящем разделе, могут быть добавлены дополнительные требования, указываемые в НТД.
6.1. Определение максимальных температур нагрева
Примечания:
]. Максимальные температуры изоляционных материалов, связанных с цепями возбуждения, нс должны превышать значений, допустимых для соответствующего класса изоляции, указанных ниже.
2. Классы термостойкости изоляции должны соответствовать следующим.
|
Классы термостойкости Максимальная температура, СС |
||||||||||||||||||
|
6.1.1. Общие условия определения максимальных температур
При испытаниях на перегрев следует соблюдать следующие общие условия.
6.1.1.1. Температура окружающей среды
Температура окружающей среды должна быть 20 или 40 :С. как указано изготовителем.
Примечание, Из вышеуказапвых требований следует, что перегрев не обязательно должен быть одинаковым для различных температур окружающей среды.
6.1.1.2. Испытание на допустимое превышение температуры осуществляют при обесточенных контактных цепях.
Примечание, Максимальные температуры материалов, снизанные с возбуждаемыми цепями, обычно незначительно подвержены влиянию тока в цепи контактов. В таких случаях испытание на повышение температуры может быть проведено без тока через контакты, Когда конструкция реле или абсолютное значение контактных токов таковы, что повышение -температуры контактных цепей может повлиять на перегрев цепей возбуждения, испытания следует проводить с максимально допустимым длительным контактным током.
6.1.1.3. После испытаний, когда нормальные условия восстановлены, реле должно отвечать всем требованиям технических условий.
6.1.2. Классы режима работы по входной воздействующей величине:
а) класс I — длительный режим.
Цепи реле возбуждаются при предельном допустимом длительном значении, указанном изготовителем;
б) класс 111 — кратковременный режим.
ГОСТ 27918—8S С. 11
Цепи реле возбуждаются при их предельном кратковременном допустимом значении. Это значение н время возбуждения должны быть указаны изготовителем в НТД.
6.1.3. Вспомогательные воздействующие величины
Если не оговорено особо между изготовителем и потребителем, го при испытаниях на перегрев вспомогательные воздействующие величины имеют предельные значения их рабочих диапазонов, цепи реле возбуждаются в соответствии с их классом работы.
6.1.4. Уставка
Требования относительно максимальных температур относятся ко всем уставкам.
6.2. Испытания на перегрузочную способность
Требования, предъявляемые к испытаниям на перегрузку, относятся только к входным цепям возбуждения.
Испытания должны быть проведены со всеми соединениями нормально включенного реле.
После испытаний реле должно отвечать всем требованиям тех-ннческих условий.
6.2.1. Допустимая предельная величина кратковременного нагрева:
а) цепи класса 1 — длительный режим.
Реле должно выдержать один раз допустимую предельную величину кратковременного нагрева, указанную изготовителем. п течение (если не оговорено особо): 1 с — для реле тока; 10 с — для реле напряжения.
Примечание. Обращается внимание на возможную веобходимость установки специального реле времени или реле, соединенного с устройствами выдержки времени;
б) цепи класса III — кратковременный режим.
Реле должно выдержать один раз допустимую предельную величину кратковременного нагрева. Изготовитель должен указать значение этой величины, а также время выдержки.
6.2.2. Предельное значение по динамической стойкости
Реле должно выдержать один раз предельное динамич’еское значение входной воздействующей величины. Продолжительность испытания должна составить V2 периода синусоидальной волны при номинальной частоте.
Испытание может быть проведено приложением симметричной и несимметричной волн, а амплитуда должна быть указана изготовителем.
7. ТОЧНОСТЬ
7.1. Общие положения
Точность реле с зависимой выдержкой времени в первую оче-
С 12 ГОСТ 27918-88
редь характеризуется точностью, касающейся выдержки времени (см. п. 7.2). но может также относиться к точности основного значения характеристической величины (см. п. 7.3).
Реле с зависимой выдержкой времени могут иметь диапазоны уставок выдержки времени и/или характеристической величины. Точность определяют в нормальных условиях, конкретные значения которых могут быть выбраны из установленных диапазонов изменений этих условий (см. табл. 1).
В каждом случае точность в нормальных условиях условно выражается предельной погрешностью. Для данного реле изготовитель может также указать среднюю основную погрешность и разброс.
Изготовитель может указать предельные значения изменений параметров в других условиях в пределах установленного диапазона.
7.2. Точность, относящаяся ко времени
7.2.1. Диапазон возможных значений характеристической величины:
а) для реле с убывающей функцией типов А, В и С (см. п. 3.5.2), если не оговорено особо, — от 2 до 20-кратного основного значения характеристической величины;
б) для реле с возрастающей функцией и всех остальных реле с убывающей функцией — указывается изготовителем в НТД.
7.2.2. Предельные основные погрешности (см. приложение 1)
Предельная основная погрешность характеризуется классом
точности (указываемая изготовителем), который может быть умножен на коэффициенты, соответствующие различным значениям характеристической величины в пределах диапазона ее возможных значений.
Теоретическая кривая зависимости выдержки времени от характеристической величины располагается между двумя хрнвыму, отстоящими от теоретической кривой ка величину предельной основной погрешности.
Предельная погрешность выражается в процентах от теоретической выдержки времени, соответствующей каждому значению характеристической величины:
а) предпочтительными значениями классов точности являются: 1,5; 2,5; 5; 7,5; 10; 20; 30, но изготовитель может указать другие значения;
б) для реле с убывающей функцией типов А. В и С при значениях характеристических величин, кратных основному значению в 2; 5; 10 и 20 раз, отношение предельной погрешности к классу точности должно быть 2,5; 1,5; 1.0 и 1,0 соответственно.
Предельная основная погрешность указывается для максимального значения характеристической величины:
в) для всех реле с зависимой выдержкой времени, отличающих-
ГОСТ 27918-88 С. 13
ся от тех, которые рассматриваются в подпункте б, изготовитель должен указать предельные основные погрешности в пределах диапазона возможных значений характеристической величины.
7.2.3. Определение погрешностей, относящихся к выдержке времени
а) все испытания должны проводиться в нормальных условиях (см. табл. 1);
б) реле должно быть новым (не бывшим в эксплуатации);
в) изготовитель должен, если необходимо, указать условия предварительного возбуждения реле, т. е. он должен точно указать, должно ли быть достигнуто тепловое равновесие вследствие самонагрева перед началом испытания.
При отсутствии любого такого указания реле должно быть выдержано при нормальной температуре окружающей среды в начале испытаний;
г) когда реле рассчитано на одну или несколько вспомогательных воздействующих величин, изготовитель должен указать, является лн значение: начальное — номинальным или нулевым; конечное — нулевым или номинальным;
д) реле должно быть возбуждено, как показано в табл. 4, если не оговорено особо изготовителем. Переключение от начального к конечному значению должно быть скачкообразным.
|
Таблица 4 Непитательные условия, относящиеся к характеристической величии*, для определения погрешностей, связанных с выдержкой времени |
||||||||||
|
||||||||||
7.2.4. Дополните л оные погрешности, относящиеся к выдержке времени
7.2.4.1. Дополнительные погрешности, возникающие вследствие отклонения одной влияющей величины от нормальных условий, но в пределах установленного диапазона, должны быть определены:
а) при всех других влияющих величинах в соответствующих нормальным условиях;
б) при нормальном значении характеристической величины, установленном в соответствии с данными табл. I.
7.2.4.2. Для определения дополнительных погрешностей сред-
С. 14 ГОСТ 27919-88
няя погрешность должна быть найдена как среднее десяти измерений, если не оговорено особо.
7.3. Точность, относящаяся к характеристической величине
В реле с зависимой выдержкой времени точность касается только базового значения и порогового рабочего значения характеристической величины. Основное требование заключается в том, что реле не должно срабатывать при базовом значении, но должно срабатывать при пороговом рабочем значении.
Примечание. Обычно термин «значение уставки» относится или к базовому, или к пороговому рабочему значению. Например, для реле с зависимой выдержкой времени, которое действует при уставке, «уставка* является пороговым рабочим значением. И напротив, некоторые реле не датжны действовать при уставке. т. е. «уставка> соответствует базовому значению характеристической величины с учетом его допустимых отклонений.
7.3.!. Предельные погрешности
а) Для реле с убывающей функцией типов А, В н С:
пороговое рабочее значение не должно превышать основное
значение более чем в 1,3 раза.
Различие между рабочим значением характеристической величины и ее уставкой должно быть не больше предельной погрешности, указанной изготовителем. Эта предельная погрешность должна выбираться из предпочтительных значений классов точности, перечисленных в п. 7.2.2й.
б) Для реле, кроме тех, которые рассмотрены в подпункте а, изготовитель должен указать теоретическую кривую 1 зависимости выдержки времени от характеристической величины н связанные с ней предельные погрешности 2 (гм черт. 1).
7.3.2. Определение погрешностей, связанных с характеристической величиной:
а) ем. п. 7.2.3о, б, в, г;
б) диапазон уставок выдержки времени должен задаваться при нормальных условиях;
в) для максимальных измерительных реле (обычно убывающая функция) характеристическая величина должна быть увеличена медленно от значения ниже основного до рабочего значения (см. примечание к настоящему пункту);
г) для минимальных измерительных реле (обычно возрастающая функция) характеристическая величина должна быть медленно уменьшена от значения выше основного до рабочего значения.
Примечание. При пороговом рабочем значении время срабатывании реле может быть неопределенно большим. В таких случаях, исходя из практических соображений, в качестве порогового принимается такое значение, которому соответствует время срабатывания, не превышакхцес 10-кратной выдержхн времени, соответствующей ближайшему пределу рабочего диапазона, если иное не оговорено изготовителем.
ГОСТ 27918-88 С. 15
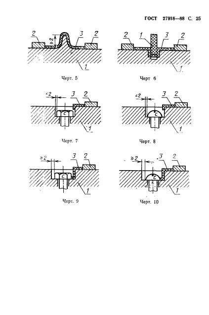
|
<*<1.30, I—теории we** « хржва*. t—«ДОМЫМе ютрешносгн Черт. 1 |
8 МЕХАНИЧЕСКАЯ ИЗНОСОСТОЙКОСТЬ
Изготовитель должен указать в НТД число циклов при отсут* ствии напряжения и тока и контактных цепях, которое реле может выполнить при следующих одновременных условиях:
а) в рабочем положении аппарата;
б) при номинальных значениях вспомогательных воздействующих величин;
в) при значениях характеристической или входной воздействующей величин, приведенных в табл. 5.
г) при нормальных условиях влияющих величин и факторов, кроме уставки (см. подпункт д);
д) при частоте(ах) включений, указанной(ых) изготовителем или в стандартах:
е) для реле с регулируемой выдержкой времени, при значении (ях) уставки выдержки времени, которое(ые) дает(ют) самые жссткие условия для механической износостойкости.
С. 16 ГОСТ 27918-88
|
Таблица 5 Значения характеристической или входной воздействующей величин для испытаний на механическую износостойкость |
|||||||||||||||
|
|||||||||||||||
|
Ирнкечание, Если ие оговорено особо, характеристическая величина должна быть приложена скачком; |
8.]. И сп и тан и я на механическую износостойкость
Для облегчения проведения испытаний на механическую износостойкость слабая нагрузка по току и напряжению, определенная изготовителем, может быть приложена к контактам (например, для управления счетчиком операций).
На протяжении всего испытания на механическую износостойкость реле должно удовлетворять требованиям п. 3.8 к возврату n/или к трогапию при возврате.
После завершения испытаний:
реле должно быть способно к выполнению предназначенных функций в пределах всего диапазона уставок, что определяется, по крайней мере по одному разу при минимальном и максимальном значениях рабочего диапазона вспомогательных воздействующих величин.
При последних испытаниях контактные цепи должны выдерживать максимальные токи, указанные изготовителем:
предельные значения погрешности не должны более чем в два раза превышать предельную погрешность;
реле должно выдерживать нспытапия на электрическую прочность изоляции при испытательном напряжении, которое должно быть не менее 0.75-кратной величины начального значения (см. п. 12).
Примечание. Любая операция по ремонту или замене деталей, указанная изготовителем, может

