Прогоны железобетонные для покрытий зданий промышленных и сельскохозяйственных предприятий. Технические условия
На нашем сайте можно бесплатно скачать ГОСТ 26992-86 в удобном формате. Узнать актуальный статус ГОСТА «Прогоны железобетонные для покрытий зданий промышленных и сельскохозяйственных предприятий. Технические условия» на 2016 год.
Скрыть дополнительную информацию
Страница 1

Страница 2

Страница 3

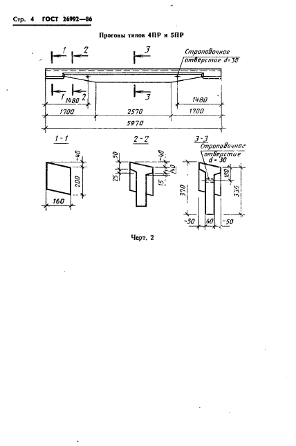
Страница 4

Страница 5

Страница 6

Страница 7

Страница 8

Страница 9

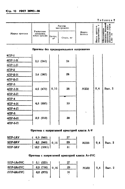
Страница 10

Страница 11

Страница 12

Страница 13

Страница 14

Страница 15

Страница 16

Страница 17

Страница 18

Страница 19

Страница 20
