Смазки пластичные. Метод определения эффективной вязкости на ротационном вискозиметре
На нашем сайте можно бесплатно скачать Руководящий документ ГОСТ 26581-85 в удобном формате. Узнать актуальный статус документа «Смазки пластичные. Метод определения эффективной вязкости на ротационном вискозиметре» на 2016 год.
Скрыть дополнительную информацию
Страница 1

Страница 2

Страница 3

Страница 4

Страница 5

Страница 6

Страница 7

Страница 8

Страница 9

Страница 10
l6Slf-№
ГОСУДАРСТВЕННЫЙ СТАНДАРТ СОЮЗА ССР
СМАЗКИ ПЛАСТИЧНЫЕ
МЕТОД ОПРЕДЕЛЕНИЯ ЭФФЕКТИВНОЙ ВЯЗКОСТИ НА РОТАЦИОННОМ ВИСКОЗИМЕТРЕ
У ГОСТ 26581-85
Издание официальное
UOM (
I
РАЗРАБОТАН Министерством нефтеперерабатывающей и нефтехимической промышленности СССР
ИСПОЛНИТЕЛИ
Е. М. Никоноров. В. В. SynaTMMHOS, М. Б. Бл ка пенников. Г. И. Москвина, Л. Н. Петроса, Л. А. Садовником, Н. И. Лмповскав. Т. Е. Резкой
ВНЕСЕН Министерством нефтеперерабатывающей и нефтехимической промышленности СССР
Член Коллегии В. А. Рабов
УТВЕРЖДЕН И ВВЕДЕН В ДЕЙСТВИЕ Постановлением Государственного комитета СССР по стандартам от 28 июня 1985 г. Н? 2074
PeiBKTop Р С Федорова Технический редактор М, И. Максимом Корректор Е. Л. BwavKmsa
Слано в наб. Ч 07.SA Пади, в net. 04.lC<0 ОД уел. П. .т 0Л уел кр.-огг. 0.3в уч. ю/t. Л.
Тир. 16000 Цепа 3 хол.
Ордеяя «Ява* Попйгй* Издагвлкстде ставдврпж. 123*40. Мосвв», ГСП. Но*эпрес**яс*мв п«р.. 3.
Калужский ПООГрвфмЯ стандартов. уд. Мосиовска *. 156 Зли 20?0
УДК 621.892:143.06:906.354 Группа Б09
ГОСУДАРСТВЕННЫЙ СТАНДАРТ СОЮЗА ССР
СМАЗКИ ПЛАСТИЧНЫЕ
Метод определения аффективном вязкости на ротационном «чскоэнметре
ГОСТ
26581—85
Greases. Method of test (or cilcctive viscosity on a rotary viscosimeier
ОКСТУ 0209
Постановлением Государственного комитета СССР по стандартам от 28 июне 1985 г. Мг 2074 срок действия установлен
С 01.07.86 до 01.07.91
Несоблюдение стандарта преследуется по «кону
Настоящий стандарт устанавливает метод определения эффективной вязкости (далее —вязкости) пластичных смазок специального назначения на устройстве для измерения вязкости в диапазоне от 0,1 до 4-105 Па-с.
Метод не распространяется на пластичные смазки общего назначения.
Сущность метода состоит в регистрации момента сопротивления вращению внутреннего цилиндра или конуса измерительного устройства с испытуемой смазкой при различных градиентах скорости деформации с последующим расчетом напряжения сдвига и эффективной вязкости.
1. ОПРЕДЕЛЕНИЕ ЭФФЕКТИВНОЙ ВЯЗКОСТИ НА УСТРОЙСТВЕ ДЛЯ ИЗМЕРЕНИЯ ВЯЗКОСТИ С ПРИМЕНЕНИЕМ ВИСКОЗИМЕТРА ТИПА РЕОТЕСТ 2.1
1.1. Аппаратура, материалы и реактивы
Устройство дл ичмерення вязкости при низких температурах, включающее в себя !
вискозиметр ротационный типа Реотест 2.1 или его последующих модификаций с измерительными устройствами —специальным цилиндрическим г и конусом-плитой;
|
Иадеиме официальное ★ |
Перепечатке воспрещен* Издательство стандартов, 1985 |
Стр. 2 ГОСТ Ж81—85
термометр сопротивления платиновый и мост Уитстона для контроля температуры в измерительном устройстве конус-плита;
термостаты жидкостные циркуляционные, обеспечивающие поддержание температуры от плюс 20 до 150 °С с погрешностью не более 0,5 °С и от плюс 20 до минус 60 °С с погрешностью не более 1,0 ®С;
приставку холодильную;
клапан-реле;
комплект контактных термометров для измерения диапазона температур от минус 60 до плюс 150 °С;
комплекты контрольных термометров для циркуляционных термостатов и термостатирующих камер цилиндрических измерительных устройств от минус 60 до 0 °С с погрешностью измерения не болоё 1,0 °С и от 0 до 150 °С с погрешностью измерения не более 0.5 6С;
самописец компенсационный для регистрации момента сопротивления вращению в условных единицах;
сосуд Дьюара для хранения сухого льда.
Растворители:
ацетон по ГОСТ 2768-79; бензин-растворитель для резиновой промышленности по ГОСТ 443-76; нефрас-С 50/170 по ГОСТ 8505-80; фреон 113.
Спирт этиловый ректификованный технический по ГОСТ 18300-72 или спирт этиловый технический по ГОСТ 17299-78.
Двуокись углерода твердая (сухой лед)
Сетка проволочная № 016—02 по ГОСТ 3584 —73 или капроновая ткань для сит.
Бумага фильтровальная лабораторная по ГОСТ 12026-76.
Шпатель.
Вата гигроскопичная по ГОСТ 5556-81.
Вода дистиллированная по ГОСТ 6709-72.
1.2. Подготовка к испытанию ‘
1.2.1. Пробу, отобранную по ГОСТ 2517-80, тщательно перемешивают шпателем; пробу, взятую из изделий, профильтровывают продавливамием или протиранием шпателем через проволочную или капроновую сетку.
1.2.2. Устройство (цилиндрическое г или конус-плита) для измерения вязкости, указанное в нормативно-технической документации на смазку, подготавливают н соответствии с инструкцией по эксплуатации. Все детали измерительных устройств промывают растворителем, просушивают и собирают.
1.2.3. Собранное измерительное устройство заполняют испытуемой смазкой в соответствии с инструкцией по его эксплуатации.
1.3. Проведение испытания
1.3.1. Измерительное устройство соединяют с тормостатирую-щим устройством (термостатом или криостатом) и выдерживают
ГОСТ 2*S«1 —«» Стр. 3
не менее 30 мин при температуре, указанной в нормативно-технической документации на смаэку.
1.3.2. Включают двигатель и проводят разрушение смазки в течение 10 мин на условной ступени вращения 12 ad, при этом рукоятка переключения диапазонов измерения должна быть установлена в положение II.
1.3.3. После разрушения смазки по п. 1.3.2 измеряют относительный угол вращения {а) внутреннего цилиндра или конуса измерительного устройства с испытуемой смазкой при градиентах скоростей деформации, указанных в табл. I.
|
Таблица 1 |
||||||||||||||||||||||||||||||||||||
|
1.3.4. Результат измерения угла (а) регистрируют на блоке измерения через 1 мни после включения соответствующей скорости вращения и сводят в таблицу рекомендуемого приложения.
1.4. Обработка результатов
1.4.1. За результат испытания принимают среднее арифметическое значение результатов двух последовательных определений.
1.4.2. Эффективную вязкость (rj) в Па>с вычисляют по формуле
•
где х — напряжение сдвига, Па;
Л— скорректированный градиент скорости деформации, с—‘.
1.4.3. При отклонении частоты тока от Й Гц корректируют градиент скорости деформации по формуле
где Д —скорректированное значение градиента скорости деформации, с-1;
Л, — градиент скорости деформации по табл. 1, с-1; v — частота тока сети при определении, Гц.
Cip. 4 ГОСТ 24581-55
1.4.4. Напряжение сдвига (т) вычисляют по формуле
/Се 10 •
где а—значение относительного угла вращения на блоке измерения, деления шкалы;
10 —коэффициент перевода константы измерительного устройства в единицы системы СИ;
К — постоянная измерительного устройства по паспорту: для цилиндрического — г для конуса плиты — С.
1.4.5. Если градиент скорости деформации, заданный нормативно-технической документацией на смазку, не соответствует градиентам скоростей деформации, указанным в табл. 1, вязкость при этом градиенте скорости деформации определяют из экспериментальной кривой зависимости вязкости от градиента скорости деформации. Для этого строят не менее чем по четырем точкам экспериментальную кривую в координатах логарифм вязкости—логарифм градиента скорости деформации. Экспериментальные точки градиента скорости деформации должны включать значение заданного градиента, т. е. быть и больше, и меньше его. На полученной кривой отсчитывают логарифм вязкости, соответствующий заданному градиенту скорости деформации. По найденному логарифму вязкости находят вязкость.
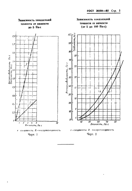
1.5. Точность метода
Точность метода установлена для смазок с вязкостью до 100 Па-с.
1.5.1. Сходимость (г)
Два результата определений, полученные последовательно одним исполнителем, признаются достоверными (с 95%-ной доверительной вероятностью), если расхождение между ними ие превышает значения, приведенного на черт. 1, 2 для большего результата.
1.5.2. Воспрашводимостъ (R)
Два результата испытаний, полученные в двух разных лабораториях, признаются достоверными (с 95%-ной доверительной вероятностью), если расхождение между ними не превышает значения, приведенного на черт. I, 2 для большего результата.
ГОСТ 26581—IS Стр. 5
|
Зависимость показателей точности от вязкости до 8 Па-с |
Зависимость иокаитслей точности от вязкости (от 5 до 100 Па-с) |
|
fit; Слмапыъ*. /fa с |
|
|
г схмммктъ. 1?-Уйсцрои.1но*мнпсть /-сходямосп.: К гпсаро-хюдимость Черт. ] Черт. 2 |
|
Стр. 6 ГОСТ 26581-85
|
э-tu *к чхэоявм «ГМ«»иМЗфф£ |
2 |
||
|
э ‘«у* иипвп •<1офэ7 иг>-м1»>;о iiOMncdJ или -UPfl.’llilXSAtM 1ИЭ |
— |
||
|
ги % ‘vjnvY* |
2 |
||
|
ка 1; р г о. С/ о j о |
с. <5v |
о |
|
|
г |
00 |
||
|
|
с- |
||
|
«ыиэткйо япм •Ш кемшгэд |
|||
|
ГИ1ЭЦ‘«(1и V •.Jnv.qc эхкИэл •ен «пыхшэоц |
|||
|
»НИйТПС|1и Bl’jA <»К»ИПГ*А •RKtmo HBHAiJ -ЗККК BClCVOVUlT |
-у |
||
|
Э0 ‘г<Шв6»мэх |
г* |
||
|
VU* *N*«dati с’аяри ‘enerdpo эти* оовэииг)| |
е* |
||
|
ССИк’СИВ ИИ*.ЭГЭвО<1|1 BIBtf |
— |
||
Приложение
Рекомендуемое
ИЗМЕНЕНИЯ, ВНЕСЕННЫЕ В ГОСУДАРСТВЕННЫЕ СТАНДАРТЫ СССР И РДМУ
Б. НЕФТЯНЫЕ ПРОДУКТЫ Группа Б09
Изменение .4 1 ГОСТ 2&5&I—85 Смазки пластичные. Метод определения эффективной ммкости па ротационном вискозиметре
Утверждено и введено в дсйс!вис Постановлением Государственною комитета СССР по управлению качеством продукции и стандартам от 30.10.90 № 2738
Дата введения 01.05.91
Вводная часть. Первый абзац после слои «измерения вязкости» изложить п новой редакции, «в диапазоне 0.1—3-102 Па-с на устройстве «цнднвлр». з дна-палоне 0,1-4-10’ Па-с на устройстве «конус-плита».
(Продолжение г.«. с. 28)
(Продолжение изменения к ГОСТ 26581-85)
Пункт 1.1. Тринадцатый абзац. Заменить слова: «бснзнн-растворитсль для резиновой промышленности по ГОСТ 443-76* на «нефрас С2- 80/120, СЭ—80/120 по ГОСТ 443-76»;
заменить ссылки: ГОСТ 2768-79 на ГОСТ 2768-84, ГОСТ 18300 -72 на ГОСТ 18-300-87; ГОСТ 6709-72 на «с pH 5.4-6.6»; исключить ссылку. ГОСТ 3584-73.
Пункт 1.2.1. Заменить ссылку: ГОСТ 2517-80 на ГОСТ 2517-85.
(ИУС М> 1 109! г.)
