Плиты железобетонные предварительно напряженные для аэродромных покрытий. Технические условия
На нашем сайте можно бесплатно скачать ГОСТ 25912-2015 в удобном формате. Узнать актуальный статус ГОСТА «Плиты железобетонные предварительно напряженные для аэродромных покрытий. Технические условия» на 2016 год.
Скрыть дополнительную информацию
Выберите формат отображения документа:

Страница 1

Страница 2

Страница 3

Страница 4

Страница 5

Страница 6

Страница 7

Страница 8

Страница 9

Страница 10

Страница 11

Страница 12

Страница 13

Страница 14

Страница 15

Страница 16

Страница 17

Страница 18

Страница 19

Страница 20

Страница 21

Страница 22

Страница 23

Страница 24

Страница 25

Страница 26

Страница 27

Страница 28

Страница 29

Страница 30

Страница 31

Страница 32

Страница 33

Страница 34

Страница 35
МЕЖГОСУДАРСТВЕННЫЙ СОВЕТ ПО СТАНДАРТИЗАЦИИ, МЕТРОЛОГИИ И СЕРТИФИКАЦИИ
(МГС)
INTERSTATE COUNCIL FOR STANDARDIZATION, METROLOGY AND CERTIFICATION
(ISC)
МЕЖГОСУДАРСТВЕННЫЙ
СТАНДАРТ
ГОСТ
25912-
2015
ПЛИТЫ ЖЕЛЕЗОБЕТОННЫЕ ПРЕДВАРИТЕЛЬНО НАПРЯЖЕННЫЕ ДЛЯ АЭРОДРОМНЫХ ПОКРЫТИЙ
Технические условия
Издание официальное
Москва
Стандартинформ
2015
Предисловие
Цели, основные принципы и основной порядок работ по межгосударственной стандартизации установлены ГОСТ 1.0-92 «Межгосударственная система стандартизации. Основные положения» и ГОСТ 1.2-2009 «Межгосударственная система стандартизации. Стандарты межгосударственные, правила и рекомендации по межгосударственной стандартизации. Правила разработки, принятия, применения, обновления и отмены»
Сведения о стандарте
1 РАЗРАБОТАН Научно-исследовательским институтом бетона и железобетона им. А.А. Гвозде-ва ОАО «НИЦ «Строительство»
2 ВНЕСЕН Техническим комитетом по стандартизации ТК 465 «Строительство»
3 ПРИНЯТ Межгосударственным советом по стандартизации, метрологии и сертификации (протокол от 27 февраля 2015 г. Np 75-П)
За принятие проголосовали:
|
Краткое наименование страны по МК (ИСО 3166) 004-97 |
Код страны по МК (ИСО 3166)004-97 |
Сокращенное наименование национального органа по стандартизации |
|
Армения |
AM |
Минэкономики Республики Армения |
|
Беларусь |
BY |
Госстандарт Республики Беларусь |
|
Казахстан |
К 2 |
Г осстандарт Республики Казахстан |
|
Киргизия |
KG |
Кыргызстандарт |
|
Молдова |
MD |
Молдова-Стандарт |
|
Россия |
RU |
Росстандарт |
|
Таджикистан |
TJ |
Таджикстандарт |
4 Приказом Федерального агентства по техническому регулированию и метрологии от 3 апреля 2015 г. No 217-ст межгосударственный стандарт ГОСТ 25912-2015 введен в действие в качестве национального стандарта Российской Федерации с 1 июля 2015 г.
5 ВЗАМЕН ГОСТ 25912.0-91. ГОСТ 25912.1-91, ГОСТ 25912.2-91, ГОСТ 25912.3-91, ГОСТ 25912.4-91
Информация об изменениях к настоящему стандарту публикуется в ежегодном информационном указателе * Национальные стандарты», а люкст изменений и поправок — в ежемесячном информационном указателе «Национальные стандарты». В случае пересмотра (замены) или отмены настоящего стандарта соответствующее уведомление будет опубликовано в ежемесячном информационном указателе «Национальные стандарты». Соответствующая информация, уведомления и тексты размещаются также в информационной системе общего пользования — на офи-циальном сайте Федерального агентства по техническому регулированию и метрологии в сети Интернет
© Стандартинформ, 2015
В Российской Федерации настоящий стандарт не может быть полностью или частично воспроизведен, тиражирован и распространен в качестве официального издания без разрешения Федерального агентства по техническому регулированию и метрологии
и
ГОСТ 25912-2015
f — рифление рабочей поверхности плиты
Рисунок 5
5 Технические требования
5.1 Плиты изготовляют в соответствии с требованиями настоящего стандарта и утвержденной в установленном порядке технологической документации, содержащей требования к изготовлению плит.
Плиты, предназначенные для эксплуатации в агрессивных средах, следует проектировать и изготавливать с учетом требований ГОСТ 31384.
5.2 Плиты подлежат изготовлению в формах, обеспечивающих соблюдение установленных настоящим стандартом требований к качеству и точности геометрических размеров плит.
5.3 Перед началом производства вовлекаемые новые формы должны быть испытаны на эксплуатационные нагрузки с реальным напряжением продольной рабочей арматуры для определения деформации формы и возможного изменения заданного предварительного напряжения стержней.
5.4 Требования к бетону
5.4.1 Плиты следует изготовлять из тяжелого бетона, удовлетворяющего требованиям ГОСТ 26633 к бетону аэродромных покрытий.
5.4.2 Фактическая прочность бетона должна соответствовать требуемой, назначаемой по ГОСТ 18105 в зависимости от нормируемой прочности бетона (класс по прочности на растяжение при изгибе и класс по прочности на сжатие, передаточная и отпускная прочность) и от характеристики фактической однородности прочности бетона.
5.4.3 Плиты должны изготовляться из бетона класса по прочности на растяжение при изгибе не ниже В1Ь 4.0 и класса по прочности на сжатие не ниже ВЗО.
5.4.4 Нормируемая передаточная и отпускная прочность бетона на сжатие должна быть не менее 70 % класса бетона.
5.4.5 Истираемость бетона в соответствии с ГОСТ 13015 должна быть не болев 0.7 г/см2. Допускается при соответствующем обосновании устанавливать истираемость не более 0.6 г/см2.
5.4.6 Морозостойкость бетона плит должна быть не ниже F2200.
5.4.7 При наличии агрессивных сред (сульфаты, хлориды и другие) назначаются дополнительные требования к бетону согласно ГОСТ 31384. 8
8
ГОСТ 25912-2015
Содержание
1 Область применения……………………………………..1
2 Нормативные ссылки……………………………………..1
3 Термины и определения……………………………………2
4 Типы, параметры и размеры………………………………….2
5 Технические требования……………………………………8
6 Правила приемки………………………………………11
7 Методы контроля………………………………………12
8 Маркировка…………………………………………14
9 Транспортирование и хранение……………………………….14
Приложение А (справочное) Конструкции плит ПАГ-14. ПАГ-18 и ПАГ-20……………15
Приложение Б (справочное) Арматурные и монтажно-стыковые изделия плит…………25
Библиография………,………………………………..31
in
МЕЖГОСУДАРСТВЕННЫЙ СТАНДАРТ
ПЛИТЫ ЖЕЛЕЗОБЕТОННЫЕ ПРЕДВАРИТЕЛЬНО НАПРЯЖЕННЫЕ ДЛЯ АЭРОДРОМНЫХ
ПОКРЫТИЙ
Технические условия
Prestressed reinforced concrete slabs for aerodrome pavement. Specifications
Дата введения — 2015—07—01
1 Область применения
Настоящий стандарт распространяется на предварительно напряженные железобетонные плиты, изготовляемые из тяжелого бетона и предназначенные для устройства быстровоэводимых сборных покрытий аэродромов, дорог, площадок для складирования, в том числе рекомендуемых к применению в тяжелых условиях температурно-влажностного режима холодного климата и вечномерзлых грунтов.
2 Нормативные ссылки
В настоящем стандарте использованы нормативные ссылки на следующие межгосударственные стандарты:
ГОСТ 5781-82 Сталь горячекатаная для армирования железобетонных конструкций. Технические условия
ГОСТ 6727-80 Проволока из низкоуглеродистой стали холоднотянутая для армирования железобетонных конструкций. Технические условия
ГОСТ 7473-2010 Смеси бетонные. Технические условия
ГОСТ8568—77 Листы стальные с ромбическим и чечевичным рифлением. Технические условия ГОСТ 10060-2012 Бетоны. Методы определения морозостойкости ГОСТ 10176-85 Портландцемент и шлакопортландцемент. Технические условия ГОСТ 10180-2012 Бетоны. Методы определения прочности по контрольным образцам ГОСТ 10181-2014 Смеси бетонные. Методы испытаний
ГОСТ 10884-94 Сталь арматурная термомеханически упрочненная для железобетонных конструкций. Технические условия
ГОСТ 10922-2012 Арматурные и закладные изделия, их сварные, вязаные и механические соединения для железобетонных конструкций. Общие технические условия
ГОСТ 13015-2012 Изделия железобетонные и бетонные для строительства. Общие технические требования. Правила приемки, маркировки, транспортировки и хранения ГОСТ 14192-96 Маркировка грузов
ГОСТ 17624-2012 Бетоны. Ультразвуковой метод определения прочности ГОСТ 18105-2010 Бетоны. Правила контроля и оценки прочности
ГОСТ 22362-77 Конструкции железобетонные. Методы измерения силы натяжения арматуры ГОСТ 22690-88 Бетоны. Определение прочности механическими методами неразрушающего контроля
ГОСТ 23732-2011 Вода для бетонов и строительных растворов. Технические условия ГОСТ 23858-79 Соединения сварные стыковые и тавровые арматуры железобетонных конструкций. Ультразвуковые методы контроля качества. Правила приемки
Издание официальное
ГОСТ 24211 —2008 Добавки для бетонов и строительных растворов. Общие технические условия
ГОСТ 26433.0-85 Система обеспечения точности геометрических параметров в строительстве. Правила выполнения измерений. Общие положения
ГОСТ 26433.1-89 Система обеспечения точности геометрических параметров в строительстве. Правила выполнения измерений. Элементы заводского изготовления
ГОСТ 26633-2012 Бетоны тяжелые и мелкозернистые. Технические условия
ГОСТ 27006-86 Бетоны. Правила подбора состава бетона
ГОСТ 31108-2003 Цементы общестроительные. Технические условия
ГОСТ 31384-2008 Защита бетонных и железобетонных конструкций от коррозии. Общие технические требования
Примечание — При пользовании настоящим стандартом целесообразно проверить действие ссылочных стандартов в информационной системе общего пользования — на официальном сайте Федерального агентства по техническому регулированию и метрологии в сети Интернет или по ежегодно издаваемому информационному указателю «Национальные стандарты*, который опубликован по состоянию на 1 января текущего года, и по соответствующим ежемесячно издаваемым информационным указателям, опубликованным е текущем году. Если ссылочный стандарт заменен (изменен), то при пользовании настоящим стандартом следует руководствоваться заменяющим (измененным) стандартом. Если ссылочный стандарт отменен без замены, то положение, в котором дана ссылка на него, применяется а части, не затрагивающей эту ссылку.
3 Термины и определения
В настоящем стандарте использованы термины по ГОСТ 13015 и ГОСТ 18105.
4 Типы, параметры и размеры
4.1 Плиты обозначают марками, состоящими из буквенно-цифровых групп, разделенных дефисом.
Первая группа содержит сокращенное буквенное наименование плиты — ПАГ (плита аэродромная
гладкая).
Во второй группе приводят толщину плиты в сантиметрах и характеристику напрягаемой продольной арматуры:
А600 — для арматурной стали классов А600. АтбОО, АтбООС и А600С,
А800 — для арматурной стали классов Ат800 и А800.
К7 — для арматурных канатов типов К7 и К7Т с временным сопротивлением не менее 1770 Н/мм2.
В третьей группе приводят:
— индекс «.1» — в случае применения 10 напрягаемых стержней в плитах ПАГ;
— индекс не ставится в случае применения 12 напрягаемых стержней в плитах: ПАМ4. ПАГ-18 и 14 напрягаемых стержней в плите ПАГ-20.
В четвертой группе приводят:
— цифровой индекс, обозначающий диаметр применяемых напрягаемых стержней (канатов), количество которых определяется конструкцией плит, например.
— индекс «-1» — в случае применения предварительно напрягаемой арматуры 012 мм.
— индекс «-2» — в случае применения предварительно напрягаемой арматуры 016 мм;
— индекс не приводят при применении предварительно напрягаемой арматуры 014 мм.
Примеры условного обозначения плиты:
— толщиной 18 см с напрягаемой продольной арматурой класса А600 диаметром 14 мм:
ПАГ-18А600;
— толщиной 14 см с напрягаемой арматурой класса А800 диаметром 12 мм в количестве 10 шт.:
ПАГ-14А800.1-1.
4.2 Основные параметры и размеры
4.2.1 Плиты разделяются на типы: ПАГ-14, ПАГ-18 и ПАГ-20 — в зависимости от их толщины — 140.180 и 200 мм соответственно.
4.2.2 Форма и основные размеры плит должны соответствовать указанным на рисунках 1—4.
2
а) Форма и основные размеры плиты ПЛГ-14 (в скобка* — маркировки закладных деталей <з/д( для ПАГ-14А800 1-1 > Рисунок 1
с->
ГОСТ 25912-2015
7Я0
Для ПАГ-18
Для ПАГ-20
Плита ПАГ-18 3-3
Iм
|
Чг |
и-LC |
П-1г |
{Р |
а Vя |
|
2» |
760 |
7SO |
260 |
|
|
i- |
20 |
00 |
……… |
‘ |
б) Форма и основные размеры плит ПАГ-18 и ПАГ-20
Рисунок 1,лист 2
ГОСТ 25912-2015
5
Рисунок 2
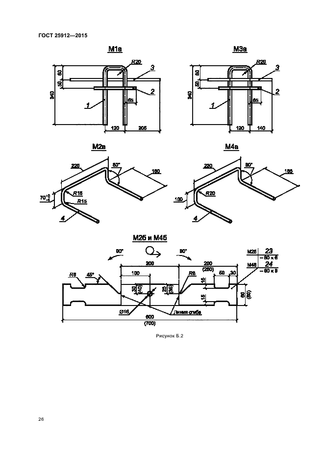
1 — монтажно-стыковое изделие М1(М1а) или М3 (МЗа). I — толщина плиты, в скобках указан размер для плиты ПАГ-14.
М 1а и МЗа — маркировка На для ПАГ-14А800.1-1 и ПАГ-18А800-1
Примечания
1 На продольных гранях плит допускается устройство углублений размерами 20 * 100 * 200 мм для обеспечения возможности подъема плит с применением автоматических захватов.
2 В плитах с наклонными продольными гранями монтажно-стыковые изделия М1 <М 1а) или М3 (МЗа) (рисунки 1 и 3)устанавливают заподлицос плоскостью, определяющей габаритный размер ширины плиты. — 2000 мм.
Рисунок 3
ГОСТ 25912-2015
1 — стыковое изделие М2 (М2в)или М4 (М4в); 2 — стыковое изделие М4а; М2в и М4в — маркировка з’ддля ПАГ-14А800.1-1 и
ПАГ-18А800-1
Рисунок 4
4.2.3 По согласованию с заказчиком допускается изготовление плит с профилем продольных граней. отличающимся от приведенных на рисунке 2 (сеч. 6-6). с размерами проемов для монтажно-стыковых изделий и расстоянием от края плиты до монтажно-стыковых изделий, отличающимися от приведенных на рисунках 1 и 3. и с монтажно-стыковыми изделиями другой конструкции при условии обеспечения эксплуатационных качеств аэродромного покрытия.
4.2.4 Плиты изготовляют рабочей поверхностью (верхняя поверхность аэродромного покрытия) «вниз».
Рабочая поверхность плит должна иметь рифление, образуемое путем применения в качестве днища поддона формы стального листа с ромбическим рифлением по ГОСТ 8568. Лист на поддоне располагают так. чтобы большая диагональ ромба была перпендикулярна продольной оси плиты (рисунок 5).
Глубина рифления должна быть не менее 1.5 мм. По согласованию с заказчиком допускается изготовлять плиты с глубиной рифления не менее 1.2 мм.
4.2.5 Армирование плит производят:
— в продольном направлении — напрягаемой арматурой.
— в поперечном направлении — ненапрягаемой арматурой.
4.2.6 В качестве напрягаемой арматуры плит применяют стержневую арматурную сталь классов А800 и А600. арматурные канаты типов К7 и К7Т с временным сопротивлением не менее 1770 Н/мм2-Напрягаемую арматуру следует применять в виде целых стержней или прядей без стыков.
Ненапрягаемая арматура должна быть из арматурной стали классов В500С. А500С. А400. А240 и арматурной проволоки класса Вр-1.
4.2.7 Конструкции плит ПАГ-14. ПАГ-18 и ПАГ-20. армированные предварительно напряженной стержневой арматурой, приведены в приложении А. Конструкции плит с отличающимся армированием следует разрабатывать в соответствии с требованиями настоящего стандарта.
Монтажно-стыковые, арматурные изделия, варианты постоянных анкеров напрягаемой арматуры, их форма и размеры приведены в приложении Б. 7
7


