Калибры для конической резьбы вентилей и баллонов для газов. Допуски
Заменяет

Страница 1

Страница 2

Страница 3

Страница 4

Страница 5

Страница 6

Страница 7

Страница 8

Страница 9

Страница 10

Страница 11

Страница 12

Страница 13
Группа Г28
МЕЖГОСУДАРСТВЕННЫЙ
КАЛИБРЫ ДЛЯ КОНИЧЕСКОЙ РЕЗЬБЫ ВЕНТИЛЕЙ И БАЛЛОНОВ ДЛЯ ГАЗОВ
СТАНДАРТ
ГОСТ
24998-81
Взамен ГОСТ 9909-70 в части калибров
Допуски
Gauges lor taper thread of valves and gas-bags. Tolerances
MKC 17.040.30 ОКП 39 3177
Дата введения 01.01.83
Настоящий стандарт распространяется на резьбовые и гладкие калибры для конической резьбы вентилей и баллонов для газов по ГОСТ 9909 и устанавливает виды калибров, профиль, длину рабочей части, допуски и формулы для расчета размеров резьбовых и гладких калибров.
Стандарт полностью соответствует СТ СЭВ 2649.
(Измененная редакция. Изм. № 1).
1 ВИДЫ КАЛИБРОВ
1.1. Калибры должны изготовляться видов:
Калибры для наружной резьбы
1 — калибр-кольцо резьбовой конусный (черт. 3);
2 — калибр-пробка резьбовой конусный контрольный для резьбового конусного калибра-кольца (черт. 5);
3 — качибр-кольцо гладкий конусный (черт. 4);
4 — калибр-пробка гладкий конусный контрольный для гладкого конусного калибра-кольца (черт. 6)
Калибры для внутренней резьбы
5 калибр-пробка резьбовой конусный (черт. 5);
6 — качибр-пробка гладкий конусный (черт. 6).
1.2. Калибры видов 1, 3, 5 и 6 должны изготовляться в следующих исполнениях:
1 — калибр (пробка или кольцо) с контрольной плоскостью, соответствующей номинальному положению основной плоскости резьбы;
2 — калибр (пробка или кольцо) с контрольными плоскостями, соответствующими номинальному положению основной плоскости, а также наибольшему и наименьшему предельным размерам осевого смешения основной плоскости резьбы.
Исполнение 2 является предпочтительным.
Калибры видов 2 и 4 должны изготовляться только в исполнении 1.
(Измененная редакция, Изм. № 1).
1.3. Условное обозначение калибра должно состоять из вида калибра, исполнения и обозначения резьбы.
Для калибров видов 2 и 4 исполнение не указывается.
Например:
для калибра вида 5. исполнения 2:
5/2-W /9,2;
для калибра вида 2:
2-W 19,2.
Издание официальное *
Перепечатка воспрещена
142
ГОСТ 24998-81 С. 2
2. ОБОЗНАЧЕНИЯ
2.1. В настоящем стандарте приняты следующие обозначения размеров и допусков:
а, — расстояние между двумя соседними контрольными плоскостями калибра-кольца; с1, — расстояние между двумя соседними контрольными плоскостями калибра-пробки; b — ширина канавки резьбового калибра-кольца и калибра-пробки; с — конусность;
d — номинальный наружный диаметр наружной резьбы в основной плоскости; г/, — номинальный внутренний диаметр наружной резьбы в основной плоскости;
, — номинальный средний диаметр наружной резьбы в основной плоскости;
D — номинальный наружный диаметр внутренней резьбы в основной плоскости;
0, — номинальный внутренний диаметр внутренней резьбы в основной плоскости;
D. — номинальный средний диаметр внутренней резьбы в основной плоскости; с12х — средний диаметр калибра-пробки в основной плоскости;
D,x — средний диаметр калибра-кольца в основной плоскости; ei — нижнее отклонение среза вершины и впадины наружной резьбы; es — верхнее отклонение среза вершины и впадины наружной резьбы:
EI — нижнее отклонение среза вершины и впадины внутренней резьбы;
ES — верхнее отклонение среза вершины и впадины внутренней резьбы;
Н, — допуск гладкого конусного калибра-пробки для внутренней резьбы;
Н, — допуск гладкого конусного калибра-кольца для наружной резьбы;
Нр —допуск гладкого конусного контрольного кал и бра-проб к и для гладкого конусного калибра-кольца;
/, — рабочая длина резьбы;
/, — длина наружной резьбы от торна до основной плоскости;
/|А — длина рабочей части калибра-пробки;
/л — базовое расстояние калибра-кольца и калибра-пробки;
Р — шаг резьбы;
Тея — допуск среднего диаметра резьбового конусного контрольного калибра-пробки;
Тя — допуск шага резьбы калибра:
1п — допуск среднего диаметра резьбового конусного калибра-пробки:
ТЛ — допуск среднего диаметр*» резьбового конусного калибра-кольца;
Т0| — допуск угла наклона боковой стороны резьбы калибра;
— величина среднедопустимого износа резьбового конусного калибра;
— величина среднедопустимого износа гладкого конусного калибра-пробки;
~ величина среднедопустимого износа гладкого конусного калибра-кольца;
Д/, — осевое смещение основной плоскости наружной и внутренней конических резьб относительно номинального расположения;
(Измененная редакция, Изм. № 1).
3. ПРОФИЛЬ РЕЗЬБЫ И ДЛИНА РАБОЧЕЙ ЧАСТИ КАЛИБРОВ
3.1. Калибры-пробки видов 2 и 5 должны иметь профиль резьбы в соответствии с черт. I, калибр-кольцо вида 1 — в соответствии с черт. 2.
143
С. 3 ГОСТ 24998-81
|
Черт. I |
|
Черт. 2 |
Форма канавки произвольная.
Примечания:
1. Биссектриса утла профиля перпендикулярна к образующей конуса.
2. Шаг резьбы определяется по линии, параллельной образующей конуса.
144
ГОСТ 24998-81 С. 4
3.2. Длины рабочей части калибров должны соответствовать указанным на черт. 3—6 и в табл. I.
Калибры-кольиа роьбовые конусные
Bud J
|
Исполнение 1 Исполнение 2 |
Черт. 3
Калибры-кольца гладкие конусные
Вид 3
|
Исполнение 1 Исполнение 2 |
Черт. 4
10-1- 1004
145
С. 5 ГОСТ 24998-81
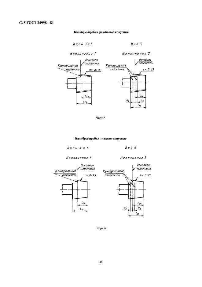
Калибры-пробки резьбовые конусные
В и д ы 2 и 5 В и д 5
|
И сполнение 1 И спопнение ? |
Черт. 5
Калибры-пробки гладкие конусные
В и д ы 4 и 6 В и д 6
Исполнение 1 Исполнение 2
Черт. 6
146
ГОСТ 24998-81 С. 6
|
Таблица 1 |
||||||||||||||||||||||||||||||||||||||
|
||||||||||||||||||||||||||||||||||||||
|
Примечания: 1. Размеры Д/,, /,. 12 — по ГОСТ 9909. 2. Для калибров видов 2, 4. 5 и 6 размер является справочным. 3. Размер /и является наибольшим и не должен быть менее I, + /’. |
||||||||||||||||||||||||||||||||||||||
(Измененная редакция. Изм. № 1).
4.ДОПУСКИ РЕЗЬБОВЫХ КАЛИБРОВ
4.1. Допуски и расположение полей допусков среднего диаметра резьбы калибров для контроля наружной резьбы должно соответствовать указанному на черт. 7, для контроля внутренней резьбы — на черт. 8.
П р и м с ч а и и с. Цифры у полей допусков на черт. 7, S. 10 и II обозначают номера видов калибров.
Предел износа ‘калибра- пробки
|
Предел износа |
1
Черт. Н
4.2. Предельные отклонения угла наклона боковой стороны резьбы калибров : —(черт. I и 2).
Значение составляет 11 *
4.3. Допуск шага резьбы калибра (Т,,) составляет 5 мкм.
Примечания:
1. Значение Тя относится к расстоянию между любыми витками резьбы калибра.
2. Действительное отклонение может быть со знаком минус или плюс.
4.4. Отклонение конуса, включающее отклонение угла конуса и отклонение от прямолинейности образующей (линии среднего диаметра и отклонение от круглости в любом сечении), должно находиться в пределах поля допуска среднего диаметра резьбы калибра.
Пате допуска среднего диаметра резьбы калибра указано на черт. 9.
им*
147
С. 7 ГОСТ 24998-81
4.1—4.4. (Измененная редакция, Изм. № 1).
4.5. Отклонения от совпадения плоскости А калибра-кольца вида 1 с измерительной плоскостью контрольного калибра-пробки вида 2 составляют для нового калибра ±0.058 мм; для изношенного калибра +0.208 мм.
5. ДОПУСКИ ГЛАДКИХ КАЛИБРОВ
5.1. Расположение полей допусков гладких калибров для контроля Черт. 9 наружного диаметра наружной резьбы должно соответствовать указанно
му на черт. 10, внутреннего диаметра внутренней резьбы — указанному на черт. II.
5.2. Допуски и величины, определяющие положение полей допусков и предел износа калибров, должны соответствовать указанным в табл. 2.
5.3. Отклонение конуса, вктючаюшее отклонение угла конуса, отклонение от прямолинейности образующей и отклонение от крутости в любом сечении, должно находиться в пределах поля допуска калибра-кольца или калибра-пробки.
|
Предел износа «калибра- кольца 6 * IP Л |
Предел износа калибра — пробки |
Черт. 10 Черт. 11
|
Таблица 2 Размеры в м км |
|||||||||||||||||||||||||
|
|||||||||||||||||||||||||
|
Примечание. Калибры с допусками Н2 * 10 мкм и Нр«4 мкч изготовляются по требованию заказчика. (Измененная редакция, Изм. № 1). |
|||||||||||||||||||||||||
6. РАСЧЕТ РЕЗЬБОВЫХ КА’ШБРОВ
6.1. Размеры наружного, среднего и внутреннего диаметра резьбы качибров должны рассчитываться по формулам, указанным в табл. 3.
148
ГОСТ 24998-81 С. 8
|
Таблица 3 |
||||||||||||||||||||||||||||||||||||||||||||||
|
||||||||||||||||||||||||||||||||||||||||||||||
Примечания:
1. Значения cs. ci, ES и El — по ГОСТ 9909.
2. В формулах должны приниматься абсолютные значения cs, ci, ES и El .
3. Размер и предельные отклонения среднего диаметра калибра-кольца вида 1 указаны для координирования полей допусков контрольного калибра вида 2 и контроля калибра-кольиа измерительными приборами.
7. РАСЧЕТ ГЛАДКИХ КАЛИБРОВ
7.1 Размеры диаметров гладких калибров должны рассчитываться по формулам указанным в
табл. 4.
|
Таблица 4 |
|||||||||||||||||||
|
П р и м с ч а и и е. Размер и предельные отклонения калибра-кольиа вида 3 указаны для координирования поля допуска контрольного калибра вида 4 и контроля калибра-кольна измерительными приборами.
149
10-2- 1004
С. 9 ГОСТ 24998-81
ПРИЛОЖЕНИЕ I Обязательное
ПРАВИЛА ПРИМЕНЕНИЯ КАЛИБРОВ
1. Резьбовые конусные калибры видов I и 5 для контроля осевого смешения основной плоскости резьбы.
При свинчивании резьбовою конусного калибра исполнения I с контролируемой конической резьбой
его контрольная плоскость должна совпадать с торцом изделия. Допускаемые отклонение не должны превышать ±1,5 мм.
При свинчивании резьбового конусного калибра исполнения 2 с контролируемой конической резьбой торен изделия должен находит ься между контрольными плоскостями калибра или совпадать с одной из них.
2. Гладкие конусные калибры видов 3 и 6 для контроля отклонений среза вершин резьбы.
Гладкие конусные калибры применяются только в сочетании с резьбовыми конусными калибрами. При этом отклонение одноименных контрольных плоскостей гладкого и резьбового калибров по отношению к торцу изделия не должно превышать ±0,6 мм.
3. Контрольный резьбовой конусный калибр-пробка вида 2 для контроля резьбового конусною калибра-кольца вида I.
При свинчивании калибра-пробки с калибром-кольцом контрольная плоскость контрольного калибра должна совпадать с плоскостью А калибра-кольца. Допускаемые отклонения — в соответствии с и. 4.5 настоящего стандарта.
4. Контрольный глаакий конусный калибр-пробка вида 4 для контроля гладкого конусного калибра-колыиа вида 3.
Контрольный калибр-пробка должен входить в калибр-кольцо. При этом контрольная плоскость контрольного калибра должна совпадать с плоскостью А калибра-кольца. Допускаемые отклонения — в соответствии с п. 5.2 настояшсго стандарта.
ПРИЛОЖЕНИЕ 2 Обязательное
ИСПОЛНИТЕЛЬНЫЕ РАЗМЕРЫ КАЛИБРОВ
I. Размеры и предельные отклонения резьбовых калибров должны соответспюватъ указанным в табл. 1. гладких калибров — в табл. 2.
Размеры в мм
|
Таблица 1 |
|||||||||||||||||||||||||||||||||||||||||||||||||||||||||||||||||||||||||||||||||||||||||||||||||||||||||||||||||||||||||||||||||||||||||||||||||||||||||||||||||||||||||
|
|||||||||||||||||||||||||||||||||||||||||||||||||||||||||||||||||||||||||||||||||||||||||||||||||||||||||||||||||||||||||||||||||||||||||||||||||||||||||||||||||||||||||
150
ГОСТ 24998-81 С. 10
Продолжение табл. 1
|
Размеры в мм |
|||||||||||||||||||||||||||||||||||||||||||||||||||||||||||||||||||||||||||||||||||||||||||||||||||||||||||||||
|
|||||||||||||||||||||||||||||||||||||||||||||||||||||||||||||||||||||||||||||||||||||||||||||||||||||||||||||||
|
Таблица 2 Размеры в мм |
|||||||||||||||||||||||||||||||||||||||||||||||||||||||||||||||||||||||||||||||
|
|||||||||||||||||||||||||||||||||||||||||||||||||||||||||||||||||||||||||||||||
15!
1
По требованию заказчика калибры должны изготовляться с предельными отклонениями ±0.005 мкм для вида 3 и ±0.002 мкм для вида 4.
Ill-г
С. 11 ГОСТ 24998-81
ПРИЛОЖЕНИЕ J Рекомендуемое
ОСНОВНЫЕ РАЗМЕРЫ И ДОПУСКИ РЕЗЬБОВЫХ КОНУСНЫХ КАЛИБРОВ ДЛЯ КОНТРОЛЯ НАРУЖНОЙ РЕЗЬБЫ НА УЧАСТКЕ /,-Л И ВНУТРЕННЕЙ РЕЗЬБЫ 1IA УЧАСТКЕ /3-/2
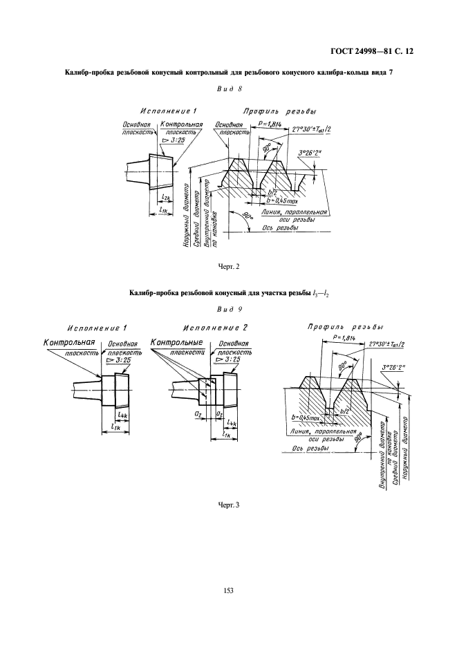
1. Калибры для контроля наружной резьбы на участке /,—А и внутренней резьбы на участке /3—/2 должны изготовляться видов:
7 — калибр-колыш резьбовой конусный для участка резьбы /, (черт. 1);
8 — калибр-пробка резьбовой конусный контрольный для резьбового конусною калибра-кольца вида 7 (черт. 2);
9 — калибр-пробка резьбовой конусный для участка резьбы 12 (черт. 3).
2. Основные размеры и предельные отклонения калибров должны соответствовать указанным на черт. 1—3 и в табл. 1.
3. При свинчивании калибра-пробки вида 8 с калибром-кольцом вида 7 их контрольные плоскости должны совпадать. Допускаемые отклонения — в соответствии с и. 4.5 настоящего стандарта.
4. При свинчивании резьбовых конусных к&тибров видов 7 и 9 исполнения 1 с контролируемой резьбой их контрольная плоскость должна совпадать с торном изделия. Допускаемое отклонение не должно превышать ±1,5 мм.
5. При свинчивании резьбовых конусных калибров видов 7 и 9 исполнения 2 с контролируемой резьбой торец изделия должен находиться между контрольными плоскостями или совпадать с одной из них.
Калибр-кольцо роьбовой конусный для участка роьбы /,—/2
Вид 7
Исполнение 2
Исполнение 1
|
Профиль резьбы Основная плоскость |
Черт. I
I52
ГОСТ 24998-81 С. 12
Калибр-пробка [кчьоовон конусный контрольный для резьбового конусного калибра-колыш вида 7
Вид 8
|
Основной Контрольная Основная ллоскость\ Профиль резьбы |
|
|
27*М’*Та,/г |
|
Исполнение 1
& Линия, пора/мельная\ 4 “ оси резьбы
Ось резьбы
Чсрг. 2
Калибр-пробка резьбовой конусный для участка резьбы /,
Вид 9
|
Профиль резьбы P’t,8H 27*30″ t Та, f2 |
Исполнение 1
К онтрольная
Основная / плоскость оЗ:25
|
u* Ik |
|
A |
iiS IK |
|
|
h | |
Ог |
|
|
1 |
Основное Контрольные
Исполнение 2
плоскость 0 3:25
п/шс кости
Чсрг. 3
153
С. 13 ГОСТ 24998-81
|
Таблица 1 |
|||||||||||||||||||||||||||||||||||||||||||||||||||||||||||||||||||||||||||||||||||||||||||||||||||||||||||||||||||||||||||||||||||||||||||||||||||||||||||||||||||||||||||||||
|
|||||||||||||||||||||||||||||||||||||||||||||||||||||||||||||||||||||||||||||||||||||||||||||||||||||||||||||||||||||||||||||||||||||||||||||||||||||||||||||||||||||||||||||||
ПРИЛОЖЕНИЯ 1—3. (И)мснснная редакция, Иш. ЛЬ 1).
Размеры в мм
ИНФОРМАЦИОННЫЕ ДАННЫЕ
1. РАЗРАБОТАН И ВНЕСЕН Министерством станкостроительной и инструментальной промышленности СССР
2. УТВЕРЖДЕН И ВВЕДЕН В ДЕЙСТВИЕ Постановлением Государственного комитета СССР но стандартам от 18.11.81 № 4990
3. Стандарт полностью соответствует СТ СЭВ 2649—80
4. ВЗАМЕН ГОСТ 9909-70 в части калибров
5. ССЫЛОЧНЫ Е НОРМАТИ ВНО-ТЕХНИЧЕСКИЕ ДОКУМЕН ГЫ
|
Обозначение НТД. на который пана ссылка |
Номер пункта |
|
ГОСТ 9909-81 |
Вводная часть, 3.2, 6.1 |
6. ИЗДАНИЕ с Изменением № 1. утвержденным в феврале 1990 г. (ИУС 5—90)
154




