Мойки и раковины эмалированные и кронштейны стальные для моек. Технические условия

Страница 1

Страница 2

Страница 3

Страница 4

Страница 5

Страница 6

Страница 7

Страница 8

Страница 9

Страница 10

Страница 11

Страница 12

Страница 13

Страница 14

Страница 15

Страница 16

Страница 17

Страница 18

Страница 19

Страница 20

Страница 21
цена s коп.
ГОСУДАРСТВЕННЫЙ СТАНДАРТ СОЮЗА ССР
МОЙКИ И РАКОВИНЫ СТАЛЬНЫЕ ЭМАЛИРОВАННЫЕ И КРОНШТЕЙНЫ СТАЛЬНЫЕ ДЛЯ МОЕК
ТЕХНИЧЕСКИЕ УСЛОВИЯ
ГОСТ 24843-81
Издание официальное
ГОСУДАРСТВЕННЫЙ СТРОИТЕЛЬНЫЙ КОМИТЕТ СССР Москва
УДК 696.14 : 006.354 Группа Ж21
ГОСУДАРСТВЕННЫЙ СТАНДАРТ СОЮЗА ССР
МОЙКИ И РАКОВИНЫ СТАЛЬНЫЕ ЭМАЛИРОВАННЫЕ И КРОНШТЕЙНЫ СТАЛЬНЫЕ ДЛЯ МОЕК
Технические условия
Steel enamelled sinks and supports for them. Specifications
ОКП 49 4322; 49 4312; 49 2422
ГОСТ
24843—81*
Взамен ГОСТ 14631-69 в части разд. 1 и п. 4.2, ГОСТ 8631-75 в части разд. 1 и и. 4.4
Постановлением Государственного комитета СССР по делам строительства от 29 мая 1981 г. № 83 срок введения установлен
с 01.01.82
для моек типов МСУД, МСУ-2, МСВД и МСВ-2
с 01.01.85
Несоблюдение стандарта преследуется по закону
Настоящий стандарт распространяется на стальные эмалированные мойки, устанавливаемые на подстольях (шкафах кухонной мебели) и на кронштейнах в кухнях жилых и общественных зданий, на стальные эмалированные раковины с отъемной спинкой, устанавливаемые в бытовых и других подобных помещениях общественных зданий и зданий промышленных и сельскохозяйственных предприятий в местах водоразбора холодной и горячей воды, а также на стальные кронштейны для моек.
Мойки и раковины должны удовлетворять всем требованиям ГОСТ 23695-79 и требованиям, изложенным в соответствующих разделах настоящего стандарта.
Стандарт в части требований к основным размерам моек и раковин соответствует СТ СЭВ 1315—78.
(Измененная редакция, Изм. № 1).
1. ТИПЫ И ОСНОВНЫЕ РАЗМЕРЫ
1.1. Стальные эмалированные мойки изготовляются указанных в табл. 1 типов.
Издание официальное Перепечатка воспрещена
* Переиздание (июнь 1987 г.) с Изменениями М 1, 2, утвержденными в феврале 1984 г., декабре 1986 г. (МУС 6—84, 4—87).
© Издательство стандартов, 1987
Мойка стальная эмалированная с одной чашей устанавливаемая на кронштейнах (тип МСК)
А~ А Б~Б
Б *
* Размер для моек, у которых отверстие для отведения воды расположено по середине чаши.
Справочная площадь эмалированной поверхности мойки 1,00 м2
Черт. 7
Таблица 1
|
Обозначение типа |
Наименование |
Номер Чертежа |
|
МСУ |
Мойка стальная эмалированная с одной чашей, унифицированная |
1 |
|
МСУД |
Мойка стальная эмалированная с одной чашей со сливной доской, унифицированная |
2 |
|
МСУ-2 |
Мойка стальная эмалированная с двумя чашами, унифицированная |
3 |
|
МСВ |
Мойка стальная эмалированная с одной чашей, встраиваемая |
4 |
|
мсвд |
Мойка стальная эмалированная с одной чашей со сливной доской, встраиваемая |
5 |
|
МСВ-2 |
Мойка стальная эмалированная с двумя чашами, встраиваемая |
6 |
|
МСК |
Мойка стальная эмалированная с одной чашей, устанавливаемая на кронштейнах |
7 |
Примечание. Мойки типов МСВ и МСК разрешается изготовлять в количестве, согласованном с Минторгом СССР и Госснабом СССР.
(Измененная редакция, Изм. № 1, 2).
1.2. Основные размеры моек должны соответствовать указанным на черт. 1—7, размеры и расположение отверстий в мойках для установки смесителей должны соответствовать указанным на черт. 8. Мойки, комплектуемые настенными смесителями, изготовляются без отверстий для смесителей.
Форма и размеры чаш и бортов моек настоящим стандартом не регламентируются и должны определяться рабочими чертежами, утвержденными в установленном порядке.
(Измененная редакция, Изм. № 1).
1.2а. Конструкция моек типов МСУ, МСУД и МСУ-2 должна обеспечивать возможность их установки как на кронштейнах, так и на подстолье (шкафу кухонной мебели).
Примеры монтажных схем установки моек приведены в рекомендуемых приложениях 1 и 2.
(Введен дополнительно, Изм. № 1).
1.3. Мойки со сливной доской и мойки с двумя чашами различных размеров изготовляются в правом и левом исполнениях.
Мойка со сливной доской считается в левом исполнении, если ее чаша, при взгляде на мойку спереди, расположена слева, а мойка с двумя чашами различных размеров считается в левом исполнении, если слева (при взгляде на мойку спереди) расположена чаша большего размера.
1.4. Условное обозначение стальной эмалированной мойки в технической документации и при заказе должно состоять из слова «Мойка», обозначения типа, букв: Ц — для моек с отверстиями
ГОСТ 24843-81 С. 3
для установки центрального смесителя, Щ — для моек с отверстиями для установки смесителя со щеткой, Р — для моек с отверстиями для установки смесителя с одной рукояткой, Н — для моек с отверстиями для установки смесителя с нижней камерой смешения, НМ или НФ — для моек, комплектуемых настенными смесителями с металлическим (латунным) или фарфоровым корпусом соответственно, НЩ — для моек, комплектуемых настенными смесителями со щеткой, и обозначения настоящего стандарта.
В условном обозначении моек типов МСУД, МСВД и МСВ-2, изготовленных в левом исполнении, перед обозначением стандарта указывается буква Л, а в обозначении моек для установки на кронштейнах—буква К.
Пример условного обозначения стальной эмалированной унифицированной мойки с одной чашей, с отверстиями для смесителя со щеткой, для установки на подстолье (шкафу кухонной мебели):
Мойка МСУЩ ГОСТ 24843-81
То же, для установки на кронштейнах:
Мойка МСУЩК ГОСТ 24843-81
1.5. (Исключен, Поправка ИУС 5—86).
1.6. Стальные эмалированные раковины изготовляют следующих типов:
РС-1 и РС-2 — стальные эмалированные раковины с одним или двумя отверстиями в спинке соответственно (черт. 10), изготовляемые с приваренными выпусками;
РСВ-1 и РСВ-2— стальные эмалированные раковины с одним или двумя отверстиями в спинке соответственно (черт. 11), изготовляемые со съемными выпусками.
1.7. Основные размеры раковин должны соответствовать указанным на черт. 10 и 11.
Условное обозначение стальной эмалированной раковины в технической документации и при заказе должно состоять из слова «Раковина», обозначения типа раковины и настоящего стандарта.
Пример условного обозначения стальной эмалированной раковины типа РСВ-2:
Раковина РСВ-2 ГОСТ 24843-81
С. 4 ГОСТ 24843-81
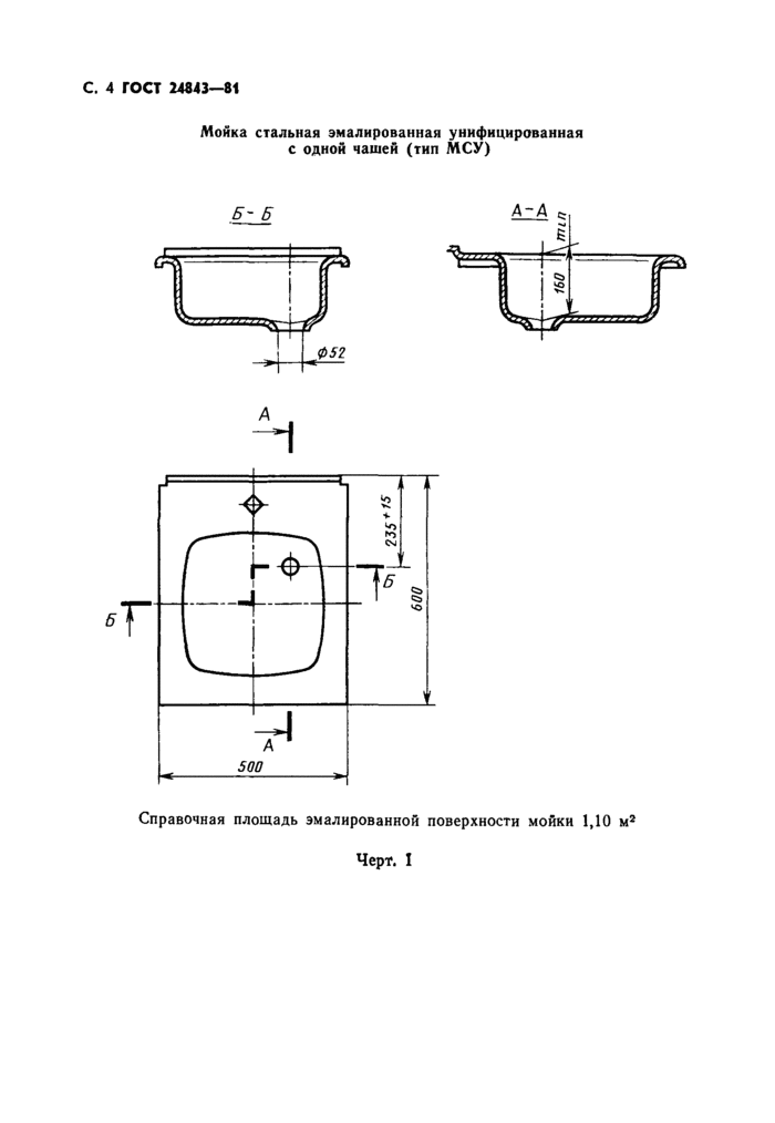
Мойка стальная эмалированная унифицированная с одной чашей (тип МСУ)
Справочная площадь эмалированной поверхности мойки 1,10 м2
Черт. I
ГОСТ 24843-81 С. 5
Мойка стальная эмалированная унифицированная с одной чашей, со сливной доской (тип МСУД)
Справочная площадь эмалированной поверхности мойки 1,45 м*.
Черт. 2
Мойка стальная эмалированная унифицированная с двумя чашами (тип МСУ-2)
Справочная площадь эмалированной поверхности мойки 1,95 м2
Черт, 3
Мойка стальная эмалированная с одной чашей, встраиваемая (тип МСВ)
ГОСТ 24843-81 С. 7
Б
А
Справочная площадь эмалированной поверхности мойки 0,95 м*
Черт. 4
C ft ГОСТ 24843-81
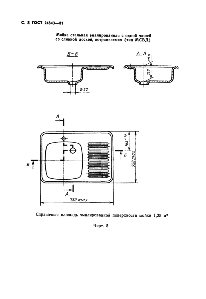
Мойка стальная эмалированная с одной чашей со сливной доской, встраиваемая (тип МСВД)
-1
Б
(Г
«х
сэ
‘о
750 max
Справочная площадь эмалированной поверхности мойки 1,25 м2
Черт. 5
ГОСТ 24843-81 С. 9
Мойка стальная эмалированная с двумя чашами встраиваемая (тип МСВ-2)
А
JO0
Справочная площадь эмалированной поверхности мойки 1,70 м2
Черт. 6










