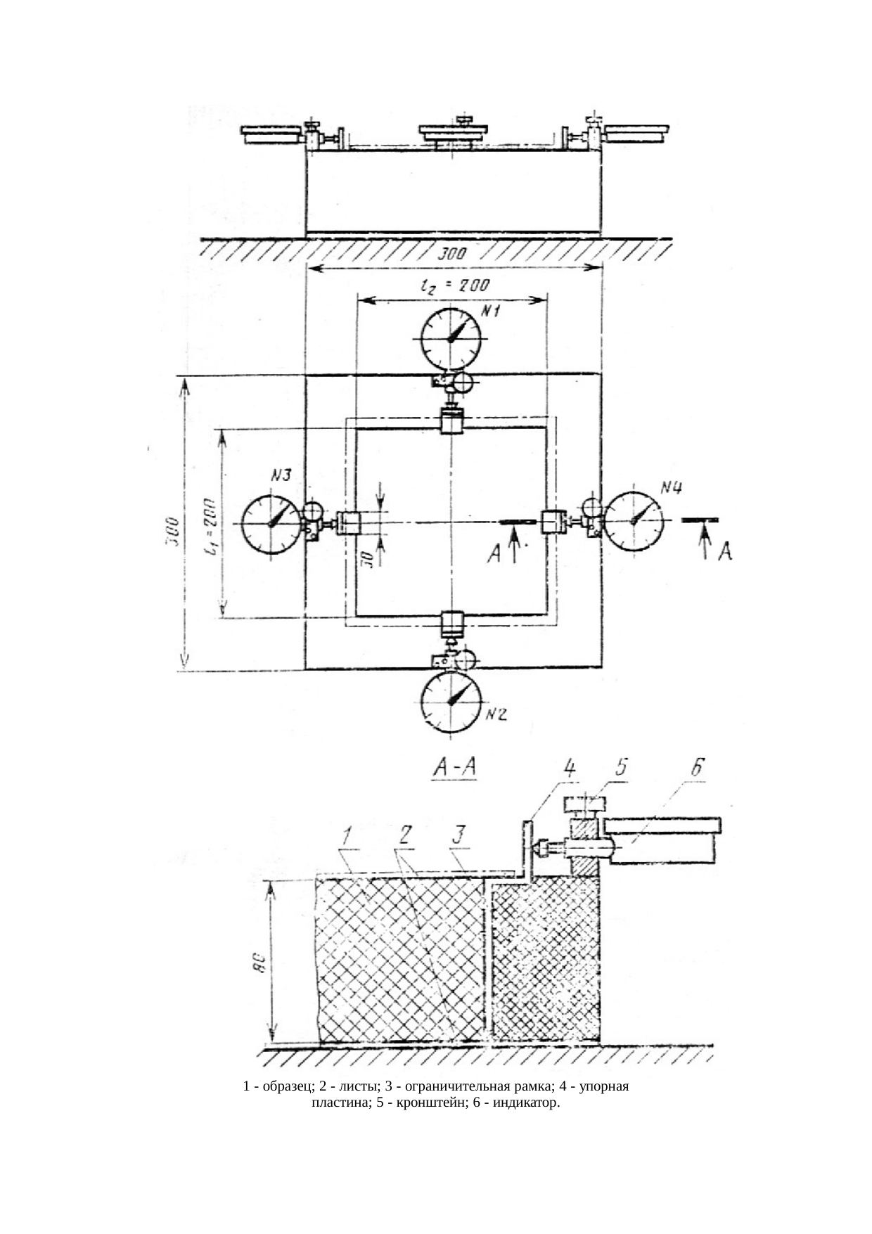
Панели слоистые с утеплителем из пенопластов для стен и покрытий зданий. Пенопласты. Метод определения усадки
На нашем сайте можно бесплатно скачать ГОСТ 24434-80 (1988) в удобном формате. Узнать актуальный статус ГОСТА «Панели слоистые с утеплителем из пенопластов для стен и покрытий зданий. Пенопласты. Метод определения усадки» на 2016 год.
Скрыть дополнительную информацию
Страница 1

Страница 2

Страница 3

Страница 4
