Ткань кордная. Метод определения разрывной нагрузки и удлинений

Страница 1

Страница 2

Страница 3

Страница 4

Страница 5

Страница 6

Страница 7

Страница 8

Страница 9

Страница 10

Страница 11
УДК 677.46.061.43 : 620.172 : 006.354 Группа М99
ГОСУДАРСТВЕННЫЙ СТАНДАРТ СОЮЗА ССР
ТКАНЬ КОРДНАЯ ГОСТ
Метод определения разрывной нагрузки и удлинений 23785.1—79* *
Cord fabric. Взамен ГОСТ 8537-72
Method for determination of и ГОСТ 7266.2-69 в ча-
breaking strength and elongations сти метода определения
разрывной нагрузки и ОКП 22 8100 удлинения
Постановлением Государственного комитета СССР по стандартам от 14 августа 1979 г. № 3115 срок введения установлен
с 01.01.81
Проверен в 1985 г. Постановлением Госстандарта от 14.03.85 Ns 586
срок действия продлен до 01.01.91
Несоблюдение стандарта преследуется по закону
Настоящий стандарт распространяется на кордную ткань, вырабатываемую по основе из химических кордных нитей, и устанавливает метод определения разрывной нагрузки и удлинений основной нити кордной ткани.
Основные понятия даны в справочном приложении 1.
1. ОТБОР ЛАБОРАТОРНЫХ ПРОБ
1.1. От каждой точечной пробы кордной ткани, отобранной по ГОСТ 23785.0-79, отбирают по всей длине вместе с заработками лабораторную пробу шириной не менее 50 мм.
(Измененная редакция, Изм. № 1).
2. АППАРАТУРА
2.1. Для проведения испытания применяют:
машины разрывные с постоянной скоростью деформирования, с постоянной скоростью возрастания нагрузки и маятникового типа;
шкаф сушильный, обеспечивающий температуру 105±2°С;
грузы, необходимые для создания предварительной нагрузки, масса которых устанавливается в соответствии с ГОСТ 26171-84 с погрешностью ±2,0%.
(Измененная редакция, Изм. № 1).
Издание официальное Перепечатка воспрещена
* Переиздание (март 1986 г.) с Изменением № 1, утвержденным в марте 1985 г. (МУС б—85).
Стр. 2 ГОСТ 23785.1-7»
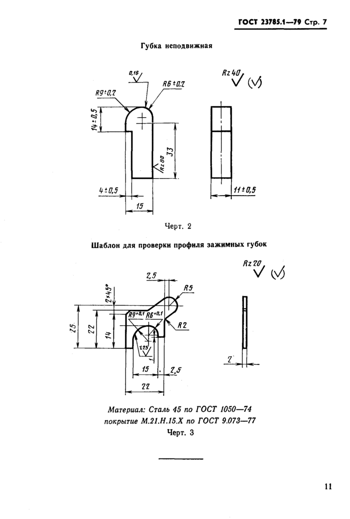
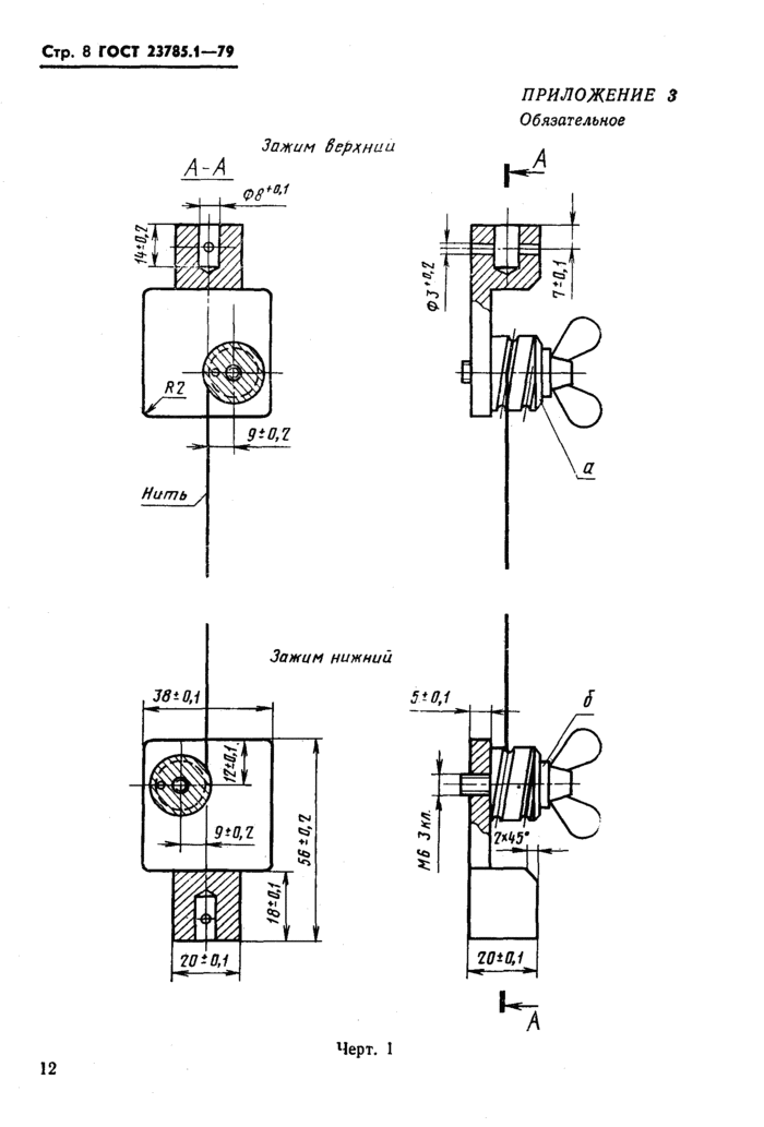
2.2. Разрывные машины должны быть оборудованы зажимными губками специального профиля. Профиль и размеры зажимных губок даны в обязательных приложениях 2 и 3.
Тип-зажймных губок устанавливается в нормативно-технической документации на кордные ткани.
2.3. При возникновении разногласий для испытания кордных тканей с номинальной разрывной нагрузкой менее 166,8 Н (17,0 кгс) применяют разрывные машины типа РМ-30, для испытания остальных кордных тканей — разрывные машины типа РТ-250М-2.
3. ПОДГОТОВКА К ИСПЫТАНИЮ
3.1. Лабораторные пробы ткани из синтетических кордных нитей должны быть выдержаны в свободном состоянии не менее 2 ч в климатических условиях по ГОСТ 10681-75.
3.2. Лабораторные пробы ткани из искусственных кордных нитей подсушивают в сушильном шкафу в течение 2 ч при температуре 105±2°С.
В лабораторные пробы ткани в местах заработок с обеих сторон продевают металлические шпильки. Лабораторные пробы на металлических шпильках свободно подвешивают и закрепляют в верхней части сушильного шкафа вдоль стенок так, чтобы нити не касались внутренней поверхности шкафа (см. обязательное приложение 4).
Сушильный шкаф устанавливают рядом с разрывной машиной. Во время заправки и проведения испытания кордной ткани дверца сушильного шкафа должна быть закрыта.
В процессе испытания подвешивать в сушильный шкаф новые лабораторные пробы не допускается.
3.3. Испытания лабораторных проб кордной ткани должны проводиться в климатических условиях по ГОСТ 10681-75.
(Введен дополнительно, Изм. № 1).
4. ПРОВЕДЕНИЕ ИСПЫТАНИЯ
4.1. Определение разрывной нагрузки и удлинений производят разрывом отдельных кордных нитей.
Во избежание раскручивания нить должна вытаскиваться за оба конца с края лабораторной пробы. При этом касаться руками испытуемого участка нити не допускается.
4.2. Продолжительность процесса растяжения нити до разрыва должна быть 20±2 с.
в
(Продолжение изменения к ГОСТ 23785.1-79)
Пункт 3.1. Исключить слова: «в свободном состоянии».
Пункт 4.2 дополнить абзацем: «Скорость нижнего зажима устанавливается так, чтобы продолжительность процесса растяжения 10 нитей, отобранных от не менее 3 лабораторных проб, укладывалась в установленное стандартом время».
Пункт 4.4 дополнить абзацем: «Длина нити между точками проверяется нитью с грузом предварительного натяжения по п. 2.1. В точках а и б наносятся метки, открывая поочередно сначала нижний, а затем верхний зажимы. Затем нить, взятая за оба конца с подвешенным грузом предварительного натяжения, накладывается на линейку и измеряется длина нити между метками. Проводится не менее трех замеров длины нити».
Пункт 5.2. Экспликация. Первый абзац. Заменить слова: «с погрешностью» на «с точностью».
Пункт 5.5. Третий абзац после слова «вычисляют» дополнить словами: «методом сумм или произведений или».
Приложение 2. Чертеж 3. Заменить ссылку: ГОСТ 9.073—77 на ГОСТ
9.306—85.
(ИУС № 6 1990 г.)
ГОСТ 237S5.1—7» Стр. 3
4.3. Нить заправляют в зажимы разрывной машины при предварительной нагрузке в следующем порядке: один конец нити закрепляют между подвижной и неподвижной губками нижнего зажима, другой конец нити закрепляют между подвижной и неподвижной губками верхнего зажима.
Примечание. В зависимости от конструкции крепления зажимных губок заправку нити можно производить сначала в верхний, а затем в нижний зажим.
(Измененная редакция, Изм. № 1).
4.4. Длина нити между точками ее зажима а и б устанавливается 250 ±1 мм.
4.5. Предварительная нагрузка устанавливается в зависимости от номинальной линейной плотности кордной нити и заданной удельной предварительной нагрузки (5,0±1,0) мН/текс по ГОСТ 26171—84.
(Измененная редакция, Изм. № 1).
4.6. Разрыв нити на расстоянии менее 5 мм от точек зажима нити а и б не учитывают, если показатель разрывной нагрузки ниже нормы, установленной в нормативно-технической документации на кордную ткань.
4.7. Длительность одного испытания искусственной кордной нити от начала вытаскивания нити из лабораторной пробы до разрыва ее на разрывной машине не должна превышать 30 с.
4.8. Промежуточное удлинение фиксируется в момент показания стрелки силоизмерителя нагрузки, установленной нормативнотехнической документацией на кордную ткань.
4.9. На каждой лабораторной пробе проводят не менее 10 испытаний. Общее количество испытаний должно быть не менее 100.
4.10. Порядок подготовки к испытанию и проведение испытания нитей, отобранных из пучка, тот же, что и лабораторных проб ткани.
5. ОБРАБОТКА РЕЗУЛЬТАТОВ
5.1. За фактическую разрывную нагрузку и удлинения нитей принимают среднее арифметическое результатов всех испытаний.
5.2. Среднее арифметическое результатов испытаний (М) вычисляют по формуле
где 2М — сумма результатов испытаний (показания разрывной машины, записанное с погрешностью, соответствующей цене одного деления шкалы разрывной машины); п — общее число испытаний.
7
Стр. 4 ГОСТ 23785.1-79
Вычисление производят до второго десятичного знака с последующим округлением до первого десятичного знака.
5.3. Разрывную нагрузки (Р) в ньютонах вычисляют по формуле
где Р\ — разрывная нагрузка, кгс;
9,81 — коэффициент пересчета.
Вычисление производят до второго десятичного знака с последующим округлением до первого десятичного знака.
5.4. Относительное разрывное удлинение (X) и относительное промежуточное удлинение (Xi) в процентах вычисляют по формулам
где I — удлинение нити в момент разрыва, мм;
к — удлинение нити в момент достижения нагрузки, установленной нормативно-технической документацией, мм;
250 — зажимная длина, мм.
Вычисление производят до второго десятичного знака с последующим округлением до первого десятичного знака.
5.5. Для оценки неравномерности нитей по показателям применяют коэффициент вариации.
Коэффициент вариации (С) в процентах вычисляют по фор-
где а — среднее квадратическое отклонение;
М — среднее арифметическое результатов испытаний.
Среднее квадратическое отклонение (а) вычисляют по формуле
Вычисление коэффициента вариации производят до второго десятичного знака с последующим округлением до первого десятичного знака.
P = Pi-9,81
У ЫОО у . /к 100
250 ’ 1 250 ’
муле
q_ д-100 ~~ М
8
ГОСТ 23785.1-79 Стр. 5
ПРИЛОЖЕНИЕ I Справочное
Основные понятия
|
Понятия |
Определения |
|
|
Разрывная нагрузка |
Наибольшее усилие, выдерживаемое нитями при растяжении их до разрыва, Н (кгс). |
|
|
Относительное линение |
разрывное уд- |
Приращение длины растягиваемых нитей в момент разрыва, выраженное в процентах к зажимной длине. |
|
Относительное удлинение |
промежуточное |
Приращение длины растягиваемой нити в момент достижения стандартной нагрузки, выраженное в процентах в зажимной длине. |
9
ПРИЛОЖЕНИЕ 2 Обязательное
Зажимные губки
Вид А
1М5
|
№ |
Обозначение ‘ |
Материал |
|
1 |
Шпилька направляющая |
Сталь 35 по ГОСТ Ш|50—74 |
|
2 |
Губка неподвижная |
Эбонит по ГОСТ 2748-77 |
|
Сталь 45 по ГОСТ 1050-74 |
||
|
3 |
Губка подвижная |
_ |
10
Черт. 1
ГОСТ 23785.1-79 Стр. 7
Губка неподвижная
Rika.
V (у)
11 ±0,5
Шаблон для проверки профиля зажимных губок
Материал: Сталь 45 по ГОСТ 1050-74 покрытие М.21.Н.15.Х по ГОСТ 9.073-77 Черт. 3
11
Щ’-дЛ
ПРИЛОЖЕНИЕ 3 Обязательное
Зажим верхний
А-А
12
ГОСТ 23785.1-79 Стр. 9
Материал: Эбонит по ГОСТ 2748-77 Черт. 2
Материал: Сталь 45 по ГОСТ
1050—74
Черт. 3
ПРИЛОЖЕНИЕ 4 Обязательное
Лабораторная проба ткани Крепление лабораторной пробы
для испытания в сушильноу шкафу
Черт. 2
13
Черт. I
Изменение № 2 ГОСТ 23785Л—79 Ткань кордная. Метод определения разрывной нагрузки и удлинений
Утверждено и введено в действие Постановлением Государственного комитета СССР по управлению качеством продукции и стандартам от 26.03.90 № 563
Дата введения 01Л0.9С
Пункт 2.1. Второй абзац изложить в новой редакции: «шкаф сушильный,
обеспечивающий температуру 0—150 °С с допустимой погрешностью поддержа ния температуры ±2°С»;
дополнить абзацами: «линейку измерительную металлическую с пределом измерения не менее 3(Х> мм, цена деления I мм, по ГОСТ 427-75; секундомер механический по ГОСТ 5072-79».
Пункт 2.2. Второй абзац изложить в новой редакции: «Тип зажимных губо* и материал неподвижной губки устанавливается в нормативно-технической до кументации на ткани».
(Продолжение см. с. 306\





