Ткань кордная. Метод определения разрывной нагрузки и удлинения при разрыве
Заменяет

Страница 1

Страница 2

Страница 3

Страница 4

Страница 5

Страница 6

Страница 7

Страница 8

Страница 9

Страница 10

Страница 11
ГОСТ 23785.1-2001
МЕЖГОСУДАРСТВЕННЫЙ СТАНДАРТ
ТКАНЬ КОРДНАЯ Метод определения разрывной нагрузки и удлинения при разрыве
Издание официальное
БЗ 11-99/541
МЕЖГОСУДАРСТВЕННЫЙ СОВЕТ ПО СТАНДАРТИЗАЦИИ, МЕТРОЛОГИИ И СЕРТИФИКАЦИИ Минск
ГОСТ 23785.1-2001
Предисловие
1 РАЗРАБОТАН Межгосударственным техническим комитетом по стандартизации МТК 301 «Синтетические волокна и нити»
ВНЕСЕН Госстандартом России
2 ПРИНЯТ Межгосударственным Советом по стандартизации, метрологии и сертификации (протокол № 19 от 24 мая 2001 г.)
|
За принятие проголосовали: |
||||
|
3 Постановлением Государственного комитета Российской Федерации по стандартизации и метрологии от 24 декабря 2001 г. № 549-ст межгосударственный стандарт ГОСТ 23785.1-2001 введен в действие непосредственно в качестве государственного стандарта Российской Федерации с 1 декабря 2002 г.
4 ВЗАМЕН ГОСТ 23785.1-79
© И ПК Издательство стандартов, 2002
Настоящий стандарт не может быть полностью или частично воспроизведен, тиражирован и распространен в качестве официального издания на территории Российской Федерации без разрешения Госстандарта России
п
ГОСТ 23785.1-2001
Содержание
1 Область применения ……………………………………………… 1
2 Нормативные ссылки……………………………………………… I
3 Определения …………………………………………………… 1
4 Отбор проб ……………………………………………………. 1
5 Средства испытания и вспомогательные устройства………………………….2
6 Подготовка к испытанию……………………………………………2
7 Проведение испытания …………………………………………….2
8 Обработка результатов……………………………………………..3
Приложение А Зажимные губки профиля I…………………………………4
Приложение Б Зажимные губки профиля 2…………………………………6
Приложение В Крепление лабораторной пробы в сушильном шкафу………………..7
Приложение Г Библиография ………………………………………….8
in
ГОСТ 23785.1-2001
МЕЖГОСУДАРСТВЕННЫЙ СТАНДАРТ
ТКАНЬ КОРДНАЯ Метод определения разрывной нагрузки и удлинения при разрыве
Cord fabric. Method for determination of breaking strength and elongation at rupture
Дата введения 2002—12—01
1 Область применения
Настоящий стандарт распространяется на кордную ткань, вырабатываемую по основе из химических кордных нитей, и устанавливает метод определения разрывной нагрузки и удлинения при разрыве основной нити пробы кордной ткани, наработанной для испытаний.
2 Нормативные ссылки
В настоящем стандарте использованы ссылки на следующие стандарты:
ГОСТ 9.306-85 Единая система защиты or коррозии и старения. Покрытия металлические и неметаллические неорганические. Обозначения
ГОСТ 427-75 Линейки измерительные металлические. Технические условия
ГОСТ 1050-88 Прокат сортовой, калиброванный, со специальной отделкой поверхности из углеродистой качественной конструкционной стали. Общие технические условия
ГОСТ 2748-77 Пластины, стержни, трубки эбонитовые электротехнические. Технические условия
ГОСТ 10681-75 Материалы текстильные. Климатические условия для кондиционирования и испытания проб и методы их определения
ГОСТ 23785.0-2001 Ткань кордная. Правила приемки и метод отбора проб
ЮСТ 26171—84 Волокна и нити химические. Нормы предварительных нагрузок при испытаниях
3 Определения
В настоящем стандарте применяют следующие термины с соответствующими определениями:
3.1 разрывная нагрузка: Максимальное усилие, выдерживаемое нитью при растяжении до разрыва, выраженное в ныотонах или килограммсилах.
3.2 удлинение при разрыве: Удлинение, полученное к моменту окончательного разрыва нити, выраженное в процентах к зажимной длине.
3.3 промежуточное удлинение: Удлинение, полученное к моменту достижения нагрузки, уста-новленной нормативными документами, выраженное в процентах к зажимной длине.
3.4 продолжительность испытания: Время, прошедшее от начала изменения длины нити до разрыва, выраженное в секундах.
3.5 предварительная нагрузка: Усилие, прикладываемое к нити перед ее закреплением в зажимы разрывной машины.
4 Отбор проб
4.1 От каждой точечной пробы кордной ткани, отобранной по ГОСТ 23785.0, отбирают по всей длине вместе с заработками лабораторную пробу шириной не менее 50 мм.
Издание официальное
I
ГОСТ 23785.1-2001
Количество проб с одной лабораторной пробы должно быть не менее 10.
Общее количество испытаний должно быть не менее 100.
5 Средства испытания и вспомогательные устройства
5.1 Для проведения испытания применяют:
— машины разрывные маятникового типа;
— машины разрывные с постоянной скоростью растяжения;
— машины разрывные с постоянной скоростью возрастания нагрузки.
Погрешность измерения разрывной нагрузки —±1 %.
Погрешность измерения удлинения —±1 мм.
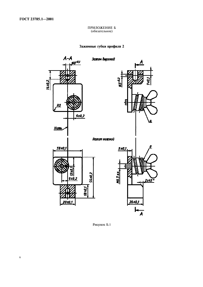
Во избежание проскальзывания или перекусывания нити в зажимах разрывной машины применяют зажимные губки специального профиля. Профиль и размеры зажимных губок устанавливают в соответствии с приложениями А и Б.
Тип зажимных губок и материал неподвижной губки устанавливают в нормативных документах на ткани.
При возникновении разногласий испытания кордных нитей проводят на разрывных машинах маятникового типа РМ 3-1, РМ 30-1 и на разрывных машинах типа РТ-250 М-2;
— шкаф сушильный, обеспечивающий температуру (105±2) «С;
— линейку измерительную металлическую с пределом измерения не менее 300 мм по ГОСТ 427;
— грузы предварительной нагрузки по ГОСТ 26171;
— секундомер механический |1|.
6 Подготовка к испытанию
6.1 Лабораторные пробы ткани из синтетических кордных нитей выдерживают в климатических условиях по ГОСТ 10681 не менее 2 ч.
6.2 Лабораторные пробы ткани из искусственных кордных нитей подсушивают в сушильном шкафу при температуре (105±2) «С в течение 2 ч.
В лабораторные пробы ткани в местах заработок с обеих сторон продевают металлические шпильки.
Лабораторные пробы на металлических шпильках свободно подвешивают и закрепляют в верхней части сушильного шкафа вдоль стенок так, чтобы нити не касались внутренней поверхности шкафа (приложение В).
Сушильный шкаф устанавливают рядом с разрывной машиной. Во время проведения испытания дверца сушильного шкафа должна быть закрыта.
В процессе испытания не допускается подвешивать в сушильный шкаф новые лабораторные пробы.
6.3 Испытания лабораторных проб кордной ткани проводят в климатических условиях по ГОСТ 10681.
6.4 Длину нити между точками ее зажима а и б устанавливают (250±1) мм (приложение Б).
6.5 На основании разрыва 5—10 нитей, отобранных от не менее 3 лабораторных проб, устанавливают скорость нижнего зажима так. чтобы средняя продолжительность растяжения нити до разрыва равнялась (20±3) с.
7 Проведение испытания
7.1 Разрывную нагрузку и удлинение при разрыве определяют методом разрыва одной нити, взятой из лабораторной пробы. Во избежание раскручивания нить вытаскивают с края лабораторной пробы за оба конца.
7.2 Нить заправляют в зажимы разрывной машины при предварительной нагрузке в следующем порядке: один конец нити заправляют между подвижной и неподвижной губками нижнего зажима, другой конец нити запраатяют между подвижной и неподвижной губками верхнего зажима.
В зависимости от конструкции крепления зажимных губок заправку нити можно производить сначала в верхний, а затем в нижний зажим.
При заправке нити в зажимы разрывной машины не допускается прикасаться к испытуемому участку нити руками.
2
ГОСТ 23785.1-2001
7.3 Предварительную нагрузку устанавливают в зависимости от номинальной линейной плотности нити из расчета 5.0 мН/текс по ГОСТ 26171 с округлением до целого числа.
7.4 Длину нити между точками ее зажима проверяют нитью с грузом предварительного натяжения по 7.3. В точках а и 6 наносят метки при закрытых зажимах. Затем нить с подвешенным грузом предварительной нагрузки берут за оба конца, накладывают на линейку и измеряют длину нити между метками.
Проводят не менее трех измерений длины нити.
7.5 После разрыва нити снимают показания шкал разрывной нагрузки и удлинения при разрыве с погрешностью цены деления шкалы.
7.6 Разрыв нити на расстоянии менее 5 мм от точек зажимов разрывной машины не учитывают.
7.7 Длительность одного испытания искусственной кордной нити от начала вытаскивания нити из лабораторной пробы до разрыва ее на разрывной машине не должна превышать 30 с.
7.8 Промежуточное удлинение фиксируют в момент достижения стрелки силоизмерителя нагрузки, установленной нормативными документами на кордную ткань.
7.9 Порядок подготовки к испытанию и проведения испытания нитей, отобранных из пучка, тот же. что и лабораторных проб кордной ткани.
8 Обработка результатов
8.1 За фактическую разрывную нагрузку нитей принимают среднеарифметическое результатов всех единичных испытаний.
8.2 Разрывную нагрузку нити Р. Н. вычисляют по формуле
Я =9,81 .Яф, (1)
где 9,81 — коэффициент пересчета;
/ф — фактическая разрывная нагрузка, кгс.
Вычисления проводят с точностью до второго десятичного знака с последующим округлением до первого десятичною знака.
8.3 Удлинение при разрыве или промежуточное удлинение отдельных нитей I, %. вычисляют по формуле (если показания снимают со шкалы прибора в миллиметрах)
д/
100. (2)
‘-т:
где Д/ — приращение длины нити к моменту разрыва, мм;
U — зажимная длина, мм, или снимают со шкалы прибора (если показания снимают в процентах).
8.4 Удлинение при разрыве L, %, вычисляют по формуле
L^jr, (3)
где 11, — сумма результатов отдельных проб. %;
I-1
п — количество испытаний.
8.5 Дчя оценки неравномерности кордных нитей по показателям применяют коэффициент вариации.
Коэффициент вариации с вычисляют по формуле
—.00
где о — среднее квадратическое отклонение, которое вычисляют по формуле
где А/, — единичный результат испытания;
17 — среднеарифметическое результатов испытаний, которое вычисляют по формуле
(5)
(6)
ГОСТ 23785.1-2001
где 1Л/, — сумма единичных результатов испытания: п — обшее количество испытаний.
Вычисление проводят с точностью до второго десятичного знака с последующим округлением до первого десятичного знака.
ПРИЛОЖЕНИЕ А (обязательное)
|
Зажимные губки профиля 1 |
1ftS
|
Таблица А. I |
|||||||||
|
|||||||||
|
Рисунок А. 1 |
ГОСТ 23785.1-2001
ffz40
Ум
11±йЛ
Рисунок А.2 — Губка неподвижная
Материал: Сталь 45 по ГОСТ 1050.
Покрытие: М.21.Н.15.Х по ГОСТ 9.306.
Рисунок А.З — Шаблон для проверки профиля зажимных г>бок
S
ГОСТ 23785.1-2001
ПРИЛОЖЕНИЕ Б
(обязательное)
Зажимные губки профиля 2
|
Зажин бархниО Зажин нижний |
|
|
№0.2 |
|
Рисунок Б.1
6
ГОСТ 23785.1-2001
ММ
|
Рисунок Б.З — Шайба |
Магсриач: Эбонит по ГОСТ 2748. Рисунок Б.2 — «Улитка®
ПРИЛОЖЕНИЕ В
(обязательное)
Крепление лабораторной пробы в сушильном шкафу
|
Рисунок B.I — Лабораторная проба ткани для испытания |
Рисунок В.2 — Крепление лабораторной пробы в сушильном шкафу |
7
ГОСТ 23785.1-2001
ПРИЛОЖЕНИЕ Г (справочное)
Библиография
111 ТУ 25-1894.003—90 Секундомеры механические
УДК 677.675:006.354 МКС 59.080.30 М99 ОКГ1 S2 8650
Ключевые слова: ткань кордная, разрывная нагрузка, удлинение при разрыве
Реаактор Л. И. Нахимова Технический редактор В.Н. Прусакова Корректор М.С. Кабашола Компьютерном верстка Л.Н. 3o.tomapcttou
Ии. лиц. М 02354 от 14.07.2000. Слано в набор 07.02.2002. Подписано в печать 27.02.2002. Усл.печл. 1.40. Уч.-мздл. 0,87.
Тираж 224 зкз. С 4457. Зак. 198.
ИГ1К И иагелытпо стандартов. 107076 Москва Колодеmium пер.* 14. htlp://w*w.%1andurds.ru e-mail: mfofi standards.™
Набрано и Издательстве на ПЭВМ Филиал И ПК Издательство сгандарюв — гии. “Московский печатник». 103062 Москва. Лилин пер.. 6.
Плр М 080102



