Инструмент абразивный. Основные размеры элементов крепления
Заменяет

Страница 1

Страница 2

Страница 3

Страница 4

Страница 5

Страница 6

Страница 7

Страница 8

Страница 9

Страница 10

Страница 11

Страница 12

Страница 13

Страница 14

Страница 15

Страница 16

Страница 17

Страница 18
ГОСУДАРСТВЕННЫЙ СТАНДАРТ СОЮЗА ССР
ИНСТРУМЕНТ АБРАЗИВНЫЙ
ОСНОВНЫЕ РАЗМЕРЫ ЭЛЕМЕНТОВ КРЕПЛЕНИЯ ГОСТ 2270-78
Издание официальное
ГОСУДАРСТВЕННЫЙ КОМИТЕТ СССР ПО СТАНДАРТАМ
Москва
УДК 621.922-21М : 006.354 ‘ Групп. ГМ
ГОСУДАРСТВЕННЫЙ СТАНДАРТ СОЮЗА ССР
ИНСТРУМЕНТ АБРАЗИВНЫЙ
Основные размеры мементов крепления
ГОСТ
2270-78
Взамен ГОСТ 2270-69
Abrasive tools.
Main dimensions of fixing elements
Постановлением Государственного комитета стандартов Совета Министров СССР от 26 апрсла 1978 г. Nt 1095 срок введения установлен
с 01.07.71
Несоблюдение стандарта преследуется по закону
1. Настоящий стандарт распространяется на элементы крепления абразивного инструмента, изготовленного по ГОСТ 2424-75, ГОСТ 2447-82, ГОСТ 2464 -82, ГОСТ 16167-80-ГОСТ 16180-82, ГОСТ 17123-79.
Стандарт не распространяется на элементы ‘крепления абразивного инструмента с встроенными механизмами для балансирования, на элементы крепления кругов типов ПР, 11Н и С по ГОСТ 2424-75, а также кругов, эксплуатируемых с окружной скоростью свыше 60 м/с.
Стандарт полностью соответствует стандарту ИСО 666— 75.
2. Основные размеры элементов крепления абразивного инструмента должны соответствовать указанным на черт. 1 — 11 и в
табл. 1 —11.
|
Издание официально* ★ |
Переиздание. Декабрь 1985 г. © Издательство стандартов, 1986 |
Перепечатка воспрещена
1
Стpi 2 ГОСТ 2270-71
2.1. Крепление шлифовальных- кругов и головок на оправке наклеиванием.
|
Исполнение / Исполнение I |
ГОСТ Ш0-7в Стр. 3
2.2. Крепление шлифовальных кругов на винте,
а) Круги чашечной формы и с выточкой
|
Таблица 2 мм |
||||||||||||||||||||||||||||||||||||
|
||||||||||||||||||||||||||||||||||||
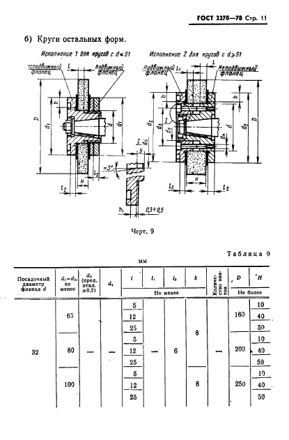
б) Круги остальных форм
Черт, з
Crp. 4 ГОСТ 217#—7*
мы
Таблица 3
|
Диаметр иимга d (пр*я отад. no h в) |
d, к« м«м>« |
О |
|||
|
(вред. о*л. -«.♦> |
ь не маисе |
Не |
(сдое |
||
|
3 |
б |
5 |
13 |
20 |
|
|
4 |
в |
6 |
|||
|
10 |
10 |
4 |
20 |
25 |
|
|
6 |
12 |
12 |
25 |
40 |
|
|
40 |
10 |
||||
|
8 |
13 |
13 |
25 |
40 |
|
|
‘ 6 |
8 |
||||
|
10 |
15 |
15 |
40 |
40 |
|
|
13 |
18 |
18 |
|||
|
16 |
22 |
22 |
8 |
50 |
63 |
|
20 |
28 |
28 |
63 • |
2.3. Крепление шлифовальных кругов на шпинделе или оправке винтом или гайкой.
а) Круги чашечной формы и с выточкой.
|
Исполнение 1 Исполнение 2 |
Черт, 4
ГОСТ 2270-7$ Ctp. 5
б) Круги остальных форм
Иелвйненое f Иеяммте 2
Crp. 6 ГОСТ 2270-79
Таблица 5
мм
|
Диаметр ашммделя (опрами) 1i (пред. откл. оо h 6) |
л, не ыекее |
<*» (пред. откл. -0.4» |
d, |
1 (пр*я. откл. -0.4) |
Ъ ее монва |
D | Н Не Соле* |
|
|
10 |
16 |
16 |
— • |
10 |
6 |
32 |
20 |
|
25 |
40 |
||||||
|
13 |
20 |
20 |
мю |
40 |
25 |
||
|
25 |
25 |
50 |
|||||
|
16 |
М12 |
10 |
8 |
40 |
20 |
||
|
25 |
50 |
||||||
|
40 |
63 |
||||||
|
10 |
50 |
20 |
|||||
|
25 |
40 |
||||||
|
40 |
63 |
||||||
|
20 |
эо |
30 |
М16 |
10 |
63 |
20 |
|
|
25 |
40 |
||||||
|
40 |
63 |
||||||
|
35 |
35 |
10 |
80 |
20 |
|||
|
25 |
40 |
||||||
|
40 |
63 |
||||||
|
45 |
45 |
10 |
100 |
• 20 |
|||
|
25 |
40 |
||||||
2.3.1. Проставное кольцо устанавливать при />//.
ГОСТ 2271-71 Стр. 7
2.4. Крепление шлифовальных кругов на шпинделе иЛн оправке фланцами.
а) Круги чашечной формы и с выточкой
Таблица б
|
мм |
||||||||||||||||||||||||||||||||||||||||||||||||||||||||
|
||||||||||||||||||||||||||||||||||||||||||||||||||||||||
Стр. 8 ГОСТ 1279-71
|
Таблица 7 мм |
||||||||||||||||||||||||||||||||||||||||||||||||||||||||||
|
||||||||||||||||||||||||||||||||||||||||||||||||||||||||||
б) Круги остальных форм
ГОСТ НТО—7В Ср. 9 Продолжение табл. 7 (при. 01КЛ. по Ь в) 4, | . к О И Н- невм- Не более 32 60 6 в 125 50 65 150 160 32 80 в 200 50 100 10 а 250 2.4.1. Прижимную поверхность фланцев выполнять с поднутрением 0,1-г-0,3 мм; между фланцами и инструментом устанавливать прокладки по ГОСТ 12.3.028-82. 2.5. Крепление шлифовальных кругов на переходных фланцах винтами (гайками). а) Круги чашечной формы и с выточкой Черт. 3 Сгр. 10 ГОСТ 1270-7» Таблица 8 ич ПосадошыЯ Финт а и» иске Л, (Пред. о>«я. **4 ■ и /, ь • Е А к о И Не боля* за 65 — — 5 12 25 4 6 . 6 — 160 ,25 63 80 80 5 200 20 12 63 51 75 5 .’2 8 150 25 80 Мб 12 в 260 63 20 63 160 32 76 115 66 3 12 25 П 300 127 165 110 .48 5 12 _25_ И _25 12 25 6 63 250 176 МЮ 13-1 16 350 80 Ж. 60 200 203 250 180 16 20 Г 8 ко М|2 12 25 500 63 100 305 ] 365 280 М16 12 25 600 И 100 375 12 25 19 25 750 сз 100 22 900 63 100 с»р. ^2 гост иго—7в Продолжение табл. 9 им Яв.л«гр Л И* 4% (прав. А 1 1\ к а* О « щ пса Не болм 5 10. — 12 6 — 150 40 51 75 25 8 / 100 40 5 ~ ■ 250 10 12 40 Мб 5 ГО 115 65 12 300 40 « 26 4 12 200 175 МЮ 12 400 40 25 6 11 50 5 Ю_ 165 А18 12 6 300 40 25 б 200 5 10 110 12 — 350 40 25 О 200 127 175 5 13 16 10 МЮ 12 Ш 400 40 _ 25 6 100 . 5 10 . 185 12 450 40_ 25 В 63 5 _ Ю_ 12 16 20 8 350 40 180 М12 25 6 ЭОО 203 260 5 ._. 10 12 400 40. 25 6 150 гост нго—га С’р. 13 Продолжение табл. 9 мм Посмеянии С’-Ч и :■ й ги в, О! «Л Л, 1 1, к ь Л * Я в О Я йен с* зЯЯ1 Не. 1 1СИСГГ Не С 5 _ 10 12 • 1 500 40 260 180 М>2 25 б 100 5 10_ 12 6 16 20 600 40 26 _ао_ 5 _ В 10 365 12 600 40 — 25 12 19 750 40 305 280 М16 25 в 250 330 12 25 900 40 . 22 _100_ 25 10 1060 63 вое 600 480 М20 25 32 1260 100 2.5.1. Для шлифовальных кругов с посадочный» диаметрами &=\’.’ мм и 90 мм. применяемых иа зубошлифовальных станках, допускается назначать основные размеры мест крепления соот-. ветствеиио как для кругов с посадочными диаметрами й — Ь\ мм н 76 мм. 2.5.2. Для шлифовальных кругов с посадочным диаметром й= 127 мм. применяемых иа зубошлифовальных станках, допускается вместо размера наружного диаметра фланца (1\—4г —175 мм применять размер «/)~ы,1*200 км. 2.5.3. Шейку фланиа высотой /( выполнять при 1+1,Н. 2.5.5 Прижимную поверхность фланцев выполнять с поднутрением ‘I • им. 2.5.6. Между фланцами и инструментом устанавливать прокладки по ГОСТ 12.3.028-82. 2.5.7. Предельные отклонения посадочного диаметра фланца о»; а) для подвижного фланца — по ЛИ; С|р. 14 ГОСТ 1170-7» 0) для неподвижного фланца на круглошлифовальных, внутри-шлифовальных к плоскошлнфовалъных станках — по (7; в) для неподвижного фланца на заточных станках — по е8. 2.5.8. Предельные отклонения диаметра сопрягаемых поверхностей а) для подвижного фланца — по Н8; б) лля неподвижного фланца — по 17. 26. Крепление шлифовальных кругов на переходных фланцах наклеиванием. Черт. 10 им Тиб л к (1 а 10 *| * О Ч п рад. от.!, во Н 11 Н» бол»* 205 210 16 200 100 305 310 25 300 160 408 412 400 125 458 462 450 508 512 32 500 Стр. 16 ГОСТ 3370-78 2.8. Если применение зажимных устройств размерами


