Топливо дизельное. Метод определения предельной температуры фильтруемости на холодном фильтре
Заменяет

Страница 1

Страница 2

Страница 3

Страница 4

Страница 5

Страница 6

Страница 7

Страница 8

Страница 9

Страница 10

Страница 11

Страница 12

Страница 13

Страница 14

Страница 15

Страница 16
ГОСУДАРСТВЕННЫЙ СТАНДАРТ СОЮЗА ССР
ТОПЛИВО ДИЗЕЛЬНОЕ
МЕТОД ОПРЕДЕЛЕНИЯ ПРЕДЕЛЬНОЙ ТЕМПЕРАТУРЫ ♦ НЛЬТРУЕМОСТИ НА ХОЛОДНОМ ФИЛЬТРЕ
ГОСТ 22254-92
Издание официальное
БЗ 1-92/65
КОМИТЕТ ПО СТАНДАРТИЗАЦИИ И МЕТРОЛОГИИ СССР Москва
УДК в2МЗ*-«2:Ов«ЛМ Групп* Б19
ГОСУДАРСТВЕННЫМ СТАНДАРТ СОЮЗА ССР
ТОПЛИВО ДИЗЕЛЬНОЕ
Метод определения предельной температуры ГОГТ
фильтруемости на холодном фильтре 1 ‘
Diesel fuel*. Cold filter method 22254—92
for determination of lowest filtering temperature
ОКСТУ 02Б1
Дот» шмлм
I. НАЗНАЧЕНИЕ
Настоящий стандарт устанавливает метод определения предельной температуры фильтруемости на холодном фильтре дизельных и бытовых печных топлив, предназначенных для народного хозяйства и для экспорта.
Дополнения, отражающие потребности народного хозяйства, выделены курсивом.
2. ОБЛАСТЬ ПРИМЕНЕНИЯ
Метод распространяется на дизельные топлива без присадок н с присадками, а также на топлива, применяемые в домашних отопительных системах.
3. ОПРЕДЕЛЕНИЕ
Предельная температура фильтруемости (на холодном фильтре) — самая высокая температура, при которой данный объем топлива не протекает через стандартизованную фильтрующую установку в течение определенного времени, во время охлаждения в стандартизованных условиях.
Издание официальное
© Издательство стандартов, 1992
Настоящий стандарт не может быть полностью млн частично воспроизведен, тиражирован и распространен вез разрешения Госстандарта СССР
ГОСГ Я22Л4~« С. f
4 СУЩНОСТЬ МЕТОДА
Метод заключается в постепенном охлаждении испытуемого топлива с интервалами в I ®С и стеканин его через проволочную фильтрационную сетку при вакууме 1961 Па (200 мм вод. ст.) [20 мбар).
Определение ведут до температуру, при которой кристаллы парафина, выделенного из раствора на фильтр, вызывают прекращение или замедление протекания в такой степени, что время наполнения пипетки превышает 60 с, или топливо не стекает полностью обратно в измерительный сосуд.
5. МАТЕРИАЛЫ И РЕАКТИВЫ
5.1. Уайт-спирит, кипящий в пределах 60—80 °С.
5.2. Ацетон.
5.3. Фильтровальная бумага не волокнистая.
Растворители: нефрас С 50/170 по ГОСТ 8505 или петролейный
эфир по ТУ 6-021244;
Ацетон по ГОСТ 2603;
Фи.хьтры бумажные *Белая лента».
в. АППАРАТУРА
Для испытания применяют аппаратуру по черт. I, и состаи которой входят:
6.1. Измерительный сосуд (5) — цилиндрический, плоскодонный из прозрачного стекла, внутренним диаметром (31,5±0,5) мм,
толщиной стенки (1,25±0,25) мм и высотой (120±5) мм, с ограничительной кольцевой меткой на высоте, соответствующей объему 45 см*.
Измерительные сосуды необходимых размеров можно выбрать из сосудов, удовлетворяющих требованиям метода ГОСТ 20287.
6.2. Металлический кожух (черт. 2) — латунный, цилиидричес-кнй^ водонепроницаемый, плоскодонный внутренним диаметром (45±0,25) мм, наружным диаметром (48±0,25) мм и высотой 115 мм. Используют в качестве водяной бани.
6.3. Изоляционное кольцо (черт. 3) — изготовленное из маслостойкого материала, которое помещают на дно кожуха (п. 6.2) для изоляции измерительного сосуда от дна. Оно должно быть точно подогнано к кожуху и должно иметь толщину (6Д,) мм—
6.4. Две прокладки (3 и 6) толщиной 5 мм, из маслостойкого материала. Прокладки должны быть точно подогнаны к измерительному сосуду и свободно — к кожуху. Применение неполных колец, каждое с радиальной щелью 2 мм, дозволяет приспособить прокладки к изменениям диаметра измерительного сосуда. Про-
С. J ГОСТ МК4-И
кладки и изоляционное кольцо могут быть изготовлены как одно целое (см. черт. 3)
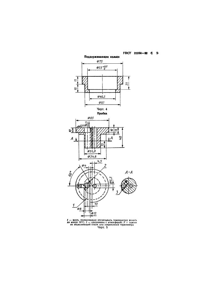
6.5. Поддерживающее кольцо (черт. 4) из маслостойкого материала для закрепления кожуха (п. 6.2) в стабильном вертикальном положении в охлаждающей бане, а также для поддержания пробки (п. 6.6) в центрированном положении. Кольцо может быть модифицировано для приспособления в охлаждающей бане.
6.6. Пробка (черт. 5) из маслостойкого материала, подогнанная к измерительному сосуду и поддерживающему кольцу. Пробка должна иметь три отверстия: для пипетки (п. 6.7), термометра (п. 6.8) и выхода в атмосферу. Если используют термометр с более широкими пределами температур, верхняя часть пробки может иметь вырезанную щель, которая дает возможность отсчета температуры по термометру (6.8) до минус 30X. К верхней поверхности пробки должен быть прикреплен указатель для соответствующего помещения термометра по отношению ко дну измерительного сосуда. Для поддерживания термометра в правильном положении надг) использовать зажим из пружинной проволоки.
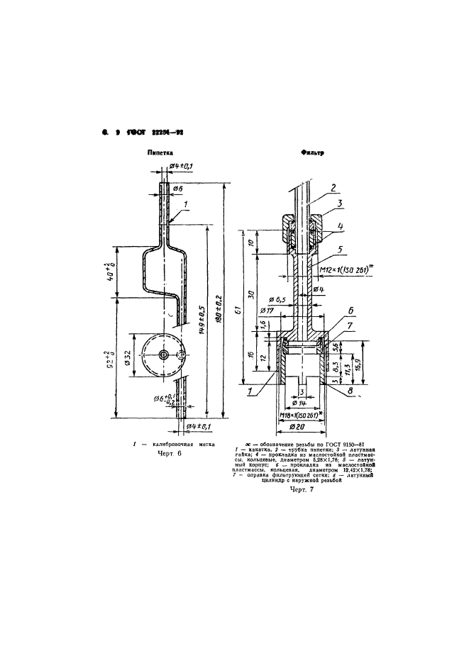
6.7. Пипетка с фильтром
6.7.1. Пипетка (черт. 6) из прозрачного стекла с калибровочной меткой на высоте (149±0,5) мм от основания пипетки, соответствующей объему (20,0^0,2) сма. Пипетка соединяется с фильтром.
6.7.2. Фильтр (черт. 7) состоит из следующих деталей:
латунного корпуса с резьбовым отверстием, в котором помещена фильтрационная сетка в оправке. Отверстие должно быть снабжено прокладкой из маслостойкой пластмассы. Внутренний диаметр центральной трубки (4,0±0,1) мм;
латунной гайки для соединения верхней части корпуса фильтра с ннжней частью пипетки для обеспечения плотного соединения. Пример правильного соединения представлен на черт. 7;
фильтрационной сетки диаметром 15 мм. изготовленной из проволоки из бронзы или нержавеющей стали, с номинальным размером отверстия 45 мкм. Номинальный диаметр хгроволоки должен быть 32 мкм, а погрешность размеров отдельных ячеек должна быть следующая:
Каждая ячейка не должна превышать номинального размера больше чем на 22 мкм.
Средний размер ячейки не должен превышать номинальный размер на ±3,1 мкм.
Не больше 6 % ячеек могут превышать номинальный размер больше чем на 13 мкм;
лагунной оправкн (черт. 8), в которой зажата фильтрационная сетка (п. 6.7.2) укрепляющим кольцом, втиснутым в державку. Диаметр рабочей части сетки должен равняться (12+£1 ) мм;
ГОС? 22254~»2 С 4
латунного цнлнндра с наружной резьбой, который можно ввернуть в отверстие корпуса (п. 6.7.2) для дожатня оправкн сеткн (п. 6.7.2) через прокладку (п. 6.7.2). В нижней части должны находиться четыре канавки, обеспечивающие стенание пробы в фильтрационный аппарат.
6.8. Термометры с пределами измерения от минус 30 до плюс 50 °С — для определения предельной температуры фильтруемости до минус 30 °С, от минус 80 до плюс 20 °С — для определения предельной температуры фильтруемости ниже минус 30 “С,
термометр для охлаждающей бани с пределами измерения .температур от минус 80 до плюс 20 °С.
Применяют термометры, соответствующие требованиям, приведенным в приложении.
Примечание. Для испытания пригодны термометры IP 1C и 2С или ASTM 5С н 6С.
6.9. Охлаждающая баня любого типа, имеющая форму н размеры, подходящие для помещения в ней кожуха (п. 6.2) в стабильном вертикальном положении на необходимую глубину. Баня должна быть снабжена крышкой с отверстиями для укрепления поддерживающего кольца с кожухом н термометра (п. 6.8).
Кожух может быть прочно прикреплен к крышке.
Температуру охлаждающей бани надо поддерживать на требуемом уровне при помощи холодильника или применяя соответствующую охлаждающую смесь (разд. 6).
Для разных предельных температур фильтруемости надо поддерживать температуры охлаждающей бани, приведенные в таблице 1. Они достигаются или при помощи отдельных охлаждающих бань, или путем регулирования холодильника. Применение холодильника дает возможность быстро менять температуру бани.
|
Ожндмыая температура фильтрусмоош, ‘С |
Т^буеыап температур* охлаждением баск. ‘С |
|
До -20 |
~34±0.Г. |
|
От —20 до —35 |
-34±0,5; |
|
—51 ±1,0; |
|
|
Ниже —35 |
—34±0,5; |
|
-51 ±1,0; |
|
|
-67±2 |
Если несколько анализируемых проб помещают в одну большую охлаждающую баню, то расстояние между ними должно быть не менее 50 мм.
6.10. Запорный кран стеклянный, трехходовой, наклонный, диа* метром отверстия 3 мм.
С. S ГОС» #*254-**
6.11. Вакуу»«гый насос или водяной насос мощностью, достаточной для обеспечения скорости течения от 3 до 4 дмэ/ч в регуляторе вакуума (п.€.12) во время испытания.
6.12. Регулятор вакуума (/7) (черт. I) — стеклянная бгтль высотой 350—400 мм, вместимостью 5 дм5, наполненная на V» водой, закупоренная пробкой с тремя отверстиями для стеклянных трубок. Две трубки должны быть короткими и не должны погружаться в воду. Третья трубка внутренним диаметром около (6± ±1) мм должна быть достаточно длинной, чтобы одни ее конец был погружен в воду на 200 мм, а другой выступал над пробкой.
Глубина погруженной части должна быть установлена таким образом, чтобы получить перепад давления на манометре, содержащем воду, точно на 200 мм водяного столба.
Установка представлена на черт. 1.
|
Полный набор аппаратуры |
|
I — охда1»Л>»0П1*>1 б мни. ? — вхииниошюч кольцо; 3 — нрооюхи: * .■ фильтр; S измерительный СОСУД; 6 — ярФКЛаДК»: 7 м>яух: я — иоши’ржикакнм* *o-iw-UO; 9 — пробка: 10 — зипетка: II — халиброаочмая четка (20 Си1!: It — треххо-лояы» явкупориый К|>*и: >:) — i; ойризин* ыаиоисгр. /V — деда: IS — соединение с втиосфероИ; 16 — «©единение с no»yj*inwM насосом: 17 — цекляшии бутыль (6у-ферты* емкость); It — уровень попы |
Черт. I
6.13. Секундомер с погрешностью 0,2
6.14. Аппарат полуавтоматический для определения предельной температуры фильтруемости дизельных топлив ПАФ по ТУ
«ОСТ Ж22МНС С «
38.44710263—90. а глкж* друеш аппараты, обеспечивающие требуемую точность испытания.
6.15. Измерительные сосуды необходимых размеров можно выбрать из сосудов, удовлетворяющих требованиям метода по ГОСТ 20287.
6.16. Сетка фильтровальная из нержавеющей стали или из медного сплава из проволоки диаметром от 0,028 до 0J032 мм и количеством ячеек от 17000 до 20500 на 1 см2 или М 0045 И по-ГОСТ 6613.
6.17. Смесь охлаждающая, состоящая из твердой углекислоты по ГОСТ 12162 или твердой углекислоты, полученной дросселированием жидкой углекислоты в плотный мешок и спирта этилового ректификованного по ГОСТ 18300 или спирта-сырца по ГОСТ 131, или спирта регенерированного.
6.18. Термометры типа ТИНЗ-1, ТИНЗ-З, ТН-8. ГОСТ 400-80.
6.19. Секундомер механический.
|
Кожух из латуни |
||||||||||||||||||||
|
||||||||||||||||||||
|
1 — серебряный сршю4 Черт. 2 |
||||||||||||||||||||
С 7 ГОСТ 22254—И
Изоляционно* К О Л WOO II npOXJMAKH
/ — и>зляиионное *0-1V50; ? — прошипи; За — проволоки я» и*рж«иющ*8 стала диаметром 3 нк
Черт. 3
ГОСГ 22254-Ю С S
Поддерживающее кольцо
|
Пробка |
|
яз ееуж ляеэсшей стали хл« закрепления термометр* Черт. 5 |
|
Пипетка Фядьтр |
/ — калкбропоняа* метки ж — обозначение резьбы ло ГОСТ 9150—в!
* • лаг тм-и
f. / — накатка. ^ — Трубка пмпетюя; J — латунная
мсрт О г.1»ка; 4 — яроклаака из масхостоАкоА пластмас
сы. кольц««ме, Диаметром Sj»X!r78; $ — латунный Короус; 6 — прокладка ai масл<хтоЯко1 пластмасси. кольцеаая. диаметром !2.«!Х1.7$;
7 — олрааха фильтрующей сетки; в — латуаяьш цклянлр с наружно! резьбой
Черт. 7
ГОСТ 22254-9? С I»
|
Олр*вк* фпльтруходеА сетки |
|
Черт. « 7. ПОДГОТОВКА ПРОБЫ |
Пробу испытуемого топлива фильтруют через сухую фильтровальную бумагу (п. 5.3) при температуре не менее 15 “С.
Пробу топлива отбирают по ГОСТ 2517. Для удаления механических примесей и воды топливо фильтруют через фильтр °С выше темпера• туры помутнения.
8. ПОДГОТОВКА АППАРАТУРЫ
Перед каждым испытанием разбирают фильтр (п. 6.7.2) и промывают его детали, а также измерительный сосуд (п. 6.1), пипетку (п. 6.7.1) и термометр (п. 6.8) растворителем, потом ополаскивают ацетоном и сушат чистым сухим воздухом. Проверяют чистоту н сухость всех деталей и кожуха. Проверяют, не повреждены ли фильтрационная сетка и соединения, при необходимости заменяют их новыми. Затем собирают аппаратуру, как указано на черт. 1. Проверяют плотность резьбовой гайки (п. 6.7.2), нет ли утечки.
9. ПРОВЕДЕНИЕ ИСПЫТАНИЯ
9.1. Изоляционное кольцо (п. 6.3) помещают на дно кожуха (п. 6.2).
С II ГОСТ 22254-9?
9.2. Если прокладки (п. 6.4) не изготовлены как одно целое с изоляционным кольцом (п. 6.3), их помещают на расстоянии около 15 и 75 мм от дна измерительного сосуда (п. 6.1).
9.3. Измерительный сосуд наполняют испытуемым топливом до метки, соответствующей 45 см5.
9.4. Измерительный сосуд закрывают пробкой с находящимися в ней пипеткой, с фильтром (п. 6.7) и соответствующим термометром (п. 6.8). При ожидаемой предельной температуре фильтруе-мости ниже минус 30 °С применяют термометр с низшими пределами температур. Во время испытания термометр нельзя менять.
Аппаратуру устанавливают таким образом, чтобы нижняя часть фильтра (п. 6.7.2) находилась на дне измерительного сосуда; термометр устанавливают параллельно пипетке и таким образом, чтобы его нижний конец находился на (l,5d=0,2) мм от дна измерительного сосуда. Шарик термометра не должен соприкасаться ни со стенкой измерительного сосуда, ни с фильтром.
9.5. Кожух помещают вертикально на глубине (85±2) мм в охлаждающей бане, в которой поддерживают температуру минус (34±0,5) °С.
9.6. Измерительный сосуд помещают в кожух в стабильном вертикальном положении.
9.7. При открытом запорном кране (п. 6.10) соединяют пипетку с вакуумной установкой (пп. 6.11, 6.12) при помощи гибких шлангов, присоединенных к крану (черт. 1). Включают вакуум и устанавливают воздушный поток так, чтобы U-образный манометр показывал падение давления 200 мм водяного столба во время всего испытания.
9.8. Определение начинают сразу после помещения измерительного сосуда в кожух. Если температура помутнения пробы известна, допускается начинать определение в момент, когда проба охлаждена до температуры, которая выше температуры помутнения не менее чем на 5°С. В первом этапе охлаждения всегда надо применять баню с температурой минус (34±0,5) °С.
Когда температура пробы достигнет соответствующей величины, устанавливают запорный кран (п. 6.10). так чтобы фильтр был соединен с вакуумом, вызывая всасывание пробы топлива через фильтрационную сетку в пипетку, одновременно включают секундомер. Когда топливо дойдет до метки на пипетке, останавливают секундомер и устанавливают кран в начальном положении, чтобы проба могла стечь в измерительный сосуд.
Если время для засоса топлива до метки превышает 60 с, то определение прекращают и повторяют со свежей массой для испытания, начиная с более высокой темпеоатуры.
9.9. Операцию (п. 9.8) повторяют после каждого снижения температуры пробы на I °С до достижения температуры, при ко-
ГОСТ ТПЬА—ft С. II
торой течение через фильтр прекращается, или пипетка не напол ияется до метки в течение 60 с.
Записывают температуру начала последней фильтрации.
9.10. Если после охлаждения согласно п. 9.9 и 9.11 или 9.12 проба заполняет пипетку до метки не дольше 60 с. но не стекает обратно в измерительный сосуд после установления крана (п. 6.10) в первоначальном положении, то надо записать температуру начала фильтрации.
9.11. Если при температуре минус 20 °С не прекращается течение топлива через фильтр, дальнейшее охлаждение ведут в охлаж-дающей бане с температурой минус (51±1) °С или в соответственно переключенном холодильнике и повторяют операцию (п. 9.8) после каждого снижения температуры на 1 °С.
Изменяя баню, быстро переносят измерительный сосуд а новый кожух, помещенный во второй охлаждающей бане, или регулируя холодильник.
9.12. Если при температуре минус 35 °С не прекращается течение топлива через фнльтр, дальнейшее охлаждение ведут в третьей бане с температурой минус (67±2) °С или регулируя холодильник.
Переносят комплект, как указано в п. 9.11.
>0. ПРОТОКОЛ ИСПЫТАНИЯ
Регистрируют температуру в начале последнего фильтрования с точностью до 1 °С (пп. 9.9—9.10) как предельную температуру фильтруемости на холодном фильтре и делают ссылку на дан-ный стандарт.
Обработка результатов.
За результат определения принимают среднее арифметическое результатов двух последовательных определений. округленное до целого числа.
II. ТОЧНОСТЬ МЕТОДА
Точность метода получена статистическим исследованием меж-лабораторных результатов испытаний и указана в пп. 11.1 — 11.2 (см. примечание).
11.1. Сходимость
Расхождение между последовательными результатами испытания, полученное одним и тем же оператором на одной и той же аппаратуре в одинаковых условиях на идентичном исследуемом материале при правильном выполнении испытания, превышает значения, указанные на черт. 9, в одном случае из двадцати.
. Два результата определений, полученные одним исполнителем в одной лаборатории, признаются достоверными (при доверитель-
С 14 ГОСТ 22254-12
ной вероятности 95 если расхождение между ними не превышает 1 ‘С.
11.2. Воспроизводимость
Расхождение между двумя независимыми результатами, полученными равными операторами, работающими в разных лабораториях на идентичном исследуемом материале, при правильном выполнении испытания, превышает значения, представленные на черт. 9, в одном случае из двадцати.
Примечание. Данные точности, представленные на черт. 9. получены по программе, по которой применялись способы как автоматический, так и руч-MOft.
Два результата испытаний, полученные в двух разных лабораториях, признаются достоверными (при доверительной вероятности 95 если расхождение между ними не превышает 2°С.
|
Погрешность определения предельной температуры фильтруемое ти на холодном фмльтре |
|
Примечание Ниже минус 35СС погрешность не установлена. Черт. 9 |
ГОС» 12254—W с. 14
ПРИЛОЖЕНИЕ
ТРЕВОВАННЯ К ТЕРМОМЕТРАМ ДЛЯ ОПРЕДЕЛЕНИЯ ПРЕДЕЛЬНОЙ ТЕМПЕРАТУРЫ ФИЛЬТРУЕМОСТИ
|
Пределы температур, °С A. Погружение, мм Метки шкалы: Цена деления, °С Длинная метка, Цифровое обозначение, СС Максимальная ширина, мм iMaKCMviaAwiaK погрешность шкалы. “С Предел нагревания, °С B, Общая длина, мм О. Диаметр стержня, мм Д. Длина шарика, мм Е. Диаметр шарика, мм Расположение шкалы Расстояние от основания шарика до ме-тки при. °С г. Расстояние, мм G. Длина шкалы, мм Термометрическая жидкость Средняя температура выступающего столбика ртути во всему диапазону, °С Поправка на’ выступающий столбик ртути |
При отклонении средней температуры сре-ды, окружающей выступающий столбик ртутв, от средней температуры указанного етолбик8 ртути необходимо внести соответствующие поправки. |
||||||||||||||||||||||||||||||||||||||
С.. IS ГОСТ Ш54-92
ИНФОРМАЦИОННЫЕ ДАННЫЕ
1. ПОДГОТОВЛЕН И ВНЕСЕН Всесоюзный научно-исследовательским институтом по переработке нефти (ВНИИ НП)
2. УТВЕРЖДЕН И ВВЕДЕН В ДЕЙСТВИЕ Постановлением Комитета стандартизации и метрологии СССР от 03.02.92 М 101 При разработке настоящего стандарта использовались некоторые положения Европейского стандарта EN—116 «Стандартный метод определения предельной температуры фнльтруемости то-олив на холодном фильтре»
3. ВЗАМЕН ГОСТ 22254-70
4. ССЫЛОЧНЫЕ НОРМАТИВНО ТЕХНИЧЕСКИЕ ДОКУМЕНТЫ
|
Ридал |
Обозначение отечеегасияого ||о*ш«г*вно-темшч«см>г© доиу-иоота, на ко тори П дине ccW-X* |
Обо»и»чси«с соответствующего документ* |
|
6 |
ГОСТ 131-67 |
|
|
6 |
ГОСТ 400-S0 |
— |
|
7 |
ГОСТ 2517-85 |
_ |
|
б |
ГОСТ 2603-79 |
— |
|
Б |
ГОСТ 8505-80 |
— |
|
6 |
ГОСТ 12162-77 |
— |
|
6 |
ГОСТ 18300-87 |
_ |
|
6 |
ТОСТ 20287-91 |
ИСО 3016-71 |
|
б |
ГОСТ 9150-81 |
ИСО 261-73 |
|
б |
ТУ 6-021244—88 |
— |
|
6 |
ТУ 38.44710263-90 |
— |
|
6 |
ГОСТ 6613-86 |
Редактор Р. С. Федорова Технический редактор В. Н. ПРусакова Корректор В. С. Черная
Сдано » набор ОТСОЭД Подо. » печ. I3.04.W, Уел. ш>ч, я 1.0. Уел, кр втг. 1.0. Уч.-нэд. л. 0.90. Тир. 101 »к».
0»де>«и «Зал Почет»» Нлдательсгю ст»илартоо, Ш857. Москва. ГСП. Нсдопрееиеяехи* вер, 3.
Калужская типография стандартов, ул. М ос кокк»», 236. Зек. 6»
